CN203129402U - 一种自保温砌块 - Google Patents
一种自保温砌块 Download PDFInfo
- Publication number
- CN203129402U CN203129402U CN201320039329.XU CN201320039329U CN203129402U CN 203129402 U CN203129402 U CN 203129402U CN 201320039329 U CN201320039329 U CN 201320039329U CN 203129402 U CN203129402 U CN 203129402U
- Authority
- CN
- China
- Prior art keywords
- wall
- self
- longitudinal
- insulation
- insulating
- Prior art date
- Legal status (The legal status is an assumption and is not a legal conclusion. Google has not performed a legal analysis and makes no representation as to the accuracy of the status listed.)
- Expired - Fee Related
Links
- 238000009413 insulation Methods 0.000 claims abstract description 58
- 238000000034 method Methods 0.000 claims abstract description 39
- 230000003014 reinforcing effect Effects 0.000 claims abstract description 19
- 239000002131 composite material Substances 0.000 claims abstract description 13
- 239000012774 insulation material Substances 0.000 claims description 23
- 239000000463 material Substances 0.000 claims description 18
- 239000006261 foam material Substances 0.000 claims description 17
- 239000004568 cement Substances 0.000 claims description 11
- 239000010440 gypsum Substances 0.000 claims description 10
- 229910052602 gypsum Inorganic materials 0.000 claims description 10
- 230000002787 reinforcement Effects 0.000 claims description 9
- 229920000742 Cotton Polymers 0.000 claims description 4
- 238000010276 construction Methods 0.000 abstract description 19
- 239000004566 building material Substances 0.000 abstract description 2
- 230000000149 penetrating effect Effects 0.000 abstract 1
- 239000004570 mortar (masonry) Substances 0.000 description 65
- 239000010881 fly ash Substances 0.000 description 14
- 239000004567 concrete Substances 0.000 description 10
- 239000002956 ash Substances 0.000 description 9
- 238000010586 diagram Methods 0.000 description 9
- 239000004575 stone Substances 0.000 description 8
- 238000004519 manufacturing process Methods 0.000 description 6
- 239000011490 mineral wool Substances 0.000 description 6
- 239000000243 solution Substances 0.000 description 6
- XLYOFNOQVPJJNP-UHFFFAOYSA-N water Substances O XLYOFNOQVPJJNP-UHFFFAOYSA-N 0.000 description 6
- 239000011449 brick Substances 0.000 description 5
- 238000005336 cracking Methods 0.000 description 5
- 238000005034 decoration Methods 0.000 description 5
- 230000000694 effects Effects 0.000 description 5
- 238000005187 foaming Methods 0.000 description 5
- 238000002347 injection Methods 0.000 description 5
- 239000007924 injection Substances 0.000 description 5
- 238000013461 design Methods 0.000 description 4
- 229910052500 inorganic mineral Inorganic materials 0.000 description 4
- 239000011810 insulating material Substances 0.000 description 4
- 239000011707 mineral Substances 0.000 description 4
- 239000000843 powder Substances 0.000 description 4
- 238000012545 processing Methods 0.000 description 4
- 239000000047 product Substances 0.000 description 4
- 239000002994 raw material Substances 0.000 description 4
- 239000004793 Polystyrene Substances 0.000 description 3
- 239000004927 clay Substances 0.000 description 3
- 239000006260 foam Substances 0.000 description 3
- 239000011491 glass wool Substances 0.000 description 3
- 229920002223 polystyrene Polymers 0.000 description 3
- 229920002635 polyurethane Polymers 0.000 description 3
- 239000004814 polyurethane Substances 0.000 description 3
- 210000002268 wool Anatomy 0.000 description 3
- VYPSYNLAJGMNEJ-UHFFFAOYSA-N Silicium dioxide Chemical compound O=[Si]=O VYPSYNLAJGMNEJ-UHFFFAOYSA-N 0.000 description 2
- 230000007547 defect Effects 0.000 description 2
- 238000012423 maintenance Methods 0.000 description 2
- 239000003973 paint Substances 0.000 description 2
- 239000011505 plaster Substances 0.000 description 2
- 239000004576 sand Substances 0.000 description 2
- 229910021487 silica fume Inorganic materials 0.000 description 2
- 238000007711 solidification Methods 0.000 description 2
- 230000008023 solidification Effects 0.000 description 2
- 210000002257 embryonic structure Anatomy 0.000 description 1
- 238000005265 energy consumption Methods 0.000 description 1
- 238000005516 engineering process Methods 0.000 description 1
- 239000003292 glue Substances 0.000 description 1
- 230000007774 longterm Effects 0.000 description 1
- 238000011017 operating method Methods 0.000 description 1
- 239000012466 permeate Substances 0.000 description 1
- 238000004321 preservation Methods 0.000 description 1
- 239000012798 spherical particle Substances 0.000 description 1
Images
Classifications
-
- Y—GENERAL TAGGING OF NEW TECHNOLOGICAL DEVELOPMENTS; GENERAL TAGGING OF CROSS-SECTIONAL TECHNOLOGIES SPANNING OVER SEVERAL SECTIONS OF THE IPC; TECHNICAL SUBJECTS COVERED BY FORMER USPC CROSS-REFERENCE ART COLLECTIONS [XRACs] AND DIGESTS
- Y02—TECHNOLOGIES OR APPLICATIONS FOR MITIGATION OR ADAPTATION AGAINST CLIMATE CHANGE
- Y02A—TECHNOLOGIES FOR ADAPTATION TO CLIMATE CHANGE
- Y02A30/00—Adapting or protecting infrastructure or their operation
- Y02A30/24—Structural elements or technologies for improving thermal insulation
- Y02A30/244—Structural elements or technologies for improving thermal insulation using natural or recycled building materials, e.g. straw, wool, clay or used tires
Landscapes
- Building Environments (AREA)
Abstract
本实用新型属于建材产品领域,涉及自保温砌块。其包括纵向外壁和横向外壁,横向外壁的外端面设置沿竖向的端面灌浆槽,特征是还包括复合加强肋,复合加强肋包括纵向外壁内侧的中部设置的纵向加强肋,以及纵向加强肋之间与纵向加强肋一体化设置的中间连接肋,纵向加强肋与纵向外壁共同围成沿竖向贯通的中部灌浆通道,纵向外壁、横向外壁及复合加强肋围成两个中空保温腔。本实用新型结构强度大,运输过程中不易发生变形或损坏,具有自保温能力好、自重小、强度高等诸多优点,其砌筑后外观平整,整体性好,抗震能力强,配合应用自保温砌块砌筑竖向无灰缝保温墙的方法可以提高施工效率,易于标准化,性价比高,更容易保证施工质量。
Description
技术领域
本实用新型属于建材产品领域,涉及一种砌筑效率高、整体性能好、保温性能好的砌块材料。
背景技术
目前,我国建筑物外墙多采用砌筑墙体进行围护。粉煤灰砖和各种砌块已经逐步取代传统粘土砖,但仍然存在多种问题。
(1)砌筑效率问题。目前的粉煤灰砖等部分砌筑材料,块型小,且多采用传统的一铲灰、一块砖、一挤揉的“三一”砌砖法,施工步骤较为繁琐,施工效率低,竖向灰缝饱满程度没有保障,施工质量很大程度上取决于工人的熟练水平,随着人工费的增加,砌筑造价也随之增加;
(2)强度问题。粉煤灰蒸压蒸养材料取代粘土砖后,降低了能耗,节约了粘土资源,但粉煤灰的球状粒型影响了粉煤灰蒸压蒸养材料与砌筑砂浆的粘结强度,导致砌筑墙体整体强度不高,影响了建筑物的抗震能力;
(3)保温问题。我国政府对建筑业节能降耗问题日益重视,要求现在在建的建筑物外墙均应有保温措施。但目前的保温体系多为外墙外保温,施工工艺繁琐,施工效率低。使用有机保温板材的墙体存在火灾隐患以及建筑外墙保温寿命短,无法与建筑物同寿命等问题;使用无机保温砂浆的墙体存在施工质量难以保障、保温效果不佳等问题;
(4)开裂透水问题。粉煤灰蒸压蒸养材料的收缩量与混凝土结构不同,导致采用蒸压蒸养砌块的混凝土建筑物在长期使用过程中,砌筑墙体与混凝土结构部位连接处容易产生收缩开裂,影响建筑物的适用性,导致建筑物外墙易发生渗水问题。
此外,传统砌筑材料砌筑的外墙表面美观度较差,通常都需要再利用砂浆找平及装面等工艺进行装饰处理,操作程序较多,消耗大量的人力和物力,提高了建筑成本,其经济性和实用性有待改进。
综上所述,市场需要性能更为优越的新型砌块以解决上述难题。
发明内容
本实用新型的目的之一在于克服上述缺陷,提供一种砌筑效率高、整体性能好、经济性好、保温性能好的自保温砌块。
本实用新型自保温砌块是这样实现的,包括纵向外壁和横向外壁,横向外壁的外端面设置沿竖向的端面灌浆槽,其特征在于还包括复合加强肋,复合加强肋包括纵向外壁内侧的中部设置的纵向加强肋,以及纵向加强肋之间与纵向加强肋一体化设置的中间连接肋,纵向加强肋与纵向外壁共同围成沿竖向贯通的中部灌浆通道,纵向外壁、横向外壁及复合加强肋围成两个中空保温腔。
本实用新型自保温砌块可以采用普通混凝土、再生混凝土、轻骨料混凝土或粉煤灰蒸压蒸养材料制作。为提高保温效果,还可以在中空保温腔内填入保温材料,优选的,在中空保温腔内填充轻质保温材料,所述轻质保温材料包括轻质无机发泡材料、轻质无机保温棉或轻质有机保温材料。其中,轻质无机保温棉包括矿棉、岩棉或玻璃棉等,轻质有机保温材料包括聚苯类保温材料或聚氨酯类保温材料等,轻质无机发泡材料包括水泥发泡材料或石膏发泡材料等。需要说明的是,所述水泥发泡材料的主要原料为水泥,可掺入适量粉煤灰、和/或矿粉、和/或硅灰;石膏发泡材料主要原料为石膏,可掺入适量粉煤灰、和/或矿粉、和/或硅灰。
综合考虑工程应用的实用性和生产中的加工难度,中部灌浆通道的水平截面轮廓为矩形、椭圆形或菱形,端面灌浆槽的水平截面轮廓为矩形、半椭圆形或三角形。优选的,中部灌浆通道的尺寸和形状与两个端面灌浆槽相对拼接后完全相同。
此外,生产本实用新型自保温砌块时,可以将至少一个纵向外壁的表面经过劈裂工艺处理成为仿石材毛面,应用这种自保温砌块砌筑墙体时,可以直接将自保温砌块的仿石材毛面作为外墙表面使用,可以省去外墙砂浆找平及装面等工艺。在实际生产中,可通过劈裂工艺将两块相连的自保温砌块进行劈裂,得到所述仿石材毛面,
本实用新型自保温砌块端部的灌浆槽可采用灌浆工艺实现无竖向灰缝砌筑,也可采用普通的砌筑方式进行有竖缝砌筑。应用本实用新型自保温砌块和保温砂浆构筑无竖向灰缝保温墙时,可以按照如下步骤进行操作:
(1)在自保温砌块的水平端面抹灰,利用自保温砌块逐层砌筑墙体,砌筑过程中,使同层相邻的自保温砌块之间直接对齐实现竖向无灰缝拼接,上、下层之间的自保温砌块错缝搭接,错缝搭接时,使每一层中相邻自保温砌块的端面灌浆槽相对拼接后构成的空腔与其相邻的上层或/和下层自保温砌块的中部灌浆通道对齐,构成沿竖向连续的砂浆芯柱型腔;
(2)在砂浆芯柱型腔内灌注保温砂浆,根据砂浆流动性的不同,采取一次性灌注、分批次灌注或逐层灌注;
(3)砂浆硬化后,形成上下贯通的砂浆芯柱,使周边自保温砌块实现竖向无灰缝粘结固定,进而使错位布置的所有自保温砌块连成一体,构成竖向无灰缝保温墙。
需要说明的是,步骤(2)中所述的一次性灌注、分批次灌注及逐层灌注,其中一次性灌注是指当砂浆流动性足够时,利用自保温砌块砌筑墙体直至达到设计要求的砌块砌筑高度,然后从上方一次性向砂浆芯柱型腔内灌注砂浆,这样在砂浆最终凝固后形成的砂浆芯柱整体性最好;分批次灌注是指码放几层本实用新型自保温砌块从上方向砂浆芯柱型腔内灌注砂浆一次,再码放几层本实用新型自保温砌块,再从上方向砂浆芯柱型腔内灌注砂浆一次,这样反复直至墙体达到设计要求的砌块砌筑高度,这种操作方法得到的砂浆芯柱是多次灌注而成的,但对砂浆的流动性要求较低,比较容易实现砂浆充满砂浆芯柱型腔;逐层灌注是指每砌好一层本实用新型自保温砌块,就从上方向所有砂浆芯柱型腔内灌注砂浆一次,这样反复直至墙体达到设计要求的砌块砌筑高度,这种砂浆的灌注方法得到的砂浆芯柱需要的灌注次数更多,但对砂浆流动性的要求更低,砂浆更容易充满砂浆芯柱型腔,质量更容易保证。此外,在构筑竖向无灰缝保温墙的过程中,还可以在相邻自保温砌块中横向外壁的中部凸起拼合而成的空腔内设置保温材料,从而进一步提高保温能力。
与现有砌块产品相比,本实用新型自保温砌块及其应用方法具有如下优点:
1)本实用新型自保温砌块中由于设置了纵向加强肋及中间连接肋构成的复合加强肋,产品自身结构强度更好,生产及应用过程中进行运输时不易发生损坏,利用率高;
2)采用仅设置竖向中部灌浆通道和端面灌浆槽的本实用新型自保温砌块砌筑墙体时,排列放置后,可直接灌浆,密实程度高,实现竖向无灰缝砌筑,大大降低了对人工熟练度的依赖程度,减少了部分抹灰环节,提高了砌筑效率和砌筑质量;
3)通过灌浆工艺,使砌体中产生了竖向连续或纵横交错的砂浆芯柱,提高了砌体的整体强度和抗震性能;
4)砂浆芯柱的阻水性能好,不易发生开裂,可以有效克服当前建筑物外墙因灰缝开裂易发生渗水的问题;
5)与建筑物同寿命,无火灾隐患。
本实用新型自保温砌块,结构强度大,运输过程中不易发生变形或损坏,具有自保温能力好、自重小、强度高等诸多优点,其砌筑后外观平整,整体性好,抗震能力强。此外,配合本实用新型应用自保温砌块砌筑竖向无灰缝保温墙的方法可以大大提高施工效率,且易于标准化,性价比高,更容易保证施工质量。综上所述,本实用新型自保温砌块及其应用方法可以广泛应用于建筑结构外侧的整体维护,以及低层建筑的承重结构,市场应用前景十分广阔。
附图说明
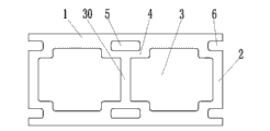
图1为本实用新型自保温砌块的结构示意图之一。
图2为图1的俯视图。
图3为图1所示本实用新型自保温砌块的应用示意图。
图4为本实用新型自保温砌块的结构示意图之二。
图5为图4所示本实用新型自保温砌块的应用示意图。
图6为本实用新型自保温砌块的结构示意图之三。
图7为图6所示本实用新型自保温砌块的加工过程示意图之一。
图8为图6所示本实用新型自保温砌块的加工过程示意图之二。
图9为图6所示本实用新型自保温砌块的应用示意图。
图10为本实用新型自保温砌块的结构示意图之四。
具体实施方式
实施例一
如图1、图2所示本实用新型自保温砌块,包括纵向外壁1和横向外壁2,横向外壁2的外端面设置沿竖向的端面灌浆槽6,此外,还包括复合加强肋,复合加强肋包括纵向外壁1内侧的中部设置的纵向加强肋4,以及纵向加强肋之间与纵向加强肋一体化设置的中间连接肋30,纵向加强肋4与纵向外壁1共同围成沿竖向贯通的中部灌浆通道5,纵向外壁1、横向外壁2及复合加强肋围成两个中空保温腔3。
应用时,如图3所示,在自保温砌块的水平端面抹灰,利用自保温砌块逐层砌筑墙体,砌筑过程中,使同层相邻的自保温砌块之间直接对齐实现竖向无灰缝拼接,上、下层之间的自保温砌块错缝搭接,错缝搭接时,使每一层中相邻自保温砌块的端面灌浆槽6相对拼接后构成的空腔31与其相邻的上层或/和下层自保温砌块的中部灌浆通道5对齐,构成沿竖向连续的砂浆芯柱型腔,每砌筑几层自保温砌块,在砂浆芯柱型腔内灌注一次自流平砂浆,直至达到设计要求的砌块砌筑高度。砂浆芯柱型腔中的砂浆硬化后,形成连续的砂浆芯柱,使周边自保温砌块实现竖向无灰缝粘结固定,进而使错位布置的所有自保温砌块连成一体,构成竖向无灰缝保温墙。应用本实用新型自保温砌块砌筑的竖向无灰缝保温墙,只有水平灰缝7,没有竖向的灰缝,因此冷热桥的数量显著减少,保温性能更好。此外,由于采用灌注砂浆的砌筑方法,克服了传统技术砌筑过程中竖向灰缝的饱满程度无保障的缺陷,对操作人员技术水平的依赖程度大大降低,建筑质量更容易保证。上下贯通的砂浆芯柱可以将相邻自保温砌块胶结在一起,使水平相邻砌块实现无灰缝粘结,砂浆芯柱具有较高的抗压强度和抗剪强度,并阻止水从竖向的接缝中渗透,在保证强度可靠的同时,起到阻水作用。此外,自保温砌块中形成的砂浆芯柱不但增强了纵向外壁的强度,提高了墙体的握钉能力和悬挂重物能力,还有效提高了自保温砌块的整体抗压强度。
本实用新型自保温砌块的取材广泛,可以采用普通混凝土、再生混凝土、轻骨料混凝土或粉煤灰蒸压蒸养材料等制作。另外,利用本实用新型自保温砌块砌筑竖向无灰缝保温墙的过程中,根据砂浆的流动性不同,除了采用每砌筑几层自保温砌块在砂浆芯柱型腔内灌注一次自流平砂浆的分批次灌注方式外,还可以采取一次性灌注或逐层灌注的方式。其中一次性灌注是指当砂浆流动性足够时,利用自保温砌块砌筑墙体直至达到设计要求的砌块砌筑高度,然后从上方一次性向砂浆芯柱型腔内灌注砂浆,这样在砂浆最终凝固后形成的砂浆芯柱整体性最好;分批次灌注是指码放几层本实用新型自保温砌块从上方向砂浆芯柱型腔内灌注砂浆一次,再码放几层本实用新型自保温砌块,再从上方向砂浆芯柱型腔内灌注砂浆一次,这样反复直至墙体达到设计要求的砌块砌筑高度,这种操作方法得到的砂浆芯柱是多次灌注而成的,但对砂浆的流动性要求较低,比较容易实现砂浆充满砂浆芯柱型腔。
根据本例所述技术原理,综合考虑工程应用的实用性和生产中的加工难度,中部灌浆通道的水平截面轮廓可以为矩形、椭圆形或菱形等形状,端面灌浆槽的水平截面轮廓可以为矩形、半椭圆形或三角形等形状。优选的,中部灌浆通道的尺寸和形状与两个端面灌浆槽相对拼接后完全相同。
需要指出的是,为了进一步提高墙体的保温性能,可以在砌筑墙体过程中在中空保温腔3内填充轻质保温材料,轻质保温材料具体为水泥发泡材料,水泥发泡材料由水泥掺入适量粉煤灰混合而成。当然,可以应用的轻质保温材料种类可以多种多样,其可以是轻质无机发泡材料、轻质无机保温棉或轻质有机保温材料。其中,轻质无机保温棉包括矿棉、岩棉或玻璃棉等,轻质有机保温材料包括聚苯类保温材料或聚氨酯类保温材料等,轻质无机发泡材料包括水泥发泡材料或石膏发泡材料等。
本例所述技术方案中,由于在自保温砌块中设置了由纵向加强肋及中间连接肋构成的复合加强肋,有效地提高了产品自身结构强度,生产及应用过程中进行运输时不易发生损坏,利用率高;采用仅设置竖向中部灌浆通道和端面灌浆槽的本实用新型自保温砌块砌筑墙体时,排列放置后,可直接灌浆,密实程度高,实现竖向无灰缝砌筑,大大降低了对人工熟练度的依赖程度,减少了部分抹灰环节,提高了砌筑效率和砌筑质量;通过灌浆工艺,使砌体中产生了竖向连续或纵横交错的砂浆芯柱,提高了砌体的整体强度和抗震性能;砂浆芯柱的阻水性能好,不易发生开裂,可以有效克服当前建筑物外墙因灰缝开裂易发生渗水的问题;与建筑物同寿命,无火灾隐患。
当然,本实用新型自保温砌块端部的灌浆槽可采用灌浆工艺实现无竖向灰缝砌筑,也可采用普通的砌筑方式进行有竖缝砌筑,都能实现很好的效果。
本实用新型自保温砌块,结构强度大,运输过程中不易发生变形或损坏,具有自保温能力好、自重小、强度高等诸多优点,其砌筑后外观平整,整体性好,抗震能力强。此外,配合本实用新型应用自保温砌块砌筑竖向无灰缝保温墙的方法可以大大提高施工效率,且易于标准化,性价比高,更容易保证施工质量。综上所述,本实用新型自保温砌块及其应用方法可以广泛应用于建筑结构外侧的整体维护,以及低层建筑的承重结构,市场应用前景十分广阔。
实施例二
如图4所示本实用新型自保温砌块,与实施例一的区别在于,生产自保温砌块时直接在中空保温腔中填充轻质保温材料9,轻质保温材料9具体为石膏发泡材料,其由石膏掺入适量粉煤灰制成。
当然,可以选用的轻质保温材料的种类多种多样,其可以是轻质无机发泡材料、轻质无机保温棉或轻质有机保温材料。其中,轻质无机保温棉包括矿棉、岩棉或玻璃棉等,轻质有机保温材料包括聚苯类保温材料或聚氨酯类保温材料等,轻质无机发泡材料包括水泥发泡材料或石膏发泡材料等。所述水泥发泡材料的主要原料为水泥,可掺入适量粉煤灰、和/或矿粉、和/或砂;石膏发泡材料主要原料为石膏,可掺入适量粉煤灰、和/或矿粉、和/或砂。
本例所述自保温砌块具有实施例一所述技术方案的所有优点,如图5所示,利用本例所述自保温砌块砌筑竖向无灰缝保温墙的过程与实施例一基本相同,在此不再重复描述。需要指出的是,由于本例所述技术方案在工厂生产自保温砌块时直接在其中空保温腔3内填充了轻质保温材料9,因此用其砌筑的竖向无灰缝保温墙的保温性能更好。另外,与砌筑墙体过程中现场填充保温材料相比,这种技术方案更容易保证保温材料填充的饱满度,简化了现场施工工序,提高了砌筑效率。
实施例三
如图6所示本实用新型自保温砌块,与实施例二的区别在于,自保温砌块一侧纵向外壁的表面经过劈裂工艺处理成为仿石材毛面10。
制造本例所述自保温砌块时,可以如图7所示一次压制两块砌块胚。然后如图8所示通过劈裂设备,沿A-A剖切面将连体砌块劈裂为二个本实用新型自保温砌块。在劈裂过程中,在两个自保温砌块的纵向外壁表面分别形成仿石材毛面10。
利用本例所述自保温砌块砌筑竖向无灰缝保温墙的过程与实施例一基本相同,在此不再重复描述。需要说明的是,应用这种自保温砌块砌筑墙体时,可以直接将自保温砌块的仿石材毛面作为外墙表面使用,无需额外进行墙面装饰,即可得到石材饰面的效果,还可以省去外墙砂浆找平及装面等工艺,因此可以大大简化施工步骤,减少人力和物料消耗,有利于大幅降低建筑成本,其经济性和实用性均得到了极大的提高。此外,为了提升装饰效果,还可以使用彩色混凝土压制本实用新型砌块,或者在自保温砌块的仿石材毛面10上涂刷外墙涂料,以改善美观度。另外,为了进一步增强外墙的防渗能力,如图9所示,砌筑外墙时可以采用防水砂浆在接缝11处进行勾缝处理。
基于本例所述的技术原理,如图10所示,也可以将本实用新型自保温砌块两侧纵向外壁的表面同时加工成为仿石材毛面10,单层砌筑时,墙面两侧均可以得到石材饰面的效果,都在本实用新型要求的保护范围之中。
本实用新型的技术方案并不局限于以上实施例中的描述,基于本实用新型的技术原理,凡通过对上述实施例的简单变化即可得出的技术方案,都在本实用新型的保护范围之内,不再一一举例说明。
Claims (5)
1.一种自保温砌块,包括纵向外壁和横向外壁,横向外壁的外端面设置沿竖向的端面灌浆槽,其特征在于还包括复合加强肋,复合加强肋包括纵向外壁内侧的中部设置的纵向加强肋,以及纵向加强肋之间与纵向加强肋一体化设置的中间连接肋,纵向加强肋与纵向外壁共同围成沿竖向贯通的中部灌浆通道,纵向外壁、横向外壁及复合加强肋围成两个中空保温腔。
2.根据权利要求1所述的自保温砌块,其特征在于中空保温腔内填充轻质保温材料,轻质保温材料包括轻质无机发泡材料、轻质无机保温棉或轻质有机保温材料,其中,轻质无机发泡材料包括水泥发泡材料或石膏发泡材料,轻质无机保温棉包括矿棉、岩棉或玻璃棉,轻质有机保温材料包括聚苯类保温材料或聚氨酯类保温材料。
3.根据权利要求1所述的自保温砌块,其特征在于中部灌浆通道的水平截面轮廓为矩形、椭圆形或菱形,端面灌浆槽的水平截面轮廓为矩形、半椭圆形或三角形。
4.根据权利要求3所述的自保温砌块,其特征在于中部灌浆通道的尺寸和形状与两个端面灌浆槽相对拼接后完全相同。
5.根据权利要求1所述的自保温砌块,其特征在于至少一个纵向外壁的表面经过劈裂工艺处理成为仿石材毛面。
Priority Applications (1)
| Application Number | Priority Date | Filing Date | Title |
|---|---|---|---|
| CN201320039329.XU CN203129402U (zh) | 2013-01-24 | 2013-01-24 | 一种自保温砌块 |
Applications Claiming Priority (1)
| Application Number | Priority Date | Filing Date | Title |
|---|---|---|---|
| CN201320039329.XU CN203129402U (zh) | 2013-01-24 | 2013-01-24 | 一种自保温砌块 |
Publications (1)
| Publication Number | Publication Date |
|---|---|
| CN203129402U true CN203129402U (zh) | 2013-08-14 |
Family
ID=48937395
Family Applications (1)
| Application Number | Title | Priority Date | Filing Date |
|---|---|---|---|
| CN201320039329.XU Expired - Fee Related CN203129402U (zh) | 2013-01-24 | 2013-01-24 | 一种自保温砌块 |
Country Status (1)
| Country | Link |
|---|---|
| CN (1) | CN203129402U (zh) |
Cited By (4)
| Publication number | Priority date | Publication date | Assignee | Title |
|---|---|---|---|---|
| CN103669648A (zh) * | 2013-11-25 | 2014-03-26 | 株洲博尔曼科技发展有限公司 | 一种销连接砌体墙 |
| CN107893503A (zh) * | 2018-01-05 | 2018-04-10 | 曹智 | 一种轻质复合自保温砌块 |
| CN108331252A (zh) * | 2018-04-05 | 2018-07-27 | 南京林业大学 | 一种自保温竹木复合箱梁 |
| RU214260U1 (ru) * | 2022-05-06 | 2022-10-18 | Юрий Сергеевич Забазнов | Строительный блок |
-
2013
- 2013-01-24 CN CN201320039329.XU patent/CN203129402U/zh not_active Expired - Fee Related
Cited By (4)
| Publication number | Priority date | Publication date | Assignee | Title |
|---|---|---|---|---|
| CN103669648A (zh) * | 2013-11-25 | 2014-03-26 | 株洲博尔曼科技发展有限公司 | 一种销连接砌体墙 |
| CN107893503A (zh) * | 2018-01-05 | 2018-04-10 | 曹智 | 一种轻质复合自保温砌块 |
| CN108331252A (zh) * | 2018-04-05 | 2018-07-27 | 南京林业大学 | 一种自保温竹木复合箱梁 |
| RU214260U1 (ru) * | 2022-05-06 | 2022-10-18 | Юрий Сергеевич Забазнов | Строительный блок |
Similar Documents
| Publication | Publication Date | Title |
|---|---|---|
| CN103174252B (zh) | 一种自保温抗震砌块及应用方法 | |
| WO2017197853A1 (zh) | 保温预制墙体和装配式房屋 | |
| CN205712871U (zh) | 一种预制轻钢龙骨框架增强微孔混凝土装配式墙板 | |
| CN103015574A (zh) | 一种免拆模现浇轻质保温墙体及其施工方法 | |
| CN103216024A (zh) | 一种自保温无砂浆砌块砌体剪力墙体系及其施工方法 | |
| CN204531076U (zh) | 轻钢格构现浇泡沫混凝土复合墙体 | |
| CN204356976U (zh) | 一种轻质墙体砌块 | |
| CN108035485A (zh) | 装配式cf蒸压瓷粉加气混凝土剪力墙外墙板及制作方法 | |
| CN205557992U (zh) | 一种干砌空心砌块 | |
| CN206128374U (zh) | 一体结构直角墙体砂浆模块和用墙体模块浇注成的直角墙体 | |
| CN203129402U (zh) | 一种自保温砌块 | |
| CN103821263A (zh) | 一种预制装配式自保温混凝土剪力墙体系及其施工方法 | |
| CN202370151U (zh) | 一种自保温抗震砌块 | |
| CN103572874A (zh) | 钢框架房屋的钢筋混凝土叠合楼板的建造方法 | |
| CN207959692U (zh) | 一种装配式cf蒸压瓷粉加气混凝土剪力墙外墙板 | |
| CN110042973A (zh) | 竖孔灌浆式轻质混凝土内隔墙填充砌块 | |
| CN202466964U (zh) | 砼密柱石膏复合无冷桥外墙板 | |
| CN205557986U (zh) | 一种干码拼接空心砖 | |
| CN108145835A (zh) | 一种剖面十字形水泥预混料连接柱及其生产工艺方法 | |
| CN205712703U (zh) | 单侧复合自保温砌块 | |
| CN203296209U (zh) | 一种自保温无砂浆砌块砌体剪力墙体系 | |
| CN206157957U (zh) | 一体结构直墙体砂浆模块和用墙体模块浇注成的墙体 | |
| CN105064554A (zh) | 真空绝热板型保温免拆模板现浇混凝土自保温墙体结构 | |
| CN205206108U (zh) | 真空绝热板型保温免拆模板现浇自保温楼板或屋面结构 | |
| CN204151985U (zh) | 夹芯墙体自保温体系 |
Legal Events
| Date | Code | Title | Description |
|---|---|---|---|
| C14 | Grant of patent or utility model | ||
| GR01 | Patent grant | ||
| CF01 | Termination of patent right due to non-payment of annual fee |
Granted publication date: 20130814 Termination date: 20200124 |
|
| CF01 | Termination of patent right due to non-payment of annual fee |