CN203128892U - Electrical-carbon dual-purpose clothes dryer - Google Patents
Electrical-carbon dual-purpose clothes dryer Download PDFInfo
- Publication number
- CN203128892U CN203128892U CN 201220746708 CN201220746708U CN203128892U CN 203128892 U CN203128892 U CN 203128892U CN 201220746708 CN201220746708 CN 201220746708 CN 201220746708 U CN201220746708 U CN 201220746708U CN 203128892 U CN203128892 U CN 203128892U
- Authority
- CN
- China
- Prior art keywords
- box
- interlayer net
- net
- drawer
- interlayer
- Prior art date
- Legal status (The legal status is an assumption and is not a legal conclusion. Google has not performed a legal analysis and makes no representation as to the accuracy of the status listed.)
- Expired - Fee Related
Links
Images
Landscapes
- Drying Of Solid Materials (AREA)
Abstract
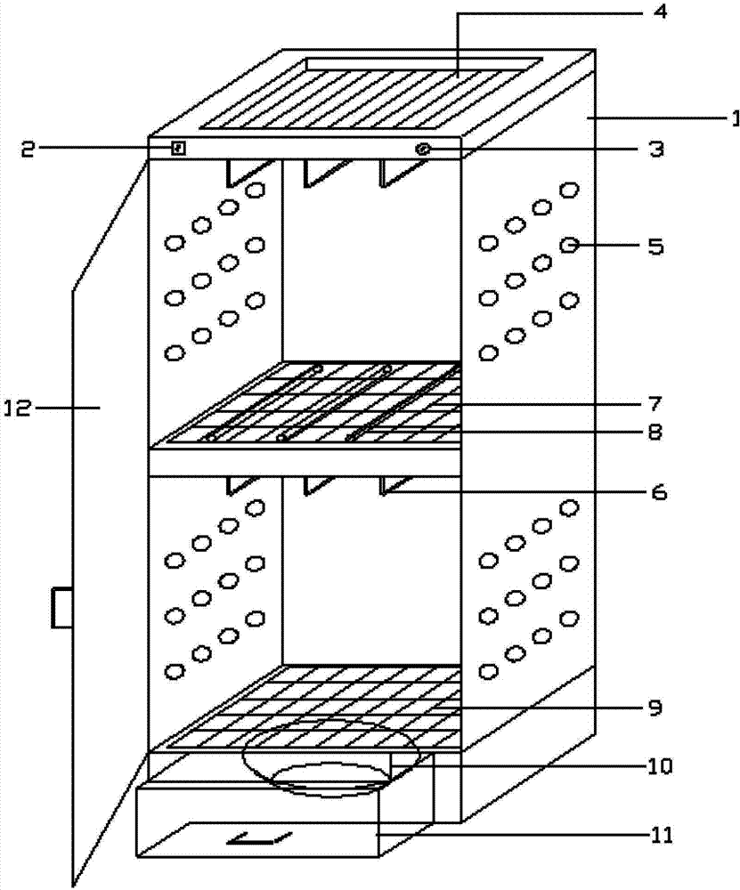
本实用新型公开了一种电碳两用衣物烘干机,包括箱体上开设有透气孔的烘干箱,烘干箱上还设置有开关和旋钮,在烘干箱的顶部的箱体上设置有开口,开口上安装有第一隔层网,所述的烘干箱的底部设有抽屉,抽屉中设置有火盆,在抽屉上方的箱体上安装有第三隔层网,在第一隔层网和第三隔层网之间的箱体上安装有第二隔层网,第二隔层网的下方安装有电热棒;在第一隔层网和第二隔层网下方的箱体上均安装有挂衣架。本实用新型采用电能和固体燃料作为热能来源,使得烘干机的使用条件较大地降低,可在不同情况下均能对衣物进行快速、有效的烘干。本实用新型适用范围广,在南北方都可以进行有效地利用,尤其适合农村家庭使用。
The utility model discloses an electric-carbon dual-purpose clothes dryer, which comprises a drying box provided with ventilation holes on the box body, a switch and a knob are also arranged on the box body, and the box body on the top of the drying box is An opening is provided, a first interlayer net is installed on the opening, a drawer is arranged at the bottom of the drying box, a brazier is arranged in the drawer, and a third interlayer net is installed on the box above the drawer. A second interlayer net is installed on the box body between the interlayer net and the third interlayer net, and an electric heating rod is installed under the second interlayer net; the box under the first interlayer net and the second interlayer net Clothes hangers are installed on the body. The utility model adopts electric energy and solid fuel as heat energy sources, so that the use conditions of the dryer are greatly reduced, and the clothes can be quickly and effectively dried under different conditions. The utility model has a wide application range, can be effectively used in both the north and the south, and is especially suitable for rural families.
Description
技术领域technical field
本实用新型涉及一种烘干设备,具体涉及一种电碳两用衣物烘干机。The utility model relates to a drying device, in particular to an electric-carbon dual-purpose clothes dryer.
背景技术Background technique
常用的衣物烘干机都是采用电加热烘衣法,但是比较耗电,在停电的时候,或者不能使用电能的场合,如室外,则衣物烘干机的使用就受到了限制。对于农村来说,大部分家庭都使用柴火,而柴火用完了之后剩余未燃尽的木炭却没有得到有效利用,很多时候这些碳被浪费了。Commonly used clothes dryers use electric heating to dry clothes, but they consume more power. When there is a power outage, or in places where electric energy cannot be used, such as outdoors, the use of clothes dryers is limited. For rural areas, most households use firewood, but the unburned charcoal left after the firewood is used up is not effectively used, and the carbon is wasted in many cases.
发明内容Contents of the invention
针对上述现有衣物烘干机存在的不足之处,本实用新型的目的在于,提供一种电碳两用衣物烘干机,充分利用资源,并且使用范围广。Aiming at the shortcomings of the above-mentioned existing clothes dryers, the purpose of this utility model is to provide an electric-carbon dual-purpose clothes dryer, which makes full use of resources and has a wide range of applications.
为了实现上述技术任务,本实用新型采用以下技术方案:In order to realize above-mentioned technical task, the utility model adopts following technical scheme:
一种电碳两用衣物烘干机,包括箱体上开设有透气孔的烘干箱,烘干箱上还设置有开关和旋钮,在烘干箱的顶部的箱体上设置有开口,开口上安装有第一隔层网,所述的烘干箱的底部设有抽屉,抽屉中设置有火盆,在抽屉上方的箱体上安装有第三隔层网,在第一隔层网和第三隔层网之间的箱体上安装有第二隔层网,第二隔层网的下方安装有电热棒;在第一隔层网和第二隔层网下方的箱体上均安装有挂衣架。An electric-carbon dual-purpose clothes dryer, comprising a drying box with ventilation holes on the box body, a switch and a knob are also arranged on the drying box, an opening is arranged on the box body at the top of the drying box, and the opening The first interlayer net is installed on the top, the bottom of the drying box is provided with a drawer, and a brazier is arranged in the drawer, and a third interlayer net is installed on the box above the drawer, between the first interlayer net and the second interlayer net A second compartment net is installed on the box body between the three compartment nets, and an electric heating rod is installed under the second compartment net; Hangers.
本实用新型采用电能和固体燃料作为热能来源,使得烘干机的使用条件较大地降低,可在不同情况下均能对衣物进行快速、有效的烘干。在不需要衣物烘干的季节,该烘干机还可以作为储物柜使用。本实用新型适用范围广,在南北方都可以进行有效地利用,尤其适合农村家庭使用。The utility model adopts electric energy and solid fuel as heat energy sources, so that the use conditions of the dryer are greatly reduced, and the clothes can be quickly and effectively dried under different conditions. The dryer can also be used as a locker during the season when clothes are not to be dried. The utility model has a wide application range, can be effectively used in both the north and the south, and is especially suitable for rural families.
附图说明Description of drawings
图1为本实用新型的整体结构示意图;Fig. 1 is the overall structural representation of the utility model;
图中标号的含义:1-烘干箱,2-开关,3-旋钮,4-第一隔层网,5-透气孔,6-挂衣架,7-第二隔层网,8-电热棒,9-第三隔层网,10-火盆,11-抽屉,12-箱门;The meaning of the symbols in the figure: 1-drying box, 2-switch, 3-knob, 4-the first compartment net, 5-ventilation hole, 6-clothes hanger, 7-the second compartment net, 8-electric heating rod , 9-the third compartment net, 10-brazier, 11-drawer, 12-box door;
以下结合附图和实施例对本实用新型作进一步说明。Below in conjunction with accompanying drawing and embodiment the utility model is described further.
具体实施方式Detailed ways
遵从上述技术方案,如图1所示,本实施例给出一种电碳两用衣物烘干机,包括箱体上开设有透气孔5的烘干箱1,烘干箱1上安装有箱门12,箱体上还设置有开关2和旋钮3,在烘干箱1的顶部的箱体上设置有开口,开口上安装有第一隔层网4,所述的烘干箱1的底部设有抽屉11,抽屉11中设置有火盆10,在抽屉11上方的箱体上安装有第三隔层网9,在第一隔层网4和第三隔层网9之间的箱体上安装有第二隔层网7,第二隔层网7的下方安装有电热棒8;在第一隔层网4和第二隔层网7下方的箱体上均安装有挂衣架6。According to the above technical scheme, as shown in Figure 1, this embodiment provides an electric-carbon dual-purpose clothes dryer, which includes a drying box 1 with
本实施例中,第一隔层网4、第二隔层网7和第三隔层网9均采用铁制格网,能有效地对热能进行传递。该烘干箱1的箱体和箱门12也采用铁制材料制成,因此在箱体中进行衣物的烘干时,箱壁能对热能进行反射,从而提高烘干效率;箱体上的透气孔5可将水蒸气迅速地排出。In this embodiment, the first interlayer net 4 , the
在第一隔层网4和第二隔层网7的下方安装有挂衣架6,在进行衣物烘干时先将衣服叠好,然后挂在箱体中的挂衣架6上。对于鞋袜等较小的物件,可以直接放置在三个隔层网上进行烘干。本实用新型进行衣物的烘干有两种方式:Below the first interlayer net 4 and the
第一种,采用碳烘干。这种方法尤其适用于农村家庭,在农村家庭使用柴火后,将未燃尽的木炭放在烘干箱1下方抽屉11里的火盆10中,然后盖上箱门12对衣物进行烘干。使用时可以用适量的灰盖住发红的碳使其温度适中。The first is to use carbon drying. This method is especially suitable for rural families. After rural families use firewood, unburned charcoal is placed in the
第二种,采用电烘干。给烘干机通电后,按下箱体上的开关2,烘干箱1中的电热棒8开始工作,即可进行衣物的烘干。通过箱体上的旋钮3可调节电热棒8的加热功率,使箱内达到合适的烘干温度。The second is to use electric drying. After the dryer is energized, the
在烘干机不使用时,清洗烘干机后还可以将其作为储物柜使用。本实用新型用途多,实用性强,适宜推广使用。It can also be used as a storage cabinet after washing the dryer when the dryer is not in use. The utility model has many uses and strong practicability, and is suitable for popularization and use.
Claims (1)
Priority Applications (1)
| Application Number | Priority Date | Filing Date | Title |
|---|---|---|---|
| CN 201220746708 CN203128892U (en) | 2012-12-28 | 2012-12-28 | Electrical-carbon dual-purpose clothes dryer |
Applications Claiming Priority (1)
| Application Number | Priority Date | Filing Date | Title |
|---|---|---|---|
| CN 201220746708 CN203128892U (en) | 2012-12-28 | 2012-12-28 | Electrical-carbon dual-purpose clothes dryer |
Publications (1)
| Publication Number | Publication Date |
|---|---|
| CN203128892U true CN203128892U (en) | 2013-08-14 |
Family
ID=48936887
Family Applications (1)
| Application Number | Title | Priority Date | Filing Date |
|---|---|---|---|
| CN 201220746708 Expired - Fee Related CN203128892U (en) | 2012-12-28 | 2012-12-28 | Electrical-carbon dual-purpose clothes dryer |
Country Status (1)
| Country | Link |
|---|---|
| CN (1) | CN203128892U (en) |
Cited By (2)
| Publication number | Priority date | Publication date | Assignee | Title |
|---|---|---|---|---|
| CN104414558A (en) * | 2013-09-06 | 2015-03-18 | 洛阳理工学院 | Multifunctional towel drying device |
| CN109135915A (en) * | 2018-10-13 | 2019-01-04 | 张伟 | A kind of energy saving drum grain and oil seeds frying machine |
-
2012
- 2012-12-28 CN CN 201220746708 patent/CN203128892U/en not_active Expired - Fee Related
Cited By (2)
| Publication number | Priority date | Publication date | Assignee | Title |
|---|---|---|---|---|
| CN104414558A (en) * | 2013-09-06 | 2015-03-18 | 洛阳理工学院 | Multifunctional towel drying device |
| CN109135915A (en) * | 2018-10-13 | 2019-01-04 | 张伟 | A kind of energy saving drum grain and oil seeds frying machine |
Similar Documents
| Publication | Publication Date | Title |
|---|---|---|
| CN106052320A (en) | Energy-saving and environment-friendly drying device | |
| CN203128892U (en) | Electrical-carbon dual-purpose clothes dryer | |
| CN202613944U (en) | Air inlet/outlet moisture exhaust device for hot air circulation drying room | |
| CN205358829U (en) | Energy -conserving healthy environment -friendly cupboard | |
| CN202090203U (en) | Clothes drying machine | |
| CN207604651U (en) | A kind of Household wardrobe | |
| CN204128116U (en) | Blower fan humidifier | |
| CN205747090U (en) | A kind of Domestic heating device | |
| CN204467431U (en) | A kind of shoe chest warm braw dries taste device of dispelling | |
| CN104947396A (en) | Drying device | |
| CN205066329U (en) | Biological specimens drying cabinet | |
| CN202932882U (en) | Air dryer capable of drying bowls and chopsticks with residual heat of stove | |
| CN202836082U (en) | Vacuum oven | |
| CN201529279U (en) | A steam disinfection cabinet | |
| CN205012084U (en) | Air -source heat pump clothing articles for use drying equipment | |
| CN206056140U (en) | A kind of drying unit for soft magnet iron core | |
| CN102797137A (en) | Clothes drying machine | |
| CN106555319A (en) | A kind of air energy heat pump clothes article drying plant and its furnace drying method | |
| CN202898835U (en) | Simple automatic rotating drying wardrobe | |
| CN203074143U (en) | Solar clothes rack | |
| CN205267459U (en) | Dampproofing wardrobe of solar energy | |
| CN102191676B (en) | Automatic forcible clothes drier | |
| CN202969098U (en) | Clothes dryer with two fans | |
| CN203147887U (en) | Temperature control warm box for farm-oriented Kang | |
| CN104214962A (en) | Solar heat collecting system and control method of solar heat collecting system |
Legal Events
| Date | Code | Title | Description |
|---|---|---|---|
| C14 | Grant of patent or utility model | ||
| GR01 | Patent grant | ||
| C17 | Cessation of patent right | ||
| CF01 | Termination of patent right due to non-payment of annual fee |
Granted publication date: 20130814 Termination date: 20131228 |
