CN203122076U - 一种电蒸锅 - Google Patents
一种电蒸锅 Download PDFInfo
- Publication number
- CN203122076U CN203122076U CN 201320077669 CN201320077669U CN203122076U CN 203122076 U CN203122076 U CN 203122076U CN 201320077669 CN201320077669 CN 201320077669 CN 201320077669 U CN201320077669 U CN 201320077669U CN 203122076 U CN203122076 U CN 203122076U
- Authority
- CN
- China
- Prior art keywords
- pot
- steamer
- pan
- food
- steam
- Prior art date
- Legal status (The legal status is an assumption and is not a legal conclusion. Google has not performed a legal analysis and makes no representation as to the accuracy of the status listed.)
- Expired - Fee Related
Links
- 235000013305 food Nutrition 0.000 claims abstract description 56
- 238000010025 steaming Methods 0.000 claims abstract description 36
- 238000010411 cooking Methods 0.000 claims abstract description 17
- 238000010438 heat treatment Methods 0.000 claims abstract description 11
- 230000000295 complement effect Effects 0.000 claims description 3
- 238000000034 method Methods 0.000 abstract description 16
- 230000008901 benefit Effects 0.000 abstract description 3
- 238000005260 corrosion Methods 0.000 abstract description 2
- 230000007797 corrosion Effects 0.000 abstract description 2
- 239000000919 ceramic Substances 0.000 abstract 2
- 230000000903 blocking effect Effects 0.000 abstract 1
- 239000007788 liquid Substances 0.000 abstract 1
- 238000007789 sealing Methods 0.000 abstract 1
- 235000014347 soups Nutrition 0.000 description 19
- 235000011389 fruit/vegetable juice Nutrition 0.000 description 14
- 230000008569 process Effects 0.000 description 10
- 238000009835 boiling Methods 0.000 description 9
- 230000035943 smell Effects 0.000 description 8
- 239000000796 flavoring agent Substances 0.000 description 7
- 235000019634 flavors Nutrition 0.000 description 7
- XLYOFNOQVPJJNP-UHFFFAOYSA-N water Substances O XLYOFNOQVPJJNP-UHFFFAOYSA-N 0.000 description 7
- 239000000463 material Substances 0.000 description 5
- 239000002994 raw material Substances 0.000 description 5
- 241000251468 Actinopterygii Species 0.000 description 4
- 238000013022 venting Methods 0.000 description 4
- 241000209094 Oryza Species 0.000 description 3
- 235000007164 Oryza sativa Nutrition 0.000 description 3
- 230000029087 digestion Effects 0.000 description 3
- 239000008236 heating water Substances 0.000 description 3
- 235000009566 rice Nutrition 0.000 description 3
- 230000008859 change Effects 0.000 description 2
- 238000004140 cleaning Methods 0.000 description 2
- 230000000694 effects Effects 0.000 description 2
- 235000011194 food seasoning agent Nutrition 0.000 description 2
- 230000005540 biological transmission Effects 0.000 description 1
- 229910010293 ceramic material Inorganic materials 0.000 description 1
- 239000012459 cleaning agent Substances 0.000 description 1
- 238000010276 construction Methods 0.000 description 1
- 235000011950 custard Nutrition 0.000 description 1
- 235000021186 dishes Nutrition 0.000 description 1
- 238000005516 engineering process Methods 0.000 description 1
- 230000006872 improvement Effects 0.000 description 1
- 239000004615 ingredient Substances 0.000 description 1
- 238000009434 installation Methods 0.000 description 1
- 230000035800 maturation Effects 0.000 description 1
- 235000013372 meat Nutrition 0.000 description 1
- 239000002304 perfume Substances 0.000 description 1
- 238000003672 processing method Methods 0.000 description 1
- 235000013599 spices Nutrition 0.000 description 1
- 235000013547 stew Nutrition 0.000 description 1
- 235000021404 traditional food Nutrition 0.000 description 1
- 235000013311 vegetables Nutrition 0.000 description 1
Images
Landscapes
- Cookers (AREA)
Abstract
本实用新型涉及一种电蒸锅,包括可加热产生高温蒸汽的底座、盛放食物并让高温蒸汽进入内部加热或蒸煮食物的第一锅体和配合第一锅体的锅盖。所述的第一锅体的第一锅底与底座的顶部之间为密闭的可拆卸连接,第一锅体由陶瓷制成,陶瓷材质的第一锅体具有耐腐蚀、没有异味等特点。所述第一锅体的第一锅底开设有能让底座产生的高温蒸汽进入第一锅体内部的第一通孔,所述第一锅体的内侧并且位于第一锅底上设置有环绕第一通孔设置有用于阻挡液体从第一通孔处流出第一锅底的挡油凸沿,所述的第一锅体内设置有可拆卸的蒸盘。本实用新型具有防止食物之间相互混味、由多种烹饪方式供使用者可以根据自己的喜好或需要选择烹饪方式等优点。
Description
技术领域
本实用新型涉及厨房烹煮食品用的电器设备,特别是一种电蒸锅。
背景技术
“蒸”一种常见的烹饪方法,指把经过调味后的食品原料放在器皿中,再置入蒸笼利用蒸汽使其成熟的过程。根据食品原料的不同,可分为猛火蒸,中火蒸和慢火蒸三种。例如“蒸鲜鱼”、“蒸水蛋”等。
蒸,一种看似简单的烹法,令都市人在吃过了花样百出的菜肴后,对原始而美味的蒸菜念念不忘。翻阅资料发现,中国饮馔,技艺精湛,源远流长。烹饪方法有煮、蒸、烤、焖、烧、炸、炒、烩、炖等。世界上最早使用蒸汽烹饪的国家就是中国,并贯穿了整个中国农耕文明。关于蒸最早起源可以追溯到一万多年前的炎黄时期,我们的祖先从水煮食物的原理中发现了蒸汽可把食物弄熟。就烹饪而言,如果没有蒸,我们就永远尝不到由蒸变化而来的鲜、香、嫩、滑之滋味。
根据蒸气的的压力划分为放气蒸,原气蒸,高压气蒸,放气蒸的温度在90℃左右,“放气蒸”就是蒸制的时候虽然加盖但不能盖严,留有一条缝隙,当笼屉内气量过足过猛时,部分蒸气就会从缝隙中逸出散发,锅内气压与外界相近,减少了对菜品的冲击,避免破坏菜形。
其中放气蒸的目的如下:
1、让原料受热发生变化,由生变熟,熟的程度大都为断生,刚熟菜肴以鲜嫩为主,
2、保护美观的菜形,无论加盖留缝或气足揭盖,都是围绕这一目的所采取的技术措施。原气蒸的温度在100—103℃,高压气蒸的温度在120℃是将原料放入密闭容器中,利用高压蒸气迅速将热量传递,使原料快速成熟加工方法。
蒸菜对原料要求极为苛刻,任何不鲜不洁的菜,蒸制出来都将暴露无遗。因此蒸菜对原料的形态和质地要求严格,原料必须新鲜,气味纯正。
通常,对于蒸,火候的掌握非常重要。蒸得过老、过生都不行。经过调味后的食品原料放在器皿中,再置入蒸笼利用蒸汽使其成熟,根据食品原料的不同,可分为猛火蒸、中火蒸和慢火蒸三种。一般来讲,蒸时要用强火,但精细材料要使用中火或小火。
“蒸”的现代化手段为用电加热水产生高温蒸汽。具有烹饪过程“火候”自动控制,蒸气压可以调控等特点。蒸炖温度控制在100℃,保温温度为80℃。蒸饭用蒸锅蒸制250秒或在蒸气柜中蒸制12分钟,而汤需要35分钟。整个过程,没有一丝明火,非常安全。
但现有的电蒸锅和传统的明火蒸煮的方式都存在共同的缺点:
1.不同类型的食物不可混在一起蒸煮,混合蒸煮容易造成食物之间间接混味。
2.多蒸煮时,蒸汽液化后容易使上层的食物的汤汁溢出,并滴入下层的食物中,造成直接混味。
3.汤汁容易溢流到下层锅体,污染下层锅体。
4.现有的电蒸锅功能单一。
综上所述:
目前需要一种可以避免不同食物同时蒸煮时相互混味、容易清洗,并且具备有多种实用功能的电蒸锅。
实用新型内容
本实用新型所要解决的技术问题是目前所使用电蒸锅存在容易混味、难以清洗、烹饪方式单一等技术缺点。
本实用新型通过以下技术方案实现上述的技术问题:
针对现有电蒸锅和传统蒸笼在使用上的缺点,设计一种电蒸锅,包括可加热产生高温蒸汽的底座、盛放食物并让高温蒸汽进入内部加热或蒸煮食物的第一锅体和配合第一锅体的锅盖。所述的第一锅体的第一锅底与底座的顶部之间为密闭的可拆卸连接,第一锅体由陶瓷制成,陶瓷材质的第一锅体具有耐腐蚀、没有异味等特点。所述第一锅体的第一锅底开设有能让底座产生的高温蒸汽进入第一锅体内部的第一通孔。底座加热水产生高温蒸汽,蒸汽经过第一锅体的第一通孔进入第一锅体内部加热食物。
为了防止蒸煮食物过程中,食物汤汁从第一锅体的第一通孔处流出,在所述第一锅体的内侧并且位于第一锅底上设置有环绕第一通孔的挡油凸沿。蒸汽经过第一通孔和挡油凸沿后能快速、均匀地加热第一锅体内的食物。在此过程中蒸汽液化凝结成的水滴和溢出的汤汁汇集在第一锅体的第一锅底,挡油凸沿阻挡水滴和汤汁从第一通孔流出第一锅体。
所述的挡油凸沿是沿着第一锅底的第一通孔的边沿设置。所述的挡油凸沿与第一锅底之间成圆倒角或直角,方便用户清洁第一锅体。
所述的第一锅体内设置有可拆卸的蒸盘。蒸盘能使防止在蒸盘上的食物的受热面积更大,受热效果更均匀。所述的底座与第一锅体之间设置可拆卸的第二锅体,第二锅体可让底座产生的蒸汽进入第二锅体内部和/或第一锅体内部,所述的第二锅体的第二锅底与底座的顶部之间为密闭的可拆卸连接,第二锅体的顶部与第一锅体的第一锅底之间为密闭的可拆卸连接。第一锅体的挡油凸沿防止第一锅体内的汤汁滴入第二锅体,在蒸煮过程中不会造成食物串味,保留食物原有的味道。所以可以在第一锅体和第二锅体内蒸煮不同类型的食物。例如在第一锅体内蒸鱼的同时在第二锅体内蒸饭或蒸汤。
所述的第二锅体的第二锅底开设有第二通孔,所属第二通孔的边沿处竖直设置有气道。蒸煮食物时,蒸汽依次经过第二锅体内的气道、第一通孔和挡油凸沿后进入第一锅体内,并且有部分蒸汽经过第二锅体内的气道后进入第二锅体内。蒸汽在经过第二锅体的气道时,部分热量通过气道传递给第二锅体内的食物。第二锅体的加热方式是隔水蒸炖的方式,而第一锅体的加热方式是蒸汽直接加热的方式,所以第二锅体内的食物不会有大量的气味溢出,并且在气道的阻挡下,第二锅体内的食物的气味难以进入第一锅体。而第一锅体内食物产生的气味在底部大量蒸汽的推动下,从顶部直接溢出,第一锅体内食物产生的汤汁被挡油凸沿收集在第一锅体的第一锅底。
作为本实用新型的进一步改进,所述的第一锅体的锅壁上设置有与蒸盘配合的凸环或凸块;或者是在所述的第一锅体的第一锅底上设置有与蒸盘配合的支撑架;或者是第一锅体的锅壁呈台阶状,台阶状的锅壁与蒸盘相匹配。方便用户安置蒸盘。也可以是将支撑结构直接固定在蒸盘上,简化第一锅体的结构,方便第一锅体的加工。
所述的底座与第一锅体之间设置可拆卸的第二锅体,第二锅体可让底座产生的蒸汽进入第二锅体内部和/或第一锅体内部,所述的第二锅体的第二锅底与底座的顶部之间为密闭的可拆卸连接,第二锅体的顶部与第一锅体的第一锅底之间为密闭的可拆卸连接。第一锅体的挡油凸沿防止第一锅体内的汤汁滴入第二锅体,在蒸煮过程中不会造成食物串味,保留食物原有的味道。所以可以在第一锅体和第二锅体内蒸煮不同类型的食物。例如在第一锅体内蒸鱼的同时在第二锅体内蒸饭或蒸汤。
所述的第二锅体的第二锅底开设有第二通孔,所属第二通孔的边沿处竖直设置有气道。蒸煮食物时,蒸汽依次经过第二锅体内的气道、第一通孔和挡油凸沿后进入第一锅体内,并且有部分蒸汽经过第二锅体内的气道后进入第二锅体内。蒸汽在经过第二锅体的气道时,部分热量通过气道传递给第二锅体内的食物。第二锅体的加热方式是隔水蒸炖的方式,而第一锅体的加热方式是蒸汽直接加热的方式,所以第二锅体内的食物不会有大量的气味溢出,并且在气道的阻挡下,第二锅体内的食物的气味难以进入第一锅体。而第一锅体内食物产生的气味在底部大量蒸汽的推动下,从顶部直接溢出,第一锅体内食物产生的汤汁被挡油凸沿收集在第一锅体的第一锅底。
本实用新型具有以下优点:
1. 第一锅体内的档油凸延可以防止汤汁从第一锅体底部溢出;
2.可以在第一锅体内和第二锅体内同时蒸煮不同类型的食物,并且不会出现食物之间间接混味;
3.蒸煮多种食物时,蒸汽液化后容易使上层的食物的汤汁溢出后背挡油凸沿收集在第一锅体的第一锅底,不会造成直接混味;
4.汤汁不会溢流到下层锅体,污染下层锅体,方便用户清洁,并且可以减少用户清洗锅体时清洁剂的使用量;
5.本实用新型同时具有蒸、隔水炖等多种烹饪功能供用户选择使用。
附图说明
图1为本实用新型实施例一的结构示意图;
图2为本实用新型实施例一的全剖结构示意图;
图3为本实用新型实施例一的拆分状态结构示意图;
图4为本实用新型实施例二的结构示意图;
图5为本实用新型实施例二的全剖结构示意图;
图6为本实用新型实施例三的第一锅体与蒸盘组合状态结构示意图;
图7为本实用新型实施例三的第一锅体的结构示意图;
图8为本实用新型实施例四的第一锅体、第二锅体组合状态俯视图。
图9为本实用新型实施例四的第一锅体的结构示意图;
图10为本实用新型实施例五的第一锅体、第二锅体组合状态俯视图。
具体实施方式
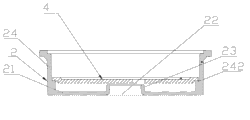
实施例一:如图1所示,本实施例的结构包括可加热产生高温蒸汽的底座1、盛放食物并让高温蒸汽进入内部加热或蒸煮食物的第一锅体2和配合第一锅体2的锅盖3。如图1、2、3所示,所述的第一锅体2的第一锅底21与底座1的顶部之间为密闭的可拆卸连接。所述第一锅体2的第一锅底21开设有能让底座1产生的高温蒸汽进入第一锅体2内部的第一通孔22。底座1加热水产生高温蒸汽,蒸汽经过第一锅体2的第一通孔21进入第一锅体2内部直接加热食物。
如图1、2、3所示,为了防止蒸煮食物过程中,食物汤汁从第一锅体2的第一通孔21处流出,在所述第一锅体2的内侧并且位于第一锅底21上设置有环绕第一通孔22的挡油凸沿23。蒸汽经过第一通孔22和挡油凸沿23后能快速、均匀地加热第一锅体2内的食物。在此过程中蒸汽液化凝结成的水滴和溢出的汤汁汇集在第一锅体2的第一锅底21,挡油凸沿23阻挡水滴和汤汁从第一通孔22流出第一锅体2。
如图2所示,所述的挡油凸沿23是沿着第一锅底21的第一通孔22的边沿设置。所述的挡油凸沿23与第一锅底21之间成圆倒角,方便用户清洁第一锅体2。
如图2、3所示,所述的第一锅体2内设置有可拆卸的蒸盘4。蒸盘4能让蒸汽更容易进入第一锅体2,并且让蒸汽与食物的接触面积更大,食物受热效果更加均匀。
如图2、3所示,为了方便用户安装蒸盘4,并且让蒸汽能均匀加热第一锅体2内的食物。所述的第一锅体2的锅壁24上设置有与蒸盘4配合的凸环241,所述的蒸盘4架设在凸环241上。
实施例二:如图4所示,本实施例与实施例一的结构基本相同。如图4、5所示,其区别在于所述的底座1与第一锅体2之间设置可拆卸的第二锅体5,第二锅体5可让底座1产生的蒸汽进入第二锅体5内部和/或第一锅体2内部,所述的第二锅体5的第二锅底51与底座1的顶部之间为密闭的可拆卸连接,第二锅体5的顶部与第一锅体2的第一锅底21之间为密闭的可拆卸连接。第一锅体2的挡油凸沿23可防止第一锅体2内的汤汁滴入第二锅体5,在蒸煮过程中不会造成食物串味,保留食物原有的味道。所以可以在第一锅体2和第二锅体5内蒸煮不同类型的食物。
如图5所示,所述的第二锅体5的第二锅底51开设有第二通孔52,所属第二通孔52的边沿处竖直设置有气道53。蒸煮食物时,蒸汽依次经过第二锅体5内的气道53、第一通孔22和挡油凸沿23后进入第一锅体2内,并且有部分蒸汽经过第二锅体5内的气道53后进入第二锅体5内。蒸汽在经过第二锅体5的气道53时,部分热量通过气道53传递给第二锅体5内的食物。
实施例三:本实施例与实施例二的结构基本相同,如图6、7所示,其区别在于所述的第一锅体2的锅壁24上设置有与蒸盘4边沿配合支撑蒸盘4的凸块242,凸块242的数量为三块。
实施例四:本实施例与实施例二的结构基本相同,如图8、9所示,其区别在于所述的第一锅体2的第一锅底21上设置有支撑蒸盘4的支撑架243。
实施例五:本实施例与实施例二的结构基本相同,如图10所示,其区别在于所述的第一锅体2的锅壁24呈台阶状,台阶状的锅壁24与蒸盘4相匹配并支撑蒸盘4。
Claims (9)
1.一种电蒸锅,包括可加热产生高温蒸汽的底座、盛放食物并让高温蒸汽进入内部加热或蒸煮食物的第一锅体和配合第一锅体的锅盖,所述的第一锅体的第一锅底与底座的顶部之间为密闭的可拆卸连接,其特征在于所述第一锅体的第一锅底开设有能让底座产生的高温蒸汽进入第一锅体内部的第一通孔。
2.根据权利要求1所述的电蒸锅,其特征在于所述第一锅体的内侧并且位于第一锅底上设置有环绕第一通孔的挡油凸沿。
3.根据权利要求2所述的电蒸锅,其特征在于所述的挡油凸沿是沿着第一锅底的第一通孔的边沿设置。
4.根据权利要求3所述的电蒸锅,其特征在于所述的第一锅体内设置有可拆卸的蒸盘。
5.根据权利要求1或2或3或4所述的电蒸锅,其特征在于所述的底座与第一锅体之间设置可拆卸的第二锅体,第二锅体可让底座产生的蒸汽进入第二锅体内部和/或第一锅体内部,所述的第二锅体的第二锅底与底座的顶部之间为密闭的可拆卸连接,第二锅体的顶部与第一锅体的第一锅底之间为密闭的可拆卸连接。
6.根据权利要求5所述的电蒸锅,其特征在于所述的第二锅体的第二锅底开设有第二通孔,所述第二通孔的边沿处竖直设置有气道。
7.根据权利要求4所述的电蒸锅,其特征在于所述的第一锅体的锅壁上设置有与蒸盘配合的凸环或凸块;或者是在所述的第一锅体的第一锅底上设置有与蒸盘配合的支撑架;或者是第一锅体的锅壁呈台阶状,台阶状的锅壁与蒸盘相匹配。
8.根据权利要求7所述的电蒸锅,其特征在于所述的底座与第一锅体之间设置可拆卸的第二锅体,第二锅体可让底座产生的蒸汽进入第二锅体内部和/或第一锅体内部,所述的第二锅体的第二锅底与底座的顶部之间为密闭的可拆卸连接,第二锅体的顶部与第一锅体的第一锅底之间为密闭的可拆卸连接。
9.根据权利要求8所述的电蒸锅,其特征在于所述的第二锅体的第二锅底开设有第二通孔,所述第二通孔的边沿处竖直设置有气道。
Priority Applications (1)
| Application Number | Priority Date | Filing Date | Title |
|---|---|---|---|
| CN 201320077669 CN203122076U (zh) | 2013-02-19 | 2013-02-19 | 一种电蒸锅 |
Applications Claiming Priority (1)
| Application Number | Priority Date | Filing Date | Title |
|---|---|---|---|
| CN 201320077669 CN203122076U (zh) | 2013-02-19 | 2013-02-19 | 一种电蒸锅 |
Publications (1)
| Publication Number | Publication Date |
|---|---|
| CN203122076U true CN203122076U (zh) | 2013-08-14 |
Family
ID=48930121
Family Applications (1)
| Application Number | Title | Priority Date | Filing Date |
|---|---|---|---|
| CN 201320077669 Expired - Fee Related CN203122076U (zh) | 2013-02-19 | 2013-02-19 | 一种电蒸锅 |
Country Status (1)
| Country | Link |
|---|---|
| CN (1) | CN203122076U (zh) |
Cited By (5)
| Publication number | Priority date | Publication date | Assignee | Title |
|---|---|---|---|---|
| CN103070604A (zh) * | 2013-02-19 | 2013-05-01 | 广东小熊电器有限公司 | 一种电蒸锅 |
| CN108851974A (zh) * | 2018-09-30 | 2018-11-23 | 贵州省粤鑫餐饮设备有限公司 | 一种快速蒸饭柜 |
| CN110623536A (zh) * | 2018-06-21 | 2019-12-31 | 佛山市顺德区美的电热电器制造有限公司 | 炖蒸器具 |
| CN111067344A (zh) * | 2020-01-17 | 2020-04-28 | 深圳市瑞泰易生活科技有限公司 | 一种烹饪机 |
| WO2022007731A1 (zh) * | 2020-07-07 | 2022-01-13 | 厦门优尔智能科技股份有限公司 | 一种多功能电热锅 |
-
2013
- 2013-02-19 CN CN 201320077669 patent/CN203122076U/zh not_active Expired - Fee Related
Cited By (5)
| Publication number | Priority date | Publication date | Assignee | Title |
|---|---|---|---|---|
| CN103070604A (zh) * | 2013-02-19 | 2013-05-01 | 广东小熊电器有限公司 | 一种电蒸锅 |
| CN110623536A (zh) * | 2018-06-21 | 2019-12-31 | 佛山市顺德区美的电热电器制造有限公司 | 炖蒸器具 |
| CN108851974A (zh) * | 2018-09-30 | 2018-11-23 | 贵州省粤鑫餐饮设备有限公司 | 一种快速蒸饭柜 |
| CN111067344A (zh) * | 2020-01-17 | 2020-04-28 | 深圳市瑞泰易生活科技有限公司 | 一种烹饪机 |
| WO2022007731A1 (zh) * | 2020-07-07 | 2022-01-13 | 厦门优尔智能科技股份有限公司 | 一种多功能电热锅 |
Similar Documents
| Publication | Publication Date | Title |
|---|---|---|
| US3641926A (en) | Combination of cooking utensils | |
| CN203122076U (zh) | 一种电蒸锅 | |
| CN105433754A (zh) | 一种带锅具升降功能的火锅炉 | |
| CN103070604A (zh) | 一种电蒸锅 | |
| CN204378880U (zh) | 一种火锅特制锅 | |
| CN103844879A (zh) | 一种可自动煮饭及注水的电饭煲及其制作方法 | |
| CN203122093U (zh) | 一种隔水电炖盅 | |
| CN205410822U (zh) | 一种蒸、煮、炖养生壶 | |
| CN202408425U (zh) | 一种用于烹饪的翻炒设备 | |
| CN109527415A (zh) | 一种汽锅及汽锅甲鱼的蒸制方法 | |
| CN107874593A (zh) | 一种利用蒸汽能制作食品的方法 | |
| CN204427642U (zh) | 一种新型蒸烤锅 | |
| CN202960068U (zh) | 多功能微波烹饪器皿 | |
| CN205041234U (zh) | 一种防油溅锅盖 | |
| CN205493503U (zh) | 一种带锅具升降功能的火锅炉 | |
| CN202698819U (zh) | 一种蒸煮器具 | |
| CN206576725U (zh) | 一种带有蒸笼的砂锅 | |
| CN203828648U (zh) | 多功能锅 | |
| CN208510649U (zh) | 一种新型可加热分离型升降火锅 | |
| CN202457800U (zh) | 一种多功能电炒锅 | |
| CN205795484U (zh) | 多用锅 | |
| JP2011115518A (ja) | 分離操作式調理容器 | |
| CN208030945U (zh) | 一种烹饪器具 | |
| CN204033066U (zh) | 一种多用途汽锅 | |
| CN103405152A (zh) | 煮蛋器 |
Legal Events
| Date | Code | Title | Description |
|---|---|---|---|
| C14 | Grant of patent or utility model | ||
| GR01 | Patent grant | ||
| CP03 | Change of name, title or address |
Address after: 528318 Guangdong Province, Foshan city Shunde District Leliu Street rich village Fu'an Intensive Industrial Zone No. 5-2-1 Patentee after: Bear electronics, Limited by Share Ltd Address before: 528322 Guangdong, Shunde District, Foshan, Guangdong Province, Shunde District, luliu street, rich village committee Fu'an intensive industrial area Patentee before: Guangdong Bear Electric Co., Ltd. |
|
| CP03 | Change of name, title or address | ||
| CF01 | Termination of patent right due to non-payment of annual fee |
Granted publication date: 20130814 Termination date: 20200219 |
|
| CF01 | Termination of patent right due to non-payment of annual fee |