CN203121714U - Multifunctional combined sofa - Google Patents
Multifunctional combined sofa Download PDFInfo
- Publication number
- CN203121714U CN203121714U CN 201320064330 CN201320064330U CN203121714U CN 203121714 U CN203121714 U CN 203121714U CN 201320064330 CN201320064330 CN 201320064330 CN 201320064330 U CN201320064330 U CN 201320064330U CN 203121714 U CN203121714 U CN 203121714U
- Authority
- CN
- China
- Prior art keywords
- chute
- sofa
- slider
- cushion
- armrests
- Prior art date
- Legal status (The legal status is an assumption and is not a legal conclusion. Google has not performed a legal analysis and makes no representation as to the accuracy of the status listed.)
- Expired - Fee Related
Links
- 239000000178 monomer Substances 0.000 claims abstract description 21
- 241001122767 Theaceae Species 0.000 abstract description 3
- 230000006870 function Effects 0.000 abstract description 3
- 230000009286 beneficial effect Effects 0.000 abstract description 2
- 238000010586 diagram Methods 0.000 description 5
- 238000000034 method Methods 0.000 description 1
- 238000001338 self-assembly Methods 0.000 description 1
- 235000011888 snacks Nutrition 0.000 description 1
- 239000002699 waste material Substances 0.000 description 1
Images
Landscapes
- Special Chairs (AREA)
Abstract
本实用新型提供一种多功能组合式沙发,由多个沙发单体组成,每个沙发单体包括左右两个对称、中空的扶手、滑槽一、滑块一、滑槽二、滑块二以及坐垫,滑槽一和滑槽二分别对称嵌入左右两个扶手前后两端的内侧,滑块一连接在滑槽一上,滑块二连接在滑槽二上,滑槽一与滑槽二不在同一个高度上,坐垫通过滑块一连接在滑槽一上;相邻两个沙发单体之间通过附加坐垫连接,附加坐垫通过滑块二连接在滑槽二上。本实用新型的有益效果:既可以伸缩,展开时作沙发,收拢时作柜子或茶几使用;又可以拼接成三个或更多个沙发;还可以全部收拢起来作为茶几使用;功能齐全、充分利用空间;两边扶手可摆放一些物品;沙发单体数量可任意扩展,适合不同群体需求。
The utility model provides a multifunctional combined sofa, which is composed of a plurality of sofa monomers, and each sofa monomer includes two left and right symmetrical, hollow armrests, a chute one, a slider one, a chute two, and a slider two As well as the seat cushion, chute 1 and chute 2 are symmetrically embedded in the inner sides of the front and rear ends of the left and right armrests respectively. Slider 1 is connected to chute 1, and slider 2 is connected to chute 2, and chute 1 and chute 2 are not At the same height, the cushion is connected to the first chute through the first slider; two adjacent sofa units are connected through an additional cushion, and the additional cushion is connected to the second chute through the second slider. Beneficial effects of the utility model: it can be stretched, can be used as a sofa when unfolded, and can be used as a cabinet or a coffee table when folded; it can also be spliced into three or more sofas; it can also be folded up and used as a tea table; it has complete functions and can be fully utilized Space; some items can be placed on the armrests on both sides; the number of single sofas can be expanded arbitrarily, which is suitable for the needs of different groups.
Description
技术领域 technical field
本实用新型涉及组合式家具领域,具体涉及一种多功能组合式沙发。 The utility model relates to the field of combined furniture, in particular to a multifunctional combined sofa.
背景技术 Background technique
目前中国的房价普遍很高,买房成为中国人的一大难题,因此现在的家庭大多户型比较小,户型小空间的利用就显得更加重要,购买大件的家具无疑会让居室看上去更小,因此可以使用一些多功能的家具,用来节省面积,多功能家具具有使用方便,不仅如此,伸缩自如,折折叠叠,更能增加空间层次感,只要配得好,蜗居同样也很精彩。 At present, housing prices in China are generally high, and buying a house has become a major problem for Chinese people. Therefore, most of the current families are relatively small, and the use of small space is even more important. Buying large pieces of furniture will undoubtedly make the living room look smaller. Therefore, some multi-functional furniture can be used to save space. The multi-functional furniture is easy to use, not only that, it can be stretched and folded freely, and can increase the sense of space.
组合家具是进来新出现的形式新颖,结构精巧的家具群体,它的特点是将体积较大的家具化整为零,分成几个体积较小的单体,然后再用儿童积木的方法,组合成为整体家具,它们的形式根据使用的需要可以相同,也可以不同,组合家具和一般家具相比较,有许多优点。过去的家具一经制作定型后,很难再改变形式,每一件家具只有一种用途,一个家庭需要购置各种不同用途的家具,才能满足日常生活的需要。结果,家具占据了居室中的大部分空间,这种矛盾在小面积的住宅中尤为突出。而组合家具可以向空间发展,减少占地面积。组合家具的品种十分丰富,目前常见的有组合书架,组合桌子,组合柜。组合家具在家庭使用外,许多公共场所也可以使用,例如组合沙发,适用于会客室、休息室等;组合书架,适用于图书馆、阅览室和资料室等。组合家具体积小,便于包装和搬运,能够根据环境和使用要求的变化,改变自己的形式,做到物随人意。现有组合沙发普遍仅用于沙发的用途,不足以满足多方面功能的需要,因此迫切需要根据当前社会环境家庭户型的现状,针对大多数家庭户型小,空间利用紧张的特点,结合人机工程学原理,设计一套切实可行的多功能组合式沙发,从而满足小户型家庭安放家具对空间合理安排,自行组合的需求。 Assembled furniture is a new furniture group with novel form and exquisite structure. Its characteristic is to break up the larger furniture into parts and divide it into several smaller units, and then use children's building blocks to combine them. As integral furniture, their forms can be the same or different according to the needs of use. Compared with general furniture, combined furniture has many advantages. In the past, once the furniture was made and finalized, it was difficult to change its form. Each piece of furniture had only one purpose, and a family needed to purchase furniture for various purposes to meet the needs of daily life. As a result, furniture occupies most of the space in the living room, and this contradiction is particularly prominent in small-area houses. And the combined furniture can be developed to the space, reducing the floor space. There are many kinds of combined furniture, and the common ones are combined bookshelves, combined tables, and combined cabinets. Combined furniture can be used in many public places besides home use, such as combined sofas, suitable for reception rooms, lounges, etc.; combined bookshelves, suitable for libraries, reading rooms and reference rooms, etc. Combined furniture is small in size, easy to pack and carry, and can change its form according to changes in the environment and use requirements, so that things can be as you like. Existing modular sofas are generally only used as sofas, which are not enough to meet the needs of various functions. Therefore, it is urgently necessary to combine human-machine engineering with the characteristics of small households and tight space utilization according to the current situation of family households in the current social environment. Based on the principle of learning, design a set of practical multi-functional combined sofa, so as to meet the needs of small-sized families for reasonable arrangement of space and self-assembly of furniture.
发明内容 Contents of the invention
本实用新型要解决的技术问题是,针对现有组合沙发存在功能单一、空间利用不充分的问题,提供一种可以伸缩和组合的多功能组合式沙发,充分利用空间,减少不必要的浪费。 The technical problem to be solved by the utility model is to provide a multifunctional combined sofa that can be stretched and combined to make full use of the space and reduce unnecessary waste in view of the problems of single function and insufficient space utilization in the existing combined sofa.
本实用新型解决其技术问题采用的技术方案是: The technical scheme that the utility model solves its technical problem adopts is:
多功能组合式沙发,由多个沙发单体组成,每个沙发单体包括左右两个对称、中空的扶手、滑槽一、滑块一、滑槽二、滑块二以及坐垫,滑槽一和滑槽二分别对称嵌入左右两个扶手前后两端的内侧,滑块一连接在滑槽一上,滑块二连接在滑槽二上,滑槽一与滑槽二不在同一个高度上,坐垫通过滑块一可左右滑动地连接在左右两侧的滑槽一上;相邻两个沙发单体之间通过附加坐垫连接,附加坐垫通过滑块二可左右滑动地连接在左右两侧的滑槽二上。
The multifunctional combined sofa is composed of multiple sofa monomers, each sofa monomer includes two symmetrical, hollow armrests,
在上述方案中,所述扶手的宽度满足,两个扶手的宽度和至少大于一个坐垫或一个附加坐垫的宽度。 In the above solution, the width of the armrests satisfies that the sum of the widths of the two armrests is at least greater than the width of a seat cushion or an additional seat cushion.
在上述方案中,当滑槽二在滑槽一上方时,滑槽一与滑槽二之间的高度差至少不低于坐垫的高度;当滑槽二在滑槽一下方时,滑槽一与滑槽二之间的高度差至少不低于附加坐垫的高度。 In the above scheme, when the second chute is above the first chute, the height difference between the first chute and the second chute is at least not lower than the height of the seat cushion; when the second chute is below the first chute, the first chute The height difference with the second chute is at least not lower than the height of the additional cushion.
在上述方案中,所述滑槽一水平嵌入扶手前后两端的内侧,滑槽二与滑槽一互成夹角。 In the above solution, the first chute is horizontally embedded in the inner sides of the front and rear ends of the handrail, and the second chute and the first chute form an included angle.
在上述方案中,所述滑槽二与滑槽一之间的夹角为10°~40°。 In the above solution, the angle between the second chute and the first chute is 10°-40°.
本实用新型的工作原理:坐垫通过滑块一在滑槽一上左右滑动可以实现单个沙发单体的收拢和展开。把两个沙发单体放到一起,然后在中间再加一个附加坐垫通过滑块二卡在滑槽二上,形成三个沙发;当只需要两个沙发时又可以把两个沙发靠近,滑块二顺着滑槽二滑动并将附加坐垫往上升一个高度藏在两个扶手里面;当不需要沙发而把它作为茶几使用时,把两个扶手靠拢,坐垫通过滑块一在滑槽一上左右滑动,直至滑进两个扶手里面隐藏起来,同时滑块一通过滑槽一滑动藏在扶手中间并位于附加坐垫下方,通过有高度差的滑槽一与滑槽二,两两沙发单体之间的附加坐垫和每个沙发单体本身的坐垫收拢进去互不影响。
The working principle of the utility model: the seat cushion can realize the folding and unfolding of a single sofa monomer by sliding left and right on the chute one by the slider one. Put the two single sofas together, and then add an additional cushion in the middle to be stuck on the
本实用新型的有益效果在于: The beneficial effects of the utility model are:
(1)既可以伸缩,展开时作为沙发,收拢时作为柜子或茶几使用;又可以拼接,把两个或多个沙发单体放到一起时,只需要加附加坐垫就可以变成三个或更多个沙发;还可以全部收拢起来作为茶几使用;功能齐全、充分利用空间; (1) It can be stretched and stretched, used as a sofa when unfolded, and used as a cabinet or coffee table when folded; it can also be spliced. When two or more sofas are put together, only need to add additional cushions to become three or more. More sofas; they can all be folded up and used as coffee tables; they are fully functional and make full use of the space;
(2)两边扶手比较宽,可摆放一些物品在上面,例如茶水,零食,烟灰缸等; (2) The armrests on both sides are relatively wide, and some items can be placed on it, such as tea, snacks, ashtrays, etc.;
(3)伸缩拼接灵活,沙发单体数量可以任意扩展,适合不同的群体需求。 (3) The telescopic splicing is flexible, and the number of individual sofas can be expanded arbitrarily, which is suitable for the needs of different groups.
附图说明 Description of drawings
图1是本实用新型的整体结构示意图。 Fig. 1 is a schematic diagram of the overall structure of the utility model.
图2是本实用新型单个沙发单体的结构示意图。 Fig. 2 is a schematic structural view of a single sofa unit of the present invention.
图3是本实用新型两个沙发单体之间附加坐垫和滑块二配合的结构示意图。 Fig. 3 is a schematic diagram of the structure of the cooperation between the additional seat cushion and the slider between two sofa monomers of the present invention.
图4是本实用新型单个沙发单体收缩成一个柜子的结构示意图。 Fig. 4 is a schematic structural view of a single sofa unit of the present invention shrunk into a cabinet.
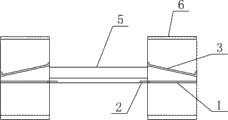
图5是本实用新型两个沙发单体和附加坐垫配合形成三个沙发的结构示意图。 Fig. 5 is a structural schematic diagram of three sofas formed by cooperation of two sofa monomers and additional seat cushions of the present invention.
图6是图5中附加坐垫收拢在扶手中的结构示意图。 Fig. 6 is a schematic diagram of the structure of the additional seat cushion folded in the armrest in Fig. 5 .
图7是附件坐垫和每个沙发单体的坐垫都收拢在扶手中作为茶几的结构示意图。 Fig. 7 is a schematic diagram of the structure of the accessory cushion and the cushion of each single sofa unit being folded in the armrest as a coffee table.
图中:1.滑槽一;2.滑块一;3.滑槽二;4.滑块二;5.坐垫;6.扶手;7.附加坐垫。
In the figure: 1.
具体实施方式 Detailed ways
下面结合附图和实施例对本实用新型的技术方案做进一步详细的说明。 The technical solution of the present utility model will be described in further detail below in conjunction with the accompanying drawings and embodiments.
参照图1~图3所示,本实用新型所述的多功能组合式沙发,由多个沙发单体组成,每个沙发单体包括左右两个对称、中空的扶手6、滑槽一1、滑块一2、滑槽二3、滑块二4以及坐垫5,滑槽一1和滑槽二3分别对称嵌入左右两个扶手6前后两端的内侧,滑块一2连接在滑槽一1上,滑块二4连接在滑槽二3上,滑槽一1与滑槽二3不在同一个高度上,坐垫5通过滑块一2可左右滑动地连接在左右两侧的滑槽一1上;相邻两个沙发单体之间通过附加坐垫7连接,附加坐垫7通过滑块二4可左右滑动地连接在左右两侧的滑槽二3上。
Referring to Figures 1 to 3, the multifunctional combined sofa described in the present invention is composed of a plurality of sofa monomers, and each sofa monomer includes two symmetrical and
所述扶手6的宽度满足,两个扶手6的宽度和至少大于一个坐垫5或一个附加坐垫7的宽度。
The width of the
当滑槽二3在滑槽一1上方时,滑槽一1与滑槽二3之间的高度差至少不低于坐垫5的高度;当滑槽二3在滑槽一1下方时,滑槽一1与滑槽二3之间的高度差至少不低于附加坐垫7的高度。
When the chute two 3 is above the chute one 1, the height difference between the chute one 1 and the chute two 3 is at least not lower than the height of the
所述滑槽一1水平嵌入扶手6前后两端的内侧,滑槽二3与滑槽一1互成夹角。
Described chute one 1 is horizontally embedded in the inner sides of the front and rear ends of the
所述滑槽二3与滑槽一1之间的夹角为10°~40°。
The included angle between the
如图4所示,一个沙发单体收缩到一起成为一个柜子:坐垫5通过滑块一2在滑槽一1上左右滑动,直至滑进两个扶手6里面,隐藏起来成为一个柜子。
As shown in Figure 4, a sofa monomer shrinks together and becomes a cabinet:
如图5所示,把两个沙发单体放到一起,然后在中间再加一个附加坐垫7形成三个沙发,附加坐垫7通过滑块二4卡在滑槽二3上,将两个沙发单体连到一起成为三个沙发。并且可以继续加沙发单体和附加坐垫,进行随意组合。
As shown in Figure 5, put two sofa monomers together, then add an additional cushion 7 in the middle to form three sofas, the additional cushion 7 is stuck on the
如图6所示,三个沙发收起来成为两个,把附加坐垫7隐藏在扶手6里。
As shown in Figure 6, three sofas are packed up and become two, and the additional cushion 7 is hidden in the
附加坐垫7通过滑块二4在倾斜的滑槽二3上滑动,继而收进扶手6里并上升一个高度,不防碍每个沙发单体本身的坐垫5的滑动,不影响坐垫5也收进扶手6里面。
The additional seat cushion 7 slides on the
如图7所示,在图6的基础上,结合图4将每个沙发单体也完全收拢,坐垫5收进扶手6里面,做为一个茶几使用。通过有高度差的滑槽一1与滑槽二3,两两沙发单体之间的附加坐垫7和每个沙发单体本身的坐垫5收拢进去互不影响。
As shown in Figure 7, on the basis of Figure 6, each sofa monomer is also completely folded in combination with Figure 4, and the
以上所述的仅为本实用新型的较佳实施例而已,当然不能以此来限定本实用新型之权利范围,因此依本实用新型申请专利范围所作的等效变化,仍属本实用新型的保护范围。 The above is only a preferred embodiment of the utility model, and of course the scope of rights of the utility model cannot be limited with this, so the equivalent changes made according to the patent scope of the utility model still belong to the protection of the utility model scope.
Claims (5)
Priority Applications (1)
| Application Number | Priority Date | Filing Date | Title |
|---|---|---|---|
| CN 201320064330 CN203121714U (en) | 2013-01-29 | 2013-01-29 | Multifunctional combined sofa |
Applications Claiming Priority (1)
| Application Number | Priority Date | Filing Date | Title |
|---|---|---|---|
| CN 201320064330 CN203121714U (en) | 2013-01-29 | 2013-01-29 | Multifunctional combined sofa |
Publications (1)
| Publication Number | Publication Date |
|---|---|
| CN203121714U true CN203121714U (en) | 2013-08-14 |
Family
ID=48929759
Family Applications (1)
| Application Number | Title | Priority Date | Filing Date |
|---|---|---|---|
| CN 201320064330 Expired - Fee Related CN203121714U (en) | 2013-01-29 | 2013-01-29 | Multifunctional combined sofa |
Country Status (1)
| Country | Link |
|---|---|
| CN (1) | CN203121714U (en) |
Cited By (2)
| Publication number | Priority date | Publication date | Assignee | Title |
|---|---|---|---|---|
| CN109448233A (en) * | 2019-01-09 | 2019-03-08 | 盈奇科技(深圳)有限公司 | A kind of new type vending machine splicing body |
| CN112273921A (en) * | 2020-10-23 | 2021-01-29 | 樊文娟 | Deformable sofa tea table |
-
2013
- 2013-01-29 CN CN 201320064330 patent/CN203121714U/en not_active Expired - Fee Related
Cited By (2)
| Publication number | Priority date | Publication date | Assignee | Title |
|---|---|---|---|---|
| CN109448233A (en) * | 2019-01-09 | 2019-03-08 | 盈奇科技(深圳)有限公司 | A kind of new type vending machine splicing body |
| CN112273921A (en) * | 2020-10-23 | 2021-01-29 | 樊文娟 | Deformable sofa tea table |
Similar Documents
| Publication | Publication Date | Title |
|---|---|---|
| CN203597602U (en) | Multifunctional storage cabinet | |
| CN203121714U (en) | Multifunctional combined sofa | |
| CN201806310U (en) | Combination type multifunctional sofa | |
| CN202184341U (en) | Multipurpose small table | |
| CN203088191U (en) | Multifunctional combined cabinet | |
| CN204444920U (en) | A kind of drawer type stool chair | |
| CN204670694U (en) | Intelligent multi-function bookcase under a kind of astogeny social trend | |
| CN206933860U (en) | O stores table | |
| CN103519574A (en) | Multifunctional assembling combination furniture | |
| CN203058837U (en) | Push-pull dining table with extensible table top | |
| CN202681183U (en) | Multifunctional stool | |
| CN202980940U (en) | Bookshelf | |
| CN206324506U (en) | A kind of drawing and pulling type double chair | |
| CN205649183U (en) | Multifunctional cupboard | |
| CN206499185U (en) | A kind of Multifunctional combined furniture | |
| CN205649180U (en) | Novel cabinet | |
| CN207940548U (en) | A kind of indoor design multifunctional demonstration stand | |
| CN202128105U (en) | Combined desk and chair | |
| CN202950273U (en) | Office table | |
| CN101947024A (en) | Chair or stool capable of storing articles at multiple layers | |
| CN201734150U (en) | Combined type desk and chair | |
| CN201210972Y (en) | Desk | |
| CN202714518U (en) | Convenient chair | |
| CN202407949U (en) | Sofa with concealed armrests | |
| CN204273776U (en) | A kind of sofa |
Legal Events
| Date | Code | Title | Description |
|---|---|---|---|
| C14 | Grant of patent or utility model | ||
| GR01 | Patent grant | ||
| C17 | Cessation of patent right | ||
| CF01 | Termination of patent right due to non-payment of annual fee |
Granted publication date: 20130814 Termination date: 20140129 |
