CN203113912U - Temporary barrier suitable for rubble layer of transformer substation - Google Patents

Temporary barrier suitable for rubble layer of transformer substation Download PDF

Info

Publication number
CN203113912U
CN203113912U CN 201320034293 CN201320034293U CN203113912U CN 203113912 U CN203113912 U CN 203113912U CN 201320034293 CN201320034293 CN 201320034293 CN 201320034293 U CN201320034293 U CN 201320034293U CN 203113912 U CN203113912 U CN 203113912U
Authority
CN
China
Prior art keywords
hurdle
barrier
barrier body
fitting
substation
Prior art date
Legal status (The legal status is an assumption and is not a legal conclusion. Google has not performed a legal analysis and makes no representation as to the accuracy of the status listed.)
Expired - Fee Related
Application number
CN 201320034293
Other languages
Chinese (zh)
Inventor
杨波
赵睿
崔奇明
宣玉杰
郭峰
刘涛
封振兴
于琳琳
付振强
王峰
孙道军
李健
赵小光
赵辉
单丽静
Current Assignee (The listed assignees may be inaccurate. Google has not performed a legal analysis and makes no representation or warranty as to the accuracy of the list.)
Anshan Power Supply Co of State Grid Liaoning Electric Power Co Ltd
State Grid Corp of China SGCC
Original Assignee
Anshan Power Supply Co of State Grid Liaoning Electric Power Co Ltd
State Grid Corp of China SGCC
Priority date (The priority date is an assumption and is not a legal conclusion. Google has not performed a legal analysis and makes no representation as to the accuracy of the date listed.)
Filing date
Publication date
Application filed by Anshan Power Supply Co of State Grid Liaoning Electric Power Co Ltd, State Grid Corp of China SGCC filed Critical Anshan Power Supply Co of State Grid Liaoning Electric Power Co Ltd
Priority to CN 201320034293 priority Critical patent/CN203113912U/en
Application granted granted Critical
Publication of CN203113912U publication Critical patent/CN203113912U/en
Anticipated expiration legal-status Critical
Expired - Fee Related legal-status Critical Current

Links

Images

Landscapes

  • Electric Cable Installation (AREA)

Abstract

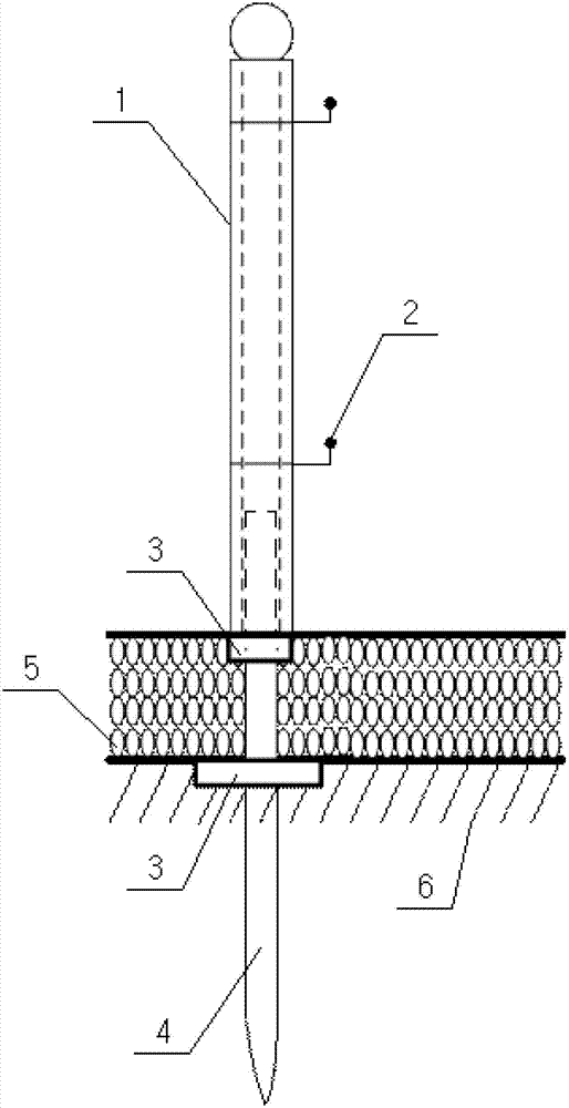
本实用新型涉及一种适用于变电站碎石层的临时遮栏,包括遮栏本体和预埋件,所述的遮栏本体为金属套管结构,遮栏本体表面设有两个挂钩,遮栏本体底部套在预埋件顶部,预埋件下部设有两个直径不同的金属圆盘,预埋件为底部为圆锥结构的圆柱体。与现有的技术相比,本实用新型的有益效果是:一种适用于变电站碎石层的临时遮栏,具有结构简单、设计合理、使用方便、拆卸简便的特点,由于预埋件下部通过两个直径不同的金属圆盘一次性永久固定在需要布置临时遮栏的碎石层下,有效的防止了风力及其它外力使遮栏本体套管脱离预埋件而倾倒,提高了安全措施的布置效率以及防护效果,降低了变电运行工人的劳动强度和工作难度。

Figure 201320034293

The utility model relates to a temporary barrier suitable for substation gravel layers, comprising a barrier body and embedded parts, the barrier body is a metal casing structure, two hooks are arranged on the surface of the barrier body, and the barrier body The bottom of the main body is set on the top of the embedded part, and the lower part of the embedded part is provided with two metal discs with different diameters, and the embedded part is a cylinder with a conical bottom. Compared with the existing technology, the beneficial effect of the utility model is: a temporary barrier suitable for substation gravel layer, which has the characteristics of simple structure, reasonable design, convenient use and easy disassembly. Two metal discs with different diameters are permanently fixed at one time under the gravel layer where temporary barriers need to be arranged, which effectively prevents wind and other external forces from causing the barrier body casing to fall away from the embedded parts and topple over, improving the safety measures. The layout efficiency and protection effect reduce the labor intensity and work difficulty of substation operation workers.

Figure 201320034293

Description

A kind of interim screening hurdle that is applicable to transformer station's macadam
Technical field
The utility model relates to the enterprise security production field, particularly a kind of interim screening hurdle that is applicable to transformer station's macadam.
Background technology
The interim hurdle that hides of installing is one of explicitly provided technical measures that guarantee safety in " State Grid Corporation of China's electric power safety working regulation ", at present, the interim screening hurdle that the substation uses mostly is bamboo slips used for divination or drawing lots formula or triangle posture, this type of interim hurdle that hides is only applicable to soil layer ground or smooth cement floor, there be big and following the unstable not firm shortcoming of a following difficulty for macadam, can not satisfy the safety measure arrangement requirement of transformer station's macadam well, therefore, urgent need hides the hurdle to tradition temporarily and makes improvement, to increase work efficiency.
Summary of the invention
The purpose of this utility model provides a kind of the deficiencies in the prior art that overcome, and improves transformer station's macadam safety measure and arranges efficient and protection effect, reduces the interim screening hurdle of power transformation operation labor strength.
For achieving the above object, the utility model is realized by the following technical solutions:
A kind of interim screening hurdle that is applicable to transformer station's macadam comprises hiding hurdle body and built-in fitting that described screening hurdle body is the metal sleeve structure, hides the hurdle body surface and is provided with two hooks, hides body bottom, hurdle and is enclosed within the built-in fitting top.
Described built-in fitting bottom is provided with two rosettes that diameter is different.
Described built-in fitting is that the bottom is the cylinder of conical structure.
Compared with prior art, the beneficial effects of the utility model are:
A kind of interim screening hurdle that is applicable to transformer station's macadam, have characteristics simple in structure, reasonable in design, easy to use, that dismounting is easy, need to arrange under the macadam on interim screening hurdle because the built-in fitting bottom disposably and permanently is fixed on by two different rosettes of diameter, having prevented effectively that wind-force and other external force from making hides the hurdle body sleeve and breaks away from built-in fitting and topple over, improve layout efficient and the protection effect of safety measure, reduced power transformation operation working strength of workers and work difficulty.
Description of drawings
Fig. 1 is structure chart of the present utility model.
1-screening hurdle body 2-hook 3-rosette 4-built-in fitting 5-macadam 6-dirt bed
The specific embodiment
Below in conjunction with accompanying drawing the specific embodiment of the present utility model is further specified:
As shown in Figure 1, a kind of interim screening hurdle that is applicable to transformer station's macadam of the utility model, comprise and hide hurdle body 1 and built-in fitting 4, described screening hurdle body 1 is the metal sleeve structure, hide body 1 surface, hurdle and be evenly equipped with two hooks 2, hide body 1 bottom, hurdle and be enclosed within built-in fitting 4 tops, built-in fitting 4 bottoms are provided with two rosettes 3 that diameter is different, and built-in fitting 4 is the cylinder of conical structure for the bottom.
When using the utility model, at first by two different rosettes 3 of diameter built-in fitting 4 bottoms disposably and permanently being fixed on needs to arrange under the macadam on interim screening hurdle, so just can satisfy the fixing interim requirement that hides the hurdle, and prevented that wind-force and other external force from making and hide hurdle body 1 sleeve pipe and break away from built-in fitting 4 and topple over, built-in fitting 4 tops are reserved on the ground, to hide hurdle body 1 during use directly is enclosed within and is reserved on the ground built-in fitting 4, hook 2 is used for hanging purse seine to be used, can hang the one or both sides purse seine according to on-the-spot actual needs; After construction finishes, take purse seine, lay down screening hurdle body 1 and get final product.
Above described only be basic principle of the present utility model, be not that the utility model is imposed any restrictions, everyly according to the utility model it is carried out equivalent variations and modification, all within the category of the art of this patent protection scheme.

Claims (3)

1. an interim screening hurdle that is applicable to transformer station's macadam is characterized in that, comprises hiding hurdle body and built-in fitting, and described screening hurdle body is the metal sleeve structure, hides the hurdle body surface and is provided with two hooks, hides body bottom, hurdle and is enclosed within the built-in fitting top.
2. a kind of interim screening hurdle that is applicable to transformer station's macadam according to claim 1 is characterized in that described built-in fitting bottom is provided with two rosettes that diameter is different.
3. a kind of interim screening hurdle that is applicable to transformer station's macadam according to claim 1 is characterized in that, described built-in fitting is that the bottom is the cylinder of conical structure.
CN 201320034293 2013-01-23 2013-01-23 Temporary barrier suitable for rubble layer of transformer substation Expired - Fee Related CN203113912U (en)

Priority Applications (1)

Application Number Priority Date Filing Date Title
CN 201320034293 CN203113912U (en) 2013-01-23 2013-01-23 Temporary barrier suitable for rubble layer of transformer substation

Applications Claiming Priority (1)

Application Number Priority Date Filing Date Title
CN 201320034293 CN203113912U (en) 2013-01-23 2013-01-23 Temporary barrier suitable for rubble layer of transformer substation

Publications (1)

Publication Number Publication Date
CN203113912U true CN203113912U (en) 2013-08-07

Family

ID=48894275

Family Applications (1)

Application Number Title Priority Date Filing Date
CN 201320034293 Expired - Fee Related CN203113912U (en) 2013-01-23 2013-01-23 Temporary barrier suitable for rubble layer of transformer substation

Country Status (1)

Country Link
CN (1) CN203113912U (en)

Cited By (2)

* Cited by examiner, † Cited by third party
Publication number Priority date Publication date Assignee Title
CN105952253A (en) * 2016-06-21 2016-09-21 国网福建省电力有限公司 Multifunctional safety warning fence pile and mounting method thereof
CN108099953A (en) * 2017-12-20 2018-06-01 芜湖润蓝生物科技有限公司 Grounding device for rail transit

Cited By (2)

* Cited by examiner, † Cited by third party
Publication number Priority date Publication date Assignee Title
CN105952253A (en) * 2016-06-21 2016-09-21 国网福建省电力有限公司 Multifunctional safety warning fence pile and mounting method thereof
CN108099953A (en) * 2017-12-20 2018-06-01 芜湖润蓝生物科技有限公司 Grounding device for rail transit

Similar Documents

Publication Publication Date Title
CN203113912U (en) Temporary barrier suitable for rubble layer of transformer substation
CN203807909U (en) Crawler crane roadbed box with invisible lifting lug
CN204111216U (en) A kind of tower crane attachment structure of building operation
CN201883746U (en) Base of movable high-voltage wire pole
CN103993730B (en) Steel coal hopper abutting joint constructing operation platform
CN204680987U (en) The device that a kind of temporary electricity of constructing is arranged
CN202488041U (en) 500 kilovolt hot-line work electric-field-entering ladder
CN205152944U (en) Hidden rings of concrete side's stake
CN203175138U (en) High-voltage wire pole
CN203998634U (en) A kind of petroleum drilling K type derrick lifting device
CN202745458U (en) Connection inner flange of large-top-diameter high-intensity partially prestressed electric pole
CN203354460U (en) Hanging basket oblique face moving mechanism
CN202767408U (en) Gravel step
CN202882519U (en) Telescopic flag pole
CN204847756U (en) Special lifting device of box transformer
CN204793909U (en) Insert ground cable support
CN103972843A (en) Lifting bracket of ground wire
CN202787762U (en) Structure of glass awning
CN217480784U (en) Safe suspension device for building engineering construction
CN204729763U (en) Deposit the hook support of cable
CN203883432U (en) Elevating support for ground wire
CN203008495U (en) Safety fence
CN203307804U (en) Hoop structure for connecting round antiskid pile and anchor rod
CN203008504U (en) Hard rod type protective barrier
CN205151615U (en) Small -size hoisting machine suitable for cable shaft well head

Legal Events

Date Code Title Description
C14 Grant of patent or utility model
GR01 Patent grant
CF01 Termination of patent right due to non-payment of annual fee

Granted publication date: 20130807

Termination date: 20160123

EXPY Termination of patent right or utility model