CN203112404U - 便携组立式三脚架 - Google Patents

便携组立式三脚架 Download PDF

Info

Publication number
CN203112404U
CN203112404U CN 201320134378 CN201320134378U CN203112404U CN 203112404 U CN203112404 U CN 203112404U CN 201320134378 CN201320134378 CN 201320134378 CN 201320134378 U CN201320134378 U CN 201320134378U CN 203112404 U CN203112404 U CN 203112404U
Authority
CN
China
Prior art keywords
supporting leg
crossbeam
angle
supporting legs
leg
Prior art date
Legal status (The legal status is an assumption and is not a legal conclusion. Google has not performed a legal analysis and makes no representation as to the accuracy of the status listed.)
Expired - Lifetime
Application number
CN 201320134378
Other languages
English (en)
Inventor
戴成武
伞海峰
Current Assignee (The listed assignees may be inaccurate. Google has not performed a legal analysis and makes no representation or warranty as to the accuracy of the list.)
Chaoyang Power Supply Co of State Grid Liaoning Electric Power Co Ltd
State Grid Corp of China SGCC
Original Assignee
Chaoyang Power Supply Co of Liaoning Electric Power Co Ltd
State Grid Corp of China SGCC
Priority date (The priority date is an assumption and is not a legal conclusion. Google has not performed a legal analysis and makes no representation as to the accuracy of the date listed.)
Filing date
Publication date
Application filed by Chaoyang Power Supply Co of Liaoning Electric Power Co Ltd, State Grid Corp of China SGCC filed Critical Chaoyang Power Supply Co of Liaoning Electric Power Co Ltd
Priority to CN 201320134378 priority Critical patent/CN203112404U/zh
Application granted granted Critical
Publication of CN203112404U publication Critical patent/CN203112404U/zh
Anticipated expiration legal-status Critical
Expired - Lifetime legal-status Critical Current

Links

Images

Landscapes

  • Casings For Electric Apparatus (AREA)

Abstract

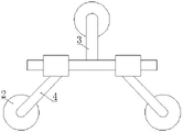
一种便携组立式三脚架,包括三根支腿,其特殊之处是:所述支腿分别为一个基准支腿与二个伸张支腿,在基准支腿顶端设有横梁,所述横梁与基准支腿之间的夹角为90°,在伸张支腿顶端设有分别套筒,所述套筒与伸张支腿的夹角为15°~45°,在横梁中部设有挂环。本实用新型结构简单,精度要求低,制作难度小,制造成本低。且基准支腿与伸张支腿之间通过套筒与横梁连接,可实现拆装,便于搬运与安装。

Description

便携组立式三脚架
技术领域
本实用新型涉及电力作业工具,特别涉及一种便携组立式三脚架。
背景技术
随着电网改造量增加,农村电网升级改造、反措、防洪及大修工程数量多,电力作业任务繁重。并且,由于农村电网各电力设施位置分散、远离城市,高低压电杆、配电变压器等质量较大的设备需从仓库运输到工程现场安装。在装、卸此类设备时需使用三脚架作为支架提拉设备以便于装车、卸车。
现有的三脚架包括三根支脚,在支脚顶端设有连接件,在支脚底部设有用于约束支脚张开角度的拉索,在连接件下部设有挂钩。使用时,支脚分别向三个方向张开,张开后使用拉索定位。吊装完成后,将支脚收回即可。
该结构的三脚架的连接件,需实现向三个方向张开、收回的动作,精度要求高,且需承受设备压力,所需强度大,因此,其制作难度大,成本高。此外,该三脚架高大笨重,且无法拆卸,需整体运输,搬运、安装难度大。
发明内容
本实用新型要解决的技术问题是提供一种结构简单、造价低、可拆装、便于搬运及安装的便携组立式三脚架。
本实用新型是这样实现的:
一种便携组立式三脚架,包括三根支腿,其特殊之处是:所述支腿分别为一个基准支腿与二个伸张支腿,在基准支腿顶端设有横梁,所述横梁与基准支腿之间的夹角为90°,在伸张支腿顶端设有分别套筒,所述套筒与伸张支腿的夹角为15°~45°,在横梁中部设有挂环。
在基准支腿与伸张支腿底面分别设有防沉铁板,在防沉铁板底面固接有多个防滑脚钉。
所述套筒与伸张支腿的夹角为30°,以保证三脚架的稳定性。
所述防沉铁板与伸张支腿、防沉铁板与基准支腿的夹角等于套筒与伸张支腿之间的夹角,以达到最优防沉降效果。
所述基准支腿与横梁的连接点位于横梁中部,以保证平衡。
所述挂环与横梁固接,挂环与基准支腿之间的夹角为34°~36°,以保证挂环的连接强度。
所述挂环与横梁活接。
本实用新型的有益效果是:
结构简单,精度要求低,制作难度小,制造成本低。且基准支腿与伸张支腿之间通过套筒与横梁连接,可实现拆装,便于搬运与安装。
附图说明
图1是本实用新型的结构示意图;
图2是图1的俯视图。
图中:防滑脚钉1,防沉铁板2,基准支腿3,伸张支腿4,套筒5,横梁6,挂环7。
具体实施方式
如图所示,该便携组立式三脚架包括三根支腿,所述支腿分别为一个基准支腿3与二个伸张支腿4。在基准支腿3顶端设有横梁6,所述基准支腿3与横梁6的连接点位于横梁6中部,所述横梁6与基准支腿3之间的夹角为90°。在伸张支腿4顶端设有分别套筒5,所述套筒5与伸张支腿4的夹角为15°~45°,在本实施例中,所述套筒5与伸张支腿4的夹角为30°。在横梁6中部设有挂环7,所述挂环7与横梁6固接(也可活接),挂环7与基准支腿3之间的夹角为34°~36°,本实施例中,以35°为例。在基准支腿3与伸张支腿4底面分别设有防沉铁板2,在防沉铁板2底面固接有多个防滑脚钉1,所述防沉铁板2与伸张支腿4、防沉铁板2与基准支腿3的夹角等于套筒5与伸张支腿4之间的夹角,以达到最优防沉降效果。
使用时,将伸张支腿4扭转,与基准支腿3共同构成三角架。

Claims (7)

1.一种便携组立式三脚架,包括三根支腿,其特征是:所述支腿分别为一个基准支腿与二个伸张支腿,在基准支腿顶端设有横梁,所述横梁与基准支腿之间的夹角为90°,在伸张支腿顶端设有分别套筒,所述套筒与伸张支腿的夹角为15°~45°,在横梁中部设有挂环。
2.根据权利要求1所述的便携组立式三脚架,其特征是:在基准支腿与伸张支腿底面分别设有防沉铁板,在防沉铁板底面固接有多个防滑脚钉。
3.根据权利要求1所述的便携组立式三脚架,其特征是:所述套筒与伸张支腿的夹角为30°。
4.根据权利要求1或2所述的便携组立式三脚架,其特征是:所述防沉铁板与伸张支腿、防沉铁板与基准支腿的夹角等于套筒与伸张支腿之间的夹角。
5.根据权利要求1所述的便携组立式三脚架,其特征是:所述基准支腿与横梁的连接点位于横梁中部。
6.根据权利要求1所述的便携组立式三脚架,其特征是:所述挂环与横梁固接,挂环与基准支腿之间的夹角为34°~36°。
7.根据权利要求1所述的便携组立式三脚架,其特征是:所述挂环与横梁活接。
CN 201320134378 2013-03-23 2013-03-23 便携组立式三脚架 Expired - Lifetime CN203112404U (zh)

Priority Applications (1)

Application Number Priority Date Filing Date Title
CN 201320134378 CN203112404U (zh) 2013-03-23 2013-03-23 便携组立式三脚架

Applications Claiming Priority (1)

Application Number Priority Date Filing Date Title
CN 201320134378 CN203112404U (zh) 2013-03-23 2013-03-23 便携组立式三脚架

Publications (1)

Publication Number Publication Date
CN203112404U true CN203112404U (zh) 2013-08-07

Family

ID=48892773

Family Applications (1)

Application Number Title Priority Date Filing Date
CN 201320134378 Expired - Lifetime CN203112404U (zh) 2013-03-23 2013-03-23 便携组立式三脚架

Country Status (1)

Country Link
CN (1) CN203112404U (zh)

Cited By (2)

* Cited by examiner, † Cited by third party
Publication number Priority date Publication date Assignee Title
CN103204444A (zh) * 2013-03-23 2013-07-17 国家电网公司 便携组立式三脚架
CN104567797A (zh) * 2015-01-15 2015-04-29 孟书芳 一种测距仪支架

Cited By (2)

* Cited by examiner, † Cited by third party
Publication number Priority date Publication date Assignee Title
CN103204444A (zh) * 2013-03-23 2013-07-17 国家电网公司 便携组立式三脚架
CN104567797A (zh) * 2015-01-15 2015-04-29 孟书芳 一种测距仪支架

Similar Documents

Publication Publication Date Title
CN203868052U (zh) 一种临时悬挂在电杆上的电表箱
CN104627849B (zh) 一种用于内天井管道吊装的吊装设备及吊装方法
CN202415016U (zh) 便携式变压器起吊用具
CN203938368U (zh) 水泥杆吊装器
CN203112404U (zh) 便携组立式三脚架
CN201323398Y (zh) 小型电力设备起落架
CN207170926U (zh) 发动机缸体吊芯夹具
CN203833540U (zh) 一种可移动重物起吊器
CN103204444B (zh) 便携组立式三脚架
CN204823909U (zh) 一种伸缩式三脚起重桅杆
CN102943615A (zh) 横折支撑绝缘梯
CN202856246U (zh) 绝缘子更换器
CN202967898U (zh) 转向二联板
CN204050726U (zh) 高空作业时架构与安全带之间固定连接器
CN204490327U (zh) 工字钢吊装卡具
CN203951101U (zh) 一种双排电杆高空作业平台
CN205034948U (zh) 一种网架式吊梁装置
CN202488035U (zh) 水泥杆输电线路维修起吊装置
CN202159929U (zh) 带电作业一体式十分裂提线器
CN201923787U (zh) 电力试验基地门形构架
CN202657876U (zh) 110kV线路避雷器吊装构架
CN207645633U (zh) 一种用于矩形隧道复合式管片的翻转吊具
CN205422119U (zh) 危杆临时固定器
CN204781888U (zh) 一种在钢管杆上检修电缆线的操作平台
CN204265230U (zh) 一种溜尾吊具系统

Legal Events

Date Code Title Description
C14 Grant of patent or utility model
GR01 Patent grant
CX01 Expiry of patent term

Granted publication date: 20130807

CX01 Expiry of patent term