CN203110167U - 一种新型的石材倒角机 - Google Patents
一种新型的石材倒角机 Download PDFInfo
- Publication number
- CN203110167U CN203110167U CN 201320068866 CN201320068866U CN203110167U CN 203110167 U CN203110167 U CN 203110167U CN 201320068866 CN201320068866 CN 201320068866 CN 201320068866 U CN201320068866 U CN 201320068866U CN 203110167 U CN203110167 U CN 203110167U
- Authority
- CN
- China
- Prior art keywords
- support
- stone
- connecting rod
- conveyer belt
- stone material
- Prior art date
- Legal status (The legal status is an assumption and is not a legal conclusion. Google has not performed a legal analysis and makes no representation as to the accuracy of the status listed.)
- Expired - Fee Related
Links
- 239000004575 stone Substances 0.000 title claims abstract description 73
- 230000001154 acute effect Effects 0.000 claims abstract description 4
- 239000000463 material Substances 0.000 claims description 35
- 210000005056 cell body Anatomy 0.000 claims description 6
- 238000005520 cutting process Methods 0.000 abstract description 18
- 230000001105 regulatory effect Effects 0.000 description 3
- 238000005498 polishing Methods 0.000 description 2
- 230000015572 biosynthetic process Effects 0.000 description 1
- 238000010586 diagram Methods 0.000 description 1
- 238000005516 engineering process Methods 0.000 description 1
- 238000003754 machining Methods 0.000 description 1
- 238000000465 moulding Methods 0.000 description 1
Images
Landscapes
- Processing Of Stones Or Stones Resemblance Materials (AREA)
Abstract
本实用新型提供一种新型的石材倒角机,包括石材输送带,石材输送带的一侧设置支架,支架上设置有电机,电机的石材输送带端为电机输出端,且电机输出转轴末端套设有切削装置,切削装置的平面与石材输送带两侧的边沿线呈一锐角,石材输送带侧的支架端部设置一转轴,支架可转动地固定在转轴上,远离石材输送带端的支架外设置升降装置,升降装置与支架固定连接。本实用新型方便了操作人员对石材倒角机切削角度的调整。
Description
技术领域
本实用新型属于石材加工设备领域,尤其是一种新型的石材倒角机。
背景技术
一般石材的粗坏成型或锯切后,会在石材周边形成尖利的棱角,为避免这些棱角造成的危害,同时为提高石材应用的方便及美观效果,必须对石材进行倒角处理。而传统使用的倒角机,由于其存在体积大、机身重、不易搬动等缺点,不适宜用于对小片石材进行倒角作业。同时,现有技术中出现的小型的倒角机也普遍存在以下缺点:(1)切削工具的角度调节装置设置在切削刀具一侧,而,切削刀具位于电机与传输装置之间,操作人员与切削工具的角度调节装置之间隔着电机或传输装置,调节切削工具的角度很不方便;(2)采用刀具进行棱角的切削,形成的切割面比较粗糙,需进行进一步的打磨。
发明内容
本实用新型旨在提供一种新型石材倒角机,此新型的石材倒角机可解决原有的石材倒角机不便于操作者改变切削装置切削角度的问题。
一种新型的石材倒角机,包括石材输送带,石材输送带的一侧设置支架,支架上设置有电机,电机的石材输送带端为电机输出端,且电机输出转轴末端套设有切削装置,切削装置的平面与石材输送带两侧的边沿线呈一锐角,石材输送带侧的支架端部设置一转轴,支架可转动地固定在转轴上,远离石材输送带端的支架外设置升降装置,升降装置与支架固定连接。在工作过程中,操作人员可通过升降装置来调节支架、电机的高度,进而达到改变切削装置与石材输送带上石材的切削角度,升降装置设置在电机的外侧,方便了操作人员对切削角度的调整。
升降装置由行程槽体、连接杆和定位装置组成;连接杆与支架固定连接,且,连接杆与转轴水平;行程槽体上设有弧形的行程槽,行程槽平面与转轴、连接杆均相互垂直,行程槽的圆心位于转轴的延长线上,行程槽的直径大于连接杆的直径;行程槽上穿设有定位装置,连接杆端部位于凸出于行程槽的定位装置的内侧,且,连接杆端部与定位装置紧密配合。在具体工作过程中,根据连接杆与支架的位置关系、电机与支架的位置关系,可通过连接杆的上下调节,实现对电机上的切削装置位置的调节,并通过连接杆端部与定位装置的紧密配合,实现对连接杆、切削装置的定位,从而,完成切削装置的自动切削作业。
支架上固设有立柱,立柱的顶端设有手柄,方便对支架进行旋转调节。
定位装置由螺丝和螺母组成,使得对连接杆的定位及高度调整更方便。
石材输送带上方设置限位板,可根据石材的宽度不同,调节限位板的位置,实现石材在石材输送带上的限位。
所述的切削装置为磨盘,采用磨盘对石材进行倒角作业,使倒角后的石材边缘比较光滑,使倒角与磨光同时进行。
在具体工作过程中,还可将多个本实用新型的新型石材倒角机沿石材输送带排列组合使用,通过调节不同的切削角度,可一次性实现对石材棱角进行多个角度的磨削。
附图说明
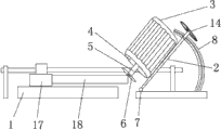
图1为本实用新型的主视图;
图2为支架和升降装置的结构示意图;
图3为升降装置的装配示意图;
图4为切削装置结构图。
具体实施方式
现结合附图具体说明本实用新型的实施方式:
如图1所示,一种新型的石材倒角机,包括石材输送带1,石材输送带1的一侧设置支架2,支架2上设置有电机3,电机3的石材输送带1端为电机输出端4,且电机输出转轴5末端套设有切削装置6,切削装置6的平面与石材输送带1两侧的边沿线呈一锐角,石材输送带1侧的支架2端部设置一转轴7,支架2可转动地固定在转轴7上,远离石材输送带1端的支架2外设置升降装置8,升降装置8与支架2固定连接。在工作过程中,操作人员可通过升降装置9来调节支架2、电机3的高度,进而达到改变切削装置6与石材输送带1上石材18的切削角度,升降装置8设置在电机3的外侧,方便了操作人员对切削角度的调整。
结合图1和图2,升降装置8由行程槽体9、连接杆10和定位装置11组成;连接杆10与支架2固定连接,且,连接杆10与转轴7水平;行程槽体9上设有弧形的行程槽12,行程槽12平面与转轴7、连接杆10均相互垂直,行程槽12的圆心位于转轴7的延长线上,行程槽12的直径大于连接杆10的直径;行程槽12上穿设有定位装置11,连接杆10端部位于凸出于行程槽12的定位装置11的内侧,且,连接杆10端部与定位装置紧密配合。在具体工作过程中,根据连接杆10与支架2的位置关系、电机3与支架2的位置关系,可通过连接杆10的上下调节,实现对电机3上的切削装置6位置的调节,并通过连接杆10端部与定位装置11的紧密配合,实现对连接杆10、切削装置6的定位,从而,完成切削装置6的自动切削作业。
如图2所示,支架2上固设有立柱13,立柱13的顶端设有手柄14,方便对支架2进行旋转调节。
如图3所示,定位装置11由螺丝15和螺母16组成,使得对连接杆10的定位及高度调整更方便。
如图1所示,石材输送带1上方设置限位板17,可根据石材的宽度不同,调节限位板17的位置,实现石材18在石材输送带1上的限位。
如图4所示,所述的切削装置6为磨盘,采用磨盘对石材进行倒角作业,使倒角后的石材边缘比较光滑,使倒角与磨光同时进行。
在具体工作过程中,还可将多个本实用新型的新型石材倒角机沿石材输送带1排列组合使用,通过调节不同的切削角度,可一次性实现对石材棱角进行多个角度的磨削。
本实用新型不仅适用于对石材进行倒角,也适用于对其他硬质材料进行倒角,是一种结构简单、操作简便且可同时进行磨光的新型石材倒角机。
Claims (6)
1.一种新型的石材倒角机,包括石材输送带,石材输送带的一侧设置支架,支架上设置有电机,电机的石材输送带端为电机输出端,且电机输出转轴末端套设有切削装置,切削装置的平面与石材输送带两侧的边沿线呈一锐角,其特征在于:石材输送带侧的支架端部设置一转轴,支架可转动地固定在转轴上,远离石材输送带端的支架外设置升降装置,升降装置与支架固定连接。
2.根据权利要求1所述的一种新型的石材倒角机,其特征在于:升降装置由行程槽体、连接杆和定位装置组成;连接杆与支架固定连接,且,连接杆与转轴水平;行程槽体上设有弧形的行程槽,行程槽平面与转轴、连接杆均相互垂直,行程槽的圆心位于转轴的延长线上,行程槽的直径大于连接杆的直径;行程槽上穿设有定位装置,连接杆端部位于凸出于行程槽的定位装置的内侧,且,连接杆端部与定位装置紧密配合。
3.根据权利要求1所述的一种新型的石材倒角机,其特征在于:支架上固设有立柱,立柱的顶端设有手柄。
4.根据权利要求1所述的一种新型的石材倒角机,其特征在于:定位装置由螺丝和螺母组成。
5.根据权利要求1所述的一种新型的石材倒角机,其特征在于:石材输送带上方设置限位板。
6.根据权利要求1所述的一种新型的石材倒角机,其特征在于:所述的切削装置为磨盘。
Priority Applications (1)
| Application Number | Priority Date | Filing Date | Title |
|---|---|---|---|
| CN 201320068866 CN203110167U (zh) | 2013-02-06 | 2013-02-06 | 一种新型的石材倒角机 |
Applications Claiming Priority (1)
| Application Number | Priority Date | Filing Date | Title |
|---|---|---|---|
| CN 201320068866 CN203110167U (zh) | 2013-02-06 | 2013-02-06 | 一种新型的石材倒角机 |
Publications (1)
| Publication Number | Publication Date |
|---|---|
| CN203110167U true CN203110167U (zh) | 2013-08-07 |
Family
ID=48890544
Family Applications (1)
| Application Number | Title | Priority Date | Filing Date |
|---|---|---|---|
| CN 201320068866 Expired - Fee Related CN203110167U (zh) | 2013-02-06 | 2013-02-06 | 一种新型的石材倒角机 |
Country Status (1)
| Country | Link |
|---|---|
| CN (1) | CN203110167U (zh) |
Cited By (20)
| Publication number | Priority date | Publication date | Assignee | Title |
|---|---|---|---|---|
| CN104162939A (zh) * | 2014-08-07 | 2014-11-26 | 陈菊芳 | 用于石板倒角处理机上的滑动固定装置 |
| CN104846724A (zh) * | 2015-05-22 | 2015-08-19 | 方星 | 气压调节的园林道路修边装置及其使用方法 |
| CN104999571A (zh) * | 2015-07-30 | 2015-10-28 | 上海宝冶集团有限公司 | 饰面材料倒角装置 |
| CN105196424A (zh) * | 2015-08-27 | 2015-12-30 | 山东省滨州市鑫通机械有限公司 | 条石切割生产线 |
| CN105458880A (zh) * | 2015-12-24 | 2016-04-06 | 福建省金牛机械发展有限公司 | 一种横置石板双层多板单向磨边装置 |
| CN106313341A (zh) * | 2016-08-29 | 2017-01-11 | 夏爱华 | 一种大理石倒角装置 |
| CN106457882A (zh) * | 2014-05-09 | 2017-02-22 | 肯戴尔地板材料股份有限公司 | 具有粗糙倒角的板和用于生产所述板的方法 |
| CN106975991A (zh) * | 2016-11-08 | 2017-07-25 | 青岛中天鹏锻压制造有限公司 | 一种车钩冲击台打磨装置及方法 |
| CN107097309A (zh) * | 2017-05-27 | 2017-08-29 | 贵州融合音源乐器有限公司 | 吉他边缘切削装置 |
| CN107160255A (zh) * | 2017-07-26 | 2017-09-15 | 江苏苏高流体机械有限公司 | 一种用于阀门棱角处的倒角机 |
| CN108311996A (zh) * | 2018-03-05 | 2018-07-24 | 袁超 | 一种工程用玻璃磨边装置 |
| CN108608282A (zh) * | 2018-04-18 | 2018-10-02 | 江苏景泰玻璃有限公司 | 一种石英玻璃片外圆研磨及倒角装置 |
| CN109619779A (zh) * | 2018-12-27 | 2019-04-16 | 成都鑫扬锦睿合成材料有限公司 | 一种宝石加工圆台治具及方法 |
| CN109648423A (zh) * | 2019-01-21 | 2019-04-19 | 覃祚超 | 一种用于石材磨边机的磨边砂轮机连接装置 |
| CN109968203A (zh) * | 2019-04-04 | 2019-07-05 | 哈尔滨工业大学 | 环形抛光加工中抛光盘表面形貌误差的修整装置及方法 |
| CN110977670A (zh) * | 2019-12-10 | 2020-04-10 | 江苏奥蓝工程玻璃有限公司 | 一种双银可钢化Low-e玻璃加工用双边磨机组 |
| CN111673926A (zh) * | 2020-06-12 | 2020-09-18 | 洛阳万基炭素有限公司 | 一种炭块可调式倒角加工装置 |
| CN112548743A (zh) * | 2020-12-10 | 2021-03-26 | 安徽东华弹簧有限公司 | 一种高效倒角机 |
| CN112589502A (zh) * | 2020-11-18 | 2021-04-02 | 衡阳市群立新科机械有限公司 | 一种气模锻造件用倒角装置及其使用方法 |
| CN117124477A (zh) * | 2023-09-26 | 2023-11-28 | 江西恒美陶瓷有限公司 | 一种瓷砖薄板修边装置 |
-
2013
- 2013-02-06 CN CN 201320068866 patent/CN203110167U/zh not_active Expired - Fee Related
Cited By (27)
| Publication number | Priority date | Publication date | Assignee | Title |
|---|---|---|---|---|
| CN106457882B (zh) * | 2014-05-09 | 2019-04-19 | 肯戴尔地板材料股份有限公司 | 具有粗糙倒角的板和用于生产所述板的方法 |
| CN106457882A (zh) * | 2014-05-09 | 2017-02-22 | 肯戴尔地板材料股份有限公司 | 具有粗糙倒角的板和用于生产所述板的方法 |
| CN104162939B (zh) * | 2014-08-07 | 2016-07-06 | 陈菊芳 | 用于石板倒角处理机上的滑动固定装置 |
| CN104162939A (zh) * | 2014-08-07 | 2014-11-26 | 陈菊芳 | 用于石板倒角处理机上的滑动固定装置 |
| CN104846724A (zh) * | 2015-05-22 | 2015-08-19 | 方星 | 气压调节的园林道路修边装置及其使用方法 |
| CN104999571A (zh) * | 2015-07-30 | 2015-10-28 | 上海宝冶集团有限公司 | 饰面材料倒角装置 |
| CN105196424A (zh) * | 2015-08-27 | 2015-12-30 | 山东省滨州市鑫通机械有限公司 | 条石切割生产线 |
| CN105196424B (zh) * | 2015-08-27 | 2017-04-19 | 山东省滨州市鑫通机械有限公司 | 条石切割生产线 |
| CN105458880A (zh) * | 2015-12-24 | 2016-04-06 | 福建省金牛机械发展有限公司 | 一种横置石板双层多板单向磨边装置 |
| CN106313341A (zh) * | 2016-08-29 | 2017-01-11 | 夏爱华 | 一种大理石倒角装置 |
| CN106313341B (zh) * | 2016-08-29 | 2018-10-19 | 夏爱华 | 一种大理石倒角装置 |
| CN109093480A (zh) * | 2016-08-29 | 2018-12-28 | 夏爱华 | 一种大理石倒角装置 |
| CN106975991A (zh) * | 2016-11-08 | 2017-07-25 | 青岛中天鹏锻压制造有限公司 | 一种车钩冲击台打磨装置及方法 |
| CN107097309A (zh) * | 2017-05-27 | 2017-08-29 | 贵州融合音源乐器有限公司 | 吉他边缘切削装置 |
| CN107160255A (zh) * | 2017-07-26 | 2017-09-15 | 江苏苏高流体机械有限公司 | 一种用于阀门棱角处的倒角机 |
| CN108311996A (zh) * | 2018-03-05 | 2018-07-24 | 袁超 | 一种工程用玻璃磨边装置 |
| CN108608282A (zh) * | 2018-04-18 | 2018-10-02 | 江苏景泰玻璃有限公司 | 一种石英玻璃片外圆研磨及倒角装置 |
| CN109619779B (zh) * | 2018-12-27 | 2020-09-29 | 成都鑫扬锦睿合成材料有限公司 | 一种宝石加工圆台治具 |
| CN109619779A (zh) * | 2018-12-27 | 2019-04-16 | 成都鑫扬锦睿合成材料有限公司 | 一种宝石加工圆台治具及方法 |
| CN109648423A (zh) * | 2019-01-21 | 2019-04-19 | 覃祚超 | 一种用于石材磨边机的磨边砂轮机连接装置 |
| CN109648423B (zh) * | 2019-01-21 | 2023-11-03 | 覃祚超 | 一种用于石材磨边机的磨边砂轮机连接装置 |
| CN109968203A (zh) * | 2019-04-04 | 2019-07-05 | 哈尔滨工业大学 | 环形抛光加工中抛光盘表面形貌误差的修整装置及方法 |
| CN110977670A (zh) * | 2019-12-10 | 2020-04-10 | 江苏奥蓝工程玻璃有限公司 | 一种双银可钢化Low-e玻璃加工用双边磨机组 |
| CN111673926A (zh) * | 2020-06-12 | 2020-09-18 | 洛阳万基炭素有限公司 | 一种炭块可调式倒角加工装置 |
| CN112589502A (zh) * | 2020-11-18 | 2021-04-02 | 衡阳市群立新科机械有限公司 | 一种气模锻造件用倒角装置及其使用方法 |
| CN112548743A (zh) * | 2020-12-10 | 2021-03-26 | 安徽东华弹簧有限公司 | 一种高效倒角机 |
| CN117124477A (zh) * | 2023-09-26 | 2023-11-28 | 江西恒美陶瓷有限公司 | 一种瓷砖薄板修边装置 |
Similar Documents
| Publication | Publication Date | Title |
|---|---|---|
| CN203110167U (zh) | 一种新型的石材倒角机 | |
| CN205237808U (zh) | 用于组合磨床的磨头总成 | |
| CN205704742U (zh) | 一种切割倒角机 | |
| CN205629547U (zh) | 一种倒角机 | |
| CN203062452U (zh) | 一种带上下料机械手的万能刀剪磨床 | |
| CN102626948A (zh) | 多功能电脑绳锯 | |
| CN105904030A (zh) | 一种倒角机 | |
| CN204235727U (zh) | 一种硅棒切割锯床 | |
| CN111805347A (zh) | 一种玻璃深加工用的双边磨边机 | |
| CN202742543U (zh) | 圆柱石材切割抛光一体机 | |
| CN203236311U (zh) | 数控磨刀机 | |
| CN201566048U (zh) | 多功能石材加工机械 | |
| CN202922406U (zh) | 花键轴磨床砂轮手动修整装置 | |
| CN202684684U (zh) | 石材的弧形磨边装置 | |
| CN210819952U (zh) | 一种推台锯 | |
| CN205685193U (zh) | 一种新型旋转修整装置 | |
| CN209036194U (zh) | 异型玻璃磨边机 | |
| CN204673433U (zh) | 一种小型砂轮切割机 | |
| CN103350380B (zh) | 圆形金属板料边缘成型设备 | |
| CN103921179A (zh) | 在线磨刀装置 | |
| CN209394508U (zh) | 一种万向电动砂轮修整器 | |
| CN207414974U (zh) | 一种刀剪磨床的进给系统 | |
| CN204712284U (zh) | 一种陶瓷贴片法兰平面切割打磨机 | |
| CN104526476A (zh) | 一种可多角度调节的磨刀机 | |
| CN201264311Y (zh) | 轻便型万能双向石材切机 |
Legal Events
| Date | Code | Title | Description |
|---|---|---|---|
| C14 | Grant of patent or utility model | ||
| GR01 | Patent grant | ||
| CF01 | Termination of patent right due to non-payment of annual fee |
Granted publication date: 20130807 Termination date: 20150206 |
|
| EXPY | Termination of patent right or utility model |