CN203101566U - An auxiliary device used for a lightning arrester DC leakage current test - Google Patents
An auxiliary device used for a lightning arrester DC leakage current test Download PDFInfo
- Publication number
- CN203101566U CN203101566U CN 201220741265 CN201220741265U CN203101566U CN 203101566 U CN203101566 U CN 203101566U CN 201220741265 CN201220741265 CN 201220741265 CN 201220741265 U CN201220741265 U CN 201220741265U CN 203101566 U CN203101566 U CN 203101566U
- Authority
- CN
- China
- Prior art keywords
- test
- leakage current
- auxiliary device
- insulating rod
- lightning arrester
- Prior art date
- Legal status (The legal status is an assumption and is not a legal conclusion. Google has not performed a legal analysis and makes no representation as to the accuracy of the status listed.)
- Expired - Fee Related
Links
Images
Landscapes
- Thermistors And Varistors (AREA)
Abstract
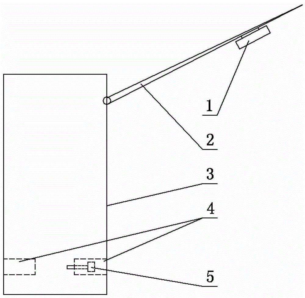
本实用新型涉及一种避雷器直流泄漏电流试验用辅助装置。其特点是:包括圆管状的屏蔽罩(3),在该屏蔽罩(3)外侧安装有绝缘杆(2),该绝缘杆(2)的一端固定在屏蔽罩(3)上而其另一端向屏蔽罩(3)外侧伸出,并且在该绝缘杆(2)上安装有固线夹(1)。本实用新型提供了一种避雷器直流泄漏电流试验用辅助装置,可以起到屏蔽被试设备不受外界影响的效果,还可以将试验引线支撑起来,使试验引线与设备本体或构架之间保持足够的距离,从而确保试验顺利进行以及保证避雷器直流泄漏试验电流值的精准性。
The utility model relates to an auxiliary device for a DC leakage current test of a lightning arrester. It is characterized in that it includes a circular tubular shielding cover (3), an insulating rod (2) is installed outside the shielding cover (3), one end of the insulating rod (2) is fixed on the shielding cover (3) and the other end It protrudes to the outside of the shielding cover (3), and a wire fixing clip (1) is installed on the insulating rod (2). The utility model provides an auxiliary device for the DC leakage current test of a lightning arrester, which can shield the tested equipment from external influences, and can also support the test lead wires so that there is sufficient distance between the test lead wires and the equipment body or frame. distance, so as to ensure the smooth progress of the test and ensure the accuracy of the current value of the DC leakage test of the arrester.
Description
技术领域technical field
本实用新型涉及一种避雷器直流泄漏电流试验用辅助装置。The utility model relates to an auxiliary device for a lightning arrester DC leakage current test.
背景技术Background technique
根据电力部门的相关要求,避雷器,例如35kV避雷器直流泄漏试验电流值的正常范围为(5-10)μA,当试验泄漏电流值达到50μA时为警戒值,高于50μA则表明试验不合格。According to the relevant requirements of the power department, the normal range of the DC leakage test current value of arresters, such as 35kV arresters, is (5-10) μA. When the test leakage current value reaches 50 μA, it is a warning value. If it is higher than 50 μA, it indicates that the test fails.
根据目前各变电站现状调查及分析,在进行35kV避雷器直流泄漏试验电流值过程中,由于被试设备周围设备安装密集,加压过程中,在周围导体表面也会产生泄漏电流,流经微安表后,直接造成了被试设备的试验泄漏电流值增大,并且往往因为试验引线离设备本体或构架距离太近,导致试验引线对设备放电,而使被试设备未达到试验标准值,经常导致试验终止。According to the current investigation and analysis of the current status of each substation, during the current value of the DC leakage test of the 35kV arrester, due to the dense installation of equipment around the equipment under test, leakage current will also be generated on the surface of the surrounding conductor during the pressurization process, flowing through the microampere meter Finally, it directly causes the test leakage current value of the tested equipment to increase, and often because the test lead is too close to the equipment body or frame, the test lead discharges the equipment, and the tested equipment does not reach the test standard value, often resulting in Trial terminated.
实用新型内容Utility model content
本实用新型的目的是提供一种避雷器直流泄漏电流试验用辅助装置,在避雷器直流泄漏电流试验中能够屏蔽周围导电体对被试设备的影响,并有效防止高压试验引线在试验过程中对被试设备放电。The purpose of this utility model is to provide an auxiliary device for the DC leakage current test of the arrester, which can shield the influence of the surrounding conductors on the equipment under test in the DC leakage current test of the arrester, and effectively prevent the high-voltage test lead from causing damage to the tested equipment during the test. The device discharges.
一种避雷器直流泄漏电流试验用辅助装置,其特别之处在于:包括圆管状的屏蔽罩,在该屏蔽罩外侧安装有绝缘杆,该绝缘杆的一端固定在屏蔽罩上而其另一端向屏蔽罩外侧伸出,并且在该绝缘杆上安装有固线夹。An auxiliary device for the DC leakage current test of a lightning arrester, which is special in that it includes a circular tube-shaped shielding cover, an insulating rod is installed outside the shielding cover, one end of the insulating rod is fixed on the shielding cover and the other end faces the shielding cover. The outer side of the cover protrudes, and a wire clamp is installed on the insulating rod.
其中在屏蔽罩内安装有支撑架,在该支撑架中间开有通孔。A supporting frame is installed in the shielding case, and a through hole is opened in the middle of the supporting frame.
其中在支撑架上还安装有调节螺栓。Wherein, adjusting bolts are also installed on the support frame.
其中绝缘杆采用伸缩式绝缘杆。Wherein the insulating rod adopts a telescopic insulating rod.
本实用新型提供了一种避雷器直流泄漏电流试验用辅助装置,可以起到屏蔽被试设备不受外界影响的效果,还可以将试验引线支撑起来,使试验引线与设备本体或构架之间保持足够的距离,从而确保试验顺利进行以及保证避雷器直流泄漏试验电流值的精准性。The utility model provides an auxiliary device for the DC leakage current test of a lightning arrester, which can shield the tested equipment from external influences, and can also support the test lead wire to keep enough distance between the test lead wire and the equipment body or frame. distance, so as to ensure the smooth progress of the test and ensure the accuracy of the current value of the DC leakage test of the arrester.
附图说明Description of drawings
附图1为本实用新型的结构示意图。Accompanying
具体实施方式Detailed ways
如图1所示,本实用新型是一种避雷器直流泄漏电流试验用辅助装置,包括圆管状的屏蔽罩3,在该屏蔽罩3外侧安装有绝缘杆2,该绝缘杆2的一端固定在屏蔽罩3上而其另一端向屏蔽罩3外侧伸出,并且在该绝缘杆2上安装有固线夹1。As shown in Figure 1, the utility model is an auxiliary device for lightning arrester DC leakage current test. On the
其中在屏蔽罩3内安装有支撑架4,在该支撑架4中间开有通孔,另外在支撑架4上还安装有调节螺栓5,绝缘杆2采用伸缩式绝缘杆2。屏蔽罩3和绝缘杆2均采用环氧树脂材质。Wherein, a
本实用新型的使用方法是:The using method of the present utility model is:
使用时将屏蔽罩3套在避雷器上,支撑架4与避雷器顶部接触,通过旋转调节螺栓5可以将屏蔽罩3牢牢固定在避雷器上,此时将试验引线与试验线夹连接,然后将试验线夹夹在屏蔽罩3内的避雷器上,确保充分接触,然后将试验引线从绝缘杆2上的固线夹1穿过并固定后引出即可进行试验。When in use, put the
Claims (4)
Priority Applications (1)
| Application Number | Priority Date | Filing Date | Title |
|---|---|---|---|
| CN 201220741265 CN203101566U (en) | 2012-12-31 | 2012-12-31 | An auxiliary device used for a lightning arrester DC leakage current test |
Applications Claiming Priority (1)
| Application Number | Priority Date | Filing Date | Title |
|---|---|---|---|
| CN 201220741265 CN203101566U (en) | 2012-12-31 | 2012-12-31 | An auxiliary device used for a lightning arrester DC leakage current test |
Publications (1)
| Publication Number | Publication Date |
|---|---|
| CN203101566U true CN203101566U (en) | 2013-07-31 |
Family
ID=48852956
Family Applications (1)
| Application Number | Title | Priority Date | Filing Date |
|---|---|---|---|
| CN 201220741265 Expired - Fee Related CN203101566U (en) | 2012-12-31 | 2012-12-31 | An auxiliary device used for a lightning arrester DC leakage current test |
Country Status (1)
| Country | Link |
|---|---|
| CN (1) | CN203101566U (en) |
Cited By (2)
| Publication number | Priority date | Publication date | Assignee | Title |
|---|---|---|---|---|
| CN106018921A (en) * | 2016-06-12 | 2016-10-12 | 国网山东省电力公司济宁供电公司 | Lightning arrester leakage current test auxiliary tool and method |
| CN110618362A (en) * | 2019-10-15 | 2019-12-27 | 国网天津市电力公司 | High-voltage test device for lightning arrester of power transmission line |
-
2012
- 2012-12-31 CN CN 201220741265 patent/CN203101566U/en not_active Expired - Fee Related
Cited By (2)
| Publication number | Priority date | Publication date | Assignee | Title |
|---|---|---|---|---|
| CN106018921A (en) * | 2016-06-12 | 2016-10-12 | 国网山东省电力公司济宁供电公司 | Lightning arrester leakage current test auxiliary tool and method |
| CN110618362A (en) * | 2019-10-15 | 2019-12-27 | 国网天津市电力公司 | High-voltage test device for lightning arrester of power transmission line |
Similar Documents
| Publication | Publication Date | Title |
|---|---|---|
| CN204228827U (en) | A kind of Tower Impulse Grounding Resistance site survey systems | |
| CN202548160U (en) | Test rack of lightning arrester | |
| CN105510716A (en) | Testing device for measuring specific resistance of interface between silicone rubber and glass fiber reinforced plastics | |
| CN203101566U (en) | An auxiliary device used for a lightning arrester DC leakage current test | |
| CN204649859U (en) | A kind of transmission line of electricity over-voltage measurement analogue test platform | |
| CN104237571B (en) | For the pressurized line support meanss of test of lightning arrester | |
| CN106383291A (en) | Test wiring device and method for field test of leakage current of lightning arrester | |
| CN203224580U (en) | An apparatus for zinc oxide lightning arrester energized testing | |
| CN203350399U (en) | Synthetic Voltage Test System for DC and Impulse at High Altitude | |
| CN207336569U (en) | A kind of multifunction test trolley for electric power tool resistance test | |
| CN205692974U (en) | Allocated radio bridge joint ground wire insulation earthing device | |
| CN204536426U (en) | Insulator dielectric resistance test control lever | |
| CN103746316A (en) | Device and method for replacing insulator string of straight corner tower in hot-line work mode | |
| CN106771386A (en) | A kind of electrical test thread guide devices for making somebody a mere figurehead electrical equipment | |
| CN203786210U (en) | Grounding resistance auxiliary measuring device | |
| CN205910292U (en) | Arrester reveal current shield device | |
| CN204855635U (en) | Non -contact crosses voltage sensor | |
| CN201724954U (en) | Rack dedicated for lightning arrester experiments | |
| CN204882701U (en) | Non -contact crosses voltage sensor | |
| CN202002945U (en) | Insulation pull rod for high-voltage test | |
| CN205643404U (en) | Framework type leakage current of an arrester test loop terminal box | |
| CN106291050B (en) | A mounting device for an optical overvoltage sensor for power transmission lines | |
| CN104597357A (en) | Tester for arrester on 66kV tower and testing method thereof | |
| CN205141184U (en) | Wiring of multi -functional portable ground of overhead line | |
| CN201181314Y (en) | High voltage electroscope |
Legal Events
| Date | Code | Title | Description |
|---|---|---|---|
| C14 | Grant of patent or utility model | ||
| GR01 | Patent grant | ||
| CF01 | Termination of patent right due to non-payment of annual fee |
Granted publication date: 20130731 Termination date: 20141231 |
|
| EXPY | Termination of patent right or utility model |
