CN203098442U - Energy-saving type priority unloading valve - Google Patents

Energy-saving type priority unloading valve Download PDF

Info

Publication number
CN203098442U
CN203098442U CN 201320051565 CN201320051565U CN203098442U CN 203098442 U CN203098442 U CN 203098442U CN 201320051565 CN201320051565 CN 201320051565 CN 201320051565 U CN201320051565 U CN 201320051565U CN 203098442 U CN203098442 U CN 203098442U
Authority
CN
China
Prior art keywords
valve
oil duct
oil
unloading
pressure
Prior art date
Legal status (The legal status is an assumption and is not a legal conclusion. Google has not performed a legal analysis and makes no representation as to the accuracy of the status listed.)
Expired - Fee Related
Application number
CN 201320051565
Other languages
Chinese (zh)
Inventor
严光贤
陈莉
王新慧
张元标
Current Assignee (The listed assignees may be inaccurate. Google has not performed a legal analysis and makes no representation or warranty as to the accuracy of the list.)
ZHEJIANG HERCULES HYDRAULIC CO Ltd
Original Assignee
ZHEJIANG HERCULES HYDRAULIC CO Ltd
Priority date (The priority date is an assumption and is not a legal conclusion. Google has not performed a legal analysis and makes no representation as to the accuracy of the date listed.)
Filing date
Publication date
Application filed by ZHEJIANG HERCULES HYDRAULIC CO Ltd filed Critical ZHEJIANG HERCULES HYDRAULIC CO Ltd
Priority to CN 201320051565 priority Critical patent/CN203098442U/en
Application granted granted Critical
Publication of CN203098442U publication Critical patent/CN203098442U/en
Anticipated expiration legal-status Critical
Expired - Fee Related legal-status Critical Current

Links

Images

Landscapes

  • Operation Control Of Excavators (AREA)
  • Power Steering Mechanism (AREA)

Abstract

The utility model discloses an energy-saving type priority unloading valve, and belongs to the technical field of a fluid-link steering system of engineering machinery. The energy-saving type priority unloading valve comprises a valve body, a priority valve core, a slide valve, an unloading valve core, an LS control port plug screw and the like. An oil duct CF, an oil duct P, an oil duct P2, an oil duct P1 and an oil return duct T1 are arranged on a valve hole of the priority valve core. An oil duct P2, an oil return duct T, an oil duct LS and a guide valve oil return duct T2 of an unloading safety valve are arranged on a valve hole of the unloading valve core. The energy-saving type priority unloading valve, a load sensing steering gear and a steering pump form a load sensing full fluid-link steering system, the slide valve is added, a steering gear LS controls the movement of the slide valve to achieve high-low pressure control of diversion and confluence, steering priority is guaranteed, hydraulic oil in the steering pump confluents or returns in an unloading mode through the priority valve when a loader does not steer, pressure loss of confluence or unloading oil return of the steering pump under the condition that the loader does not steer is reduced, unnecessary energy loss of the system is reduced to a great extent, oil temperature is reduced, and energy is saved effectively.

Description

A kind of energy-saving preferential unloading valve
Technical field
The utility model belongs to the hydraulic steering system technical field of engineering machinery, is specifically related to a kind of energy-saving preferential unloading valve of loader load sensing hydro-steering hydraulic system.
Background technique
Present domestic engineering machinery such as loader, what its load sensing all hydraulic pressure steering-gear adopted mostly is steering pump, pressure-gradient control valve and the combination of load sensing all-hydraulic steering gear, there are indivedual producers to adopt steering pump through improving, preferential unloading valve and the combination of load sensing all-hydraulic steering gear, has remarkable energy saving effect, but no matter which kind of combination, do not turning in the merging process, steering pump oil all collaborates in the work system or during the off-load oil return, all need to overcome the spring force of pressure-gradient control valve, pressure-gradient control valve pilot pressure peak value can reach about 1.5MPa, all the time there is the power loss about about 3KW, cause working oil temperature to raise, volumetric efficiency and productivity descend, and fuel consumption increases.Reduce the pressure loss of wheel loader steering hydraulic system, improve the part throttle characteristics of thermal equilibrium temperature, power engine, the operating efficiency that improves main frame is that each main frame producer wishes the problem that solves at present.
The application of energy-saving hydraulic element on loader is development trend, it also is at present domestic demand place to modern projects such as the loader machinery green revolution, the variable steering hydraulic system is at present at home because of manufacture cost, the higher problem of maintenance cost, can not get very fast application, existing main flow producer popularization rate is not high, substantially be in conceptual phase, pressure loss problem, the raising existing product reliability of improving existing quantitative steering hydraulic system existence also are the task of top priority.
The model utility content
At the pressure loss problem that the quantitative steering hydraulic system that exists in the prior art exists, the purpose of this utility model is to provide a kind of energy-saving preferential unloading valve of simple in structure, good energy-conserving effect.
Described a kind of energy-saving preferential unloading valve, comprise valve body and be equipped with priority spool on valve body, LS control mouthful plug screw, the LS relief valve, equivalent unloading one-way valve, the off-load safety valve, the off-load spool, the unloading valve spring, spacing plug screw, moving valve base, it is characterized in that described priority spool left side is provided with the pressure-gradient control valve spring, be equipped with guiding valve between pressure-gradient control valve spring and the LS control mouthful plug screw, oil duct CF on the priority spool valve opening, oil duct P, oil duct P2, oil duct P1 and back oil road T1, the valve opening of off-load spool is provided with oil duct P2, back oil road T, oil duct LS and off-load safety valve pilot valve back oil road T2; Off-load safety valve head is provided with the oil duct EF that is connected with work system multi-way valve filler opening, and described oil duct CF is that steering pump filler opening oil duct, oil duct P2 are that pressure-gradient control valve shunting oil duct, oil duct P1 are that chamber, pressure-gradient control valve left side oil duct, oil duct T2 are off-load safety valve pilot valve back oil road for oil duct, the oil duct P that is connected with commutator.
Described a kind of energy-saving preferential unloading valve is characterized in that described oil duct P is a steering pump filler opening oil duct, and the oil duct CF that is connected with commutator by priority spool is communicated with; Described oil duct P2 is a pressure-gradient control valve shunting oil duct, is communicated with oil duct P by moving to left of priority spool, and the equivalent unloading one-way valve of leading up to communicates with the oil duct EF that work system multi-way valve filler opening is connected, and another road moves to right by the off-load spool and is communicated with back oil road T; Described back oil road T1, off-load safety valve pilot valve back oil road T2 are communicated with back oil road T by the throttle orifice on the off-load spool.
Described a kind of energy-saving preferential unloading valve is characterized in that described LS relief valve is arranged on the oil duct P1, and the off-load safety valve is arranged on the oil duct EF that is connected with work system multi-way valve filler opening, is respectively equipped with moving valve base on LS stream valve and the off-load safety valve.
Described a kind of energy-saving preferential unloading valve, it is characterized in that described guiding valve is arranged between pressure-gradient control valve spring left end and LS control mouthful plug screw, can be in the valve opening certain limit move left and right, guiding valve is provided with a throttling pore and is communicated with oil duct LS and the left chamber oil duct P1 of pressure-gradient control valve.
Described a kind of energy-saving preferential unloading valve is characterized in that being equipped with spacing plug screw in described off-load spool one side.
Described a kind of energy-saving preferential unloading valve is characterized in that being provided with the throttle orifice that is communicated with off-load safety valve head on described equivalent unloading one-way valve.
By adopting above-mentioned technology, compared with prior art, the beneficial effects of the utility model are as follows:
1) unloading spool one side of the present utility model is equipped with spacing plug screw, and is in time spacing when making unloading spool move to right to range, not only improved the lotus valve spring life-span, also improved the reliability of lotus valve function;
2) the utility model is by being provided with the throttle orifice that is communicated with aperture on the off-load safety valve valve pocket on the equivalent unloading one-way valve, when closing on the relative off-load safety valve of the throttle orifice valve pocket aperture be semi-closed state, equivalent unloading one-way valve spring chamber produces certain negative pressure, equivalent unloading one-way valve closing velocity slows down, can alleviate the collision between equivalent unloading one-way valve and valve body, effectively protect sealing surface;
3) the utility model is equipped with guiding valve between pressure-gradient control valve spring and LS control mouthful plug screw, control moving of guiding valve by commutator LS pressure, make the spring of priority spool left end be divided into two stage compression, realize dividing interflow high low pressure control, thereby guarantee to turn to preferential, when not turning to steering pump hydraulic oil low pressure is through pressure-gradient control valve interflow or the off-load oil return, reduced the pressure loss of loader steering pump interflow or off-load oil return under steering situation not, effectively plays energy-conserving action;
4) the utility model is by being provided with moving valve base on LS relief valve, off-load safety valve, makes contacting between pilot valve and moving valve base become Elastic Contact, can reduce the wearing and tearing of sealing surface, guarantees pressure stability; Use in the high pressure compressed state range of pressure adjusting spring when initial low pressure compressive state and relief valve set pressure simultaneously, avoided spring to be in the permanent deformation that high pressure conditions causes greatly, for a long time because of decrement, improve pressure adjusting spring life-span and reliability, guaranteed and improved the usability and the life-span of LS relief valve, off-load safety valve;
5) preferential unloading valve of the present utility model and load sensing commutator, steering pump is formed load sensing hydro-steering hydraulic system together, increased a guiding valve, control moving of guiding valve by commutator LS pressure, make the spring of priority spool left end be divided into two stage compression, realize dividing interflow high low pressure control, thereby guarantee to turn to preferential, steering pump hydraulic oil low pressure is through pressure-gradient control valve interflow or off-load oil return when not turning to, reduced the pressure loss of loader steering pump interflow or off-load oil return under steering situation not, reduce the unnecessary energy loss of system to greatest extent, reduce the oil temperature, effectively play energy-conserving action.
Description of drawings
Fig. 1 is a plan view structural representation of the present utility model;
Fig. 2 is a side view structural representation of the present utility model;
Fig. 3 is the A-A sectional view structural representation of Fig. 2;
Fig. 4 is the B-B sectional view structural representation of Fig. 2;
Fig. 5 is the moving valve base structural representation;
Fig. 6 is another example structure schematic representation of moving valve base;
Fig. 7 is a hydraulic system principle figure of the present utility model.
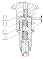
Among the figure: 1-valve body, 2-priority spool, 3-pressure-gradient control valve spring, 4-guiding valve, 5-LS control mouthful plug screw, 6-LS relief valve, the equivalent unloading one-way valve of 7-, 8-off-load safety valve, 9-off-load spool, 10-unloading valve spring, the spacing plug screw of 11-, the 12-moving valve base, the 13-pilot valve, the 14-valve pocket, the 15-pressure adjusting spring, preferential valve opening is provided with 5 oil ducts: be followed successively by oil duct CF, the steering pump filler opening oil duct P, pressure-gradient control valve shunting oil duct P2, a pressure-gradient control valve left side chamber oil duct P1, the back oil road T1 that are connected with commutator from right to left; The off-load valve opening is provided with 3 oil ducts: be followed successively by pressure-gradient control valve shunting oil duct P2, back oil road T, off-load safety valve pilot valve back oil road T2 from right to left; Off-load safety valve 8 heads are provided with the oil duct EF that is connected with work system multi-way valve filler opening.
Embodiment
Below in conjunction with Figure of description the utility model is further described:
Shown in Fig. 1-7, a kind of energy-saving preferential unloading valve, comprise valve body 1, priority spool 2, pressure-gradient control valve spring 3, guiding valve 4, LS control mouthful plug screw 5, LS relief valve 6, equivalent unloading one-way valve 7, off-load safety valve 8, off-load spool 9, unloading valve spring 10, spacing plug screw 11, moving valve base 12, described priority spool 2 left sides are provided with pressure-gradient control valve spring 3, be equipped with guiding valve 4 between pressure-gradient control valve spring 3 and the LS control mouthful plug screw 5, preferential valve opening is provided with 5 oil ducts: be followed successively by the oil duct CF that is connected with commutator from right to left, steering pump filler opening oil duct P, pressure-gradient control valve shunting oil duct P2, pressure-gradient control valve left side chamber oil duct P1, back oil road T1; The off-load valve opening is provided with 3 oil ducts: be followed successively by pressure-gradient control valve shunting oil duct P2, back oil road T, off-load safety valve pilot valve back oil road T2 from right to left; Off-load safety valve 8 heads are provided with the oil duct EF that is connected with work system multi-way valve filler opening, be provided with a guiding valve 4 between described pressure-gradient control valve spring 3 left ends and the LS control mouthful plug screw 5, guiding valve 4 can be in the valve opening certain limit move left and right, guiding valve 4 is provided with a throttling pore and is communicated with LS and the left chamber oil duct P1 of pressure-gradient control valve; Described steering pump filler opening oil duct P is communicated with by the oil duct CF that priority spool 2 is connected with commutator; Described pressure-gradient control valve shunting oil duct P2 moves to left by priority spool 2 and is communicated with steering pump filler opening oil duct P, lead up to and open equivalent unloading one-way valve 7 and communicate with the oil duct EF that work system multi-way valve filler opening is connected, another road moves to right by off-load spool 9 and is communicated with back oil road T; Described back oil road T1, off-load safety valve pilot valve back oil road T2 are communicated with back oil road T by the throttle orifice on the off-load spool 9; Described off-load spool 9 one sides are provided with spacing plug screw 11, and running into spacing plug screw 11 when off-load spool 9 moves can be spacing; Described equivalent unloading one-way valve 7 is provided with throttle orifice and is communicated with off-load safety valve 8 heads.
Shown in Fig. 5-6, described LS relief valve 6 is arranged on the chamber oil duct P1 of a pressure-gradient control valve left side, is provided with moving valve base 12, makes spring become two stage compression, reduces decrement when not working, and improves spring life; Described off-load safety valve 8 is arranged on the oil duct EF that is connected with work system multi-way valve filler opening, also be provided with moving valve base 12 on the off-load safety valve 8, LS relief valve 6 is identical with moving valve base 12 structural types on the off-load safety valve 8, mainly be provided with moving valve base 12, pilot valve 13, valve pocket 14, pressure adjusting spring 15 in LS relief valve 6, the off- load safety valve 8,12 two kinds of different modes of moving valve base, first kind as shown in Figure 5, moving valve base 12 is packed into from valve pocket 14 heads, blocks the location with back-up ring; Second kind as shown in Figure 6, moving valve base 12 valve body of packing into directly is positioned on the valve body, and moving valve base 12 has two limit positions, shift motion is made as X between two positions, when pressure adjusting spring 15 is in the initial low pressure compressive state, spring force is very little but aperture that can make pilot valve 13 withstand moving valve base 12 also guarantees sealing, and this moment, moving valve base 12 was in initial position; Along with P1(EF) the pressure rising, promote moving valve base 12 and pilot valve 13 and compress pressure adjusting spring 15, behind moving valve base 12 shift motion X, run into valve pocket 14, high pressure compressed state when pressure adjusting spring 15 is in the cracking pressure that relief valve sets, moving valve base 12 was in and was end positions this moment, along with P1(EF) when pressure continuation rising reached the relief valve cracking pressure, hydraulic oil was opened pilot valve 13 by T oil duct oil return off-load.
The utility model makes contacting of 12 of pilot valve 13 and moving valve bases become Elastic Contact by be provided with moving valve base 12 on LS relief valve 6, off-load safety valve 8, can reduce the wearing and tearing of sealing surface, guarantees pressure stability; Use in the high pressure compressed state range of pressure adjusting spring 15 when initial low pressure compressive state and relief valve set pressure simultaneously, avoided spring to be in the permanent deformation that high pressure conditions causes greatly, for a long time because of decrement, improve 15 life-spans of pressure adjusting spring and reliability, guaranteed and improved the usability and the life-span of LS relief valve, off-load safety valve.
Working principle of the present utility model and working state are as follows:
1, steering system is not worked, work system is not worked and when working
Shown in Fig. 1-6, when commutator was not worked, steering wheel was placed in the middle, the pressure of LS control mouth is zero, guiding valve 4 is in high order end under the effect of pressure-gradient control valve spring 3, the precompression of pressure-gradient control valve spring 3 is in the low pressure compressive state at this moment, and the oil duct CF that is connected with commutator is in closing position.
A, when work system is not worked, steering pump filler opening oil duct P oil-feed, hydraulic oil is through priority spool 2 right-hand member oil-feeds, action of hydraulic force is at priority spool 2 right-hand members, overcome the low pressure precompression of pressure-gradient control valve spring 3, priority spool 2 is moved to the left, be communicated with pressure-gradient control valve shunting oil duct P2 until steering pump filler opening oil duct P, and push the oil duct EF that equivalent unloading one-way valve 7 is connected with work system multi-way valve filler opening open and be communicated with, steering pump oil all low pressure collaborates in the work system through the neutral position of multi-way valve oil duct oil sump tank, realization double pump interflow, reduced the pressure loss at loader steering pump oil interflow under steering situation not, reduce the unnecessary energy loss of system to greatest extent, reduce the oil temperature, effectively play energy-conserving action.
B, when work system work and when being in high pressure conditions, the oil duct EF that is connected with work system multi-way valve filler opening also is in high pressure conditions, and close the passage of equivalent unloading one-way valve 7 and pressure-gradient control valve shunting oil duct P2, steering pump filler opening oil duct P oil-feed overcomes the low pressure precompression of pressure-gradient control valve spring 3, priority spool 2 is moved to the left, be communicated with pressure-gradient control valve shunting oil duct P2 until steering pump filler opening oil duct P, when oil duct EF pressure surpasses off-load safety valve 8 set pressures, off-load safety valve 8 pilot valves are opened, its oil return is arrived off-load spool 9 left ends through off-load safety valve pilot valve back oil road T2, overcome the spring force of unloading valve spring 10, unloading spool 9 moves to right to spacing plug screw 11, steering pump hydraulic oil low pressure is shunted oil duct P2 through the direct off-load oil sump tank of T mouth from pressure-gradient control valve, also reduced loader pressure loss during steering pump oil off-load oil return under steering situation not this moment, the energy loss that the minimizing system is unnecessary reduces the oil temperature, effectively plays energy-conserving action.
Unloading spool 9 range that moves to right is provided with spacingly, has improved the reliability of 10 life-spans of lotus valve spring and lotus valve function.
Equivalent unloading one-way valve 7 is provided with throttle orifice and is communicated with aperture on off-load safety valve 8 valve pockets; when closing on relative off-load safety valve 8 valve pockets of throttling pore aperture be semi-closed state; equivalent unloading one-way valve 7 spring chambers produce certain negative pressure; equivalent unloading one-way valve 7 closing velocities slow down; can alleviate the collision between equivalent unloading one-way valve 7 and valve body, effectively protect sealing surface.
2, steering system work, work system work and when not working
Shown in Fig. 1-7, when commutator is worked, steering pump filler opening oil duct P oil-feed, hydraulic oil is communicated with through the oil duct CF that priority spool 2 is connected with commutator, be connected with turning to oil cylinder through commutator, steering pump comes oil to enter to turn to oil cylinder, make loading machine steering, the pressure signal of LS mouth acts on the left end of guiding valve 4 by LS control mouthful plug screw 5, overcome the spring force of pressure-gradient control valve spring 3, promotion guiding valve 4 moves to right spacing to right end position, makes the precompression of pressure-gradient control valve spring 3 be in the secondary compression than big spring power state.When work system work and pressure are higher than steering system pressure, close the passage of equivalent unloading one-way valve 7 and pressure-gradient control valve shunting oil duct P2, increase along with the commutator rotating speed, because the variation of two ends, priority spool 2 left and right sides pressure reduction and pressure-gradient control valve spring 3 are than the effect of big spring power, make priority spool 2 move right to the oil duct CF opening increase that is connected with commutator, steering pump filler opening oil duct P and pressure-gradient control valve shunting oil duct P2 close or open, and have so just guaranteed that preferential supply of hydraulic oil turns to.When turning to the load overrate, the pressure oil of LS mouth impels LS relief valve 6 to open, the release of LS mouth, and priority spool 2 moves to left, and the unnecessary oil of steering pump collaborates in work system.When work system is not worked, through the neutral position of multi-way valve oil duct oil sump tank.

Claims (6)

1. energy-saving preferential unloading valve, comprise valve body (1) and be equipped with priority spool (2) on valve body (1), LS control mouthful plug screw (5), LS relief valve (6), equivalent unloading one-way valve (7), off-load safety valve (8), off-load spool (9), unloading valve spring (10), spacing plug screw (11), moving valve base (12), it is characterized in that described priority spool (2) left side is provided with pressure-gradient control valve spring (3), be equipped with guiding valve (4) between pressure-gradient control valve spring (3) and the LS control mouthful plug screw (5), oil duct CF on priority spool (2) valve opening, oil duct P, oil duct P2, oil duct P1 and back oil road T1, the valve opening of off-load spool (9) is provided with oil duct P2, back oil road T, oil duct LS and off-load safety valve pilot valve back oil road T2; Off-load safety valve (8) head is provided with the oil duct EF that is connected with work system multi-way valve filler opening.
2. a kind of energy-saving preferential unloading valve according to claim 1 is characterized in that described oil duct P is a steering pump filler opening oil duct, and the oil duct CF that is connected with commutator by priority spool (2) is communicated with; Described oil duct P2 is a pressure-gradient control valve shunting oil duct, be communicated with oil duct P by moving to left of priority spool (2), the equivalent unloading one-way valve (7) of leading up to communicates with the oil duct EF that work system multi-way valve filler opening is connected, and another road moves to right by off-load spool (9) and is communicated with back oil road T; Described back oil road T1, off-load safety valve pilot valve back oil road T2 are communicated with back oil road T by the throttle orifice on the off-load spool (9).
3. a kind of energy-saving preferential unloading valve according to claim 1, it is characterized in that described LS relief valve (6) is arranged on the oil duct P1, off-load safety valve (8) is arranged on the oil duct EF that is connected with work system multi-way valve filler opening, is respectively equipped with moving valve base (12) on LS stream valve (6) and the off-load safety valve (8).
4. a kind of energy-saving preferential unloading valve according to claim 1, it is characterized in that described guiding valve (4) is arranged between pressure-gradient control valve spring (3) left end and LS control mouthful plug screw (5), can be in the valve opening certain limit move left and right, guiding valve (4) is provided with a throttling pore and is communicated with oil duct LS and the left chamber oil duct P1 of pressure-gradient control valve.
5. a kind of energy-saving preferential unloading valve according to claim 1 is characterized in that being equipped with spacing plug screw (11) in described off-load spool (9) one sides.
6. a kind of energy-saving preferential unloading valve according to claim 1 is characterized in that being provided with the throttle orifice that is communicated with off-load safety valve (8) head on described equivalent unloading one-way valve (7).
CN 201320051565 2013-01-30 2013-01-30 Energy-saving type priority unloading valve Expired - Fee Related CN203098442U (en)

Priority Applications (1)

Application Number Priority Date Filing Date Title
CN 201320051565 CN203098442U (en) 2013-01-30 2013-01-30 Energy-saving type priority unloading valve

Applications Claiming Priority (1)

Application Number Priority Date Filing Date Title
CN 201320051565 CN203098442U (en) 2013-01-30 2013-01-30 Energy-saving type priority unloading valve

Publications (1)

Publication Number Publication Date
CN203098442U true CN203098442U (en) 2013-07-31

Family

ID=48849847

Family Applications (1)

Application Number Title Priority Date Filing Date
CN 201320051565 Expired - Fee Related CN203098442U (en) 2013-01-30 2013-01-30 Energy-saving type priority unloading valve

Country Status (1)

Country Link
CN (1) CN203098442U (en)

Cited By (6)

* Cited by examiner, † Cited by third party
Publication number Priority date Publication date Assignee Title
CN103062148A (en) * 2013-01-30 2013-04-24 浙江海克力液压有限公司 Energy-saving type prior unloading valve
CN104989690A (en) * 2015-06-29 2015-10-21 象山盛韵汽配科技有限公司 Overload relief valve
CN105179344A (en) * 2015-01-15 2015-12-23 徐州重型机械有限公司 Flow divider valve
CN105201933A (en) * 2015-01-15 2015-12-30 徐州重型机械有限公司 Rotating speed feedback based proportional speed-regulating hydraulic system
CN109882467A (en) * 2019-04-11 2019-06-14 陈艳艳 A kind of hydraulic cylinder safety valve and its application
CN111120444A (en) * 2020-01-22 2020-05-08 浙江高宇液压机电有限公司 Differential compensation priority unloading valve

Cited By (10)

* Cited by examiner, † Cited by third party
Publication number Priority date Publication date Assignee Title
CN103062148A (en) * 2013-01-30 2013-04-24 浙江海克力液压有限公司 Energy-saving type prior unloading valve
CN103062148B (en) * 2013-01-30 2015-09-16 浙江海克力液压有限公司 A kind of energy-saving priority unloading valve
CN105179344A (en) * 2015-01-15 2015-12-23 徐州重型机械有限公司 Flow divider valve
CN105201933A (en) * 2015-01-15 2015-12-30 徐州重型机械有限公司 Rotating speed feedback based proportional speed-regulating hydraulic system
CN105179344B (en) * 2015-01-15 2017-05-03 徐州重型机械有限公司 Flow divider valve
CN105201933B (en) * 2015-01-15 2017-09-19 徐州重型机械有限公司 A kind of proportionality velocity modulation hydraulic system based on speed feedback
CN104989690A (en) * 2015-06-29 2015-10-21 象山盛韵汽配科技有限公司 Overload relief valve
CN109882467A (en) * 2019-04-11 2019-06-14 陈艳艳 A kind of hydraulic cylinder safety valve and its application
CN111120444A (en) * 2020-01-22 2020-05-08 浙江高宇液压机电有限公司 Differential compensation priority unloading valve
CN111120444B (en) * 2020-01-22 2022-06-14 浙江高宇液压机电有限公司 Differential compensation priority unloading valve

Similar Documents

Publication Publication Date Title
CN103062148A (en) Energy-saving type prior unloading valve
CN203098442U (en) Energy-saving type priority unloading valve
CN203031283U (en) Three-dimensional linkage power sliding table hydraulic control system
CN102561451B (en) Energy optimization system for hydraulic excavator
CN201610873U (en) Multifunctional highly-integrated multi-way valve
CN105526207B (en) Flow control system is matched somebody with somebody in a kind of hydraulic gate flat valve and its application
CN103042667A (en) High-speed mould opening-closing hydraulic loop system
CN203879827U (en) Servo drive hydraulic system
CN104989690B (en) Overload relief valve
CN202251178U (en) Energy-saving forklift multi-way valve
CN204152871U (en) A kind of truck crane multi-way valve
CN208281487U (en) The speed change operating valve of the built-in neutral signal device of loading machine
CN203548396U (en) Two-way control valve suitable for short-arm coal mining machine height-adjusting system
CN204266285U (en) Based on the energy-saving turntable drive system of the excavator of double motor and hydraulic accumulator
CN102588393A (en) High-speed punching hydraulic circuit of hydraulic punching machine
CN203770276U (en) Double-way oil supply priority valve
CN2505632Y (en) Pilot-controlled multi-way reversing valve
CN202468560U (en) High-speed punching hydraulic loop of hydraulic punching machine
CN102734245B (en) Preferential-type variable steering control valve
CN102515042B (en) Slewing buffer circuit
CN202520681U (en) Full load sensitive integrated valve
CN202833382U (en) Multiple-directional control valve capable of unloading automatically and compulsively
CN203374893U (en) Variable speed operating valve for hydraulic shift gearbox of engineering machine
CN203214854U (en) Gearbox operating valve for engineering machine
CN204025203U (en) Excavator high-pressure multi-path selector valve

Legal Events

Date Code Title Description
C14 Grant of patent or utility model
GR01 Patent grant
CF01 Termination of patent right due to non-payment of annual fee

Granted publication date: 20130731

Termination date: 20160130

EXPY Termination of patent right or utility model