CN203078014U - 发光圆珠笔 - Google Patents

发光圆珠笔 Download PDF

Info

Publication number
CN203078014U
CN203078014U CN 201220748327 CN201220748327U CN203078014U CN 203078014 U CN203078014 U CN 203078014U CN 201220748327 CN201220748327 CN 201220748327 CN 201220748327 U CN201220748327 U CN 201220748327U CN 203078014 U CN203078014 U CN 203078014U
Authority
CN
China
Prior art keywords
battery
switch
pen holder
lamp bulb
penholder
Prior art date
Legal status (The legal status is an assumption and is not a legal conclusion. Google has not performed a legal analysis and makes no representation as to the accuracy of the status listed.)
Expired - Fee Related
Application number
CN 201220748327
Other languages
English (en)
Inventor
秦菲钒
Current Assignee (The listed assignees may be inaccurate. Google has not performed a legal analysis and makes no representation or warranty as to the accuracy of the list.)
Individual
Original Assignee
Individual
Priority date (The priority date is an assumption and is not a legal conclusion. Google has not performed a legal analysis and makes no representation as to the accuracy of the date listed.)
Filing date
Publication date
Application filed by Individual filed Critical Individual
Priority to CN 201220748327 priority Critical patent/CN203078014U/zh
Application granted granted Critical
Publication of CN203078014U publication Critical patent/CN203078014U/zh
Anticipated expiration legal-status Critical
Expired - Fee Related legal-status Critical Current

Links

Images

Landscapes

  • Arrangement Of Elements, Cooling, Sealing, Or The Like Of Lighting Devices (AREA)

Abstract

本实用新型提供一种发光圆珠笔,包括笔杆,其特征在于还包括电池、灯泡和开关,所述笔杆为透明材料制成,所述灯泡和电池位于所述笔杆内,所述灯泡位于笔杆前部,所述电池位于笔杆中部,所述开关位于笔杆后部,所述电池分别与开关和灯泡连接,所述开关为旋钮式开关。在通体透明的笔杆内安装电池和灯泡,并使用旋钮式开关与电池连接,通过旋拧开关即可使灯泡处于工作状态,发出光,照亮周围,提供足够的光线,供人们工作和学习之用。配合笔杆的大小,选用2节7号电池,尽量减小本实用新型的体积,为使用者提供方便。

Description

发光圆珠笔
技术领域
本实用新型属于文具用品领域,尤其涉及一种发光圆珠笔。
背景技术
圆珠笔是人们工作学习中经常使用的一种文具。在夜晚等光线不足的时候,人们需要开灯才能正常工作学习。但是当停电等情况发生时,在没有灯光的照射下,光线不足将导致人们无法正常的工作学习。
发明内容
为了解决上述技术问题,本实用新型提供一种发光圆珠笔,包括笔杆,其特征在于还包括电池、灯泡和开关,所述笔杆为透明材料制成,所述灯泡和电池位于所述笔杆内,所述灯泡位于笔杆前部,所述电池位于笔杆中部,所述开关位于笔杆后部,所述电池分别与开关和灯泡连接,所述开关为旋钮式开关。
所述电池为2节7号电池。
本实用新型的有益效果为:在通体透明的笔杆内安装电池和灯泡,并使用旋钮式开关与电池连接,通过旋拧开关即可使灯泡处于工作状态,发出光,照亮周围,提供足够的光线,供人们工作和学习之用。配合笔杆的大小,选用2节7号电池,尽量减小本实用新型的体积,为使用者提供方便。
附图说明
图1为本实用新型的结构示意图。
具体实施方式
下面结合附图对本实用新型做进一步说明:
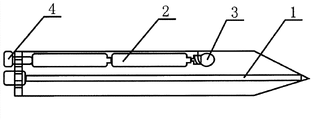
图中,1、笔杆;2、电池;3、灯泡;4、开关。
如图1所示,笔杆1为透明材料制成,灯泡3和电池2位于笔杆1内,灯泡3位于笔杆1前部,电池2位于笔杆1中部,开关4位于笔杆1后部,电池2分别与开关4和灯泡3连接,开关4为旋钮式开关,电池2为2节7号电池。
以上通过实施例对本实用新型的进行了详细说明,但所述内容仅为本实用新型的较佳实施例,不能被认为用于限定本实用新型的实施范围。凡依本实用新型申请范围所作的均等变化与改进等,均应仍归属于本实用新型的专利涵盖范围之内。

Claims (2)

1.发光圆珠笔,包括笔杆(1),其特征在于还包括电池(2)、灯泡(3)和开关(4),所述笔杆(1)为透明材料制成,所述灯泡(3)和电池(2)位于所述笔杆(1)内,所述灯泡(3)位于笔杆(1)前部,所述电池(2)位于笔杆(1)中部,所述开关(4)位于笔杆(1)后部,所述电池(2)分别与开关(4)和灯泡(3)连接,所述开关(4)为旋钮式开关(4)。
2.如权利要求1所述的发光圆珠笔,其特征在于所述电池(2)为2节7号电池。
CN 201220748327 2012-12-31 2012-12-31 发光圆珠笔 Expired - Fee Related CN203078014U (zh)

Priority Applications (1)

Application Number Priority Date Filing Date Title
CN 201220748327 CN203078014U (zh) 2012-12-31 2012-12-31 发光圆珠笔

Applications Claiming Priority (1)

Application Number Priority Date Filing Date Title
CN 201220748327 CN203078014U (zh) 2012-12-31 2012-12-31 发光圆珠笔

Publications (1)

Publication Number Publication Date
CN203078014U true CN203078014U (zh) 2013-07-24

Family

ID=48823882

Family Applications (1)

Application Number Title Priority Date Filing Date
CN 201220748327 Expired - Fee Related CN203078014U (zh) 2012-12-31 2012-12-31 发光圆珠笔

Country Status (1)

Country Link
CN (1) CN203078014U (zh)

Similar Documents

Publication Publication Date Title
CN203078014U (zh) 发光圆珠笔
CN203110645U (zh) 一种照明笔
CN201816328U (zh) 一种照明书写笔
CN201833735U (zh) 一种有照明功能的笔
CN202685660U (zh) 发光照明笔
CN206409938U (zh) 一种多功能灯
CN202413101U (zh) 照明笔
CN201736549U (zh) 随身记事本
CN203004903U (zh) 一种多功能笔筒
CN202242557U (zh) 一种笔
CN202389035U (zh) 具有照明功能的笔
CN203126264U (zh) 一种具有Led灯照明功能的尺子
CN202656709U (zh) 一种带照明灯的写字笔
CN202480651U (zh) 一种多功能笔
CN103009880A (zh) 一种照明笔
CN201900879U (zh) 夜间照明笔
CN201856512U (zh) 一种可照明的笔
CN203844468U (zh) 一种发光笔
CN202764521U (zh) 一种照明笔
CN204451684U (zh) 二极管发光笔
CN202413095U (zh) 多功能中性笔
CN202901863U (zh) 一种光源可调节的便携式手电筒
CN204382922U (zh) 具有照明灯的铅笔
CN202641131U (zh) 带有照明和电子表功能的圆珠笔
CN202319634U (zh) 一种多功能铅笔机

Legal Events

Date Code Title Description
C14 Grant of patent or utility model
GR01 Patent grant
C17 Cessation of patent right
CF01 Termination of patent right due to non-payment of annual fee

Granted publication date: 20130724

Termination date: 20131231