CN203072254U - Power filter for printed circuit board - Google Patents
Power filter for printed circuit board Download PDFInfo
- Publication number
- CN203072254U CN203072254U CN 201220749561 CN201220749561U CN203072254U CN 203072254 U CN203072254 U CN 203072254U CN 201220749561 CN201220749561 CN 201220749561 CN 201220749561 U CN201220749561 U CN 201220749561U CN 203072254 U CN203072254 U CN 203072254U
- Authority
- CN
- China
- Prior art keywords
- circuit board
- printed circuit
- housing
- epoxy resin
- power filter
- Prior art date
- Legal status (The legal status is an assumption and is not a legal conclusion. Google has not performed a legal analysis and makes no representation as to the accuracy of the status listed.)
- Expired - Fee Related
Links
- 239000003822 epoxy resin Substances 0.000 claims abstract description 28
- 229920000647 polyepoxide Polymers 0.000 claims abstract description 28
- 238000009413 insulation Methods 0.000 abstract description 7
- 230000005855 radiation Effects 0.000 abstract description 5
- 238000001914 filtration Methods 0.000 abstract description 4
- 239000011521 glass Substances 0.000 description 2
- 238000009434 installation Methods 0.000 description 2
- 239000012212 insulator Substances 0.000 description 2
- 238000005245 sintering Methods 0.000 description 2
- 230000005764 inhibitory process Effects 0.000 description 1
- 238000004519 manufacturing process Methods 0.000 description 1
- 239000000463 material Substances 0.000 description 1
- 230000001629 suppression Effects 0.000 description 1
- 238000003466 welding Methods 0.000 description 1
Images
Landscapes
- Filters And Equalizers (AREA)
Abstract
The utility model relates to a power filter for a printed circuit board. The power filter comprises a housing, a printed circuit board, pins and filtering elements. The housing has a U-shaped cross section. The printed circuit board is fixed inside the housing and is parallel to the bottom of the housing. An epoxy resin chamber is formed by one side of the printed circuit board and the housing, and an epoxy resin layer is arranged on the other side of the printed circuit board. The filtering elements are fixed on the printed circuit board and positioned inside the epoxy resin chamber. The pins are fixed on the printed circuit board by the epoxy resin layer. With the power filter provided by the utility model, the technical problems of high working temperature, poor insulation performance, and small internal space of the housing of the conventional power filter are solved. The power filter enables the filtering elements to be welded within a small space, having high thermal radiation capacity, good insulating properties and convenience for mounting.
Description
Technical field
The utility model relates to a kind of used for printed circuit board power-supply filter, belongs to the production field that printed circuit board is installed power-supply filter.
Background technology
Along with the extensive use of electronic equipment, operating frequency is more and more higher, and the interference on the power line is also increasing thereupon, and these disturb can directly influence the operate as normal of electronic equipment, even can't work.
Equipment will reach the electromagnetic compatibility requirement, needs to install the printed circuit board power-supply filter, and the printed circuit board power-supply filter is the most effectively means of two-way inhibition conducted interference.The printed circuit board power-supply filter directly is contained on the printed circuit board of device interior; be installed between power supply and the load; it can go the power delivery of direct current, 50Hz, 60Hz substantially undampedly to equipment, and the EMI signal of greatly decaying and importing into through power supply, and protection equipment is avoided its evil.Simultaneously, the EMI signal that it again can suppression equipment itself produces prevents that it from entering other circuit or electrical network, pollutes electromagnetic environment, the harm miscellaneous equipment.
Existing printed circuit board power-supply filter all adopts totally-enclosed filter housing, and its caloric value is bigger, and temperature is higher during work; In addition, connect general glass insulator or the sintering insulated son of adopting between contact pin and the housing, not only insulation property are relatively poor, and the inner length of connection contact pin is longer, and the enclosure interior space is reduced.
Summary of the invention
In order to solve existing printed circuit board power-supply filter working temperature height, insulation property are relatively poor, the enclosure interior space is little technical problem, the utility model provides a kind of printed circuit board that power-supply filter is installed, can be in less space, realize the filtering components and parts welding, have high efficiency and heat radiation, insulating properties, and easy to install.
Technical solution of the present utility model:
The used for printed circuit board power-supply filter, its special character is: comprise housing, printed circuit board, contact pin, filter element, the cross section of described housing is U-shaped, described printed circuit board is fixed in the housing and with housing bottom and be arranged in parallel, the one side of described printed circuit board forms the epoxy resin chamber with housing, the another side of described printed circuit board is provided with epoxy resin layer
Described filter element is fixed on the printed circuit board and is positioned at the epoxy resin chamber, and described contact pin is fixed on the printed circuit board by epoxy resin layer.
Above-mentioned filter element disperses to be welded on the printed circuit board.
The thickness of above-mentioned epoxy resin layer is 3mm~4mm.
Above-mentioned filter element comprises inductance and electric capacity.
Above-mentioned epoxy resin is filled with epoxy resin in the chamber.
Above-mentioned printed circuit board is near the glue-filling slot that has of housing.
The advantage that the utility model has is:
1, the utility model is by adopting non-totally-enclosed filter housing, so printed circuit board can be placed on apart from filter housing upper edge 3mm~4mm, increased the filter volume inside.
2, filter element and contact pin are connected and are welded on the same one side of printed circuit board by printed wiring, and the inner embedding of filter has the epoxy resin of high efficiency and heat radiation, so can reduce the filter internal temperature rapidly, improves the insulation property of filter simultaneously.
Description of drawings
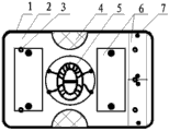
Fig. 1 and Fig. 2 are structural representations of the present utility model;
Fig. 3 is cutaway view of the present utility model.
Embodiment
The utility model is described in further detail below in conjunction with accompanying drawing:
As Fig. 1, Fig. 2 and shown in Figure 3, the utility model comprises non-totally-enclosed filter housing 1, printed circuit board 2, contact pin 3, filter element and epoxy resin 4, described filter element comprise inductance 5, electric capacity 6, are welded on respectively on the welded and installed hole 7 of printed circuit board 2.
As shown in Figure 3, the utility model is by adopting non-totally-enclosed filter housing 1, contact pin 3, inductance 5 and electric capacity 6 are connected and are welded on the same one side of printed circuit board by printed wiring, therefore printed circuit board 2 can be placed on distance described non-totally-enclosed filter housing 1 upper edge 3mm~4mm position, thereby has increased the filter volume inside.Contact pin 3 is welded on the described printed circuit board 2, has reduced the length of contact pin 3 the inners.
The utility model comprises non-totally-enclosed filter housing, printed circuit board, contact pin, filter element and epoxy resin, filter element comprises inductance and electric capacity, filter element and described contact pin are welded on the same one side of described printed circuit board, and printed circuit board is placed in the described non-totally-enclosed filter housing.
A printed circuit board is placed in non-totally-enclosed filter housing the inside, has printed wiring on the printed circuit board, contact pin and described filter element are installed in correspondence position according to printed wiring, filter element disperses to be welded on the described printed circuit board, be conducive to the spread heat of filter element generation has been reduced the temperature of filter enclosure interior.
After adopting non-totally-enclosed filter housing, described printed circuit board can be placed on distance described non-totally-enclosed filter housing upper edge 3mm~4mm position, thereby has increased the filter volume inside, is easy to the filter element heat radiation.
By glue-filling slot epoxy resin or other other immobilization materials are irritated into epoxy resin chamber, overflow by glue-filling slot until epoxy resin, form epoxy resin layer at printed circuit board.The thermal diffusivity of epoxy resin is good.
Compare traditional totally-enclosed tape insulation subfilter housing, non-totally-enclosed filter housing is a five-way shell, and it is good to have a thermal diffusivity, easily advantage such as installation.In addition, the utility model need not installed glass insulator or sintering insulated son between contact pin and the capping of filter housing, promoted the insulation property of filter.
The utility model adopts epoxy resin, not only has thermal diffusivity preferably, has reduced the caloric value of filter element, and has had better insulating properties.
In conjunction with Fig. 1, Fig. 2 and Fig. 3, compare traditional totally-enclosed tape insulation subfilter housing, non-totally-enclosed filter housing 1 is a five-way shell, has advantages such as the good and easy installation of thermal diffusivity.Epoxy resin 4 by embedding high efficiency and heat radiation in non-totally-enclosed filter housing 1 makes filter have good thermal diffusivity and insulating properties.
Claims (6)
1. used for printed circuit board power-supply filter, it is characterized in that: comprise housing, printed circuit board, contact pin, filter element, the cross section of described housing is U-shaped, described printed circuit board is fixed in the housing and with housing bottom and be arranged in parallel, the one side of described printed circuit board forms the epoxy resin chamber with housing, the another side of described printed circuit board is provided with epoxy resin layer
Described filter element is fixed on the printed circuit board and is positioned at the epoxy resin chamber, and described contact pin is fixed on the printed circuit board by epoxy resin layer.
2. used for printed circuit board power-supply filter according to claim 1 is characterized in that: described filter element disperses to be welded on the printed circuit board.
3. used for printed circuit board power-supply filter according to claim 1 and 2, it is characterized in that: the thickness of described epoxy resin layer is 3mm~4mm.
4. used for printed circuit board power-supply filter according to claim 3, it is characterized in that: described filter element comprises inductance and electric capacity.
5. used for printed circuit board power-supply filter according to claim 4, it is characterized in that: described epoxy resin is filled with epoxy resin in the chamber.
6. used for printed circuit board power-supply filter according to claim 5, it is characterized in that: described printed circuit board is near the glue-filling slot that has of housing.
Priority Applications (1)
| Application Number | Priority Date | Filing Date | Title |
|---|---|---|---|
| CN 201220749561 CN203072254U (en) | 2012-12-30 | 2012-12-30 | Power filter for printed circuit board |
Applications Claiming Priority (1)
| Application Number | Priority Date | Filing Date | Title |
|---|---|---|---|
| CN 201220749561 CN203072254U (en) | 2012-12-30 | 2012-12-30 | Power filter for printed circuit board |
Publications (1)
| Publication Number | Publication Date |
|---|---|
| CN203072254U true CN203072254U (en) | 2013-07-17 |
Family
ID=48770993
Family Applications (1)
| Application Number | Title | Priority Date | Filing Date |
|---|---|---|---|
| CN 201220749561 Expired - Fee Related CN203072254U (en) | 2012-12-30 | 2012-12-30 | Power filter for printed circuit board |
Country Status (1)
| Country | Link |
|---|---|
| CN (1) | CN203072254U (en) |
Cited By (1)
| Publication number | Priority date | Publication date | Assignee | Title |
|---|---|---|---|---|
| CN111669914A (en) * | 2020-05-28 | 2020-09-15 | 深圳振华富电子有限公司 | A power filter and electronic equipment |
-
2012
- 2012-12-30 CN CN 201220749561 patent/CN203072254U/en not_active Expired - Fee Related
Cited By (1)
| Publication number | Priority date | Publication date | Assignee | Title |
|---|---|---|---|---|
| CN111669914A (en) * | 2020-05-28 | 2020-09-15 | 深圳振华富电子有限公司 | A power filter and electronic equipment |
Similar Documents
| Publication | Publication Date | Title |
|---|---|---|
| CN204577747U (en) | For the power filter interface of shielding device | |
| CN208314040U (en) | A kind of ammeter with harmonic measurement function | |
| CN203072254U (en) | Power filter for printed circuit board | |
| CN204928573U (en) | Anti -electromagnetic interference filtering subassembly | |
| CN202260446U (en) | PCB mounting DC power-supply filter | |
| CN208955229U (en) | A kind of pcb board ground structure | |
| CN201332023Y (en) | Combined capacitor for filtering and resonant vibration | |
| CN202026062U (en) | Bus duct | |
| CN211238448U (en) | A high stability ceramic dielectric filter | |
| CN203466073U (en) | Capacitor | |
| CN202307879U (en) | SiP module structure | |
| CN201466402U (en) | Power socket suitable for equipment cabinet | |
| CN104900402A (en) | Explosion-proof type series capacitor | |
| CN212257144U (en) | High-voltage transformer lead-out wire structure | |
| CN203026370U (en) | Explosion-proof type series capacitor | |
| CN102711299B (en) | Commercial induction cooker movement structure | |
| CN209748509U (en) | Anti-electromagnetic interference high-power feed-through filter | |
| CN202977133U (en) | Common mode inductance coil | |
| CN202333335U (en) | Video socket | |
| CN201781404U (en) | Power adapter | |
| CN207819087U (en) | Connecting terminal and electronic equipment | |
| CN202005092U (en) | Mounting box for circuit board | |
| CN206331008U (en) | Three-phase self-adaptation smart electric meter with reduce EMC interference | |
| CN204290337U (en) | A kind of intelligent power capacitor | |
| CN202005062U (en) | Novel circuit board structure |
Legal Events
| Date | Code | Title | Description |
|---|---|---|---|
| C14 | Grant of patent or utility model | ||
| GR01 | Patent grant | ||
| CF01 | Termination of patent right due to non-payment of annual fee | ||
| CF01 | Termination of patent right due to non-payment of annual fee |
Granted publication date: 20130717 Termination date: 20191230 |