CN203069201U - Vehicle body testing fixture clamping mechanism - Google Patents

Vehicle body testing fixture clamping mechanism Download PDF

Info

Publication number
CN203069201U
CN203069201U CN 201220721742 CN201220721742U CN203069201U CN 203069201 U CN203069201 U CN 203069201U CN 201220721742 CN201220721742 CN 201220721742 CN 201220721742 U CN201220721742 U CN 201220721742U CN 203069201 U CN203069201 U CN 203069201U
Authority
CN
China
Prior art keywords
sliding arm
clamping mechanism
sleeve
travelling arm
body inspection
Prior art date
Legal status (The legal status is an assumption and is not a legal conclusion. Google has not performed a legal analysis and makes no representation as to the accuracy of the status listed.)
Expired - Fee Related
Application number
CN 201220721742
Other languages
Chinese (zh)
Inventor
王德胜
王纪
吉志宾
赵红贞
秦墩涛
王良
程文安
郑伟
Current Assignee (The listed assignees may be inaccurate. Google has not performed a legal analysis and makes no representation or warranty as to the accuracy of the list.)
Zhejiang Geely Holding Group Co Ltd
Jinan Geely Automobile Co Ltd
Original Assignee
Zhejiang Geely Holding Group Co Ltd
Jinan Geely Automobile Co Ltd
Priority date (The priority date is an assumption and is not a legal conclusion. Google has not performed a legal analysis and makes no representation as to the accuracy of the date listed.)
Filing date
Publication date
Application filed by Zhejiang Geely Holding Group Co Ltd, Jinan Geely Automobile Co Ltd filed Critical Zhejiang Geely Holding Group Co Ltd
Priority to CN 201220721742 priority Critical patent/CN203069201U/en
Application granted granted Critical
Publication of CN203069201U publication Critical patent/CN203069201U/en
Anticipated expiration legal-status Critical
Expired - Fee Related legal-status Critical Current

Links

Images

Landscapes

  • Jigs For Machine Tools (AREA)

Abstract

本实用新型公开了一种车身检具夹紧机构,包括底座、滑动臂套、滑动臂、定位销轴、锁紧旋钮和手动夹紧单元,滑动臂套固设于底座上且设有轴向贯通的腔,滑动臂滑动穿连于滑动臂套中,定位销轴滑动连接于滑动臂套上并贯穿滑动臂套的套壁,锁紧旋钮与滑动臂套螺纹连接,所述夹紧单元设于滑动臂的前端。滑动臂可在滑动臂套中滑动,通过定位销轴和锁紧旋钮进行定位和锁紧,从而调节滑动臂的伸出长度,以适应不同焊装件的不同型腔深度,通过调整手动夹紧单元产生足够夹紧力夹持住焊装件,便可将焊装件有效固定住,以便进行检测。本实用新型结构简单紧凑,使用成本低。

Figure 201220721742

The utility model discloses a clamping mechanism of a car body inspection tool, which comprises a base, a sliding arm sleeve, a sliding arm, a positioning pin, a locking knob and a manual clamping unit. The sliding arm sleeve is fixed on the base and is provided with an axial through the cavity, the sliding arm slides through the sliding arm sleeve, the positioning pin shaft is slidingly connected to the sliding arm sleeve and runs through the sleeve wall of the sliding arm sleeve, the locking knob is screwed to the sliding arm sleeve, and the clamping unit is set at the front end of the sliding arm. The sliding arm can slide in the sliding arm sleeve, and is positioned and locked by the positioning pin shaft and the locking knob, so as to adjust the extension length of the sliding arm to adapt to different cavity depths of different weldments, and manually clamp by adjusting The unit generates sufficient clamping force to clamp the weldment, effectively fixing the weldment for inspection. The utility model has simple and compact structure and low use cost.

Figure 201220721742

Description

A kind of vehicle body cubing clamp system
Technical field
The utility model relates to a kind of automobile production check frock, and in particular, it relates to a kind of vehicle body cubing clamp system.
Background technology
Before the vehicle body soldering assembling, the part that is welded will carry out quality testing, when detecting, for guaranteeing to detect accurately and convenient, some have the part that is welded more greatly of die cavity must fix with anchor clamps, and existing detection is with the clamp system structure of anchor clamps more complicated all, also often need electricity, gas supporting, it is bigger to take up room, and operates comparatively loaded down with trivial detailsly, and it is also higher relatively that equipment drops into.Publication number is that the utility model of CN202255436U discloses clamp system on a kind of automobile cubing on May 30th, 2012, comprise drive link, with drive link constitute screw pair slide block, be used for the spline piece that the restriction slide block rotates and be used for the limited block that the restriction drive link moves, described slide block runs through the spline piece and is slidingly connected with the spline piece, described spline piece is provided with and fixes to clamp arm, and described slide block is provided with and fixes to clamp the mobile clamp arm that arm cooperates.This utility model is applicable to that exterior trim out-of-shape in the automobile need be in inside or the side occasion of fixing, have can inside or the side of exterior trim in the automobile in irregular shape be fixedly clamped, the beneficial effects such as firmness height of compact conformation, simple to operate, fixation workpiece.But the clamping part of this utility model can't carry out far and near position adjustments, operation inconvenience when the darker workpiece of some die cavities is clamped.
The utility model content
Complicated with the clamp system structure of anchor clamps in order to overcome existing detection, it is bigger to take up room, and operates more loaded down with trivial details, equipment drops into higher relatively defective, the utility model provides a kind of vehicle body cubing clamp system that takes up room less, simple in structure, simple to operation.
The technical solution of the utility model is: a kind of vehicle body cubing clamp system, comprise base, travelling arm cover, travelling arm, alignment pin, locking knob and manual clamping unit, the travelling arm cover is fixedly arranged on the base and is provided with the chamber of axial perforation, travelling arm slides to wear and is connected in the travelling arm cover, alignment pin is slidingly connected to the jacket wall that travelling arm put and ran through the travelling arm cover, locking knob is connected with the travelling arm external threading, and described clamping unit is located at the front end of travelling arm.Travelling arm can slide in the travelling arm cover, position and lock by alignment pin and locking knob, thereby regulate the extension elongation of travelling arm, to adapt to the be welded different depth of cavity of part of difference, produce enough clamping forces and clamp the part that is welded by adjusting manual clamping unit, just the part that is welded effectively can be fixed, in order to detect.
As preferably, described clamping unit comprises crooked builder's jack and briquetting, and builder's jack one end is connected on the travelling arm, and described briquetting is located at the other end of builder's jack, and the air line distance at builder's jack two ends is greater than builder's jack and the travelling arm connecting portion distance to travelling arm front end end face.Builder's jack is used for supporting briquetting, leaves enough distances in order to place work piece between briquetting and the travelling arm front end end face, and the distance between briquetting and travelling arm front end end face can be carried out the distance adjusting, thereby produces the clamping force of clamping work pieces.
As preferably, described briquetting comprises pressure head and screw rod, and pressure head and screw rod are connected, and screw rod is connected with the end thread of builder's jack.Briquetting is movable, and during the turn briquetting, the rotation of screw rod is converted to axially-movable, distance thereby change between pressure head and travelling arm front end end face, thus realize the clamping of workpiece and loosen.
As preferably, builder's jack takes the shape of the letter U.Builder's jack one end and the travelling arm of U-shaped are fixed, and the other end then can make a circulation to extend to travelling arm front end the place ahead, and the opening of U-shaped can be clamped workpiece enough depth are provided.
As preferably, builder's jack is threaded with travelling arm and is fastening by nut.Builder's jack is fixed by nut and travelling arm, can carry out the builder's jack position more easily and face upward the adjustment of the attitude of bowing by the degree of tightness nut, so that with the best orientation holding workpiece.
As preferably, the front end of travelling arm is provided with L shaped top anvil, and top anvil and travelling arm removably connect.Top anvil and briquetting are used, and are used for direct clamping work pieces, avoid travelling arm directly to contact with workpiece, and the protection travelling arm makes it to avoid damage, use the back if the top anvil can't bear usefulness more for a long time, also can dismantle renewal easily.
As preferably, the rear end of travelling arm is provided with travelling arm and pushes away handle.Travelling arm pushes away handle and can conveniently control travelling arm and carry out telescopic adjustment.
As preferably, the xsect of travelling arm is square.Circumferential rotation can not take place in square travelling arm, has stability preferably when clamping work pieces.
The beneficial effects of the utility model are:
Simple and compact for structure.The utility model has been abandoned somewhat complex design, does not establish electricity/gas drive moving part, realizes that in simple and practical mode position adjustments and workpiece clamp, and space hold is little, and it is few to make material consumption.
Use cost is low.The utility model is full manual operation, no energy consumption, reliable operation, maintain simple and convenient, very economical and practical as the outer cubing frock of line.
Description of drawings
Fig. 1 is a kind of structural representation of the present utility model;
Fig. 2 is side view of the present utility model;
Fig. 3 is vertical view of the present utility model;
Fig. 4 is a kind of use view of the present utility model.
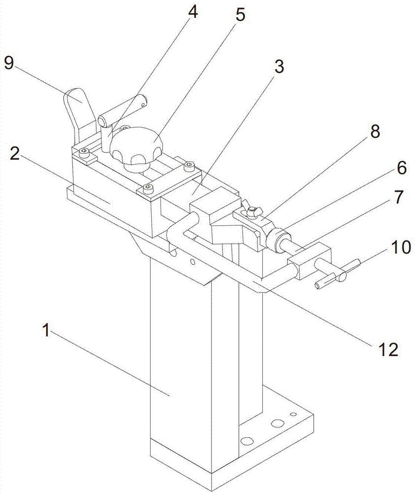
Among the figure, the 1-base, 2-travelling arm cover, the 3-travelling arm, the 4-alignment pin, the 5-locking knob, the 6-pressure head, the 7-screw rod, 8-top anvil, the 9-travelling arm pushes away handle, 10-swing handle, 11-workpiece, 12-builder's jack.
Embodiment
The utility model is described in further detail below in conjunction with the accompanying drawing specific embodiment.
Embodiment:
As shown in Figure 1, Figure 2, Figure 3 and Figure 4, a kind of vehicle body cubing clamp system comprises base 1, travelling arm cover 2, travelling arm 3, alignment pin 4, locking knob 5 and clamping unit.Base 1 by bolt on monitor station, travelling arm cover 2 is fixedly arranged on the base 1 and is provided with the chamber of axial perforation, the xsect of travelling arm 3 is square, travelling arm 3 slides to wear and is connected in the travelling arm cover 2, alignment pin 4 is slidingly connected to the end face of travelling arm cover 2 by spring and runs through the jacket wall of travelling arm cover 2, the end face of travelling arm 3 is provided with two dowel holes adaptive with alignment pin 4, travelling arm 3 slides into dowel hole and aims on two positions of alignment pin 4, alignment pin 4 is inserted dowel hole, and travelling arm 3 just can be positioned in these two positions.Locking knob 5 also is located at the end face of travelling arm cover 2, and locking knob 5 is threaded and can penetrates in the travelling arm cover 2 with travelling arm cover 2 and contacts with travelling arm 3 end faces.Described clamping unit is located at the front end of travelling arm 3, described clamping unit comprises crooked builder's jack 12 and briquetting, builder's jack 12 1 ends are rotatably connected on the travelling arm 3, described briquetting is located at the other end of builder's jack 12, and the air line distance at builder's jack 12 two ends is greater than builder's jack 12 and the distance of travelling arm 3 connecting portions to travelling arm 3 front end end faces.Builder's jack 12 takes the shape of the letter U, described briquetting comprises circular pressure head 6 and screw rod 7, pressure head 6 and screw rod 7 are one-body molded, screw rod 7 is connected with the end thread of builder's jack 12, the free end of screw rod 7 is provided with swing handle 10, the end that builder's jack 12 is connected with travelling arm 3 is provided with screw thread and radially runs through travelling arm 3, this end of builder's jack 12 is fastening by nut and travelling arm 3, the front end of travelling arm 3 is provided with L shaped top anvil 8, top anvil 8 removably is connected by a wing nut with travelling arm 3, and the rear end of travelling arm 3 is provided with to be convenient to manual travelling arm and to push away handle 9.
Other locating device on the utility model and the monitor station is used, can carry out the be welded clamping of part of two kinds of sizes after base 1 is fixed on the position detects, during use, elder generation is according to the size of workpiece to be detected 11, adjust the extension elongation of travelling arm 3, compress with travelling arm 3 location and with locking knob 5 with alignment pin 4, travelling arm 3 can not become flexible, the end that workpiece 11 is needed to clamp is positioned between the pressure head 6 and top anvil 8 of briquetting then, rotation swing handle 10 makes described briquetting and 8 pairs of roof pressures of top anvil tight, workpiece 11 is clamped, just can carry out subsequent detection work afterwards.

Claims (8)

1. 一种车身检具夹紧机构,其特征是包括底座(1)、滑动臂套(2)、滑动臂(3)、定位销轴(4)、锁紧旋钮(5)和手动夹紧单元,滑动臂套(2)固设于底座(1)上且设有轴向贯通的腔,滑动臂(3)滑动穿连于滑动臂套(2)中,定位销轴(4)滑动连接于滑动臂套(2)上并贯穿滑动臂套(2)的套壁,锁紧旋钮(5)与滑动臂套(2)螺纹连接,所述夹紧单元设于滑动臂(3)的前端。 1. A clamping mechanism for a body inspection tool, which is characterized in that it includes a base (1), a sliding arm cover (2), a sliding arm (3), a positioning pin (4), a locking knob (5) and a manual clamping unit, the sliding arm sleeve (2) is fixed on the base (1) and has an axially penetrating cavity, the sliding arm (3) slides through the sliding arm sleeve (2), and the positioning pin shaft (4) is slidingly connected On the sliding arm sleeve (2) and through the sleeve wall of the sliding arm sleeve (2), the locking knob (5) is screwed to the sliding arm sleeve (2), and the clamping unit is arranged at the front end of the sliding arm (3) . 2.根据权利要求1所述的车身检具夹紧机构,其特征是所述手动夹紧单元包括弯曲的挑架(12)和压块,挑架(12)一端连接在滑动臂(3)上,所述压块设于挑架(12)的另一端,挑架(12)两端的直线距离大于挑架(12)与滑动臂(3)连接部至滑动臂(3)前端端面的距离。 2. The body inspection fixture clamping mechanism according to claim 1, characterized in that the manual clamping unit includes a curved pick (12) and a pressing block, and one end of the pick (12) is connected to the sliding arm (3) Above, the pressure block is set at the other end of the rack (12), and the straight-line distance between the two ends of the rack (12) is greater than the distance between the connecting part of the rack (12) and the sliding arm (3) to the front end surface of the sliding arm (3) . 3.根据权利要求2所述的车身检具夹紧机构,其特征是所述压块包括压头(6)和螺杆(7),压头(6)和螺杆(7)固连,螺杆(7)与挑架(12)的端部螺纹连接。 3. The clamping mechanism of the body inspection tool according to claim 2, characterized in that the pressure block includes a pressure head (6) and a screw (7), the pressure head (6) and the screw (7) are fixedly connected, and the screw ( 7) Threaded connection with the end of the pick (12). 4.根据权利要求2所述的车身检具夹紧机构,其特征是挑架(12)呈U形。 4. The body inspection fixture clamping mechanism according to claim 2, characterized in that the pick frame (12) is U-shaped. 5.根据权利要求2所述的车身检具夹紧机构,其特征是挑架(12)与滑动臂(3)螺纹连接且通过螺帽紧固。 5. The clamping mechanism of the vehicle body inspection tool according to claim 2, characterized in that the pick frame (12) is threadedly connected with the sliding arm (3) and fastened by a nut. 6.根据权利要求1或2或3或4或5所述的车身检具夹紧机构,其特征是滑动臂(3)的前端设有L形的顶砧(8),顶砧(8)与滑动臂(3)可拆卸连接。 6. The body inspection tool clamping mechanism according to claim 1 or 2 or 3 or 4 or 5, characterized in that the front end of the sliding arm (3) is provided with an L-shaped anvil (8), and the anvil (8) It is detachably connected with the sliding arm (3). 7.根据权利要求1或2或3或4或5所述的车身检具夹紧机构,其特征是滑动臂(3)的后端设有滑动臂推柄(9)。 7. The body inspection fixture clamping mechanism according to claim 1 or 2 or 3 or 4 or 5, characterized in that the rear end of the sliding arm (3) is provided with a sliding arm push handle (9). 8.根据权利要求1或2或3或4或5所述的车身检具夹紧机构,其特征是滑动臂(3)的横截面为方形。 8. The body inspection fixture clamping mechanism according to claim 1 or 2 or 3 or 4 or 5, characterized in that the cross section of the sliding arm (3) is square.
CN 201220721742 2012-12-24 2012-12-24 Vehicle body testing fixture clamping mechanism Expired - Fee Related CN203069201U (en)

Priority Applications (1)

Application Number Priority Date Filing Date Title
CN 201220721742 CN203069201U (en) 2012-12-24 2012-12-24 Vehicle body testing fixture clamping mechanism

Applications Claiming Priority (1)

Application Number Priority Date Filing Date Title
CN 201220721742 CN203069201U (en) 2012-12-24 2012-12-24 Vehicle body testing fixture clamping mechanism

Publications (1)

Publication Number Publication Date
CN203069201U true CN203069201U (en) 2013-07-17

Family

ID=48767978

Family Applications (1)

Application Number Title Priority Date Filing Date
CN 201220721742 Expired - Fee Related CN203069201U (en) 2012-12-24 2012-12-24 Vehicle body testing fixture clamping mechanism

Country Status (1)

Country Link
CN (1) CN203069201U (en)

Cited By (4)

* Cited by examiner, † Cited by third party
Publication number Priority date Publication date Assignee Title
CN104015143A (en) * 2014-06-18 2014-09-03 安徽江淮汽车股份有限公司 Gauge positioning and clamping device
CN105127922A (en) * 2015-08-28 2015-12-09 安徽江淮汽车股份有限公司 Checking fixture and workpiece clamping device thereof
CN110253767A (en) * 2019-05-07 2019-09-20 沈丹丹 A slotting device for building decoration that can improve slotting precision
CN111354484A (en) * 2018-12-21 2020-06-30 核动力运行研究所 Automatic checking device for bolts of nuclear safety primary parts

Cited By (6)

* Cited by examiner, † Cited by third party
Publication number Priority date Publication date Assignee Title
CN104015143A (en) * 2014-06-18 2014-09-03 安徽江淮汽车股份有限公司 Gauge positioning and clamping device
CN105127922A (en) * 2015-08-28 2015-12-09 安徽江淮汽车股份有限公司 Checking fixture and workpiece clamping device thereof
CN105127922B (en) * 2015-08-28 2017-07-28 安徽江淮汽车集团股份有限公司 A kind of cubing and its work holder
CN111354484A (en) * 2018-12-21 2020-06-30 核动力运行研究所 Automatic checking device for bolts of nuclear safety primary parts
CN110253767A (en) * 2019-05-07 2019-09-20 沈丹丹 A slotting device for building decoration that can improve slotting precision
CN110253767B (en) * 2019-05-07 2021-05-14 上海美凯龙装饰工程集团有限公司 Can improve fluting device for building decoration of fluting precision

Similar Documents

Publication Publication Date Title
CN101712150B (en) Mechanical product assembly stand
CN201633005U (en) Mechanical product assembly stand
CN203069201U (en) Vehicle body testing fixture clamping mechanism
CN205096905U (en) Work piece two -way positioning hold -down mechanism
CN214211948U (en) Long-life stamping die examination mould mechanism
CN111168596A (en) Pneumatic clamp device with sensor control
CN202780614U (en) Double-side-milling two end face fixtures with clamping range adjustable
CN217638426U (en) General type punching press bearing frame load testing arrangement
CN203357315U (en) Pneumatic clamping fixture
CN112122678A (en) Energy-efficient cutting device for machine-building
CN210908783U (en) Welding fixture for steering tube assembly
CN210010727U (en) Pipe clamping device convenient for adjusting diameter of clamping opening
CN203418461U (en) Quick opening fixture used for U-shaped heat exchange tube pressure testing
CN111948027A (en) Aerospace aviation nut hardness detection device that multiple spot detected
CN213858869U (en) Quick inspection frock clamp
CN212762850U (en) Mould guide pin grinding clamp
CN211490743U (en) Measuring device for clamping force of clamping jaw of pneumatic chuck
CN215281636U (en) Adjustment mechanism detects anchor clamps
CN202420351U (en) Detecting tool for B-column inner plate of automobile
CN216001511U (en) High-precision component detection device
CN222791109U (en) A special press for gas-liquid booster flywheel pinning
CN220446279U (en) Examine a hold-down mechanism
CN219766454U (en) Self-adaptive forming equipment for stainless steel pipe production line
CN219819654U (en) Sliding support for automobile clamp
CN219870169U (en) Cylinder battery gas tightness detects frock

Legal Events

Date Code Title Description
C14 Grant of patent or utility model
GR01 Patent grant
CF01 Termination of patent right due to non-payment of annual fee

Granted publication date: 20130717

Termination date: 20141224

EXPY Termination of patent right or utility model