CN203056646U - mobile phone charger - Google Patents

mobile phone charger Download PDF

Info

Publication number
CN203056646U
CN203056646U CN201320047156.6U CN201320047156U CN203056646U CN 203056646 U CN203056646 U CN 203056646U CN 201320047156 U CN201320047156 U CN 201320047156U CN 203056646 U CN203056646 U CN 203056646U
Authority
CN
China
Prior art keywords
mobile phone
plug
power
battery
main body
Prior art date
Legal status (The legal status is an assumption and is not a legal conclusion. Google has not performed a legal analysis and makes no representation as to the accuracy of the status listed.)
Expired - Fee Related
Application number
CN201320047156.6U
Other languages
Chinese (zh)
Inventor
陈锦灼
Current Assignee (The listed assignees may be inaccurate. Google has not performed a legal analysis and makes no representation or warranty as to the accuracy of the list.)
Individual
Original Assignee
Individual
Priority date (The priority date is an assumption and is not a legal conclusion. Google has not performed a legal analysis and makes no representation as to the accuracy of the date listed.)
Filing date
Publication date
Application filed by Individual filed Critical Individual
Priority to CN201320047156.6U priority Critical patent/CN203056646U/en
Application granted granted Critical
Publication of CN203056646U publication Critical patent/CN203056646U/en
Anticipated expiration legal-status Critical
Expired - Fee Related legal-status Critical Current

Links

Images

Classifications

    • YGENERAL TAGGING OF NEW TECHNOLOGICAL DEVELOPMENTS; GENERAL TAGGING OF CROSS-SECTIONAL TECHNOLOGIES SPANNING OVER SEVERAL SECTIONS OF THE IPC; TECHNICAL SUBJECTS COVERED BY FORMER USPC CROSS-REFERENCE ART COLLECTIONS [XRACs] AND DIGESTS
    • Y02TECHNOLOGIES OR APPLICATIONS FOR MITIGATION OR ADAPTATION AGAINST CLIMATE CHANGE
    • Y02EREDUCTION OF GREENHOUSE GAS [GHG] EMISSIONS, RELATED TO ENERGY GENERATION, TRANSMISSION OR DISTRIBUTION
    • Y02E60/00Enabling technologies; Technologies with a potential or indirect contribution to GHG emissions mitigation
    • Y02E60/10Energy storage using batteries

Landscapes

  • Telephone Set Structure (AREA)

Abstract

The utility model relates to a handset charger, which is characterized by comprising a power plug main body. One end of the power plug main body is connected with an electric vehicle battery, and the other end of the power plug main body is connected with a plug through a connection line, wherein the plug is connected with a handset battery. The charger can charge a handset when riding an electric vehicle, so that important calls are prevented from being missed.

Description

手机充电器mobile phone charger

技术领域 technical field

本实用新型涉及一种手机充电器,具体的说是一种以电动车电池为电源的手机充电器。 The utility model relates to a mobile phone charger, in particular to a mobile phone charger using an electric vehicle battery as a power source.

背景技术 Background technique

在当今的信息时代,手机已经成为了各界人士的重要联络工具,它可以将紧急的信息传达给人们,可是现在我们常常出现手机电量不足的状况,手机电池电量充分是这些重要的电话的保障,如今在大街上,电动车也已经成为了人们一种很好的交通工具,假如可以将电动车的电池用来对手机进行充电那将是一个很好的创新。 In today's information age, the mobile phone has become an important communication tool for people from all walks of life. It can convey urgent information to people, but now we often have the situation that the battery of the mobile phone is insufficient. The sufficient battery power of the mobile phone is the guarantee of these important calls. Nowadays, on the street, electric vehicles have become a good means of transportation for people. It would be a good innovation if the batteries of electric vehicles can be used to charge mobile phones.

发明内容 Contents of the invention

本实用新型的目的在于提供一种手机充电器,该充电器可以在骑行电动车的时候对手机进行充电,防止了对重要电话的遗漏。 The purpose of the utility model is to provide a charger for a mobile phone, which can charge the mobile phone while riding an electric vehicle, preventing the omission of important calls.

本实用新型的技术方案在于:一种手机充电器,其特征在于:包括一端与电动车电池相联接的电源插头主体,所述电源插头主体另一端经连接线与用于和手机电池相联接的插头相联接。 The technical solution of the utility model lies in: a mobile phone charger, which is characterized in that: it includes a power plug main body connected to an electric vehicle battery at one end, and the other end of the power plug main body is connected to a mobile phone battery through a connecting line. plug connected.

所述插头为与手机充电口相插接的第一插头。 The plug is a first plug plugged into the charging port of the mobile phone.

所述插头包括用于夹持手机电池的夹具,所述夹具内还设置有用于与手机电池电极相接触的触头。 The plug includes a clamp for clamping the battery of the mobile phone, and contacts for contacting the electrodes of the battery of the mobile phone are also arranged in the clamp.

所述连接线的两端头均设置有第一电源触头,所述电源插头主体后端部和插头前端部均设置有与第一电源触头相联接的第二电源触头。 Both ends of the connecting wire are provided with first power contacts, and the rear end of the main body of the power plug and the front end of the plug are both provided with second power contacts connected with the first power contacts.

本实用新型的优点在于:结构简单,具有多种用于对手机充电的插头,满足对各种手机进行充电,解决在人们急忙出门时,手机电量不足的问题,使人们不用担心会有重要的电话遗漏。 The utility model has the advantages of simple structure, multiple plugs for charging mobile phones, satisfying charging various mobile phones, and solving the problem of insufficient power of mobile phones when people are in a hurry to go out, so that people do not have to worry about important Call missed.

附图说明 Description of drawings

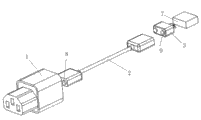
图1为本实用新型实施例一的示意图。 Fig. 1 is a schematic diagram of Embodiment 1 of the utility model.

图2为本实用新型实施例二的示意图。 Fig. 2 is a schematic diagram of the second embodiment of the utility model.

具体实施方式 Detailed ways

为让本实用新型的上述特征和优点能更明显易懂,下文特举实施例,并配合附图,作详细说明如下,但本实用新型并不限于此。 In order to make the above-mentioned features and advantages of the present invention more comprehensible, the following specific examples are given together with the accompanying drawings and described in detail as follows, but the present invention is not limited thereto.

参考图例,一种手机充电器,其特征在于:包括一端与电动车电池相联接的电源插头主体1,所述电源插头主体另一端经连接线2与用于和手机电池6相联接的插头相联接。 Referring to the legend, a mobile phone charger is characterized in that it includes a power plug main body 1 connected to an electric vehicle battery at one end, and the other end of the power plug main body is connected to a plug for connecting with a mobile phone battery 6 via a connecting line 2 connect.

本实用新型实施例一中,所述插头为与手机充电口相插接的第一插头3,这种第一插头可以多种,这样是为了满足不同品牌的手机7,如普通的USB接头,图1中所绘制的即为普通的USB接头,iphone专用的接头。 In Embodiment 1 of the present utility model, the plug is a first plug 3 that is plugged into the charging port of the mobile phone. This first plug can be of various types, so that mobile phones 7 of different brands can be satisfied, such as common USB connectors. What is drawn in Figure 1 is an ordinary USB connector, a connector dedicated to the iPhone.

本实用新型实施例二中,所述插头包括用于夹持手机电池的夹具4,所述夹具内还设置有用于与手机电池电极相接触的触头5,该实施例是将手机电池从手机中拆卸出来,类似我们生活所说的万能充。 In the second embodiment of the present invention, the plug includes a clamp 4 for clamping the battery of the mobile phone, and a contact 5 for contacting the electrodes of the battery of the mobile phone is also arranged in the clamp. It is disassembled from the battery, similar to what we call universal chargers in our lives.

本实用新型较佳实施例中,所述连接线的两端头均设置有第一电源触头8,所述电源插头主体后端部和插头前端部均设置有与第一电源触头相联接的第二电源触头9,这样实现电源插头主体、插头和连接线的分解,只需相互配合联接就可使用,方便了插头的更换,而且这样只要坏一部件无需整体更换,只需更换相应的部件就可以了,而且在连接线与电源插头主体、插头的连接处使用磁铁吸合,有些人停车的时候,会不小心绊到线,而使用磁铁会使各部件容易分开,不会因被绊到而造成对手机的损坏。 In a preferred embodiment of the utility model, both ends of the connecting wire are provided with first power contacts 8, and the rear end of the main body of the power plug and the front end of the plug are both provided with contacts connected to the first power contacts. The second power contact 9 of the power plug realizes the decomposition of the main body of the power plug, the plug and the connecting wire, and can be used only by cooperating with each other, which facilitates the replacement of the plug. The parts are enough, and magnets are used at the connection between the connecting wire and the main body of the power plug and the plug. Some people will accidentally trip over the wire when parking, and the use of magnets will make the parts easy to separate, and will not be damaged due to tripped over and cause damage to the phone.

以上所述仅为本实用新型的较佳实施例,凡依本实用新型申请专利范围所做的均等变化与修饰,皆应属本实用新型的涵盖范围。  The above descriptions are only preferred embodiments of the present utility model, and all equivalent changes and modifications made according to the patent scope of the present utility model shall fall within the scope of the present utility model. the

Claims (4)

1.一种手机充电器,其特征在于:包括一端与电动车电池相联接的电源插头主体,所述电源插头主体另一端经连接线与用于和手机电池相联接的插头相联接。 1. A mobile phone charger, characterized in that: it includes a main body of a power plug connected to an electric vehicle battery at one end, and the other end of the main body of the power plug is connected with a plug for being connected with a battery of a mobile phone through a connecting wire. 2.根据权利要求1所述的手机充电器,其特征在于:所述插头为与手机充电口相插接的第一插头。 2 . The mobile phone charger according to claim 1 , wherein the plug is a first plug plugged into the charging port of the mobile phone. 3 . 3.根据权利要求1所述的手机充电器,其特征在于:所述插头包括用于夹持手机电池的夹具,所述夹具内还设置有用于与手机电池电极相接触的触头。 3. The mobile phone charger according to claim 1, wherein the plug includes a clamp for clamping the battery of the mobile phone, and contacts for contacting the electrodes of the mobile phone battery are also arranged in the clamp. 4.根据权利要求1所述的手机充电器,其特征在于:所述连接线的两端头均设置有第一电源触头,所述电源插头主体后端部和插头前端部均设置有与第一电源触头相联接的第二电源触头。 4. The mobile phone charger according to claim 1, characterized in that: both ends of the connecting line are provided with first power contacts, and the rear end of the main body of the power plug and the front end of the plug are both provided with The first power contact is coupled to the second power contact.
CN201320047156.6U 2013-01-29 2013-01-29 mobile phone charger Expired - Fee Related CN203056646U (en)

Priority Applications (1)

Application Number Priority Date Filing Date Title
CN201320047156.6U CN203056646U (en) 2013-01-29 2013-01-29 mobile phone charger

Applications Claiming Priority (1)

Application Number Priority Date Filing Date Title
CN201320047156.6U CN203056646U (en) 2013-01-29 2013-01-29 mobile phone charger

Publications (1)

Publication Number Publication Date
CN203056646U true CN203056646U (en) 2013-07-10

Family

ID=48739565

Family Applications (1)

Application Number Title Priority Date Filing Date
CN201320047156.6U Expired - Fee Related CN203056646U (en) 2013-01-29 2013-01-29 mobile phone charger

Country Status (1)

Country Link
CN (1) CN203056646U (en)

Cited By (1)

* Cited by examiner, † Cited by third party
Publication number Priority date Publication date Assignee Title
CN108598819A (en) * 2018-04-25 2018-09-28 合肥惠科金扬科技有限公司 Power cord with antenna function and display terminal

Cited By (2)

* Cited by examiner, † Cited by third party
Publication number Priority date Publication date Assignee Title
CN108598819A (en) * 2018-04-25 2018-09-28 合肥惠科金扬科技有限公司 Power cord with antenna function and display terminal
CN108598819B (en) * 2018-04-25 2024-05-28 合肥惠科金扬科技有限公司 Power line with antenna function and display terminal

Similar Documents

Publication Publication Date Title
CN205123331U (en) Take magnetism to inhale portable power source of charging wire
CN204118800U (en) A kind of portable power source charging syndeton
CN203056646U (en) mobile phone charger
CN204156916U (en) Charging cell protective sleeve
CN201349214Y (en) Mobile phone
CN202872087U (en) Data line
CN205070036U (en) Contact is charged with leading to and is joined in marriage unit
CN203773468U (en) Novel laptop power adapter
CN203377466U (en) A multi-purpose combined mobile phone charging cable
CN206283638U (en) A kind of Portable Bluetooth earphone
CN201557152U (en) Mobile phone external power supply
CN202957637U (en) Emergency mobile power supply for handsets
CN205377370U (en) A power module for on -vehicle wireless charging
CN201928044U (en) Novel universal charger
CN203312588U (en) Portable mobile phone charging device
CN203312594U (en) Multifunction wall power socket
CN203151173U (en) Extensible socket-type mobile phone charger
CN202957628U (en) A mobile phone charger
CN202586396U (en) Double-USB travel charger
CN205070509U (en) Contact portable power source that charges
CN107864247A (en) A kind of mobile phone for carrying magnetic-type charging structure and its magnetic-type charging base
CN201690486U (en) Mobile phone with charger
CN205231814U (en) USB socket circuits of detectable cell -phone electric current
CN201927853U (en) Multifunctional socket
CN204633420U (en) A multifunctional vehicle mobile power supply

Legal Events

Date Code Title Description
C14 Grant of patent or utility model
GR01 Patent grant
CF01 Termination of patent right due to non-payment of annual fee

Granted publication date: 20130710

Termination date: 20160129

EXPY Termination of patent right or utility model