CN203049685U - Water collecting groove of water treatment equipment - Google Patents
Water collecting groove of water treatment equipment Download PDFInfo
- Publication number
- CN203049685U CN203049685U CN 201320009135 CN201320009135U CN203049685U CN 203049685 U CN203049685 U CN 203049685U CN 201320009135 CN201320009135 CN 201320009135 CN 201320009135 U CN201320009135 U CN 201320009135U CN 203049685 U CN203049685 U CN 203049685U
- Authority
- CN
- China
- Prior art keywords
- water
- pipe
- cell body
- water treatment
- catch basin
- Prior art date
- Legal status (The legal status is an assumption and is not a legal conclusion. Google has not performed a legal analysis and makes no representation as to the accuracy of the status listed.)
- Expired - Fee Related
Links
- XLYOFNOQVPJJNP-UHFFFAOYSA-N water Substances O XLYOFNOQVPJJNP-UHFFFAOYSA-N 0.000 title claims abstract description 56
- 210000005056 cell body Anatomy 0.000 claims description 23
- 238000007710 freezing Methods 0.000 claims description 4
- 239000013049 sediment Substances 0.000 abstract description 3
- 238000003756 stirring Methods 0.000 description 3
- 238000005516 engineering process Methods 0.000 description 2
- 206010044565 Tremor Diseases 0.000 description 1
- 230000009286 beneficial effect Effects 0.000 description 1
- 230000009172 bursting Effects 0.000 description 1
- 230000005574 cross-species transmission Effects 0.000 description 1
- 230000002950 deficient Effects 0.000 description 1
- 238000010586 diagram Methods 0.000 description 1
- 230000008014 freezing Effects 0.000 description 1
- 238000000034 method Methods 0.000 description 1
- 230000004048 modification Effects 0.000 description 1
- 238000012986 modification Methods 0.000 description 1
- 239000008399 tap water Substances 0.000 description 1
- 235000020679 tap water Nutrition 0.000 description 1
- 239000003643 water by type Substances 0.000 description 1
Images
Landscapes
- Sewage (AREA)
Abstract
The utility model relates to a water collecting groove of water treatment equipment. The water collecting groove comprises a groove body, a water inlet pipe, a water stopping weir, a water outlet pipe and an overflow pipe. The water stopping weir is arranged inside the groove body. The water inlet pipe is connected with one end of the groove body, the water outlet pipe is connected with the other end of the groove body, and the water inlet pipe and the water outlet pipe are respectively arranged on different sides of the water stopping weir. The overflow pipe is connected with the portion above the groove body. The water stopping weir is used for reducing impact force of inflowing water, and therefore the inflowing water is stable, sediment can not be stirred easily, and outflowing water is clean.
Description
Technical field
The utility model relates to a kind of building block of water treatment facilities, is specifically related to a kind of catch basin of water treatment facilities, belongs to the water treatment facilities technical field.
Background technology
Along with the raising of people's living standard, and the needs of some boiler feed waters, need handle tap water usually.Catch basin is the important component part of water treatment facilities, and it is used for the water after the collection and treatment, in order to using.
Yet the catch basin of prior art adopts a water inlet pipe to carry out usually, in the process of intaking, stirs the water in the catch basin easily, and causing easily on the one hand supplies water presses shakiness, stirs the sediment of catch basin bottom on the other hand easily, causes the water quality variation.
Therefore, for solving the problems of the technologies described above, necessaryly provide a kind of catch basin with structure improved water treatment facilities, to overcome described defective of the prior art.
The utility model content
For addressing the above problem, the purpose of this utility model is to provide a kind of simple in structure, catch basin of water treatment facilities stably of intaking.
For achieving the above object, the technical scheme that the utility model is taked is: a kind of catch basin of water treatment facilities, and it comprises cell body, water inlet pipe, overfall, outlet pipe and bleed off pipe; Wherein, described overfall is arranged in the cell body; Described water inlet pipe is connected to an end of cell body, and described outlet pipe is connected to the other end of cell body; And water inlet pipe and outlet pipe are positioned at the not homonymy of overfall; Described bleed off pipe is connected to the top of cell body.
The catch basin of water treatment facilities of the present utility model further is set to: the rectangular triangle of the cross section of described overfall.
The catch basin of water treatment facilities of the present utility model further is set to: the bottom of described cell body is provided with blow-down pipe.
The catch basin of water treatment facilities of the present utility model also is set to: the top in described cell body is provided with an anti-freezing heater.
Compared with prior art, the utlity model has following beneficial effect: the catch basin of water treatment facilities of the present utility model slows down the into impact force of water by overfall is set, and into water is steady thereby make, and is difficult for stirring sediment, uses the water hygiene.
Description of drawings
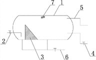
Fig. 1 is the schematic diagram of the catch basin of water treatment facilities of the present utility model.
The specific embodiment
See also shown in the Figure of description 1, the utility model is a kind of catch basin of water treatment facilities, and it is made up of several parts such as cell body 1, water inlet pipe 2, overfall 3, outlet pipe 4 and bleed off pipes 5.
Wherein, described water inlet pipe 2 is connected to an end of cell body 1, and described outlet pipe 4 is connected to the other end of cell body 1.
Described overfall 3 is arranged in the cell body 1, the rectangular triangle of its cross section.Water inlet pipe 2 and outlet pipe 4 are positioned at the not homonymy of overfall 3, form a buffer area between this overfall 3 and the water inlet pipe 2, and the inclined-plane of overfall 3 is towards a side of outlet pipe 4, and into water is steady thereby make.
Described bleed off pipe 5 is connected to the top of cell body 1, and it is used for the water of spill-over is discharged.
Further, the bottom of described cell body 1 is provided with blow-down pipe 6, can be with the ponding emptying in the cell body 1 by described blow-down pipe 6.Top in described cell body 1 is provided with an anti-freezing heater 7, thereby can avoid this cell body 1 bursting by freezing.
The above specific embodiment only is the preferred embodiment of this creation, not in order to limiting this creation, all in this creation spirit and principle within make any modification, be equal to replacement, improvement etc., all should be included within the protection domain of this creation.
Claims (4)
1. the catch basin of water treatment facilities is characterized in that: comprise cell body, water inlet pipe, overfall, outlet pipe and bleed off pipe; Wherein, described overfall is arranged in the cell body; Described water inlet pipe is connected to an end of cell body, and described outlet pipe is connected to the other end of cell body; And water inlet pipe and outlet pipe are positioned at the not homonymy of overfall; Described bleed off pipe is connected to the top of cell body.
2. the catch basin of water treatment facilities as claimed in claim 1 is characterized in that: the rectangular triangle of the cross section of described overfall.
3. the catch basin of water treatment facilities as claimed in claim 1, it is characterized in that: the bottom of described cell body is provided with blow-down pipe.
4. the catch basin of water treatment facilities as claimed in claim 1 is characterized in that: the top in described cell body is provided with an anti-freezing heater.
Priority Applications (1)
| Application Number | Priority Date | Filing Date | Title |
|---|---|---|---|
| CN 201320009135 CN203049685U (en) | 2013-01-09 | 2013-01-09 | Water collecting groove of water treatment equipment |
Applications Claiming Priority (1)
| Application Number | Priority Date | Filing Date | Title |
|---|---|---|---|
| CN 201320009135 CN203049685U (en) | 2013-01-09 | 2013-01-09 | Water collecting groove of water treatment equipment |
Publications (1)
| Publication Number | Publication Date |
|---|---|
| CN203049685U true CN203049685U (en) | 2013-07-10 |
Family
ID=48732653
Family Applications (1)
| Application Number | Title | Priority Date | Filing Date |
|---|---|---|---|
| CN 201320009135 Expired - Fee Related CN203049685U (en) | 2013-01-09 | 2013-01-09 | Water collecting groove of water treatment equipment |
Country Status (1)
| Country | Link |
|---|---|
| CN (1) | CN203049685U (en) |
Cited By (2)
| Publication number | Priority date | Publication date | Assignee | Title |
|---|---|---|---|---|
| CN106193226A (en) * | 2016-06-30 | 2016-12-07 | 中铁伟业(宁波)轨道交通装备有限公司 | System between a kind of overall dry sanitation |
| CN109403429A (en) * | 2018-11-30 | 2019-03-01 | 苏州新区建筑设计研究院有限公司 | Noise-proofing water tank and roof structure |
-
2013
- 2013-01-09 CN CN 201320009135 patent/CN203049685U/en not_active Expired - Fee Related
Cited By (2)
| Publication number | Priority date | Publication date | Assignee | Title |
|---|---|---|---|---|
| CN106193226A (en) * | 2016-06-30 | 2016-12-07 | 中铁伟业(宁波)轨道交通装备有限公司 | System between a kind of overall dry sanitation |
| CN109403429A (en) * | 2018-11-30 | 2019-03-01 | 苏州新区建筑设计研究院有限公司 | Noise-proofing water tank and roof structure |
Similar Documents
| Publication | Publication Date | Title |
|---|---|---|
| CN203049685U (en) | Water collecting groove of water treatment equipment | |
| CN204898800U (en) | Mouth of a river filter equipment under basin | |
| CN203329493U (en) | Swill fat recycling device | |
| CN202450582U (en) | Water storage device for flushing sanitary appliance by reutilizing waste water | |
| CN202101458U (en) | Utilization device for water in solar energy water pipes | |
| CN204377722U (en) | A kind of aquaculture purifier | |
| CN202689116U (en) | Wash basin outlet pipe | |
| CN103829847A (en) | Multifunctional basin | |
| CN204001154U (en) | Shower water interchange of heat floor drain | |
| CN204059537U (en) | Waste water of paper mill recycle device | |
| CN204930015U (en) | A fish pond structure for under normal running water state | |
| CN201973929U (en) | Emptying device of solar water heater | |
| CN203296121U (en) | Building water collection system | |
| CN203162547U (en) | Water reducer conveying device | |
| CN202449445U (en) | Pipe orifice mechanism for horizontal storage tank | |
| CN202754355U (en) | Box type garbage disposal pool | |
| CN204959886U (en) | Water economizer | |
| CN203066199U (en) | Water-saving closestool | |
| CN201386327Y (en) | A New Residential Building Sewage Pool Device | |
| CN202108082U (en) | Water-saving pipeline | |
| CN202932824U (en) | Multifunctional basin | |
| CN202007443U (en) | Novel anti-blockage water drainage device of lavatory basin | |
| CN204244929U (en) | A kind of self-cleaning fish jar | |
| CN202482942U (en) | Bathroom water saving system | |
| CN203669049U (en) | Kitchen residue removal device |
Legal Events
| Date | Code | Title | Description |
|---|---|---|---|
| C14 | Grant of patent or utility model | ||
| GR01 | Patent grant | ||
| CF01 | Termination of patent right due to non-payment of annual fee | ||
| CF01 | Termination of patent right due to non-payment of annual fee |
Granted publication date: 20130710 Termination date: 20170109 |