CN203048726U - Small-sized horizontal sewage treatment device - Google Patents
Small-sized horizontal sewage treatment device Download PDFInfo
- Publication number
- CN203048726U CN203048726U CN201220447561.2U CN201220447561U CN203048726U CN 203048726 U CN203048726 U CN 203048726U CN 201220447561 U CN201220447561 U CN 201220447561U CN 203048726 U CN203048726 U CN 203048726U
- Authority
- CN
- China
- Prior art keywords
- tank body
- water
- area
- water inlet
- aeration
- Prior art date
- Legal status (The legal status is an assumption and is not a legal conclusion. Google has not performed a legal analysis and makes no representation as to the accuracy of the status listed.)
- Expired - Fee Related
Links
- 239000010865 sewage Substances 0.000 title claims abstract description 27
- XLYOFNOQVPJJNP-UHFFFAOYSA-N water Substances O XLYOFNOQVPJJNP-UHFFFAOYSA-N 0.000 claims abstract description 44
- 238000005273 aeration Methods 0.000 claims abstract description 31
- 238000004659 sterilization and disinfection Methods 0.000 claims abstract description 24
- 238000001914 filtration Methods 0.000 claims abstract description 20
- 239000000945 filler Substances 0.000 claims abstract description 14
- 239000002893 slag Substances 0.000 claims description 4
- 230000001954 sterilising effect Effects 0.000 claims 4
- 239000002699 waste material Substances 0.000 claims 4
- 239000000463 material Substances 0.000 claims 3
- 238000012856 packing Methods 0.000 claims 3
- 238000013022 venting Methods 0.000 claims 1
- 238000004062 sedimentation Methods 0.000 abstract description 34
- 239000010802 sludge Substances 0.000 abstract description 10
- 238000005192 partition Methods 0.000 abstract description 8
- 230000000694 effects Effects 0.000 abstract description 6
- 238000000746 purification Methods 0.000 abstract description 4
- 238000001556 precipitation Methods 0.000 abstract 1
- 238000000034 method Methods 0.000 description 3
- CURLTUGMZLYLDI-UHFFFAOYSA-N Carbon dioxide Chemical compound O=C=O CURLTUGMZLYLDI-UHFFFAOYSA-N 0.000 description 2
- QVGXLLKOCUKJST-UHFFFAOYSA-N atomic oxygen Chemical compound [O] QVGXLLKOCUKJST-UHFFFAOYSA-N 0.000 description 2
- 238000004891 communication Methods 0.000 description 2
- 238000012423 maintenance Methods 0.000 description 2
- 239000001301 oxygen Substances 0.000 description 2
- 229910052760 oxygen Inorganic materials 0.000 description 2
- 241000894006 Bacteria Species 0.000 description 1
- 229910002651 NO3 Inorganic materials 0.000 description 1
- NHNBFGGVMKEFGY-UHFFFAOYSA-N Nitrate Chemical compound [O-][N+]([O-])=O NHNBFGGVMKEFGY-UHFFFAOYSA-N 0.000 description 1
- 241001148470 aerobic bacillus Species 0.000 description 1
- XKMRRTOUMJRJIA-UHFFFAOYSA-N ammonia nh3 Chemical compound N.N XKMRRTOUMJRJIA-UHFFFAOYSA-N 0.000 description 1
- 238000010170 biological method Methods 0.000 description 1
- 229910002092 carbon dioxide Inorganic materials 0.000 description 1
- 239000001569 carbon dioxide Substances 0.000 description 1
- 238000010586 diagram Methods 0.000 description 1
- 239000007789 gas Substances 0.000 description 1
- 239000007788 liquid Substances 0.000 description 1
- 238000006386 neutralization reaction Methods 0.000 description 1
- 230000001546 nitrifying effect Effects 0.000 description 1
- 239000005416 organic matter Substances 0.000 description 1
- 239000002245 particle Substances 0.000 description 1
- 239000013618 particulate matter Substances 0.000 description 1
- 239000004576 sand Substances 0.000 description 1
- 239000007787 solid Substances 0.000 description 1
- 239000000126 substance Substances 0.000 description 1
- 239000002351 wastewater Substances 0.000 description 1
- 238000004065 wastewater treatment Methods 0.000 description 1
Images
Classifications
-
- Y—GENERAL TAGGING OF NEW TECHNOLOGICAL DEVELOPMENTS; GENERAL TAGGING OF CROSS-SECTIONAL TECHNOLOGIES SPANNING OVER SEVERAL SECTIONS OF THE IPC; TECHNICAL SUBJECTS COVERED BY FORMER USPC CROSS-REFERENCE ART COLLECTIONS [XRACs] AND DIGESTS
- Y02—TECHNOLOGIES OR APPLICATIONS FOR MITIGATION OR ADAPTATION AGAINST CLIMATE CHANGE
- Y02W—CLIMATE CHANGE MITIGATION TECHNOLOGIES RELATED TO WASTEWATER TREATMENT OR WASTE MANAGEMENT
- Y02W10/00—Technologies for wastewater treatment
- Y02W10/10—Biological treatment of water, waste water, or sewage
Landscapes
- Biological Treatment Of Waste Water (AREA)
Abstract
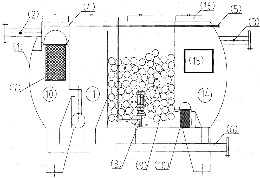
本实用新型公开了一种小型卧式污水处理装置,包括罐体(1)和进水口(2)及出水口(3)。罐体内设置有分隔板(4),将罐体(1)分成进水过滤与初沉区(11)、缺氧区(12)、曝气区(13)和消毒沉淀出水区(14),其上部都设置有排气管(5)、底部有排泥渣管(6),进水过滤与初沉区(11)内设置有过滤装置(7),曝气区(13)内设置有曝气装置(8)和生物填料(9),消毒沉淀出水区(13)设置有消毒装置(10),进水口(2)与进水过滤与初沉区(11)相通,本实用新型具有过滤、生化、消毒、沉淀为一体的净化效果好、结构简单、使用方便、占地面积小的卧式污水处理装置。
The utility model discloses a small horizontal sewage treatment device, which comprises a tank body (1), a water inlet (2) and a water outlet (3). The tank body is provided with a partition plate (4), which divides the tank body (1) into an inflow filtration and primary sedimentation zone (11), an anoxic zone (12), an aeration zone (13) and a disinfection and sedimentation effluent zone (14) , the upper part is provided with an exhaust pipe (5), the bottom is provided with a sludge discharge pipe (6), the water inlet filtration and primary sedimentation area (11) is provided with a filter device (7), and the aeration area (13) is provided with a There are aeration devices (8) and biological fillers (9), the disinfection and sedimentation outlet area (13) is provided with a disinfection device (10), and the water inlet (2) communicates with the inlet water filtration and primary sedimentation area (11). The utility model It is a horizontal sewage treatment device with good purification effect, simple structure, convenient use and small footprint, which integrates filtration, biochemistry, disinfection and precipitation.
Description
技术领域 technical field
本实用新型涉及一种污水处理器,特别是涉及小型卧式污水处理装置,尤其指一种单台日处理量在500M3/天以内污水、废水的装置。 The utility model relates to a sewage processor, in particular to a small horizontal sewage treatment device, in particular to a single unit with a daily treatment capacity of sewage and waste water within 500M3/day. the
背景技术 Background technique
一般在农村、生活小区、宾馆、饭店等场所的污、废水的处理设备,很多采用一体化污水处理设备进行分散化处理,但现有的小型一体化污水处理设备由器体和装于器体内的环形管组成的卧式一体化污水处理器,器体以隔板分成四部分,中和室,曝气室和过滤室,室内装置开有均布小孔的环形管,以及由开有均布微孔的滤板叠加而成的过滤层,器体侧面中部设有进气口,装置集中和、曝气和过滤为一体,同时应用物理、化学、生物法,一次性完成污水的净化处理;但是体积大,占地面积大,并且曝气的气泡大,氧传递效率不高,过滤板叠加成的过滤层,易堵,清洗困难,且水头损失大,装置的结构复杂,成本高,很难达到处理效果。 Generally, the sewage and wastewater treatment equipment in rural areas, living quarters, hotels, restaurants and other places adopts integrated sewage treatment equipment for decentralized treatment, but the existing small integrated sewage treatment equipment consists of the body and the equipment installed in the body. A horizontal integrated sewage processor composed of annular pipes. The body is divided into four parts by partitions, neutralization chamber, aeration chamber and filter chamber. The filter layer is made of superimposed filter plates with holes, and the middle part of the side of the device body is provided with an air inlet. The device is integrated with, aeration and filtration. At the same time, physical, chemical and biological methods are applied to complete the purification treatment of sewage at one time; but Large volume, large floor area, and large aeration bubbles, low oxygen transfer efficiency, the filter layer formed by the filter plate is easy to block, difficult to clean, and the head loss is large, the structure of the device is complicated, the cost is high, and it is difficult to achieve the treatment effect. the
实用新型内容 Utility model content
实用新型提供一种小型卧式污水处理装置,本实用新型解决现有污水处理设施尤其是小型污水处理设施体积大,占地面积大,曝气的气泡大,氧传递效率不高,易堵,清洗困难,且水头损失大,装置的结构复杂,成本高,很难达到处理的问题 The utility model provides a small horizontal sewage treatment device. The utility model solves the problem that existing sewage treatment facilities, especially small sewage treatment facilities, have large volume, large floor area, large aeration bubbles, low oxygen transfer efficiency, and easy blockage. It is difficult to clean, and the water head loss is large, the structure of the device is complicated, the cost is high, and it is difficult to solve the problem
为解决上述问题,本实用新型采用如下技术方案:本实用新型要解决的技术问题是提供一种具有新的结构的一种小型污水处理装置,解决上述技术问题采用的方案是:具有过滤、生化、消毒、沉淀为一体的净化效果好、结构简 单、使用方便、占地面积小的卧式污水处理装置。一种小型卧式污水处理装置,包括罐体(1),罐体(1)的进水口(2)及出水口(3),罐体内设置有分隔板(4),分隔板(4)将罐体(1)分成进水过滤与初沉区(11)、缺氧区(12)、曝气区(13)和消毒沉淀出水区(14)四部分,其上部都设置有排气管(5)、底部有排泥渣管(6),进水过滤与初沉区(11)内设置有过滤装置(7),曝气区(13)内设置有曝气装置(8)和生物填料(9),消毒沉淀出水区(13)设置有消毒装置(10),进水口(2)与进水过滤与初沉区(11)相通,分隔板(4)设置有连通孔,与其它部分相连通,还设置有电控系统(15)和人孔(16),此污水处理装置为小型污水处理设备,单台日处理量在500M3/天以内。 In order to solve the above-mentioned problems, the utility model adopts the following technical scheme: the technical problem to be solved by the utility model is to provide a kind of small-scale sewage treatment device with a new structure, and the solution adopted to solve the above-mentioned technical problems is: with filtration, biochemical It is a horizontal sewage treatment device with good purification effect, simple structure, convenient use, and small footprint. A small horizontal sewage treatment device, comprising a tank body (1), a water inlet (2) and a water outlet (3) of the tank body (1), the tank body is provided with a partition plate (4), the partition plate (4 ) divide the tank body (1) into four parts, the water inlet filtration and primary sedimentation area (11), the anoxic area (12), the aeration area (13) and the disinfection sedimentation water output area (14). Pipe (5), sludge discharge pipe (6) at the bottom, filter device (7) is provided in the water inlet filtration and primary sedimentation area (11), and aeration device (8) and The biological filler (9), the disinfection and sedimentation water outlet area (13) is provided with a disinfection device (10), the water inlet (2) communicates with the water inlet filter and the primary sedimentation area (11), and the partition plate (4) is provided with communication holes, Connected with other parts, it is also equipped with an electric control system (15) and a manhole (16). The sewage treatment device is a small sewage treatment equipment, and the daily treatment capacity of a single unit is within 500M 3 /day.
曝气装置(8)设置于罐体(1)底部,曝气装置(8)的进气管设置在罐体(1)顶部,生物填料(9)填装在罐体(1)的曝气区(13)内,生物填料(9)采用悬浮生物填料。 The aeration device (8) is arranged at the bottom of the tank (1), the air inlet pipe of the aeration device (8) is arranged at the top of the tank (1), and the biological filler (9) is filled in the aeration area of the tank (1) In (13), the biological filler (9) adopts suspended biological filler. the
进水过滤与初沉区(11)、缺氧区(12)、曝气区(13)和消毒沉淀出水区(14)四部分的上部都设置有排气孔,与排气管(5)相连通。 The upper parts of the water inlet filtration and primary sedimentation area (11), the anoxic area (12), the aeration area (13) and the disinfection and sedimentation water output area (14) are all provided with exhaust holes, which are connected with the exhaust pipe (5) connected. the
本实用新型优点:过滤、生化、消毒、沉淀为一体的净化效果好、结构简单、使用方便、占地面积小。 The utility model has the advantages of good purification effect of filtration, biochemistry, disinfection and sedimentation, simple structure, convenient use and small occupied area. the
附图说明 Description of drawings
图1、本实用新型一种小型卧式污水处理装置结构示意图。 Fig. 1 is a schematic structural diagram of a small horizontal sewage treatment device of the present invention. the
图中符号说明:罐体(1)、进水口(2)、出水口(3)、分隔板(4)排气管(5)、排泥渣管(6)、分过滤装置(7)、曝气装置(8)、生物填料(9)、消毒装置(10)、进水过滤与初沉区(11)、缺氧区(12)、曝气区(13)、消毒沉淀出水区(14)、电控系统(15)、人孔(16)。 Explanation of symbols in the figure: tank body (1), water inlet (2), water outlet (3), partition plate (4), exhaust pipe (5), sludge discharge pipe (6), sub-filter device (7) , aeration device (8), biological filler (9), disinfection device (10), influent filtration and primary sedimentation area (11), anoxic area (12), aeration area (13), disinfection and sedimentation water area ( 14), electric control system (15), manhole (16). the
具体实施方式 Detailed ways
下面用最佳的实施例对本实用新型做详细的说明。 The utility model is described in detail below with the best embodiment. the
如图1所示的一种小型卧式污水处理装置,包括罐体(1),罐体(1)的进水口(2)及出水口(3),罐体内设置有分隔板(4),分隔板(4)将罐体(1)分成进水过滤与初沉区(11)、缺氧区(12)、曝气区(13)和消毒沉淀出水区(14)四部分,其上部都设置有排气管(5)、底部有排泥渣管(6),进水过滤与初沉区(11)内设置有过滤装置(7),曝气区(13)内设置有曝气装置(8)和生物填料(9),消毒沉淀出水区(13)设置有消毒装置(10),进水口(2)与进水过滤与初沉区(11)相通,分隔板(4)设置有连通孔,与其它部分相连通,还设置有电控系统(15)和人孔(16),此污水处理装置为小型污水处理设备,单台日处理量一般在500M3/天以内。 A small horizontal sewage treatment device as shown in Figure 1, comprising a tank body (1), a water inlet (2) and a water outlet (3) of the tank body (1), and a partition plate (4) is arranged in the tank body , the partition plate (4) divides the tank body (1) into four parts: water inlet filtration and primary sedimentation area (11), anoxic area (12), aeration area (13) and disinfection and sedimentation water output area (14). The upper part is provided with an exhaust pipe (5), the bottom is provided with a sludge discharge pipe (6), the water inlet filtration and primary sedimentation area (11) is provided with a filter device (7), and the aeration area (13) is provided with an aeration gas device (8) and biological filler (9), disinfection and sedimentation water outlet area (13) is provided with disinfection device (10), water inlet (2) communicates with inlet water filtration and primary sedimentation area (11), dividing plate (4 ) is provided with a communication hole to communicate with other parts, and is also provided with an electric control system (15) and a manhole (16). This sewage treatment device is a small sewage treatment equipment, and the daily treatment capacity of a single unit is generally within 500M 3 /day .
在进水过滤与初沉区(11)、进水口(2)下方位置设有过滤装置(7),将原水中的粒径≥3mm的颗粒物质隔出,人工定期清理过滤装置(7)内的渣,进水过滤与初沉区(11)也有初步沉淀和沉砂作用,泥渣沉淀于底部,定时开启底部有排泥渣管(6)排出泥砂; A filter device (7) is installed at the position below the water inlet filtration and primary sedimentation area (11) and the water inlet (2) to separate the particulate matter with a particle size ≥ 3 mm in the raw water, and manually clean the inside of the filter device (7) regularly The slag in the water inlet filtration and primary sedimentation area (11) also has preliminary sedimentation and sand settling, and the slag settles at the bottom, and the slag discharge pipe (6) at the bottom is opened regularly to discharge the silt;
进水过滤与初沉区(11)通过布水管与缺氧区(12)相连通,作用在于均匀布水,处理效果更好,一方面,好氧菌分解有机物,转换成能量、二氧化碳和;另一方面硝化菌把污水中的氨氮氧化成硝酸盐,一部分泥渣沉淀于底部,定时开启底部有排泥渣管(6)排出污泥; The influent filtration and the primary sedimentation area (11) are connected to the anoxic area (12) through the water distribution pipe, and the function is to distribute the water evenly, and the treatment effect is better. On the one hand, the aerobic bacteria decompose the organic matter and convert it into energy, carbon dioxide and; On the other hand, nitrifying bacteria oxidize the ammonia nitrogen in the sewage into nitrate, and a part of the sludge settles at the bottom, and the sludge discharge pipe (6) at the bottom is opened regularly to discharge the sludge;
曝气区(13)内设置有曝气装置有曝气装置(8)和生物填料(9),曝气装置(8)设置于底部,曝气装置(8)的进气管设置在罐体(1)顶部,生 物填料(9)填装在罐体(1)的曝气区(13)内,生物填料(9)采用悬浮生物填料,运行过程中,生物填料(9)充分悬挂生物膜,生物填料(9)将在曝气区(13)各个部分旋转翻转; In the aeration zone (13), an aeration device is provided with an aeration device (8) and a biological filler (9), the aeration device (8) is arranged at the bottom, and the air inlet pipe of the aeration device (8) is arranged on the tank body ( 1) At the top, the biological filler (9) is filled in the aeration zone (13) of the tank body (1). The biological filler (9) is suspended biological filler. During operation, the biological filler (9) fully suspends the biofilm , the biological filler (9) will rotate and flip in each part of the aeration zone (13);
消毒沉淀出水区(13)设置有消毒装置(10),消毒液体或者固体在消毒装置(10)内释放或者溶解,本装置沉淀方式为竖流式沉淀方式,此沉淀方式尤其适合污水处理的沉淀,沉淀效果好,污泥沉淀于消毒沉淀出水区(13)的底部,定时开启底部有排泥渣管(6)排出污泥,处理后的污水从出水口(3)流出; Disinfection and sedimentation outlet area (13) is equipped with disinfection device (10), and the disinfection liquid or solid is released or dissolved in the disinfection device (10). The sedimentation method of this device is a vertical flow sedimentation method, which is especially suitable for the sedimentation of sewage treatment. , the sedimentation effect is good, the sludge is deposited at the bottom of the disinfection and sedimentation water outlet area (13), and the sludge discharge pipe (6) at the bottom is opened regularly to discharge the sludge, and the treated sewage flows out from the water outlet (3);
进水过滤与初沉区(11)、缺氧区(12)、曝气区(13)和消毒沉淀出水区(14)四部分的上部都设置有排气孔,与排气管(5)相连通; The upper part of the water inlet filtration and primary sedimentation zone (11), the anoxic zone (12), the aeration zone (13) and the disinfection and sedimentation water outlet zone (14) are all provided with exhaust holes, which are connected with the exhaust pipe (5) Connected;
罐体(1)外侧设置有电控系统(15),控制设备的运行于启动停止; An electric control system (15) is arranged on the outside of the tank body (1), which controls the operation of the equipment to start and stop;
罐体(1)的进水过滤与初沉区(11)、缺氧区(12)、曝气区(13)和消毒沉淀出水区(14)四部分的顶部或者侧面设置有人孔(16),方便检修,缺氧区(12)也可以不设置人孔,本区域无检修设备。 Manholes (16) are arranged on the top or side of the four parts of the tank body (1), the water inlet filtration and primary sedimentation area (11), the anoxic area (12), the aeration area (13) and the disinfection and sedimentation water output area (14). , to facilitate maintenance, the anoxic zone (12) also can not be provided with a manhole, and there is no maintenance equipment in this area. the
最后应说明的是:显然,上述实施例仅仅是为清楚地说明本实用新型所作的举例,而并非对实施方式的限定。对于所属领域的普通技术人员来说,在上述说明的基础上还可以做出其它不同形式的变化或变动。这里无需也无法对所有的实施方式予以穷举。而由此所引申出的显而易见的变化或变动仍处于本实用新型的保护范围之中。 Finally, it should be noted that obviously, the above-mentioned embodiments are only examples for clearly illustrating the utility model, rather than limiting the implementation manner. For those of ordinary skill in the art, other changes or changes in different forms can be made on the basis of the above description. It is not necessary and impossible to exhaustively list all the implementation manners here. And the obvious changes or changes derived therefrom are still within the protection scope of the present utility model. the
Claims (3)
Priority Applications (1)
| Application Number | Priority Date | Filing Date | Title |
|---|---|---|---|
| CN201220447561.2U CN203048726U (en) | 2012-09-04 | 2012-09-04 | Small-sized horizontal sewage treatment device |
Applications Claiming Priority (1)
| Application Number | Priority Date | Filing Date | Title |
|---|---|---|---|
| CN201220447561.2U CN203048726U (en) | 2012-09-04 | 2012-09-04 | Small-sized horizontal sewage treatment device |
Publications (1)
| Publication Number | Publication Date |
|---|---|
| CN203048726U true CN203048726U (en) | 2013-07-10 |
Family
ID=48731703
Family Applications (1)
| Application Number | Title | Priority Date | Filing Date |
|---|---|---|---|
| CN201220447561.2U Expired - Fee Related CN203048726U (en) | 2012-09-04 | 2012-09-04 | Small-sized horizontal sewage treatment device |
Country Status (1)
| Country | Link |
|---|---|
| CN (1) | CN203048726U (en) |
Cited By (1)
| Publication number | Priority date | Publication date | Assignee | Title |
|---|---|---|---|---|
| CN105174453A (en) * | 2015-08-20 | 2015-12-23 | 徐州工程学院 | Horizontal integrated sewage processing device |
-
2012
- 2012-09-04 CN CN201220447561.2U patent/CN203048726U/en not_active Expired - Fee Related
Cited By (1)
| Publication number | Priority date | Publication date | Assignee | Title |
|---|---|---|---|---|
| CN105174453A (en) * | 2015-08-20 | 2015-12-23 | 徐州工程学院 | Horizontal integrated sewage processing device |
Similar Documents
| Publication | Publication Date | Title |
|---|---|---|
| CN104045205B (en) | Low-power-consumption integrated water purifying apparatus and water purifying method | |
| CN101792237A (en) | Composite biofilter | |
| CN201292263Y (en) | Vertical flow type aerobic gas float filter chamber | |
| CN209081675U (en) | Integrated rural sewage-treatment plant | |
| CN201506728U (en) | A kind of air lifting type denitrification biological continuous sand filter device | |
| CN203212433U (en) | Rural sewage treatment system | |
| CN108249691A (en) | Integral low-energy distributing domestic sewage of villages and small towns processing system | |
| KR101037888B1 (en) | Sedimentation, Biological Decomposition, Filtration, Phosphorus Removal, UV Disinfection | |
| CN104230104A (en) | Biochemical filtration treatment all-in-one machine | |
| CN210438573U (en) | Stifled oxygenation type constructed wetland system of inhibiting | |
| CN109368941A (en) | A kind of urban sewage treatment device and its application | |
| CN211445407U (en) | Purify ecological dam device in black and odorous river course | |
| CN211595374U (en) | A sewage treatment equipment combined with suspended biofilm and deep filtration | |
| CN203048726U (en) | Small-sized horizontal sewage treatment device | |
| CN201250160Y (en) | Energy-saving sewage treatment equipment | |
| CN104671413A (en) | Biofiltration bed-ecological floating bed eutrophication landscape water treatment system | |
| CN206337120U (en) | Effluent treatment plant | |
| CN212425789U (en) | Domestic sewage treatment device | |
| CN104150597A (en) | Anaerobic natural ventilation integrated composite vertical-flow biological water treatment filtering tank | |
| CN2499397Y (en) | Life waste water treating device | |
| CN212127912U (en) | A kind of advanced treatment system of thermal power plant wastewater with quasi-IV surface water standard | |
| CN103922535B (en) | A kind of MBMBR sewerage disposing device | |
| CN209797719U (en) | Take sewage treatment system of fiber ball filter back flush | |
| CN209797720U (en) | Sewage treatment system | |
| CN208345996U (en) | A kind of sewage-treatment plant |
Legal Events
| Date | Code | Title | Description |
|---|---|---|---|
| C14 | Grant of patent or utility model | ||
| GR01 | Patent grant | ||
| CF01 | Termination of patent right due to non-payment of annual fee |
Granted publication date: 20130710 Termination date: 20140904 |
|
| EXPY | Termination of patent right or utility model |
