CN203016271U - 书立 - Google Patents

书立 Download PDF

Info

Publication number
CN203016271U
CN203016271U CN 201320022530 CN201320022530U CN203016271U CN 203016271 U CN203016271 U CN 203016271U CN 201320022530 CN201320022530 CN 201320022530 CN 201320022530 U CN201320022530 U CN 201320022530U CN 203016271 U CN203016271 U CN 203016271U
Authority
CN
China
Prior art keywords
book
book stand
book end
stand
baffle plate
Prior art date
Legal status (The legal status is an assumption and is not a legal conclusion. Google has not performed a legal analysis and makes no representation as to the accuracy of the status listed.)
Expired - Fee Related
Application number
CN 201320022530
Other languages
English (en)
Inventor
钱大磊
Current Assignee (The listed assignees may be inaccurate. Google has not performed a legal analysis and makes no representation or warranty as to the accuracy of the list.)
Individual
Original Assignee
Individual
Priority date (The priority date is an assumption and is not a legal conclusion. Google has not performed a legal analysis and makes no representation as to the accuracy of the date listed.)
Filing date
Publication date
Application filed by Individual filed Critical Individual
Priority to CN 201320022530 priority Critical patent/CN203016271U/zh
Application granted granted Critical
Publication of CN203016271U publication Critical patent/CN203016271U/zh
Anticipated expiration legal-status Critical
Expired - Fee Related legal-status Critical Current

Links

Images

Landscapes

  • Tables And Desks Characterized By Structural Shape (AREA)

Abstract

本实用新型公开了一种书立,包括书立架和书立底,所述书立架和书立底通过书立合页连接,所述书立架和书立底可作90度折叠,所述书立架包括左书立和右书立,所述左书立和右书立的一侧边通过一挡板连接,所述挡板的外表面对称设置有两个书夹,每个书夹一端分别通过一固定销与所述挡板的外表面转动连接。该书立具有携带方便、节省桌面空间的技术效果。

Description

书立
技术领域
本实用新型涉及一种文化用品,尤其是涉及一种书立。
背景技术
    现在学生大多利用书立整理桌面上的书籍,防止竖立放置的图书倾倒。传统书立大多为固定结构,因此不易携带,而且使用时书立会占用桌面上的一部分空间,造成阅读时课本不便放置和翻页困难。
实用新型内容
本实用新型的目的在于克服上述现有技术中的不足,提供一种携带方便,并且能够节省桌面空间的书立。
为实现上述目的,本实用新型采用的技术方案是: 
一种书立,包括书立架和书立底,所述书立架和书立底通过书立合页连接,所述书立架和书立底可作90度折叠,所述书立架包括左书立和右书立,所述左书立和右书立的一侧边通过一挡板连接,所述挡板的外表面对称设置有两个书夹,每个书夹一端分别通过一固定销与所述挡板的外表面转动连接。
其中, 所述书立底底面安装有橡胶。
其中, 所述右书立的外表面设置有便签盒。
本实用新型与现有技术相比具有设计合理、便于携带和节省空间的优点,通过书立合页可以有效解决书立不易携带的问题,并且安装有橡胶底的书立不容易在桌子上打滑,在使用挡板时,将书本打开,平放在挡板上,转动书夹,使书本相对的两页分别用书夹末端压住,可防止书本自动合上和倾倒,又节省了桌面空间,拓展了书立的功能。
附图说明
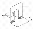
图1为本实用新型的整体结构示意图。
图2为本实用新型的右书立的结构示意图。
具体实施方式
以下结合附图进一步说明本实用新型的实施例。
参见图1和图2,书立包括书立架1和书立底3,书立架1和书立底3通过书立合页2连接,书立架1和书立底3可作90度折叠,以有效解决书立不易携带的问题。书立架1包括左书立和右书立,左书立和右书立的一侧边通过一挡板4连接,挡板4的外表面对称设置有两个书夹5,每个书夹5一端分别通过一固定销6与挡板4的外表面转动连接,挡板4可以折叠,在使用挡板4时,将书本打开,平放在挡板4上,转动书夹5,使书本相对的两页分别用书夹5末端压住,可防止书本自动合上和倾倒。书立底3底面安装有橡胶,使得书立不容易在桌子上打滑。右书立的外表面设置有便签盒7,可以存放便签。 

Claims (3)

1.一种书立,包括书立架和书立底,其特征在于,所述书立架和书立底通过书立合页连接,所述书立架和书立底可作90度折叠,所述书立架包括左书立和右书立,所述左书立和右书立的一侧边通过一挡板连接,所述挡板的外表面对称设置有两个书夹,每个书夹一端分别通过一固定销与所述挡板的外表面转动连接。
2.按照权利要求1所述的书立,其特征在于: 所述书立底底面安装有橡胶。
3.按照权利要求1所述的书立,其特征在于: 所述右书立的外表面设置有便签盒。
CN 201320022530 2013-01-16 2013-01-16 书立 Expired - Fee Related CN203016271U (zh)

Priority Applications (1)

Application Number Priority Date Filing Date Title
CN 201320022530 CN203016271U (zh) 2013-01-16 2013-01-16 书立

Applications Claiming Priority (1)

Application Number Priority Date Filing Date Title
CN 201320022530 CN203016271U (zh) 2013-01-16 2013-01-16 书立

Publications (1)

Publication Number Publication Date
CN203016271U true CN203016271U (zh) 2013-06-26

Family

ID=48640296

Family Applications (1)

Application Number Title Priority Date Filing Date
CN 201320022530 Expired - Fee Related CN203016271U (zh) 2013-01-16 2013-01-16 书立

Country Status (1)

Country Link
CN (1) CN203016271U (zh)

Cited By (1)

* Cited by examiner, † Cited by third party
Publication number Priority date Publication date Assignee Title
CN108497770A (zh) * 2018-03-27 2018-09-07 李菊卫 一种多功能收纳装置

Cited By (2)

* Cited by examiner, † Cited by third party
Publication number Priority date Publication date Assignee Title
CN108497770A (zh) * 2018-03-27 2018-09-07 李菊卫 一种多功能收纳装置
CN108497770B (zh) * 2018-03-27 2020-11-27 李菊卫 一种多功能收纳装置

Similar Documents

Publication Publication Date Title
CN203841327U (zh) 一种多功能课桌
CN203137497U (zh) 折叠式床上书桌
CN203016271U (zh) 书立
CN203353960U (zh) 便携式床上书桌
CN104687799A (zh) 可折叠书立
CN201977086U (zh) 一种折叠书桌
CN201303732Y (zh) 一种折叠伸缩书立
CN202604136U (zh) 一种课桌
CN204519985U (zh) 宿舍用多功能床头柜
CN204889195U (zh) 一种可伸缩的简易书架
CN204599794U (zh) 新型书桌
CN201879148U (zh) 一种便携书立
CN105342162B (zh) 一种带有可翻折书立的课桌
CN202262633U (zh) 设置有书架的家用课桌
CN202312007U (zh) 撑书架
CN203073421U (zh) 一种储物盒
CN208676614U (zh) 一种多功能书柜
CN202999878U (zh) 一种多功能课桌
CN202112578U (zh) 新型床头桌
CN210018361U (zh) 一种文科用阅读书架
CN102258278A (zh) 一种夹放书籍的书立
CN203016224U (zh) 设置有书架的加宽加长课桌
CN202407845U (zh) 一种可折叠多功能书立
CN202604010U (zh) 一种带有内嵌式可翻折书立的桌面
CN202714485U (zh) 一种书立

Legal Events

Date Code Title Description
C14 Grant of patent or utility model
GR01 Patent grant
C17 Cessation of patent right
CF01 Termination of patent right due to non-payment of annual fee

Granted publication date: 20130626

Termination date: 20140116