CN202977651U - 无线充电锂电池 - Google Patents
无线充电锂电池 Download PDFInfo
- Publication number
- CN202977651U CN202977651U CN2012206542221U CN201220654222U CN202977651U CN 202977651 U CN202977651 U CN 202977651U CN 2012206542221 U CN2012206542221 U CN 2012206542221U CN 201220654222 U CN201220654222 U CN 201220654222U CN 202977651 U CN202977651 U CN 202977651U
- Authority
- CN
- China
- Prior art keywords
- lithium battery
- charging
- electromagnetic shielding
- induction coil
- material layer
- Prior art date
- Legal status (The legal status is an assumption and is not a legal conclusion. Google has not performed a legal analysis and makes no representation as to the accuracy of the status listed.)
- Expired - Fee Related
Links
- WHXSMMKQMYFTQS-UHFFFAOYSA-N Lithium Chemical compound [Li] WHXSMMKQMYFTQS-UHFFFAOYSA-N 0.000 title claims abstract description 62
- 229910052744 lithium Inorganic materials 0.000 title claims abstract description 62
- 230000006698 induction Effects 0.000 claims abstract description 29
- 239000000463 material Substances 0.000 claims abstract description 27
- 230000006641 stabilisation Effects 0.000 claims abstract 4
- 238000011105 stabilization Methods 0.000 claims abstract 4
- 239000007769 metal material Substances 0.000 claims description 2
- 239000012811 non-conductive material Substances 0.000 claims 1
- 230000005674 electromagnetic induction Effects 0.000 abstract description 3
- 238000011161 development Methods 0.000 description 3
- 238000001914 filtration Methods 0.000 description 3
- 238000013461 design Methods 0.000 description 2
- 230000005672 electromagnetic field Effects 0.000 description 2
- 238000005516 engineering process Methods 0.000 description 2
- RYGMFSIKBFXOCR-UHFFFAOYSA-N Copper Chemical compound [Cu] RYGMFSIKBFXOCR-UHFFFAOYSA-N 0.000 description 1
- XEEYBQQBJWHFJM-UHFFFAOYSA-N Iron Chemical compound [Fe] XEEYBQQBJWHFJM-UHFFFAOYSA-N 0.000 description 1
- 239000005030 aluminium foil Substances 0.000 description 1
- 230000033228 biological regulation Effects 0.000 description 1
- 229910010293 ceramic material Inorganic materials 0.000 description 1
- 238000006243 chemical reaction Methods 0.000 description 1
- 230000000295 complement effect Effects 0.000 description 1
- 239000004020 conductor Substances 0.000 description 1
- 239000011889 copper foil Substances 0.000 description 1
- 238000010586 diagram Methods 0.000 description 1
- 230000005611 electricity Effects 0.000 description 1
- 238000004519 manufacturing process Methods 0.000 description 1
- 238000000034 method Methods 0.000 description 1
- 238000010295 mobile communication Methods 0.000 description 1
- 238000012544 monitoring process Methods 0.000 description 1
- 229920003023 plastic Polymers 0.000 description 1
- 239000004033 plastic Substances 0.000 description 1
- 230000001737 promoting effect Effects 0.000 description 1
- 238000003892 spreading Methods 0.000 description 1
- 238000003860 storage Methods 0.000 description 1
Images
Classifications
-
- Y—GENERAL TAGGING OF NEW TECHNOLOGICAL DEVELOPMENTS; GENERAL TAGGING OF CROSS-SECTIONAL TECHNOLOGIES SPANNING OVER SEVERAL SECTIONS OF THE IPC; TECHNICAL SUBJECTS COVERED BY FORMER USPC CROSS-REFERENCE ART COLLECTIONS [XRACs] AND DIGESTS
- Y02—TECHNOLOGIES OR APPLICATIONS FOR MITIGATION OR ADAPTATION AGAINST CLIMATE CHANGE
- Y02E—REDUCTION OF GREENHOUSE GAS [GHG] EMISSIONS, RELATED TO ENERGY GENERATION, TRANSMISSION OR DISTRIBUTION
- Y02E60/00—Enabling technologies; Technologies with a potential or indirect contribution to GHG emissions mitigation
- Y02E60/10—Energy storage using batteries
Landscapes
- Charge And Discharge Circuits For Batteries Or The Like (AREA)
Abstract
本实用新型公开了一种无线充电锂电池,包括感应线圈、电磁屏蔽材料层、整流稳压及充电管理电路,锂电池芯,其中,感应线圈位于电池底部,电磁屏蔽材料层位于感应线圈上部;锂电池芯位于电池顶部;整流稳压及充电管理电路位于锂电池芯与电磁屏蔽材料层之间;本实用新型集成了电磁感应能量接收、充电管理、电磁屏蔽功能,并且可以显示出电池的充电状态。
Description
技术领域
本实用新型属于锂电池领域,特别是一种无线充电锂电池。
背景技术
以手机、MP3、笔记本电脑等便携式的电子设备为例,进行充电的主要是传统的充电器,一端与工频交流电源相连,另一端连接便携式电子设备的充电电池。这种频繁的插拔容易损坏接口,长时间过充会损伤蓄电池的寿命甚至烧坏移动设备主板,同时还会带来触电的危险。而由于接口标准不统一,每个电子产品都有一个与之相匹配的充电器,这样造成了大量的浪费,增加了制造成本。同时,随着信息化的急速发展,人们对移动通信质量与内容的要求越来越高,移动设备相关技术的随着需求的发展,功能越来越强大的同时主频越来越高,屏幕越来越大,耗电量也急速上升,待机时间长成为一个普遍的需求,而现有电池技术在短期内没有突破可能,因此人们对可以给移动设备进行随时随地充电的相关设备有强烈的需求。
锂电池广泛应用于手机、数码相机及笔记本电脑。纵观全球锂电池无线充电设备的研制状况,并没有将电磁感应接收、充电管理和充电指示集成在一体的设计。传统的锂电池,若要进行无线充电,往往需要在外接一个感应线圈甚至还需要配套充电管理电路,造成设备体积过大,与电子产品无法配套等诸多麻烦。
实用新型内容
本实用新型的目的在于提供一种集成了电磁感应能量接收、充电管理、电磁屏蔽和充电指示功能的无线充电锂电池。
实现本实用新型目的的技术解决方案为:
一种无线充电锂电池,包括感应线圈、电磁屏蔽材料层、整流稳压及充电管理电路,锂电池芯,其中,感应线圈位于电池底部,电磁屏蔽材料层位于感应线圈上部;锂电池芯位于电池顶部;整流稳压及充电管理电路位于锂电池芯与电磁屏蔽材料层之间。
本实用新型与现有技术相比,其显著优点:
(1)将充电管理单元内置于整个锂电池内部,电池可以脱离电子设备进行充电,避免了无线充电对电子产品的一系列要求,如外置感应线圈、充电电路和充电指示等,增强了无线充电的兼容性,传统无线充电要求能量接收端(电子产品)需要在产品中内置与自身相配套的感应线圈、充电电路和充电指示等,增加了电子产品的成本与设计难度,普通的电子产品无法进行无线充电。现在将这些全部集成在锂电池内,使得任何电子产品都可以进行无线充电。
(2)当锂电池放上无线充电发射平台上,锂电池可以将充电状态,如正在充电、电量已充满等通过充电指示显示出来。
下面结合附图对本实用新型作进一步详细描述。
附图说明
图1为本实用新型的原理图。
图2为本实用新型的结构示意图。
图3为本实用新型的俯视图。
具体实施方式
本实用新型的原理如图1所示:
无线充电锂电池包括感应线圈、电磁屏蔽装置、整流稳压单元、充电管理单元、充电指示和锂电池芯。感应线圈将电磁能感应接收过来,电磁屏蔽单元防止电磁能量四处扩散以免对整流滤波单元和充电管理单元的电路以及锂电池芯造成干扰,并且提升感应线圈利用电磁场的效率;整流滤波单元将感应接收的能量通过整流、滤波、调压等变换后为充电管理单元提供充电电能;充电管理单元实时监测锂电池的充电状态并通过充电指示单元反馈给用户,并根据锂电池的状态对锂电池芯进行充电管理。
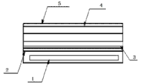
本实用新型的结构如图2所示:
一种无线充电锂电池,包括感应线圈1、电磁屏蔽材料层2、整流稳压及充电管理电路3,锂电池芯4,其中,感应线圈1位于电池底部,电磁屏蔽材料层2位于感应线圈1上部;锂电池芯4位于电池顶部;整流稳压及充电管理电路3位于锂电池芯4与电磁屏蔽材料层2之间。无线充电锂电池的外壳采用非导电材料。无线充电锂电池的外壳上设置有充电指示单元5,充电指示单元5包括充电完成指示灯6和正在充电指示灯7。所述的电磁屏蔽材料层2使用金属材料。
如图3所示:锂电池俯视图,充电指示单元5包括充电完成指示灯6和正在充电指示灯7,位于锂电池外壳表面,电池与设备的接口8的位于电池侧面。
感应线圈1感应到能量以后,整流稳压及充电管理电路3将交流电转变为直流低压电;同时电磁屏蔽材料层2防止电磁场干扰整流稳压及充电管理电路3和锂电池芯4;整流稳压及充电管理电路3根据锂电池芯4的状态进行智能充电,于此同时充电指示单元5由整流稳压及充电管理电路3的控制来显示正在充电或者已经充满。
实施例1:
一种无线充电锂电池,包括感应线圈1、电磁屏蔽材料层2、整流稳压及充电管理电路3,锂电池芯4,其中,感应线圈1位于电池底部,电磁屏蔽材料层2位于感应线圈1上部;锂电池芯4位于电池顶部;整流稳压及充电管理电路3位于锂电池芯4与电磁屏蔽材料层2之间;无线充电锂电池的外壳采用塑料;无线充电锂电池的外壳上设置有充电指示单元5,充电指示单元5包括充电完成指示灯6和正在充电指示灯7;电磁屏蔽材料层2使用铝箔。
实施例2:
一种无线充电锂电池,包括感应线圈1、电磁屏蔽材料层2、整流稳压及充电管理电路3,锂电池芯4,其中,感应线圈1位于电池底部,电磁屏蔽材料层2位于感应线圈1上部;锂电池芯4位于电池顶部;整流稳压及充电管理电路3位于锂电池芯4与电磁屏蔽材料层2之间;无线充电锂电池的外壳采用陶瓷材料;无线充电锂电池的外壳上设置有充电指示单元5,充电指示单元5包括充电完成指示灯6和正在充电指示灯7;电磁屏蔽材料层2使用铜箔。
实施例3:
一种无线充电锂电池,包括感应线圈1、电磁屏蔽材料层2、整流稳压及充电管理电路3,锂电池芯4,其中,感应线圈1位于电池底部,电磁屏蔽材料层2位于感应线圈1上部;锂电池芯4位于电池顶部;整流稳压及充电管理电路3位于锂电池芯4与电磁屏蔽材料层2之间;无线充电锂电池的外壳采用硬纸壳;无线充电锂电池的外壳上设置有充电指示单元5,充电指示单元5包括充电完成指示灯6和正在充电指示灯7;电磁屏蔽材料层2使用铁箔。
Claims (4)
1.一种无线充电锂电池,其特征在于:包括感应线圈(1)、电磁屏蔽材料层(2)、整流稳压及充电管理电路(3),锂电池芯(4),其中,感应线圈(1)位于电池底部,电磁屏蔽材料层(2)位于感应线圈(1)上部;锂电池芯(4)位于电池顶部;整流稳压及充电管理电路(3)位于锂电池芯(4)与电磁屏蔽材料层(2)之间。
2.根据权利要求1所述的一种无线充电锂电池,其特征在于:无线充电锂电池的外壳采用非导电材料。
3.根据权利要求2所述的一种无线充电锂电池,其特征在于:无线充电锂电池的外壳上设置有充电指示单元(5),充电指示单元(5)包括充电完成指示灯(6)和正在充电指示灯(7)。
4.根据权利要求1-3之一所述的一种无线充电锂电池,其特征在于:所述的电磁屏蔽材料层(2)使用金属材料。
Priority Applications (1)
| Application Number | Priority Date | Filing Date | Title |
|---|---|---|---|
| CN2012206542221U CN202977651U (zh) | 2012-12-03 | 2012-12-03 | 无线充电锂电池 |
Applications Claiming Priority (1)
| Application Number | Priority Date | Filing Date | Title |
|---|---|---|---|
| CN2012206542221U CN202977651U (zh) | 2012-12-03 | 2012-12-03 | 无线充电锂电池 |
Publications (1)
| Publication Number | Publication Date |
|---|---|
| CN202977651U true CN202977651U (zh) | 2013-06-05 |
Family
ID=48518687
Family Applications (1)
| Application Number | Title | Priority Date | Filing Date |
|---|---|---|---|
| CN2012206542221U Expired - Fee Related CN202977651U (zh) | 2012-12-03 | 2012-12-03 | 无线充电锂电池 |
Country Status (1)
| Country | Link |
|---|---|
| CN (1) | CN202977651U (zh) |
Cited By (1)
| Publication number | Priority date | Publication date | Assignee | Title |
|---|---|---|---|---|
| CN102983375A (zh) * | 2012-12-03 | 2013-03-20 | 南京理工大学 | 无线充电锂电池 |
-
2012
- 2012-12-03 CN CN2012206542221U patent/CN202977651U/zh not_active Expired - Fee Related
Cited By (1)
| Publication number | Priority date | Publication date | Assignee | Title |
|---|---|---|---|---|
| CN102983375A (zh) * | 2012-12-03 | 2013-03-20 | 南京理工大学 | 无线充电锂电池 |
Similar Documents
| Publication | Publication Date | Title |
|---|---|---|
| CN201877893U (zh) | 无线充电电池 | |
| JP2021106489A (ja) | 充電器 | |
| CN202524124U (zh) | 移动电源 | |
| CN102723752A (zh) | 压电充电式移动终端 | |
| CN108701878A (zh) | 能够收发无线电力的辅助电池 | |
| CN202104503U (zh) | 无线充电桌 | |
| CN102983375A (zh) | 无线充电锂电池 | |
| CN202550639U (zh) | 一种具有无线充电功能的用电系统 | |
| CN203119575U (zh) | 一种便携式无线充电器 | |
| CN107910961A (zh) | 一种可无线充电的电池 | |
| CN202524114U (zh) | 可无线充电的移动电源 | |
| CN205122913U (zh) | 一种多功能智能移动排插 | |
| CN204992701U (zh) | 一种移动电源快速充电装置 | |
| CN204376506U (zh) | 一种电动自行车电池 | |
| CN202977651U (zh) | 无线充电锂电池 | |
| CN203522233U (zh) | 一种带3g、无线路由功能的直充式便携移动电源 | |
| CN204290441U (zh) | 无线充电器 | |
| CN203289132U (zh) | 可显示充电状态的无线充电器 | |
| CN203261071U (zh) | 一种可无线充放电的手机移动电源 | |
| CN202004480U (zh) | 便携式通讯设备无线感应充电装置和具有其的便携式电子设备 | |
| CN202503334U (zh) | 无线充电系统 | |
| CN201829979U (zh) | 一种无线感应充电插头 | |
| CN209963819U (zh) | 智能门锁供电电路及智能门锁 | |
| CN103110261A (zh) | 带充电功能的手机套 | |
| CN203193347U (zh) | 无线充电装置和移动终端 |
Legal Events
| Date | Code | Title | Description |
|---|---|---|---|
| C14 | Grant of patent or utility model | ||
| GR01 | Patent grant | ||
| CF01 | Termination of patent right due to non-payment of annual fee |
Granted publication date: 20130605 Termination date: 20161203 |
|
| CF01 | Termination of patent right due to non-payment of annual fee |