CN202949734U - Vertical shaft type corn stalk filament-rubbing machine - Google Patents
Vertical shaft type corn stalk filament-rubbing machine Download PDFInfo
- Publication number
- CN202949734U CN202949734U CN 201220702346 CN201220702346U CN202949734U CN 202949734 U CN202949734 U CN 202949734U CN 201220702346 CN201220702346 CN 201220702346 CN 201220702346 U CN201220702346 U CN 201220702346U CN 202949734 U CN202949734 U CN 202949734U
- Authority
- CN
- China
- Prior art keywords
- rotating shaft
- cutting blade
- cylinder
- mid
- knife rest
- Prior art date
- Legal status (The legal status is an assumption and is not a legal conclusion. Google has not performed a legal analysis and makes no representation as to the accuracy of the status listed.)
- Expired - Fee Related
Links
- 235000005824 Zea mays ssp. parviglumis Nutrition 0.000 title claims abstract description 23
- 235000002017 Zea mays subsp mays Nutrition 0.000 title claims abstract description 23
- 235000005822 corn Nutrition 0.000 title claims abstract description 23
- 240000008042 Zea mays Species 0.000 title claims description 21
- 238000004898 kneading Methods 0.000 claims abstract description 33
- 238000005520 cutting process Methods 0.000 claims abstract description 29
- 239000000463 material Substances 0.000 claims abstract description 13
- 230000005540 biological transmission Effects 0.000 abstract description 4
- 241000209149 Zea Species 0.000 abstract 2
- 239000010902 straw Substances 0.000 description 4
- 230000009286 beneficial effect Effects 0.000 description 3
- 238000007599 discharging Methods 0.000 description 2
- 244000144972 livestock Species 0.000 description 2
- 230000009471 action Effects 0.000 description 1
- 230000007812 deficiency Effects 0.000 description 1
- 238000010586 diagram Methods 0.000 description 1
- 235000019621 digestibility Nutrition 0.000 description 1
- 238000005516 engineering process Methods 0.000 description 1
- 235000021050 feed intake Nutrition 0.000 description 1
- 229910052500 inorganic mineral Inorganic materials 0.000 description 1
- 230000003993 interaction Effects 0.000 description 1
- 238000012423 maintenance Methods 0.000 description 1
- 238000004519 manufacturing process Methods 0.000 description 1
- 230000007246 mechanism Effects 0.000 description 1
- 238000000034 method Methods 0.000 description 1
- 239000011707 mineral Substances 0.000 description 1
- 238000012986 modification Methods 0.000 description 1
- 230000004048 modification Effects 0.000 description 1
- 235000015097 nutrients Nutrition 0.000 description 1
- 235000019629 palatability Nutrition 0.000 description 1
- 244000144977 poultry Species 0.000 description 1
- 238000003860 storage Methods 0.000 description 1
- 239000000126 substance Substances 0.000 description 1
Images
Landscapes
- Threshing Machine Elements (AREA)
Abstract
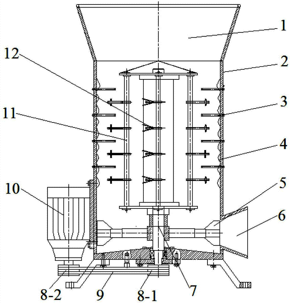
本实用新型涉及农业工程技术领域,尤其涉及玉米茎秆揉丝装置。一种立轴式玉米茎秆揉丝机,包括揉丝滚筒,揉丝滚筒具有喂料口,在所述的揉丝滚筒的内壁上设有齿板;在揉丝滚筒筒腔内设有中置转轴,在所述的中置转轴上设有刀架,刀架上设有切割刀片;还包括调频电机,调频电机通过传动带带动中置转轴转动,同时,驱动刀架转动;在所述揉丝滚筒的筒底壁与所述刀架之间的中置转轴上设有物料抛送器,与物料抛送器平行设置的揉丝滚筒上设有排料口。本实用新型结构简单,效果好。
The utility model relates to the technical field of agricultural engineering, in particular to a corn stalk kneading device. A vertical shaft type corn stalk kneading machine, comprising a kneading drum, the kneading drum has a feeding port, a tooth plate is arranged on the inner wall of the kneading drum; The rotating shaft is provided with a knife rest on the said middle rotating shaft, and a cutting blade is arranged on the knife rest; it also includes a frequency modulation motor, and the frequency modulation motor drives the middle rotating shaft to rotate through a transmission belt, and at the same time, drives the knife rest to rotate; A material thrower is provided on the middle rotating shaft between the cylinder bottom wall of the drum and the knife holder, and a discharge opening is arranged on the kneading silk drum parallel to the material thrower. The utility model has simple structure and good effect.
Description
技术领域technical field
本实用新型涉及农业工程技术领域,尤其涉及玉米茎秆揉丝装置。The utility model relates to the technical field of agricultural engineering, in particular to a corn stalk kneading device.
背景技术Background technique
玉米秸秆是玉米生产中的一项重要物质资源,含有大量的无机物和少量矿物质,是一些禽畜最经济的能量来源,尤其是尚未木质纤维化的青玉米秸秆,营养成分较丰富,对秸秆进行揉丝加工有利于提高牲畜对秸秆的采食率和消化率,提高作物秸秆饲料的适口性,增加秸秆的饲用价值和利用率。Corn stalk is an important material resource in corn production. It contains a large amount of inorganic substances and a small amount of minerals. It is the most economical energy source for some poultry and livestock. Especially green corn stalks that have not been lignofiberized are rich in nutrients and are beneficial to Shredded straw processing is beneficial to improve the feed intake and digestibility of straw for livestock, improve the palatability of crop straw feed, and increase the feeding value and utilization rate of straw.
目前国内常见的揉丝机多采用作物茎秆卧式水平喂入,鉴于玉米茎秆自身较长的物理特性使得该类型揉丝机的喂入量少、处理量小、作业效率低,不利于玉米茎秆的饲料化存贮作业。At present, the common silk kneading machines in China mostly adopt the horizontal feeding of crop stalks. In view of the long physical characteristics of corn stalks, this type of kneading machine has a small amount of feed, a small processing capacity, and low operating efficiency, which is not conducive to Feed storage operations of corn stalks.
发明内容Contents of the invention
本实用新型的目的在于避免现有技术的不足,针对我国当前玉米茎秆饲料化作业要求,提出了一种能够同时完成作物茎秆揉搓与排料作业,物料处理量大,作业效率高的立轴式玉米茎秆揉丝机。The purpose of this utility model is to avoid the deficiencies of the existing technology. Aiming at the requirements of the current corn stalk feed operation in our country, a vertical shaft that can simultaneously complete crop stalk rubbing and discharging operations, with large material handling capacity and high operation efficiency is proposed. type corn stalk kneading machine.
为实现上述目的,本实用新型采取的技术方案为:一种立轴式玉米茎秆揉丝机,包括揉丝滚筒,揉丝滚筒具有喂料口,在所述的揉丝滚筒的内壁上设有齿板;在揉丝滚筒筒腔内设有中置转轴,在所述的中置转轴上设有刀架,刀架上设有切割刀片;还包括调频电机,调频电机通过传动带带动中置转轴转动,同时,驱动刀架转动;在所述揉丝滚筒的筒底壁与所述刀架之间的中置转轴上设有物料抛送器,与物料抛送器平行设置的揉丝滚筒上设有排料口。In order to achieve the above purpose, the technical solution adopted by the utility model is: a vertical shaft corn stalk kneading machine, including a kneading drum, the kneading drum has a feeding port, and the inner wall of the kneading drum is provided with Tooth plate; a central rotating shaft is arranged in the barrel cavity of the silk kneading drum, a knife rest is arranged on the central rotating shaft, and a cutting blade is arranged on the knife rest; a frequency modulation motor is also included, and the frequency modulation motor drives the central rotating shaft through a transmission belt Rotate, and at the same time, drive the tool holder to rotate; a material thrower is provided on the middle rotating shaft between the bottom wall of the kneading silk drum and the knife holder, and a material thrower is arranged on the kneading silk roller parallel to the material thrower. There is a discharge port.
在所述的揉丝滚筒的内壁上还设有固定切割刀片,所述的固定切割刀片与所述的齿板交替均匀设置。所述的切割刀片的形状呈梯形,梯形切割刀片的一个梯形腰上设有刀口,另一个梯形腰上设有两个向切割刀片左、右两侧延伸出的刀口。Fixed cutting blades are also arranged on the inner wall of the kneading silk drum, and the fixed cutting blades and the tooth plates are alternately and evenly arranged. The shape of the cutting blade is trapezoidal, one trapezoidal waist of the trapezoidal cutting blade is provided with a knife edge, and the other trapezoidal waist is provided with two knife edges extending to the left and right sides of the cutting blade.
所述的传送带为V带,所述的调频电机的输出轴上设有第二带轮,第二带轮通过V带与中置转轴上设有第一带轮相连接,带动中置转轴转动。The conveyor belt is a V-belt, and the output shaft of the frequency modulation motor is provided with a second pulley, and the second pulley is connected with the first pulley provided on the central rotating shaft through the V-belt to drive the central rotating shaft to rotate .
所述的刀架在中置转轴上至少设有一个,且在每个刀架上至少设有一个切割刀片。At least one knife holder is provided on the middle rotating shaft, and at least one cutting blade is provided on each knife holder.
本实用新型的有益效果是:所述的立轴式玉米茎秆揉丝机,通过调频电机、传动机构转动,在刀架上燕尾T型刀与齿板及定刀的相互作用下,实现了玉米茎秆的饲料化揉丝;该机结构简单实用,操作维护及动力配套方便,能够同时完成作物茎秆揉丝与排料作业,物料处理量大,作业效率高。The beneficial effects of the utility model are: the vertical shaft type corn stalk kneading machine is rotated through the frequency modulation motor and the transmission mechanism, and under the interaction of the dovetail T-shaped knife on the knife holder, the tooth plate and the fixed knife, the corn stalks can be processed. Feed shredding of stalks; the machine has a simple and practical structure, convenient operation and maintenance and power matching, and can complete crop stalk shredding and discharging operations at the same time, with large material handling capacity and high operating efficiency.
附图说明Description of drawings
图1是本实用新型的结构示意图;Fig. 1 is the structural representation of the utility model;
图2是本实用新型切割刀片的结构示意图;Fig. 2 is the structural representation of cutting blade of the present utility model;
图3是本实用新型切割刀片的俯视结构示意图。Fig. 3 is a top view structural schematic diagram of the cutting blade of the present invention.
具体实施方式Detailed ways
以下结合附图对本实用新型的原理和特征进行描述,所举实例只用于解释本实用新型,并非用于限定本实用新型的范围。The principles and features of the present utility model are described below in conjunction with the accompanying drawings, and the examples given are only used to explain the utility model, and are not used to limit the scope of the utility model.
实施例1:见图1,图2,图3,一种立轴式玉米茎秆揉丝机,包括揉丝滚筒2,揉丝滚筒2具有喂料口1,在所述的揉丝滚筒2的内壁上设有齿板4;在揉丝滚筒2筒腔内设有中置转轴7,在所述的中置转轴7上设有刀架11,刀架11上设有切割刀片12;还包括调频电机10,调频电机10通过传动带9带动中置转轴7转动,同时,驱动刀架11转动;在所述揉丝滚筒2的筒底壁与所述刀架11之间的中置转轴7上设有物料抛送器5,与物料抛送器5平行设置的揉丝滚筒上设有排料口6。在所述的揉丝滚筒2的内壁上还设有固定切割刀片3,所述的固定切割刀片3与所述的齿板4交替均匀设置。所述的切割刀片12的形状呈梯形,梯形切割刀片的一个梯形腰上设有刀口,另一个梯形腰上设有两个向切割刀片12左、右两侧延伸出的刀口。所述的传送带9为V带,所述的调频电机10输出轴上设有第二带轮8-2,第二带轮8-2通过V带与中置转轴7上设有的第一带轮8-1相连接,带动中置转轴7转动。所述的刀架11在中置转轴7上至少设有一个,且在每个刀架上至少设有一个切割刀片。Embodiment 1: see Fig. 1, Fig. 2, Fig. 3, a kind of vertical shaft type corn stalk kneading silk machine, comprises kneading
当立轴式玉米茎秆揉丝机作业时,调频电机10启动,通过第二带轮8-2传动,在V带9的带动下通过第一带轮8-1使中置转轴7转动,当摘穗后的玉米茎秆通过喂料口1进入揉丝滚筒2后,刀架转动,在刀架上切割刀片与固定切割刀片及齿板作用下对玉米茎秆进行揉丝作业,揉丝后的茎秆饲料在物料抛送器的转动作用下旋转,并由滚筒壁右下部排料口抛出。When the vertical shaft type corn stalk kneading machine is working, the
实施例2:与实施例1相同,不同的是所述的所述的刀架11在中置转轴7上设有三个,且在每个刀架上设有4个切割刀片。Embodiment 2: Same as
实施例3:与实施例1相同,不同的是所述的所述的刀架11在中置转轴7上设有五个,且在每个刀架上设有6个切割刀片。Embodiment 3: the same as
实施例4:与实施例1相同,不同的是所述的所述的刀架11在中置转轴7上设有八个,且在每个刀架上设有10个切割刀片。Embodiment 4: Same as
以上所述仅为本实用新型的较佳实施例,并不用以限制本实用新型,凡在本实用新型的精神和原则之内,所作的任何修改、等同替换、改进等,均应包含在本实用新型的保护范围之内。The above descriptions are only preferred embodiments of the present utility model, and are not intended to limit the present utility model. Any modifications, equivalent replacements, improvements, etc. made within the spirit and principles of the present utility model shall be included in this utility model. within the scope of protection of utility models.
Claims (5)
Priority Applications (1)
| Application Number | Priority Date | Filing Date | Title |
|---|---|---|---|
| CN 201220702346 CN202949734U (en) | 2012-12-18 | 2012-12-18 | Vertical shaft type corn stalk filament-rubbing machine |
Applications Claiming Priority (1)
| Application Number | Priority Date | Filing Date | Title |
|---|---|---|---|
| CN 201220702346 CN202949734U (en) | 2012-12-18 | 2012-12-18 | Vertical shaft type corn stalk filament-rubbing machine |
Publications (1)
| Publication Number | Publication Date |
|---|---|
| CN202949734U true CN202949734U (en) | 2013-05-29 |
Family
ID=48455338
Family Applications (1)
| Application Number | Title | Priority Date | Filing Date |
|---|---|---|---|
| CN 201220702346 Expired - Fee Related CN202949734U (en) | 2012-12-18 | 2012-12-18 | Vertical shaft type corn stalk filament-rubbing machine |
Country Status (1)
| Country | Link |
|---|---|
| CN (1) | CN202949734U (en) |
Cited By (4)
| Publication number | Priority date | Publication date | Assignee | Title |
|---|---|---|---|---|
| CN103583167A (en) * | 2013-11-13 | 2014-02-19 | 中机美诺科技股份有限公司 | Shredding and rubbing device for silage harvester |
| CN104186131A (en) * | 2014-09-12 | 2014-12-10 | 苏州市汇峰机械设备有限公司 | Corn stalk cutting machine |
| CN104285613A (en) * | 2014-06-26 | 2015-01-21 | 上海海洋大学 | Vertical type multistage straw pulverizer |
| CN109168668A (en) * | 2018-08-01 | 2019-01-11 | 盛世瑶兰(深圳)科技有限公司 | A kind of straw millstone and its fuel processing system for bio-fuel processing |
-
2012
- 2012-12-18 CN CN 201220702346 patent/CN202949734U/en not_active Expired - Fee Related
Cited By (6)
| Publication number | Priority date | Publication date | Assignee | Title |
|---|---|---|---|---|
| CN103583167A (en) * | 2013-11-13 | 2014-02-19 | 中机美诺科技股份有限公司 | Shredding and rubbing device for silage harvester |
| CN103583167B (en) * | 2013-11-13 | 2015-07-08 | 中机美诺科技股份有限公司 | Shredding and rubbing device for silage harvester |
| CN104285613A (en) * | 2014-06-26 | 2015-01-21 | 上海海洋大学 | Vertical type multistage straw pulverizer |
| CN104285613B (en) * | 2014-06-26 | 2016-01-27 | 上海海洋大学 | Vertical multi-stage stalk crasher |
| CN104186131A (en) * | 2014-09-12 | 2014-12-10 | 苏州市汇峰机械设备有限公司 | Corn stalk cutting machine |
| CN109168668A (en) * | 2018-08-01 | 2019-01-11 | 盛世瑶兰(深圳)科技有限公司 | A kind of straw millstone and its fuel processing system for bio-fuel processing |
Similar Documents
| Publication | Publication Date | Title |
|---|---|---|
| CN205491839U (en) | Novel machine is rubbed to forage grass | |
| CN202949734U (en) | Vertical shaft type corn stalk filament-rubbing machine | |
| CN203827754U (en) | Collecting machine for smashing straw twice | |
| CN204014542U (en) | A kind of threshing cylinder of all feeding-in combine | |
| CN206333039U (en) | Wind spraying aid type wire kneading machine | |
| CN202555342U (en) | Integrated machine for traditional Chinese medicine cutting and pulverizing | |
| CN106863408A (en) | Circular arc blade leaf chopping machine | |
| CN107042922A (en) | A kind of Bag fertilizer breaker | |
| CN103960747A (en) | Peanut lifting and shelling all-in-one machine | |
| CN203913301U (en) | Peanut promotes shelling all-in-one | |
| CN208708194U (en) | Crop straw hollow cutting machine | |
| CN203692003U (en) | Straw filament-rubbing and crushing machine provided with cutter device | |
| CN201415149Y (en) | Conveyor feeder for feeding pulverizers | |
| CN205757099U (en) | A kind of new and effective Semen Juglandis green grass or young crops shell stripping machine | |
| CN204168801U (en) | A kind of stalk crasher | |
| CN203187021U (en) | Combined screw conveying device | |
| CN207185560U (en) | A kind of feeding device of cowboying | |
| CN202653097U (en) | Fresh tea leaf roll cutting machine | |
| CN202037632U (en) | Household electric vegetable cutter | |
| CN204168799U (en) | Filament-rubbing machine of crop straw | |
| CN209030648U (en) | A kind of waste material recovery device of farm buildings | |
| CN206590216U (en) | A kind of Bag fertilizer breaker | |
| CN203884254U (en) | Drum-type hay cutter | |
| CN206406119U (en) | A kind of food filament cutter | |
| CN207369637U (en) | Herbage dries cutting all-in-one machine |
Legal Events
| Date | Code | Title | Description |
|---|---|---|---|
| C14 | Grant of patent or utility model | ||
| GR01 | Patent grant | ||
| C17 | Cessation of patent right | ||
| CF01 | Termination of patent right due to non-payment of annual fee |
Granted publication date: 20130529 Termination date: 20131218 |
