CN202948389U - Semiconductor central processing unit (CPU) radiator - Google Patents

Semiconductor central processing unit (CPU) radiator Download PDF

Info

Publication number
CN202948389U
CN202948389U CN 201220499103 CN201220499103U CN202948389U CN 202948389 U CN202948389 U CN 202948389U CN 201220499103 CN201220499103 CN 201220499103 CN 201220499103 U CN201220499103 U CN 201220499103U CN 202948389 U CN202948389 U CN 202948389U
Authority
CN
China
Prior art keywords
semiconductor
heat conduction
conduction copper
radiator
cpu
Prior art date
Legal status (The legal status is an assumption and is not a legal conclusion. Google has not performed a legal analysis and makes no representation as to the accuracy of the status listed.)
Expired - Fee Related
Application number
CN 201220499103
Other languages
Chinese (zh)
Inventor
杨立
Current Assignee (The listed assignees may be inaccurate. Google has not performed a legal analysis and makes no representation or warranty as to the accuracy of the list.)
SICHUAN AOGE TECHNOLOGY Co Ltd
Original Assignee
SICHUAN AOGE TECHNOLOGY Co Ltd
Priority date (The priority date is an assumption and is not a legal conclusion. Google has not performed a legal analysis and makes no representation as to the accuracy of the date listed.)
Filing date
Publication date
Application filed by SICHUAN AOGE TECHNOLOGY Co Ltd filed Critical SICHUAN AOGE TECHNOLOGY Co Ltd
Priority to CN 201220499103 priority Critical patent/CN202948389U/en
Application granted granted Critical
Publication of CN202948389U publication Critical patent/CN202948389U/en
Anticipated expiration legal-status Critical
Expired - Fee Related legal-status Critical Current

Links

Images

Landscapes

  • Cooling Or The Like Of Semiconductors Or Solid State Devices (AREA)

Abstract

The utility model discloses a semiconductor central processing unit (CPU) radiator which comprises a semiconductor refrigeration slice, a fan, a cooling fin, a refrigeration support frame and a heat conduction copper block. A contact block which is the same with a contact face of a CPU chip in size is arranged on the lower end face of the heat conduction copper block. The heat conduction copper block and the semiconductor refrigeration slice are installed in the refrigeration support frame. Two ends of the heat conduction copper block are connected with the refrigeration support frame through threads. A cold end face of the semiconductor refrigeration slice is attached to the heat conduction copper block, and the cooling fin is welded on a hot end face of the semiconductor refrigeration slice. The fan is fixed on the refrigeration support frame through a fan cover. According to the semiconductor CPU radiator, active cooling can be achieved through utilization of semiconductor refrigeration, temperature of a machine case is effectively reduced to be below environment temperature, and the semiconductor CPU radiator has the advantages of being small in size, light in weight, compact in structure, high in radiating efficiency, and the like.

Description

Semiconductor CPU radiator
Technical field
The utility model relates to a kind of heating radiator, relates in particular to a kind of semiconductor CPU radiator.
Background technology
CPU (central processing unit) is the main parts in computing machine, is also simultaneously maximum heater members (power reaches 100 watts of left and right), so, need to effectively dispel the heat to CPU.Known cpu heat belongs to passive heat radiation mostly, cabinet can only be reduced to environment temperature at most, utilize fan that the heat of heat radiator is blown away by the air that flows, too high if there is environment temperature or draw badly situation, the temperature of CPU is easily assembled rising, affects its work efficiency, and fan long-play rotating speed reduces, control of dust easily occurs, noise becomes large phenomenon.
Summary of the invention
The purpose of this utility model just is to provide in order to address the above problem a kind of compact conformation, semiconductor CPU radiator that radiating efficiency is high.
The utility model is achieved through the following technical solutions above-mentioned purpose:
The utility model comprises semiconductor chilling plate, fan, heat radiator, refrigeration support and heat conduction copper billet, described heat conduction copper billet lower surface is provided with and the equal-sized contact block of cpu chip surface of contact, described heat conduction copper billet and described semiconductor chilling plate are arranged in the refrigeration support, described heat conduction copper billet two ends are threaded connection with the refrigeration support, the cold junction face of described semiconductor chilling plate and described heat conduction copper billet are fitted, the hot junction face of described semiconductor chilling plate is welded with described heat radiator, and described fan is fixed on the refrigeration support by fan cover.
Particularly, be provided with the groove that agrees with described semiconductor chilling plate in described refrigeration support.
Particularly, be provided with the thermal conductive silicon glue-line between described heat conduction copper billet and described semiconductor chilling plate cold junction face.
Particularly, described heat radiator undulate or zigzag structure.
Particularly, the radiating surface of described fan and described heat radiator is rectangular.
Particularly, be provided with thermal insulation board around the contact block of described radiator base.
The beneficial effects of the utility model are:
The utility model can utilize semiconductor refrigerating to realize active heat removal, effectively housing temperature is reduced to below environment temperature, has that volume is little, lightweight, a compact conformation, radiating efficiency advantages of higher.
Description of drawings
Fig. 1 is vertical view of the present utility model
Fig. 2 is left view of the present utility model.
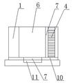
In figure: the 1-support that freezes, 2-fan, 3-fan cover, 4-heat radiator, 5-semiconductor chilling plate, 6-heat conduction copper billet, 7-contact block, 8-bolt, 9-groove, 10-thermal insulation board, 11-CPU chip.
Embodiment
The utility model is described in further detail below in conjunction with accompanying drawing:
as shown in Figure 1, the utility model comprises semiconductor chilling plate 5, fan 2, heat radiator 4, refrigeration support 1 and heat conduction copper billet 6, described heat conduction copper billet 6 lower surfaces be provided with the projection with the cpu chip 11 equal-sized contact blocks 7 of surface of contact, described heat conduction copper billet 6 and described semiconductor chilling plate 5 are arranged in refrigeration support 1, described heat conduction copper billet 6 two ends are threaded connection with refrigeration support 1, the cold junction face of described semiconductor chilling plate 1 and described heat conduction copper billet 6 are fitted, the described heat radiator 4 of hot junction face welding of described semiconductor chilling plate 5, described fan 2 is fixed on refrigeration support 1 and is connected with heat radiator 4 by fan cover 3.
As shown in Figure 1, be provided with the groove 9 that agrees with described semiconductor chilling plate 4 in described refrigeration support 1, be provided with the thermal conductive silicon glue-line between described heat conduction copper billet 6 and semiconductor chilling plate 5 cold junction faces, described heat radiator 4 undulates or zigzag structure, described fan 2 is rectangular with the radiating surface of described heat radiator 4, is provided with thermal insulation board 10 around the contact block 7 of described radiator base.

Claims (6)

1. semiconductor CPU radiator, it is characterized in that: comprise semiconductor chilling plate, fan, heat radiator, refrigeration support and heat conduction copper billet, described heat conduction copper billet lower surface is provided with and the equal-sized contact block of cpu chip surface of contact, described heat conduction copper billet and described semiconductor chilling plate are arranged in the refrigeration support, described heat conduction copper billet two ends are threaded connection with the refrigeration support, the cold junction face of described semiconductor chilling plate and described heat conduction copper billet are fitted, the hot junction face of described semiconductor chilling plate is welded with described heat radiator, described fan is fixed on the refrigeration support by fan cover.
2. a kind of semiconductor CPU radiator according to claim 1, is characterized in that: be provided with the groove that agrees with described semiconductor chilling plate in described refrigeration support.
3. a kind of semiconductor CPU radiator according to claim 1, is characterized in that: be provided with the thermal conductive silicon glue-line between described heat conduction copper billet and described semiconductor chilling plate cold junction face.
4. a kind of semiconductor CPU radiator according to claim 1, is characterized in that: described heat radiator undulate or zigzag structure.
5. according to claim 1 or 4 described a kind of semiconductor CPU radiators, it is characterized in that: the radiating surface of described fan and described heat radiator is rectangular.
6. a kind of semiconductor CPU radiator according to claim 1, is characterized in that: be provided with thermal insulation board around described contact block.
CN 201220499103 2012-09-28 2012-09-28 Semiconductor central processing unit (CPU) radiator Expired - Fee Related CN202948389U (en)

Priority Applications (1)

Application Number Priority Date Filing Date Title
CN 201220499103 CN202948389U (en) 2012-09-28 2012-09-28 Semiconductor central processing unit (CPU) radiator

Applications Claiming Priority (1)

Application Number Priority Date Filing Date Title
CN 201220499103 CN202948389U (en) 2012-09-28 2012-09-28 Semiconductor central processing unit (CPU) radiator

Publications (1)

Publication Number Publication Date
CN202948389U true CN202948389U (en) 2013-05-22

Family

ID=48424084

Family Applications (1)

Application Number Title Priority Date Filing Date
CN 201220499103 Expired - Fee Related CN202948389U (en) 2012-09-28 2012-09-28 Semiconductor central processing unit (CPU) radiator

Country Status (1)

Country Link
CN (1) CN202948389U (en)

Cited By (5)

* Cited by examiner, † Cited by third party
Publication number Priority date Publication date Assignee Title
CN104216491A (en) * 2014-09-23 2014-12-17 苏州云舒新材料科技有限公司 Computer CPU (Central Processing Unit) raised heat radiation structure
CN106297856A (en) * 2016-08-16 2017-01-04 陈玮彤 A kind of hard vibration heat-radiation bracket
WO2018032315A1 (en) * 2016-08-16 2018-02-22 陈玮彤 Anti-vibration heat dissipation bracket for hard disk drive
WO2020088452A1 (en) * 2018-10-29 2020-05-07 苏州乐梦光电科技有限公司 Chip heat dissipation apparatus and projection device
CN111309118A (en) * 2020-03-24 2020-06-19 河南工业贸易职业学院 Water-cooling efficient heat dissipation mainboard mechanism for computer

Cited By (6)

* Cited by examiner, † Cited by third party
Publication number Priority date Publication date Assignee Title
CN104216491A (en) * 2014-09-23 2014-12-17 苏州云舒新材料科技有限公司 Computer CPU (Central Processing Unit) raised heat radiation structure
CN104216491B (en) * 2014-09-23 2017-08-25 青岛鸿润伟业散热科技有限公司 A kind of raised radiator structure of computer CPU
CN106297856A (en) * 2016-08-16 2017-01-04 陈玮彤 A kind of hard vibration heat-radiation bracket
WO2018032315A1 (en) * 2016-08-16 2018-02-22 陈玮彤 Anti-vibration heat dissipation bracket for hard disk drive
WO2020088452A1 (en) * 2018-10-29 2020-05-07 苏州乐梦光电科技有限公司 Chip heat dissipation apparatus and projection device
CN111309118A (en) * 2020-03-24 2020-06-19 河南工业贸易职业学院 Water-cooling efficient heat dissipation mainboard mechanism for computer

Similar Documents

Publication Publication Date Title
CN202085437U (en) A cooling device for an inverter air conditioner
CN103699191A (en) Semiconductor water-cooling central processing unit (CPU) radiator
CN208208927U (en) A kind of lithium battery temperature control device based on semiconductor chilling plate
CN202887087U (en) Semiconductor central processing unit (CPU) radiator having heat insulation protection
CN202948389U (en) Semiconductor central processing unit (CPU) radiator
CN104679175A (en) Dustproof radiating machine case
CN202887086U (en) Side-blown water-cooled central processing unit (CPU) radiator
CN205648307U (en) Water cooling device used for cooling electronic device
CN102997353B (en) Solar electronic air conditioner and manufacture method thereof
CN203446167U (en) A water-cooled electric control box
CN209168016U (en) A kind of built-in notebook computer radiating device with high heat dispersion
CN204739708U (en) A structure of semiconductor refrigeration and air conditioning
CN203480400U (en) Water-cooling radiating device for flat computer
CN203136189U (en) PTC heat pipe heater
CN202975946U (en) Semiconductor water cooling CPU heat radiator
CN205830244U (en) A dual cooling integrated system for electric vehicle control system
CN202813870U (en) Heat dissipation device of semiconductor cooler
CN202949128U (en) Radiator and laser with the radiator
CN106766346B (en) Circulating water-cooled heat dissipation semiconductor refrigerating system
CN206097028U (en) Electric wire netting access control system based on cloud platform
CN203772085U (en) High-power radiator
CN204390151U (en) A kind of air-cooled heat-pipe radiator
CN204613835U (en) A kind of dustproof heat dissipation cabinet
CN211345921U (en) Heat radiation structure of photomultiplier detection unit
CN205946478U (en) A cooling system and server room that is arranged in computer lab server

Legal Events

Date Code Title Description
C14 Grant of patent or utility model
GR01 Patent grant
C17 Cessation of patent right
CF01 Termination of patent right due to non-payment of annual fee

Granted publication date: 20130522

Termination date: 20130928