CN202947583U - 一种涡轮壳位置度检具 - Google Patents
一种涡轮壳位置度检具 Download PDFInfo
- Publication number
- CN202947583U CN202947583U CN 201220608025 CN201220608025U CN202947583U CN 202947583 U CN202947583 U CN 202947583U CN 201220608025 CN201220608025 CN 201220608025 CN 201220608025 U CN201220608025 U CN 201220608025U CN 202947583 U CN202947583 U CN 202947583U
- Authority
- CN
- China
- Prior art keywords
- measuring
- base plate
- seat
- turbine case
- measured
- Prior art date
- Legal status (The legal status is an assumption and is not a legal conclusion. Google has not performed a legal analysis and makes no representation as to the accuracy of the status listed.)
- Expired - Fee Related
Links
- 238000001514 detection method Methods 0.000 claims abstract description 26
- 238000012360 testing method Methods 0.000 claims description 11
- 238000010923 batch production Methods 0.000 abstract description 3
- 238000000034 method Methods 0.000 abstract description 3
- 238000010586 diagram Methods 0.000 description 3
- 230000009286 beneficial effect Effects 0.000 description 1
- 238000005516 engineering process Methods 0.000 description 1
- 230000001815 facial effect Effects 0.000 description 1
- 238000003780 insertion Methods 0.000 description 1
- 230000037431 insertion Effects 0.000 description 1
- 238000003754 machining Methods 0.000 description 1
- 238000005259 measurement Methods 0.000 description 1
- 238000012549 training Methods 0.000 description 1
Images
Landscapes
- Length Measuring Devices With Unspecified Measuring Means (AREA)
Abstract
本实用新型提供了一种涡轮壳位置度检具,其能提高检测效率,适用于批量生产过程中的快速检测环节,且降低对检测人员的使用要求,进一步降低了检测成本。其包括底板,位于底板底面、底板四角安装有底脚,其特征在于:其包括限位结构和位置度检测结构,限位结构和位置度检测结构垂直安装于底板,位置度检测结构包括测量座、粗定位子、调节螺钉和千分表测量体,测量座通过螺栓垂直安装于底板,测量座横向与纵向各开有两个检测通孔,检测通孔插装有测量套,粗定位子安装于测量座面向待检测涡轮壳一侧,测量座、粗定位子下方设有螺纹孔,调节螺钉安装于螺纹孔内,待测涡轮壳通过限位结构安装于底板、其出气面一端朝向测量座。
Description
技术领域
本实用新型涉及增压器涡轮壳检测技术领域,具体涉及一种涡轮壳位置度检具。
背景技术
传统增压器涡轮壳位置度尺寸检验需采用三坐标检测机进行检验,测量精度高,能准确测出被测要素与图纸要求之间的数据偏差,但测量时间长,检测效率低,无法满足批量生产过程中的快速检测要求,同时对检测人员使用要求高,需经过三坐标检测方法以及仪器使用的系统培训,才能对三坐标检测机进行使用、检测,检测成本高。
发明内容
针对上述问题,本实用新型提供了一种涡轮壳位置度检具,其能提高检测效率,适用于批量生产过程中的快速检测环节,且降低对检测人员的使用要求,进一步降低了检测成本。
其技术方案是这样的,一种涡轮壳位置度检具,其包括底板,位于所述底板底面、底板四角安装有底脚,其特征在于:其包括限位结构和位置度检测结构,所述限位结构和所述位置度检测结构垂直安装于底板,所述位置度检测结构包括测量座、粗定位子、调节螺钉和千分表测量体,所述测量座通过螺栓垂直安装于所述底板,所述测量座横向与纵向各开有两个检测通孔,所述检测通孔插装有测量套,所述粗定位子安装于所述测量座面向待检测涡轮壳一侧,所述测量座、所述粗定位子下方设有螺纹孔,所述调节螺钉安装于螺纹孔内,所述待测涡轮壳通过限位结构安装于所述底板、其出气面一端朝向所述测量座。
其进一步特征在于:
所述限位结构包括基准座、定位柱和螺杆,所述底板、位于所述测量座一侧开有基准孔,所述基准座垂直安装于所述基准孔,所述定位柱垂直安装于所述基准座,所述定位柱和所述基准座中心开有连接孔,所述待测涡轮壳位于所述基准座上、其结合面由所述定位柱定位,所述螺杆依次连接所述待测涡轮壳、所述定位柱和所述基准座,所述螺杆一端通过垫片与螺栓定位于底板底部,所述螺杆位于待测涡轮壳一端用压紧片和螺母紧固待测涡轮壳;
所述千分表测量体包括千分表、夹持套、夹紧圈、加长测杆和加长测杆套,所述加长测杆套沿轴线开有导向孔,所述导向孔一端设有台阶,所述千分表测杆套通过夹持套安装于所述加长测杆套其台阶,所述千分表测杆套与所述夹持套之间用夹紧圈夹紧,所述加长测杆插装于所述加长测杆套,所述加长测杆套、位于垂直于其侧壁方向开有定位孔,所述加长测杆对应定位孔开有定位槽,所述定位槽宽度大于所述定位孔内径,所述定位孔内插装有定位销,所述定位销一端插入定位槽。
其更进一步特征在于:
所述底板和所述基准座开有连通的定位孔,所述定位孔对应待测涡轮壳底部通孔,并用检测销定位。
采用本实用新型结构后,其有益效果在于:检测时,将涡轮壳结合面定位于定位柱上、并用定位销定位,涡轮壳出气面朝向测量座,涡轮壳近期面一端用压紧片和螺母紧固,位于测量座纵向方向的两个孔内插入千分表测量体,如果千分表视数不一致,调节调节螺钉,使其一致,这时,涡壳出气面与水平面保持垂直,再在测量座横向方向两个孔插入千分表测量体,如果视数不一致,则表示涡壳出气面平面度不好;其使用检测迅速、提高了检测效率,适用于涡壳批量加工过程中的快速检验,而且其操作简单,降低了对检测人员的使用要求,进一步降低了检测成本。
附图说明
图1为本实用新型结构示意图;
图2为本实用新型俯视结构示意图;
图3为本实用新型测量座左视结构示意图;
图4为本实用新型中千分表测量体结构示意图。
具体实施方式
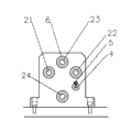
见图1、图2、图3和图4,一种涡轮壳位置度检具,其包括底板2,位于底板2底面、底板四角安装有底脚1,其包括限位结构和位置度检测结构,限位结构和位置度检测结构垂直安装于底板2,位置度检测结构包括测量座3、粗定位子5、调节螺钉4和千分表测量体,测量座3通过螺栓垂直安装于底板2,测量座3横向开有两个检测通孔21、22、测量座3纵向开有两检测通孔23、24,检测通孔插装有测量套6,粗定位子5安装于测量座3面向待检测涡轮壳一侧,测量座3、粗定位子下方设有螺纹孔,调节螺钉4安装于螺纹孔内,待测涡轮壳13通过限位结构安装于底板2、其出气面一端朝向测量座3;
限位结构包括基准座8、定位柱11和螺杆20,底板2、位于测量座3一侧开有基准孔,基准座8垂直安装于基准孔,定位柱11垂直安装于基准座8,定位柱11和基准座8中心开有连接孔,待测涡轮壳13位于基准座8上、其结合面由定位柱11定位,螺杆20依次连接待测涡轮壳13、定位柱11和基准座8,螺杆20一端通过垫片12与螺栓定位于底板底部,螺杆20位于待测涡轮壳13一端用压紧片9和螺母10紧固待测涡轮壳13;
千分表测量体包括千分表14、夹持套15、夹紧圈16、加长测杆19和加长测杆套17,加长测杆套17沿轴线开有导向孔,导向孔一端设有台阶,千分表14测杆套通过夹持套15安装于加长测杆套17其台阶,千分表14测杆套与夹持套15之间用夹紧圈16夹紧,加长测杆19插装于加长测杆套17,加长测杆套17、位于垂直于其侧壁方向开有定位孔,加长测杆17对应定位孔开有定位槽,定位槽宽度大于定位孔内径,定位孔内插装有定位销18,定位销18一端插入定位槽;
底板2和基准座8开有连通的定位孔,定位孔对应待测涡轮壳13底部通孔,并用检测销7定位。
Claims (4)
1.一种涡轮壳位置度检具,其包括底板,位于所述底板底面、底板四角安装有底脚,其特征在于:其包括限位结构和位置度检测结构,所述限位结构和所述位置度检测结构垂直安装于底板,所述位置度检测结构包括测量座、粗定位子、调节螺钉和千分表测量体,所述测量座通过螺栓垂直安装于所述底板,所述测量座横向与纵向各开有两个检测通孔,所述检测通孔插装有测量套,所述粗定位子安装于所述测量座面向待检测涡轮壳一侧,所述测量座、所述粗定位子下方设有螺纹孔,所述调节螺钉安装于螺纹孔内,所述待测涡轮壳通过限位结构安装于所述底板、其出气面一端朝向所述测量座。
2.根据权利要求1所述的一种涡轮壳位置度检具,其特征在于:所述限位结构包括基准座、定位柱和螺杆,所述底板、位于所述测量座一侧开有基准孔,所述基准座垂直安装于所述基准孔,所述定位柱垂直安装于所述基准座,所述定位柱和所述基准座中心开有连接孔,所述待测涡轮壳位于所述基准座上、其结合面由所述定位柱定位,所述螺杆依次连接所述待测涡轮壳、所述定位柱和所述基准座,所述螺杆一端通过垫片与螺栓定位于底板底部,所述螺杆位于待测涡轮壳一端用压紧片和螺母紧固待测涡轮壳。
3.根据权利要求1所述的一种涡轮壳位置度检具,其特征在于:所述千分表测量体包括千分表、夹持套、夹紧圈、加长测杆和加长测杆套, 所述加长测杆套沿轴线开有导向孔,所述导向孔一端设有台阶,所述千分表测杆套通过夹持套安装于所述加长测杆套其台阶,所述千分表测杆套与所述夹持套之间用夹紧圈夹紧,所述加长测杆插装于所述加长测杆套,所述加长测杆套、位于垂直于其侧壁方向开有定位孔,所述加长测杆对应定位孔开有定位槽,所述定位槽宽度大于所述定位孔内径,所述定位孔内插装有定位销,所述定位销一端插入定位槽。
4.根据权利要求2所述的一种涡轮壳位置度检具,其特征在于:所述底板和所述基准座开有连通的定位孔,所述定位孔对应待测涡轮壳底部通孔,并用检测销定位。
Priority Applications (1)
| Application Number | Priority Date | Filing Date | Title |
|---|---|---|---|
| CN 201220608025 CN202947583U (zh) | 2012-11-18 | 2012-11-18 | 一种涡轮壳位置度检具 |
Applications Claiming Priority (1)
| Application Number | Priority Date | Filing Date | Title |
|---|---|---|---|
| CN 201220608025 CN202947583U (zh) | 2012-11-18 | 2012-11-18 | 一种涡轮壳位置度检具 |
Publications (1)
| Publication Number | Publication Date |
|---|---|
| CN202947583U true CN202947583U (zh) | 2013-05-22 |
Family
ID=48423282
Family Applications (1)
| Application Number | Title | Priority Date | Filing Date |
|---|---|---|---|
| CN 201220608025 Expired - Fee Related CN202947583U (zh) | 2012-11-18 | 2012-11-18 | 一种涡轮壳位置度检具 |
Country Status (1)
| Country | Link |
|---|---|
| CN (1) | CN202947583U (zh) |
Cited By (2)
| Publication number | Priority date | Publication date | Assignee | Title |
|---|---|---|---|---|
| CN102980464A (zh) * | 2012-11-18 | 2013-03-20 | 无锡麦铁精密机械制造有限公司 | 涡轮壳位置度检具 |
| CN107627153A (zh) * | 2017-10-25 | 2018-01-26 | 东风设备制造有限公司 | 凸轮轴定位夹紧用端面气检装置 |
-
2012
- 2012-11-18 CN CN 201220608025 patent/CN202947583U/zh not_active Expired - Fee Related
Cited By (3)
| Publication number | Priority date | Publication date | Assignee | Title |
|---|---|---|---|---|
| CN102980464A (zh) * | 2012-11-18 | 2013-03-20 | 无锡麦铁精密机械制造有限公司 | 涡轮壳位置度检具 |
| CN107627153A (zh) * | 2017-10-25 | 2018-01-26 | 东风设备制造有限公司 | 凸轮轴定位夹紧用端面气检装置 |
| CN107627153B (zh) * | 2017-10-25 | 2024-01-09 | 东风设备制造有限公司 | 凸轮轴定位夹紧用端面气检装置 |
Similar Documents
| Publication | Publication Date | Title |
|---|---|---|
| CN102980464A (zh) | 涡轮壳位置度检具 | |
| CN111872743B (zh) | 卧式加工中心热致直线度-垂直度误差检测装置及其方法 | |
| CN102967211B (zh) | 发动机连接支架位置度检测量具 | |
| CN202002592U (zh) | 中间壳跳动检具 | |
| CN202947582U (zh) | 一种转向连接件位置度检具 | |
| CN102967252A (zh) | 连接支架固定面平面度检具 | |
| CN202947583U (zh) | 一种涡轮壳位置度检具 | |
| CN204154213U (zh) | 一种增压器涡轮壳的出气端连接槽的跳动度的检具 | |
| CN202734787U (zh) | 发动机皮带轮系共面度检具 | |
| CN203116688U (zh) | 偏心套偏心量平行度检具 | |
| CN203572381U (zh) | 一种涡轮壳的综合检具 | |
| CN205957845U (zh) | 汽车转向节综合检具 | |
| CN203893769U (zh) | 一种转向器壳体位置度检具 | |
| CN102980465A (zh) | 马达后盖位置度检具 | |
| CN206339216U (zh) | 一种微高度差检测装置 | |
| CN202947593U (zh) | 一种发动机连接支架位置度检测量具 | |
| CN205664765U (zh) | 用于汽车零件形面的检测装置 | |
| CN204154215U (zh) | 一种增压器涡轮壳的综合位置度检具 | |
| CN203657643U (zh) | 一种汽车引擎的法兰件的检测结构 | |
| CN201885666U (zh) | 一种面型检定仪 | |
| CN203603179U (zh) | 一种静载试验位移传感器安装装置 | |
| CN103398647B (zh) | 一种用于测量零件上点与截面间距离的方法 | |
| CN202947676U (zh) | 一种连接支架固定面平面度检具 | |
| CN206556537U (zh) | 管件孔位检测机构 | |
| CN201392164Y (zh) | 一种用于叶片中心孔测量的检测专用测具 |
Legal Events
| Date | Code | Title | Description |
|---|---|---|---|
| C14 | Grant of patent or utility model | ||
| GR01 | Patent grant | ||
| C17 | Cessation of patent right | ||
| CF01 | Termination of patent right due to non-payment of annual fee |
Granted publication date: 20130522 Termination date: 20131118 |