CN202946907U - Disposable gas storage cylinder body - Google Patents

Disposable gas storage cylinder body Download PDF

Info

Publication number
CN202946907U
CN202946907U CN 201220521455 CN201220521455U CN202946907U CN 202946907 U CN202946907 U CN 202946907U CN 201220521455 CN201220521455 CN 201220521455 CN 201220521455 U CN201220521455 U CN 201220521455U CN 202946907 U CN202946907 U CN 202946907U
Authority
CN
China
Prior art keywords
gland
gas storage
pipe
head
storage cylinder
Prior art date
Legal status (The legal status is an assumption and is not a legal conclusion. Google has not performed a legal analysis and makes no representation as to the accuracy of the status listed.)
Expired - Fee Related
Application number
CN 201220521455
Other languages
Chinese (zh)
Inventor
陈娟
施昱
Current Assignee (The listed assignees may be inaccurate. Google has not performed a legal analysis and makes no representation or warranty as to the accuracy of the list.)
Changzhou University
Original Assignee
Changzhou University
Priority date (The priority date is an assumption and is not a legal conclusion. Google has not performed a legal analysis and makes no representation as to the accuracy of the date listed.)
Filing date
Publication date
Application filed by Changzhou University filed Critical Changzhou University
Priority to CN 201220521455 priority Critical patent/CN202946907U/en
Application granted granted Critical
Publication of CN202946907U publication Critical patent/CN202946907U/en
Anticipated expiration legal-status Critical
Expired - Fee Related legal-status Critical Current

Links

Images

Landscapes

  • Filling Or Discharging Of Gas Storage Vessels (AREA)

Abstract

The utility model discloses a disposable gas storage cylinder body. A gas storage cylinder is composed of an upper gland (1), a pipe (3) and a lower gland (5), wherein the upper gland (1) is connected with the pipe (3) through a first soldered joint (2), the pipe (3) is connected with the lower gland (5) through a second soldered joint (4), the end part of the upper gland (1) is of a necking shape, and the end part of the lower gland (5) is a necking shape. The gas storage cylinder body in the technical scheme disclosed by the utility model is composed of two shallow glands and a section of pipe, under the condition of unchanging the total size, the material use rate is improved. Since the shallow gland replaces the deep tensile gland, the process difficulty of gland machining is lowered, the requirement on material and device is reduced, and the defective index of the parts is lowered.

Description

一次性储气瓶体Disposable gas cylinder

技术领域 technical field

本实用新型涉及一次性小型气瓶技术领域,具体涉及30盎司一次性气瓶的储气瓶体。  The utility model relates to the technical field of disposable small gas cylinders, in particular to a gas storage cylinder body of a 30-ounce disposable gas cylinder. the

背景技术 Background technique

30盎司一次性气瓶是国外大量使用气瓶。该产品由瓶体、充放阀等零件构成。其中瓶体由上下瓶壳体、阀座、底座等零件通过钎焊接头组焊成一体。该气瓶的气体储存在有两个较长直筒封头组成的瓶体内。  The 30-ounce disposable gas cylinder is a large number of gas cylinders used abroad. The product is composed of bottle body, filling and discharging valve and other parts. The bottle body is composed of upper and lower bottle shells, valve seats, bases and other parts through brazing joints. The gas in this gas cylinder is stored in a cylinder body composed of two long straight cylinder heads. the

两个较长直筒封头的加工过程为:用平板冲压出圆片;再将圆片拉伸成较长直筒封头结构;然后切除因拉伸造成的杯口不平部分;下封头通过缩口与上封头装配并通过钎焊接头形成储气瓶体。      The processing process of the two longer straight heads is as follows: punch out the disc with a flat plate; then stretch the disc into a longer straight head structure; then cut off the uneven part of the cup mouth caused by the stretching; The mouth is assembled with the upper head and the gas storage cylinder body is formed by brazing joints. ``

采用该结构的一次性储气瓶主要存在问题在于:由于较长直筒封头的原材料是用一个平板冲压出圆片,再将圆片拉伸成较长直筒封头。因此该零件加工会产生较多的废料,材料利用率较低。二是由于将圆片拉伸成较长直筒封头。是一个深拉伸的工艺过程。该工艺过程是一个对材料和设备都有较高要求的工艺过程,同时废品率也比较高。 The main problem of the disposable gas storage cylinder with this structure is that the raw material of the long straight cylinder head is punched out of a disc with a flat plate, and then the circle is stretched into a long straight cylinder head. Therefore, the processing of this part will produce more waste materials, and the material utilization rate is low. The second is due to stretching the wafer into a longer straight head. It is a deep drawing process. This process is a process that has high requirements for materials and equipment, and the scrap rate is relatively high.

发明内容 Contents of the invention

为了解决现有技术中的储气瓶加工过程中易于产生废弃料的,材料的利用率低的技术问题,本实用新型提供了一种新的一次性储气瓶。  In order to solve the technical problems of easy generation of waste materials and low utilization rate of materials in the processing process of the gas storage cylinder in the prior art, the utility model provides a new disposable gas storage cylinder. the

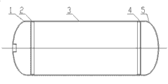
一次性储气瓶,所述储气瓶由上封头1、管子3和下封头5组成;所述上封头1和管子3通过第一钎焊接头2连接;所述管子3和下封头5通过第二钎焊接头4连接。  A disposable gas storage bottle, the gas storage bottle is composed of an upper head 1, a pipe 3 and a lower head 5; the upper head 1 and the pipe 3 are connected by a first brazing joint 2; the pipe 3 and the lower The head 5 is connected by a second solder joint 4 . the

所述上封头1端部为缩口形状,所述下封头5的端部为缩口形状。所述的上封头1、下封头5为浅封头。  The end of the upper head 1 is in the shape of a constriction, and the end of the lower head 5 is in the shape of a constriction. The upper sealing head 1 and the lower sealing head 5 are shallow sealing heads. the

本实用新型的技术方案中储气瓶体是由两个浅封头和一段管子组成,在总体尺寸不变的情况下,提高了材料利用率。该结构采用浅封头代替了深拉伸封头因此降低了封头加工的工艺难度;降低了材料和设备的要求;同时降低了零件的废品率。  In the technical solution of the utility model, the gas storage bottle body is composed of two shallow heads and a section of pipe, and the material utilization rate is improved under the condition that the overall size remains unchanged. The structure uses a shallow head instead of a deep-drawn head, thus reducing the technical difficulty of head processing; reducing the requirements for materials and equipment; and reducing the scrap rate of parts at the same time. the

附图说明 Description of drawings

图1为现有技术中一次性储气瓶的结构示意图。  Fig. 1 is a schematic structural diagram of a disposable gas storage bottle in the prior art. the

图中:6-阀座、7-瓶上部、8-钎焊接头a、9-瓶下部、10-钎焊接头b、11-底座  In the figure: 6-valve seat, 7-upper part of bottle, 8-brazing joint a, 9-bottom of bottle, 10-brazing joint b, 11-base

图2为本实用新型一次性储气瓶的结构示意图。 Fig. 2 is a schematic structural view of the disposable gas storage bottle of the present invention.

图中:1. 上封头、2.第一钎焊接头、3. 管子、4.第二钎焊接头、5. 下封头。  In the figure: 1. Upper head, 2. First brazed joint, 3. Pipe, 4. Second brazed joint, 5. Lower head. the

具体实施例 specific embodiment

   下面结合附图对本实用新型的一个具体实施例做进一步的说明。  Below in conjunction with accompanying drawing, a specific embodiment of the present utility model is described further. the

一次性储气瓶,所述储气瓶由上封头1、管子3和下封头5组成;所述上封头1和管子3通过第一钎焊接头2连接;所述管子3和下封头5通过第二钎焊接头4连接。所述上封头1端部为缩口形状,所述下封头5的端部为缩口形状。  A disposable gas storage bottle, the gas storage bottle is composed of an upper head 1, a pipe 3 and a lower head 5; the upper head 1 and the pipe 3 are connected by a first brazing joint 2; the pipe 3 and the lower The head 5 is connected by a second solder joint 4 . The end of the upper head 1 is in the shape of a constriction, and the end of the lower head 5 is in the shape of a constriction. the

Claims (4)

1.一次性储气瓶体,其特征在于:所述储气瓶由上封头(1)、管子(3)和下封头(5)组成;所述上封头(1)和管子(3)通过第一钎焊接头(2)连接;所述管子(3)和下封头(5)通过第二钎焊接头(4)连接。 1. Disposable gas storage bottle body, characterized in that: the gas storage bottle is composed of an upper head (1), a pipe (3) and a lower head (5); the upper head (1) and the pipe ( 3) Connected through the first brazing joint (2); the pipe (3) and the lower head (5) are connected through the second brazing joint (4). 2.根据权利要求1所述的一次性储气瓶体,其特征在于:所述上封头(1)端部为缩口形状。 2. The disposable gas cylinder body according to claim 1, characterized in that: the end of the upper head (1) is in the shape of a constriction. 3.根据权利要求1所述的一次性储气瓶体,其特征在于:所述下封头(5)的端部为缩口形状。 3. The disposable gas cylinder body according to claim 1, characterized in that: the end of the lower head (5) is in the shape of a constriction. 4.根据权利要求1至3任一项所述的一次性储气瓶体,其特征在于:所述的上封头(1)、下封头(5)为浅封头。  4. The disposable gas cylinder body according to any one of claims 1 to 3, characterized in that: the upper head (1) and the lower head (5) are shallow heads. the
CN 201220521455 2012-10-12 2012-10-12 Disposable gas storage cylinder body Expired - Fee Related CN202946907U (en)

Priority Applications (1)

Application Number Priority Date Filing Date Title
CN 201220521455 CN202946907U (en) 2012-10-12 2012-10-12 Disposable gas storage cylinder body

Applications Claiming Priority (1)

Application Number Priority Date Filing Date Title
CN 201220521455 CN202946907U (en) 2012-10-12 2012-10-12 Disposable gas storage cylinder body

Publications (1)

Publication Number Publication Date
CN202946907U true CN202946907U (en) 2013-05-22

Family

ID=48422609

Family Applications (1)

Application Number Title Priority Date Filing Date
CN 201220521455 Expired - Fee Related CN202946907U (en) 2012-10-12 2012-10-12 Disposable gas storage cylinder body

Country Status (1)

Country Link
CN (1) CN202946907U (en)

Cited By (1)

* Cited by examiner, † Cited by third party
Publication number Priority date Publication date Assignee Title
CN103343880A (en) * 2013-06-19 2013-10-09 苏州华福低温容器有限公司 Sleeve structure of outer container of low-temperature pressure vessel

Cited By (1)

* Cited by examiner, † Cited by third party
Publication number Priority date Publication date Assignee Title
CN103343880A (en) * 2013-06-19 2013-10-09 苏州华福低温容器有限公司 Sleeve structure of outer container of low-temperature pressure vessel

Similar Documents

Publication Publication Date Title
CN202946907U (en) Disposable gas storage cylinder body
CN203615602U (en) Liner of water heater
CN204197422U (en) A kind of automatic filling capping apparatus of cup drink
CN202144115U (en) Forming die for making large-volume soft infusion bag
CN201940765U (en) Steel pipe sheet tool
CN102294533A (en) titanium and titanium alloy welding process
CN202137521U (en) Double-hose orifice pipe welding mold with buffer grooves
CN201519737U (en) Multi-step riveting and forming equipment
CN203864015U (en) Rubber ring die
CN203348922U (en) Floating head heat exchanger pipe bunch pressing device
CN201461198U (en) Control loop structure for small vertical water turbine
CN204027777U (en) Rapid-acting coupling air-tightness detection device
CN202770311U (en) High-pressure air-cooled pipe box structure
CN202708458U (en) Buffer tank
CN203500710U (en) Extensional stainless steel flange
CN205003028U (en) Square cooler core hydrostatic test of group frock
CN204705455U (en) A kind of tool structure for single tube pressure testing
CN204235873U (en) Compressed air recovery equipment
CN203323946U (en) Vehicle-mounted bottle pressure test tool
CN202804110U (en) Round ingot skimming water device
CN202195742U (en) Heat pipe sealing structure
CN202571580U (en) Mash welder of tungsten rod electrode
CN209550869U (en) A spot welding nut device
CN204494927U (en) The Novel straw structure of reservoir
CN207259567U (en) A kind of titanium sponge production reactor

Legal Events

Date Code Title Description
C14 Grant of patent or utility model
GR01 Patent grant
CF01 Termination of patent right due to non-payment of annual fee

Granted publication date: 20130522

Termination date: 20151012

EXPY Termination of patent right or utility model