CN202942529U - Suction head for autoblood recovery - Google Patents
Suction head for autoblood recovery Download PDFInfo
- Publication number
- CN202942529U CN202942529U CN 201220685138 CN201220685138U CN202942529U CN 202942529 U CN202942529 U CN 202942529U CN 201220685138 CN201220685138 CN 201220685138 CN 201220685138 U CN201220685138 U CN 201220685138U CN 202942529 U CN202942529 U CN 202942529U
- Authority
- CN
- China
- Prior art keywords
- suction head
- blood
- anticoagulant
- red blood
- medicine
- Prior art date
- Legal status (The legal status is an assumption and is not a legal conclusion. Google has not performed a legal analysis and makes no representation as to the accuracy of the status listed.)
- Expired - Fee Related
Links
Images
Landscapes
- External Artificial Organs (AREA)
Abstract
一种用于自体血液回收的吸引头,包括吸引头和滴药管,所述吸引头的外壁上附着有至少一根所述滴药管,所述滴药管的出口与所述吸引头的吸液口处于同一平面,多根所述滴药管在所述吸引头的外壁上均匀排布,多根所述滴药管的末端汇合并且与抗凝药袋连接。本实用新型实现了术野血与抗凝剂的即时混合,并且减少空气的混合吸入,能够避免术野血在吸引头中凝血,有效减轻空气对红细胞的物理性破坏,最终有效保护红细胞,提高红细胞的回收。
A suction head for autologous blood recovery, comprising a suction head and a medicine dropper, at least one medicine dropper is attached to the outer wall of the suction head, the outlet of the medicine dropper is connected to the mouth of the suction head The liquid suction port is on the same plane, and the plurality of droppers are evenly arranged on the outer wall of the suction head, and the ends of the plurality of droppers converge and are connected with the anticoagulant bag. The utility model realizes the instant mixing of surgical wild blood and anticoagulant, and reduces the mixed inhalation of air, can prevent surgical wild blood from coagulating in the suction head, effectively reduces the physical damage of air to red blood cells, and finally effectively protects red blood cells and improves Red blood cell recovery.
Description
技术领域technical field
本实用新型涉及一种医疗器械,特别涉及用于自体血液回收的吸引头,适用于外科手术期间自体血液回收。The utility model relates to a medical device, in particular to a suction head for recycling autologous blood, which is suitable for autologous blood recycling during surgical operations.
背景技术Background technique
目前临床上广泛使用的一次性血液回收管道为双腔管,该管道由两部分组成,细管部分粘附在粗管上。细管为滴药管,其始端与抗凝药袋连接,其末端是抗凝剂出口。粗管为供血管,其末端与储血器连接,其始端与细管末端有一共同开口,此开口与吸引头相连。负压抽吸时,术野血必须经过吸引头,再进入双腔管的开口,始与抗凝剂混合并进入供血管。这种设计的缺点在于术野血不能与抗凝剂即时混合,容易在吸引头内就发生凝血产生血块;另外,负压抽吸时容易将空气与术野血混合吸入,空气在管道中对红细胞产生直接的物理性破坏,导致红细胞变形甚至溶血,从而降低红细胞回收的效率。At present, the disposable blood recovery pipeline widely used clinically is a double-lumen tube, which is composed of two parts, and the thin tube part is adhered to the thick tube. The thin tube is a medicine dropping tube, its beginning end is connected with the anticoagulant medicine bag, and its end is an anticoagulant outlet. The thick tube is a blood supply, the end of which is connected with the blood reservoir, and the beginning and end of the thin tube have a common opening, which is connected with the suction head. During negative pressure suction, the surgical field blood must pass through the suction head, then enter the opening of the double-lumen tube, and then mix with the anticoagulant and enter the blood supply. The disadvantage of this design is that the surgical field blood cannot be mixed with the anticoagulant immediately, and it is easy to coagulate and produce blood clots in the suction head; in addition, it is easy to mix air with the surgical field blood during negative pressure suction. The red blood cells produce direct physical damage, leading to red blood cell deformation and even hemolysis, thereby reducing the efficiency of red blood cell recovery.
实用新型内容Utility model content
本实用新型的目的在于克服现有技术的不足而提供一种结构简单、减少空气的混合吸入、能够避免术野血在吸引头中凝血,有效减轻空气对红细胞的物理性破坏,有效保护红细胞的一种用于自体血液回收的吸引头。The purpose of the utility model is to overcome the deficiencies of the prior art and provide a device with simple structure, which can reduce the mixed suction of air, can avoid blood coagulation in the suction head, effectively reduce the physical damage of air to red blood cells, and effectively protect red blood cells. A suction head for autologous blood salvage.
一种用于自体血液回收的吸引头,包括吸引头和滴药管,所述吸引头的外壁上连接有至少一根所述滴药管,所述滴药管的出口与所述吸引头的吸液口处于同一平面。A suction head for autologous blood recovery, comprising a suction head and a medicine drop tube, at least one medicine drop tube is connected to the outer wall of the suction head, and the outlet of the medicine drop tube is connected to the mouth of the suction head. The suction port is on the same plane.
多根所述滴药管在所述吸引头的外壁上均匀排布,多根所述滴药管的末端汇合并且与抗凝药袋连接。A plurality of the medicine dropping tubes are evenly arranged on the outer wall of the suction head, and the ends of the multiple medicine dropping tubes converge and are connected with the anticoagulant medicine bag.
由于采用上述结构,本实用新型具有如下优点:在传统吸引头上设计一个或多个滴药管,使得滴药管与吸引头吸液口于同一平面。当负压抽吸时,抗凝剂从滴药管流出,并很快与术野血共同被吸引头吸入,混合后进入供血管。这样一来,术野血在被抽吸的即刻便于抗凝剂相混合,可以避免术野血在吸引管内发生凝血。另外,抗凝剂在吸引头开口处形成液面,能够有效减少甚至避免空气的吸入,减轻空气对红细胞的破坏,提高回收红细胞的效率Due to the adoption of the above structure, the utility model has the following advantages: one or more medicine droppers are designed on the traditional suction head, so that the medicine dropper and the liquid suction port of the suction head are on the same plane. During negative pressure suction, the anticoagulant flows out from the dropper, and is quickly inhaled by the suction head together with the surgical wild blood, and enters the blood supply after mixing. In this way, it is convenient for the anticoagulant to mix with the surgical field blood immediately after being aspirated, which can prevent the surgical field blood from coagulating in the suction tube. In addition, the anticoagulant forms a liquid surface at the opening of the suction head, which can effectively reduce or even avoid the inhalation of air, reduce the damage of air to red blood cells, and improve the efficiency of red blood cell recovery
综上所述,本装置实现了术野血与抗凝剂的即时混合,并且减少空气的混合吸入,能够避免术野血在吸引头中凝血,有效减轻空气对红细胞的物理性破坏,最终有效保护红细胞,提高红细胞的回收。In summary, this device realizes the instant mixing of surgical blood and anticoagulant, and reduces the mixed inhalation of air, which can prevent surgical blood from coagulating in the suction head, effectively reduce the physical damage of air to red blood cells, and finally effectively Protects red blood cells and improves red blood cell recovery.
附图说明Description of drawings
图1为本实用新型的结构示意图;Fig. 1 is the structural representation of the utility model;
图2(a)为本实用新型的滴药管设置在所述吸引头上的结构示意图一;Fig. 2 (a) is a schematic diagram of the structure of the medicine dropper of the present invention arranged on the suction head;
图2(b)为本实用新型的滴药管设置在所述吸引头上的结构示意图二;Fig. 2(b) is a structural schematic diagram 2 in which the medicine dropper of the present invention is arranged on the suction head;
图2(c)为本实用新型的滴药管设置在所述吸引头上的结构示意图三;Fig. 2(c) is a structural schematic diagram III of the medicine dropper of the present invention arranged on the suction head;
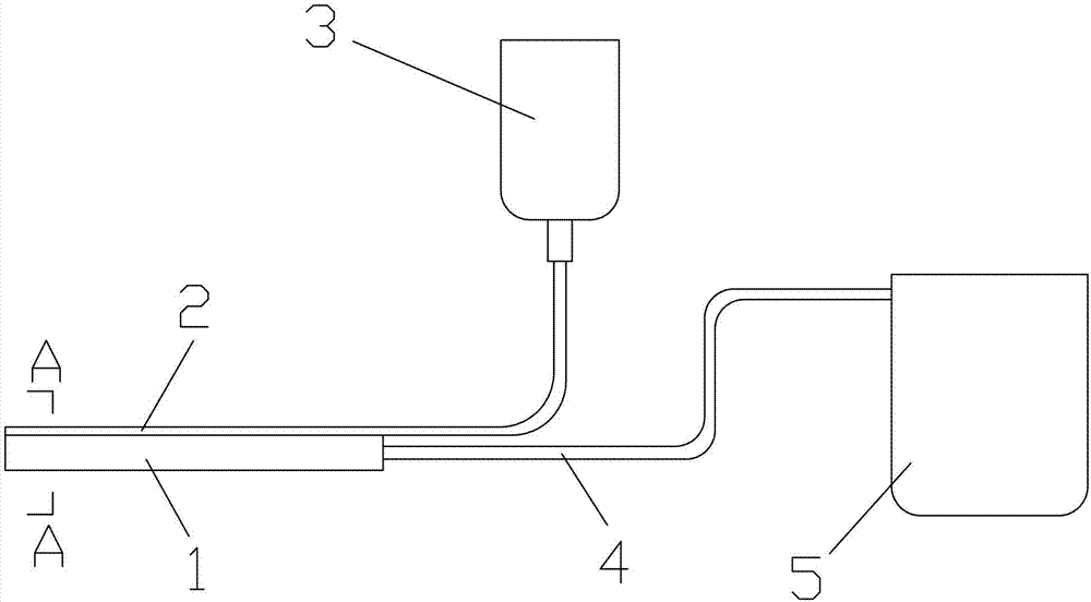
附图1至2中,1、吸引头,2、滴药管,3、抗凝药袋,4、供血管,5、储血罐。In accompanying
具体实施方式Detailed ways
下面结合附图,进一步详细说明本专利的具体实施方式。Below in conjunction with accompanying drawing, the specific implementation manner of this patent is described in further detail.
如图1至2所示,所述吸引头1附着有一个或多个滴药管2,滴药管2与吸引头1为一体成型,滴药管2的出口与吸引头1吸液口于同一平面,一个或多个滴药管2的末端汇合后与抗凝药袋3连接。吸引头1末端连接于供血管4,供血管4末端连至储血罐5。抗凝剂速度根据临床上具体情况调节。外界提供负压后,吸引头1在术野中抽吸,与此同时抗凝剂从滴药管2流出并很快被吸引头1吸进。术野血和抗凝剂混合后进入供血管4。最后进入储血罐5。As shown in Figures 1 to 2, the
图2为在不同结构下,图1A-A面的剖视图,如图2a所示,吸引头1带有一个滴药管2;如图2b所述吸引头1带有四个滴药管2;如图2c吸引头1带有八个滴药管2。Fig. 2 is a cross-sectional view of Fig. 1A-A under different structures. As shown in Fig. 2a, the
Claims (2)
Priority Applications (1)
| Application Number | Priority Date | Filing Date | Title |
|---|---|---|---|
| CN 201220685138 CN202942529U (en) | 2012-12-12 | 2012-12-12 | Suction head for autoblood recovery |
Applications Claiming Priority (1)
| Application Number | Priority Date | Filing Date | Title |
|---|---|---|---|
| CN 201220685138 CN202942529U (en) | 2012-12-12 | 2012-12-12 | Suction head for autoblood recovery |
Publications (1)
| Publication Number | Publication Date |
|---|---|
| CN202942529U true CN202942529U (en) | 2013-05-22 |
Family
ID=48418246
Family Applications (1)
| Application Number | Title | Priority Date | Filing Date |
|---|---|---|---|
| CN 201220685138 Expired - Fee Related CN202942529U (en) | 2012-12-12 | 2012-12-12 | Suction head for autoblood recovery |
Country Status (1)
| Country | Link |
|---|---|
| CN (1) | CN202942529U (en) |
Cited By (1)
| Publication number | Priority date | Publication date | Assignee | Title |
|---|---|---|---|---|
| CN104399134A (en) * | 2014-11-20 | 2015-03-11 | 樊理华 | A pressure control tube for self-extraction blood recovery and the use method of the pressure control tube |
-
2012
- 2012-12-12 CN CN 201220685138 patent/CN202942529U/en not_active Expired - Fee Related
Cited By (3)
| Publication number | Priority date | Publication date | Assignee | Title |
|---|---|---|---|---|
| CN104399134A (en) * | 2014-11-20 | 2015-03-11 | 樊理华 | A pressure control tube for self-extraction blood recovery and the use method of the pressure control tube |
| CN106215254A (en) * | 2014-11-20 | 2016-12-14 | 樊理华 | A kind of using method of the pressure control pipe of autogenous vein |
| CN106215254B (en) * | 2014-11-20 | 2018-10-26 | 樊理华 | A kind of application method of the pressure control pipe of autogenous vein |
Similar Documents
| Publication | Publication Date | Title |
|---|---|---|
| CN203970997U (en) | A kind of sputum aspirator tube | |
| CN202459484U (en) | Extracorporeal-circulation whole perfusion system | |
| CN202942529U (en) | Suction head for autoblood recovery | |
| CN203169747U (en) | Automatic air exhausting and liquid stopping infusion set | |
| CN206621588U (en) | Nursing disposal sputum collecting cannula | |
| CN204319480U (en) | A kind of negative-pressure type stomach tube | |
| CN201710340U (en) | Disposable sputum collector special for fiber bronchoscope | |
| CN201603158U (en) | Nasal aspirator | |
| CN204379853U (en) | A kind of respiratory tract sputum clearance device | |
| CN206424342U (en) | A kind of Pediatric sputum aspirator | |
| CN204543016U (en) | Novelly measure suction sputum auxiliary device | |
| CN220046619U (en) | Foot-operated negative pressure sputum aspirator | |
| CN202875892U (en) | Neonatus sputum aspirator | |
| CN202409621U (en) | Negative-pressure blood collector for surgical departments | |
| CN212997827U (en) | A kind of multifunctional atomized drug delivery sputum suction device for otolaryngology | |
| CN201516190U (en) | hepatic ascites aspirator | |
| CN203425335U (en) | ENT (ear, nose and throat) liquid medicine spraying device | |
| CN204133938U (en) | A kind of puncture pneumatic washing unit | |
| CN202376515U (en) | Continuous pleural effusion suction device | |
| CN211301366U (en) | A medical manual negative pressure drainage device | |
| CN211132581U (en) | Dry and wet dual-purpose oxygen inhalation humidifying bottle | |
| CN203389131U (en) | Sputum aspirator for respiratory medicine | |
| CN212489959U (en) | Multifunctional sputum specimen collector | |
| CN211485878U (en) | Respiratory tract sputum excretion device for severe patients | |
| CN210096536U (en) | Novel formula of can exhausting infusion bridge pipe |
Legal Events
| Date | Code | Title | Description |
|---|---|---|---|
| C14 | Grant of patent or utility model | ||
| GR01 | Patent grant | ||
| CF01 | Termination of patent right due to non-payment of annual fee | ||
| CF01 | Termination of patent right due to non-payment of annual fee |
Granted publication date: 20130522 Termination date: 20181212 |
