CN202939053U - Simple multifunctional disposable stool sampler - Google Patents
Simple multifunctional disposable stool sampler Download PDFInfo
- Publication number
- CN202939053U CN202939053U CN 201220564485 CN201220564485U CN202939053U CN 202939053 U CN202939053 U CN 202939053U CN 201220564485 CN201220564485 CN 201220564485 CN 201220564485 U CN201220564485 U CN 201220564485U CN 202939053 U CN202939053 U CN 202939053U
- Authority
- CN
- China
- Prior art keywords
- sampler
- stools
- stool
- main part
- sampling
- Prior art date
- Legal status (The legal status is an assumption and is not a legal conclusion. Google has not performed a legal analysis and makes no representation as to the accuracy of the status listed.)
- Expired - Fee Related
Links
- 238000005070 sampling Methods 0.000 claims abstract description 24
- 239000007788 liquid Substances 0.000 abstract description 4
- 238000007605 air drying Methods 0.000 abstract description 3
- 238000001514 detection method Methods 0.000 abstract description 3
- 238000012360 testing method Methods 0.000 abstract description 3
- FAPWRFPIFSIZLT-UHFFFAOYSA-M Sodium chloride Chemical compound [Na+].[Cl-] FAPWRFPIFSIZLT-UHFFFAOYSA-M 0.000 abstract 3
- 206010012735 Diarrhoea Diseases 0.000 abstract 1
- 239000008280 blood Substances 0.000 abstract 1
- 210000004369 blood Anatomy 0.000 abstract 1
- 238000004519 manufacturing process Methods 0.000 abstract 1
- 238000003756 stirring Methods 0.000 description 5
- 210000003608 fece Anatomy 0.000 description 3
- 238000010276 construction Methods 0.000 description 2
- 238000002474 experimental method Methods 0.000 description 2
- 239000011521 glass Substances 0.000 description 2
- 238000007689 inspection Methods 0.000 description 2
- 239000010871 livestock manure Substances 0.000 description 2
- 238000000386 microscopy Methods 0.000 description 2
- 239000002504 physiological saline solution Substances 0.000 description 2
- 229920003023 plastic Polymers 0.000 description 2
- 239000012266 salt solution Substances 0.000 description 2
- 235000017166 Bambusa arundinacea Nutrition 0.000 description 1
- 235000017491 Bambusa tulda Nutrition 0.000 description 1
- 241001330002 Bambuseae Species 0.000 description 1
- 229920000742 Cotton Polymers 0.000 description 1
- 235000015334 Phyllostachys viridis Nutrition 0.000 description 1
- 239000011425 bamboo Substances 0.000 description 1
- 239000003086 colorant Substances 0.000 description 1
- 238000007796 conventional method Methods 0.000 description 1
- 238000013461 design Methods 0.000 description 1
- 238000005516 engineering process Methods 0.000 description 1
- 238000000605 extraction Methods 0.000 description 1
- 208000035861 hematochezia Diseases 0.000 description 1
- 238000003780 insertion Methods 0.000 description 1
- 230000037431 insertion Effects 0.000 description 1
- 230000007246 mechanism Effects 0.000 description 1
- 239000011505 plaster Substances 0.000 description 1
- 230000002265 prevention Effects 0.000 description 1
- 239000002994 raw material Substances 0.000 description 1
- 238000011160 research Methods 0.000 description 1
- XLYOFNOQVPJJNP-UHFFFAOYSA-N water Substances O XLYOFNOQVPJJNP-UHFFFAOYSA-N 0.000 description 1
Images
Landscapes
- Investigating Or Analysing Biological Materials (AREA)
Abstract
The utility model discloses a simple multifunctional disposable stool sampler and aims to provide a sampler for laboratories in hospitals and related fields, and the sampler has a simple structure, is simple and convenient to operate, is low in manufacturing cost and integrates sampling, loading, sample taking and mixing-up. The sampler mainly comprises a main part and a special tube, wherein the main part consists of a sampling head, an inner cover and a handle which are connected into a whole. Blades are different in density, so that stools of various properties, including soft stools, hard stools, thin stools, water-like stools and thick stools, can be directly acquired; the inner cover enables the stool samples to be in a closed state, so that air drying is avoided; and during detection, after a proper amount of normal saline is added, the stool sampler is slightly moved upwards to enable the normal saline to move downwards, then the stool samples and the normal saline are mixed, the main part is drawn out, residual liquid on the sampling head can be directly used for smear examination, and liquid stool in the tube can be used for computer or OB (occult blood) tests. The simple multifunctional disposable stool sampler can be popularized and applied to directly benefit the sampling side, the submitting side and the testing side.
Description
Technical field
The utility model is related to a kind of use for laboratory of the mechanisms such as hospital, epidemic prevention, scientific research in the instrument of collection stool.
Background technology
Excrement checkout is one of three big routine inspections of clinical examination.Conventional method is adopted, sent, examines and be difficult to always unified and standard:There are matchbox, carton, glass, plastic cup, etc. for load excrement sample;Backman has bamboo stick, cotton swab, sticking plaster, spoon etc.;Sampling quantity have full one glass or one bag, also have what is as little as blotted or air-dried quickly;Sampling detection, in face of these nonstandard samples, reviewer also is difficult to standard operation, and quality inspection is well imagined.Exactly there is problem and design in " the simple stool sample device of disposable multifunction " for above-mentioned.
The content of the invention
The purpose of this utility model is it is intended that the laboratory of hospital and association area provides a kind of simple in construction, easy to operate, cheap and will sample, loads, samples, stirs evenly together in integral stool sample device.
The technical scheme that the utility model Bian takes:
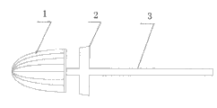
The simple stool sample device of disposable multifunction, architectural feature is:The main part and dedicated pipe being made up of the sampling head, inner cap, handle that are connected are constituted.
Main part and dedicated pipe are to be formed by inner cap 2 with being locked on the inside of dedicated pipe stage casing.
By close to thin homogeneous broadening between sampling head blade, blade outboard is away between 1-3 mm.
Zigzag is set on the outside of sampling head blade most wide two panels.
This stool sample device is made up of main part and dedicated pipe, and wherein main part is made up of the sampling head being connected, inner cap and the part of handle three, and the blade density of sampling head differs, the excrement that can directly gather various characters includes soft, hard, dilute, water sample, sticky;Inner cap is in closed state by excrement sample, can avoid air-drying, and two components are formed into one.Dedicated pipe is up big and down small, under it is small be in order to save, it is upper then to facilitate sample introduction greatly and reduce pollution while also allow for stirring evenly.
Add after appropriate physiological saline and again somewhat move up it during detection, allow salt solution to move down, then stir, then sampler is taken out, you can obtain microscopy, upper machine and liquid manure needed for OB experiments.The sampler will be sampled, loaded, sampling, stirring evenly together in one, allow sampling to become simple, sampling quantity is limited, and because dedicated pipe is transparent plastic, can intuitively defecate primary colors, and closing can avoid false negative caused by air-drying again, improve quality of experiments.The utility model feature is simple in construction, easy to operate, cheap.The popularization and application of the sampler, will benefit and adopt, send, examining tripartite, or even whole hospital.
Brief description of the drawings
Fig. 1 is the simple total profile of stool sample device of the utility model i.e. disposable multifunction.
Fig. 2 is the sectional view of dedicated pipe.
Fig. 3 is the sectional view of main part.
Fig. 4 is the left view of sampling head.
Embodiment
The utility model is made up of main part and dedicated pipe.Main part is made up of the sampling head being connected, inner cap and the part of handle three.
Dedicated pipe 4 is up big and down small, under it is small be in order to save making raw material, it is upper then to facilitate sample introduction greatly and reduce pollution while also allow for stirring evenly;Hypomere requirement is transparent, to observe directly excrement sample color;Bore is respectively 11,15mm up and down.
Main part and dedicated pipe 4 are to be formed by inner cap 2 with being locked on the inside of dedicated pipe stage casing.
Operation instruction:
(1)Sampler main part is extracted out by dedicated pipe.
(2)Excrement proper site is selected, with sampling head direct sample *, loads dedicated pipe, resets, censorship.
(3)Docimaster carries out outward appearance(Color, character and the amount of adopting)After observation, appropriate physiological saline is added into dedicated pipe epimere.
(4)Inner cap is somewhat extracted out, allows salt solution to enter dedicated pipe hypomere, excrement sample is stirred evenly excrement by quick rotation circle handle.
(5)Main part is extracted out, sampling head extraction raffinate can direct smear microscopy, liquid manure can be used for upper machine or OB to test in pipe.
Claims (4)
1. the simple stool sample device of disposable multifunction, it is characterized in that:The main part and dedicated pipe (4) being made up of the sampling head (1), inner cap (2), handle (3) that are connected are constituted.
2. stool sample device as claimed in claim 1, it is characterized in that:Main part and dedicated pipe (4) are to be formed by inner cap (2) with being locked on the inside of dedicated pipe stage casing.
3. stool sample device as claimed in claim 1, it is characterized in that:By close to thin homogeneous broadening between sampling head (1) blade, blade outboard is away between 1-3 mm.
4. stool sample device as claimed in claim 3, it is characterized in that:Zigzag is set on the outside of sampling head (1) blade most wide two panels.
Priority Applications (1)
| Application Number | Priority Date | Filing Date | Title |
|---|---|---|---|
| CN 201220564485 CN202939053U (en) | 2012-10-31 | 2012-10-31 | Simple multifunctional disposable stool sampler |
Applications Claiming Priority (1)
| Application Number | Priority Date | Filing Date | Title |
|---|---|---|---|
| CN 201220564485 CN202939053U (en) | 2012-10-31 | 2012-10-31 | Simple multifunctional disposable stool sampler |
Publications (1)
| Publication Number | Publication Date |
|---|---|
| CN202939053U true CN202939053U (en) | 2013-05-15 |
Family
ID=48323285
Family Applications (1)
| Application Number | Title | Priority Date | Filing Date |
|---|---|---|---|
| CN 201220564485 Expired - Fee Related CN202939053U (en) | 2012-10-31 | 2012-10-31 | Simple multifunctional disposable stool sampler |
Country Status (1)
| Country | Link |
|---|---|
| CN (1) | CN202939053U (en) |
Cited By (3)
| Publication number | Priority date | Publication date | Assignee | Title |
|---|---|---|---|---|
| CN103645130A (en) * | 2013-11-03 | 2014-03-19 | 湖南欧杰生物科技发展有限公司 | High flux quantitative analysis method for visible components in human or animal excretion |
| CN104483154A (en) * | 2014-12-12 | 2015-04-01 | 柳州市妇幼保健院 | Stool sample moisturizing collection box |
| US11375986B1 (en) * | 2018-07-27 | 2022-07-05 | The University Of Chicago | Device and method for stool sample collection |
-
2012
- 2012-10-31 CN CN 201220564485 patent/CN202939053U/en not_active Expired - Fee Related
Cited By (4)
| Publication number | Priority date | Publication date | Assignee | Title |
|---|---|---|---|---|
| CN103645130A (en) * | 2013-11-03 | 2014-03-19 | 湖南欧杰生物科技发展有限公司 | High flux quantitative analysis method for visible components in human or animal excretion |
| CN103645130B (en) * | 2013-11-03 | 2016-08-17 | 湖南欧杰生物科技发展有限公司 | Visible component High-throughput quantitative analysis method in human or animal's excretion thing |
| CN104483154A (en) * | 2014-12-12 | 2015-04-01 | 柳州市妇幼保健院 | Stool sample moisturizing collection box |
| US11375986B1 (en) * | 2018-07-27 | 2022-07-05 | The University Of Chicago | Device and method for stool sample collection |
Similar Documents
| Publication | Publication Date | Title |
|---|---|---|
| EP2461148B1 (en) | Improved multifunctional specimen box | |
| CN204594715U (en) | A kind of stool sample bottle | |
| CN102998150B (en) | Body fluid detection preprocessing device | |
| CN202939053U (en) | Simple multifunctional disposable stool sampler | |
| CN107782575A (en) | A kind of system and method collected and detect analyte in sample | |
| CN202158986U (en) | Specimen box | |
| CN203405346U (en) | Fecal specimen collection cup | |
| CN108414263A (en) | Fecal sample integral collecting device and method | |
| CN204536025U (en) | A kind of disposable sample collection bottle | |
| CN103499525A (en) | Blood sample biochemical quantitative detection device | |
| CN204594718U (en) | A kind of hermetically sealed second metering selective sampling stool sample box | |
| CN103543279B (en) | Portable quantitative detecting device for blood | |
| CN102890158A (en) | Stirring mechanism of automatic human waste analyzer | |
| CN205091145U (en) | Shit collect specimen box | |
| CN208872538U (en) | Medical science inspection is with shit sampler | |
| CN208171632U (en) | Sample sampling device and its package | |
| CN206945339U (en) | A kind of sample collection device | |
| CN107063833B (en) | Sample box | |
| CN207366234U (en) | A kind of control laboratory feces specimen sampling bottle | |
| CN217424835U (en) | Improved excrement sampling box | |
| CN214408712U (en) | Portable device for nucleic acid detection of seal nature | |
| CN204882124U (en) | A sample collection and detection device that is used for biological solid sample to chemically examine | |
| CN206804401U (en) | Sample Riker mount | |
| CN206161658U (en) | Portable urine analysis | |
| CN201156018Y (en) | Disposal medical excrement sampling device |
Legal Events
| Date | Code | Title | Description |
|---|---|---|---|
| C14 | Grant of patent or utility model | ||
| GR01 | Patent grant | ||
| C17 | Cessation of patent right | ||
| CF01 | Termination of patent right due to non-payment of annual fee |
Granted publication date: 20130515 Termination date: 20131031 |