CN202936024U - 带有步进、力矩电机同步的扁丝收卷机 - Google Patents
带有步进、力矩电机同步的扁丝收卷机 Download PDFInfo
- Publication number
- CN202936024U CN202936024U CN 201220655213 CN201220655213U CN202936024U CN 202936024 U CN202936024 U CN 202936024U CN 201220655213 CN201220655213 CN 201220655213 CN 201220655213 U CN201220655213 U CN 201220655213U CN 202936024 U CN202936024 U CN 202936024U
- Authority
- CN
- China
- Prior art keywords
- torque motor
- synchronous
- stepping
- motor
- synchronizing wheel
- Prior art date
- Legal status (The legal status is an assumption and is not a legal conclusion. Google has not performed a legal analysis and makes no representation as to the accuracy of the status listed.)
- Expired - Fee Related
Links
- 230000001360 synchronised effect Effects 0.000 claims abstract description 34
- 239000000523 sample Substances 0.000 claims abstract description 13
- RYGMFSIKBFXOCR-UHFFFAOYSA-N Copper Chemical compound [Cu] RYGMFSIKBFXOCR-UHFFFAOYSA-N 0.000 claims abstract description 9
- 229910052802 copper Inorganic materials 0.000 claims abstract description 9
- 239000010949 copper Substances 0.000 claims abstract description 9
- 241000272525 Anas platyrhynchos Species 0.000 claims abstract description 5
- 238000006073 displacement reaction Methods 0.000 claims description 4
- 230000015572 biosynthetic process Effects 0.000 claims description 3
- 238000004804 winding Methods 0.000 abstract 1
- 238000005516 engineering process Methods 0.000 description 2
- 230000004048 modification Effects 0.000 description 2
- 238000012986 modification Methods 0.000 description 2
- 230000009286 beneficial effect Effects 0.000 description 1
- 230000002301 combined effect Effects 0.000 description 1
- 230000002950 deficient Effects 0.000 description 1
Images
Landscapes
- Connection Of Motors, Electrical Generators, Mechanical Devices, And The Like (AREA)
- Control Of Stepping Motors (AREA)
Abstract
本实用新型涉及一种带有步进、力矩电机同步的扁丝收卷机,包括机座,机座内设置有力矩电机、滑杆、步进电机以及步进伺服电机控制器,机座的内侧壁上固定有同步轮支架,同步轮支架上设有第一同步轮,步进电机上设有第二同步轮,第一同步轮和第二同步轮之间通过同步带带动,滑杆上设有同步滑压块,同步滑压块与同步带相配合,力矩电机的一端为力矩电机转轴,力矩电机转轴的外部设有绕丝铜管,所述滑杆的一端沿机座向外伸出形成一个伸出部,该伸出部与力矩电机转轴相对应,在该伸出部上设有放丝鸭咀,所述同步滑压块下方安装有第一磁力探头和第二磁力探头。本产品省电节能,所卷出的丝表面平整,端面没有毛边,噪音小,由于采用了带油轴承,无漏油现象。
Description
技术领域
本实用新型涉及一种带有步进、力矩电机同步的扁丝收卷机。
背景技术
现有的扁丝收卷机是凸轮收卷机,此类收卷机的缺陷:所卷出的丝表面凹凸不平,边缘不平整、有毛边。另外,还有耗油大、噪音大、机器漏油等缺点。
实用新型内容
为解决上述技术问题,本实用新型的目的是提供一种省电节能、所卷出的丝表面平整,端面没有毛边,噪音小的带有步进、力矩电机同步的扁丝收卷机。
本实用新型的带有步进、力矩电机同步的扁丝收卷机,包括机座,机座内设置有力矩电机、滑杆、步进电机以及步进伺服电机控制器,机座的内侧壁上固定有同步轮支架,同步轮支架上设有第一同步轮,步进电机上设有第二同步轮,第一同步轮和第二同步轮之间通过同步带带动,滑杆上设有同步滑压块,同步滑压块与同步带相配合,力矩电机的一端为力矩电机转轴,力矩电机转轴的外部设有绕丝铜管,力矩电机的另一端侧部设有码盘,码盘上设有编码器,力矩电机工作带动码盘旋转位移,编码器将此位移信号转换为数字脉冲信号,并传输给步进电机,所述滑杆的一端沿机座向外伸出形成一个伸出部,该伸出部与力矩电机转轴相对应,在该伸出部上设有放丝鸭咀,所述同步滑压块下方安装有第一磁力探头和第二磁力探头,同步滑压块的底端设有第三磁力探头。
进一步的,所述同步轮支架的外侧设有同步带调节螺丝。
进一步的,所述滑杆与机座的连接处设有带油轴承。
与现有技术相比,本实用新型的有益效果为:本实用新型采用了磁力扫描原理,力矩电机工作时,带动码盘旋转位移,通过编码器将此位移信号转换为数字脉冲信号,并传输给步进电机。步进电机带动同步带和同步轮进行往复运动,同时带动同步滑压块进行往复运动。同步滑压块底端安装有磁力探头,与机座上设置有的两个磁力探头共同作用,控制同步滑压块往复运动的行程,以保证所出的扁丝在绕丝铜管上所卷的宽度。与同步滑压块同步运动的滑杆带动放丝鸭咀,将扁丝卷进铜管,完成卷丝。如一个绕丝铜管上的卷丝完成需要换铜管时,将铜管拿出,直接手抓力矩电机的转轴,替换铜管。力矩电机与步进电机的转速存在固定的速比关系。本产品省电节能,所卷出的丝表面平整,端面没有毛边,噪音小,由于采用了带油轴承,无漏油现象。
附图说明
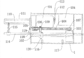
图1是本实用新型带有步进、力矩电机同步的扁丝收卷机的结构示意图。
具体实施方式
下面结合附图和实施例,对本实用新型的具体实施方式作进一步详细描述。以下实施例用于说明本实用新型,但不用来限制本实用新型的范围。
如图1所示,一种带有步进、力矩电机同步的扁丝收卷机,包括机座1,机座1内设置有力矩电机101、滑杆102、步进电机103以及步进伺服电机控制器104,机座1的内侧壁上固定有同步轮支架105,同步轮支架105上设有第一同步轮106,步进电机103上设有第二同步轮107,第一同步轮106和第二同步轮107之间通过同步带108带动,滑杆102上设有同步滑压块109,同步滑压块109与同步带108相配合,力矩电机101的一端为力矩电机转轴110,力矩电机转轴110的外部设有绕丝铜管111,力矩电机101的另一端侧部设有码盘112,码盘112上设有编码器113,力矩电机101工作带动码盘112旋转位移,编码器113将此位移信号转换为数字脉冲信号,并传输给步进电机103,所述滑杆102的一端沿机座向外伸出形成一个伸出部114,该伸出部114与力矩电机转轴110相对应,在该伸出部114上设有放丝鸭咀115,所述同步滑压块109下方安装有第一磁力探头116和第二磁力探头117。所述同步滑压块109的底端设有第三磁力探头120。
进一步的,所述同步轮支架105的外侧设有同步带调节螺丝118。
进一步的,所述滑杆102与机座1的连接处设有带油轴承119。
收卷机内采用的步进电机,在刚启动时,往复运动来回次数每分钟为0-70次,上丝后在一定的时间内快速达到往复运动来回次数每分钟为70-120次,断丝的话又降到0-70次,这样可节省电源。
上述步进电机103可以替换成伺服电机。
以上所述仅是本实用新型的优选实施方式,应当指出,对于本技术领域的普通技术人员来说,在不脱离本实用新型技术原理的前提下,还可以做出若干改进和变型,这些改进和变型也应视为本实用新型的保护范围。
Claims (3)
1.一种带有步进、力矩电机同步的扁丝收卷机,其特征在于:包括机座,机座内设置有力矩电机、滑杆、步进电机以及步进伺服电机控制器,机座的内侧壁上固定有同步轮支架,同步轮支架上设有第一同步轮,步进电机上设有第二同步轮,第一同步轮和第二同步轮之间通过同步带带动,滑杆上设有同步滑压块,同步滑压块与同步带相配合,力矩电机的一端为力矩电机转轴,力矩电机转轴的外部设有绕丝铜管,力矩电机的另一端侧部设有码盘,码盘上设有编码器,力矩电机工作带动码盘旋转位移,编码器将此位移信号转换为数字脉冲信号,并传输给步进电机,所述滑杆的一端沿机座向外伸出形成一个伸出部,该伸出部与力矩电机转轴相对应,在该伸出部上设有放丝鸭咀,所述同步滑压块下方安装有第一磁力探头和第二磁力探头,同步滑压块的底端设有第三磁力探头。
2.根据权利要求1所述的带有步进、力矩电机同步的扁丝收卷机,其特征在于:所述同步轮支架的外侧设有同步带调节螺丝。
3.根据权利要求1所述的带有步进、力矩电机同步的扁丝收卷机,其特征在于:所述滑杆与机座的连接处设有带油轴承。
Priority Applications (1)
| Application Number | Priority Date | Filing Date | Title |
|---|---|---|---|
| CN 201220655213 CN202936024U (zh) | 2012-12-04 | 2012-12-04 | 带有步进、力矩电机同步的扁丝收卷机 |
Applications Claiming Priority (1)
| Application Number | Priority Date | Filing Date | Title |
|---|---|---|---|
| CN 201220655213 CN202936024U (zh) | 2012-12-04 | 2012-12-04 | 带有步进、力矩电机同步的扁丝收卷机 |
Publications (1)
| Publication Number | Publication Date |
|---|---|
| CN202936024U true CN202936024U (zh) | 2013-05-15 |
Family
ID=48320276
Family Applications (1)
| Application Number | Title | Priority Date | Filing Date |
|---|---|---|---|
| CN 201220655213 Expired - Fee Related CN202936024U (zh) | 2012-12-04 | 2012-12-04 | 带有步进、力矩电机同步的扁丝收卷机 |
Country Status (1)
| Country | Link |
|---|---|
| CN (1) | CN202936024U (zh) |
Cited By (4)
| Publication number | Priority date | Publication date | Assignee | Title |
|---|---|---|---|---|
| CN104176556A (zh) * | 2014-09-04 | 2014-12-03 | 高巍 | 一种节能型单锭扁丝收卷机 |
| CN104743406A (zh) * | 2015-01-09 | 2015-07-01 | 安徽凯恩特科技有限公司 | 一种走料推进装置 |
| CN108190620A (zh) * | 2017-12-20 | 2018-06-22 | 重庆市中塑新材料有限公司 | 编织袋扁丝收卷机 |
| CN108423484A (zh) * | 2017-02-14 | 2018-08-21 | 常州神通机械制造有限公司 | 一种圆、扁丝一步法带捻度收卷机及其工作方法 |
-
2012
- 2012-12-04 CN CN 201220655213 patent/CN202936024U/zh not_active Expired - Fee Related
Cited By (5)
| Publication number | Priority date | Publication date | Assignee | Title |
|---|---|---|---|---|
| CN104176556A (zh) * | 2014-09-04 | 2014-12-03 | 高巍 | 一种节能型单锭扁丝收卷机 |
| CN104743406A (zh) * | 2015-01-09 | 2015-07-01 | 安徽凯恩特科技有限公司 | 一种走料推进装置 |
| CN108423484A (zh) * | 2017-02-14 | 2018-08-21 | 常州神通机械制造有限公司 | 一种圆、扁丝一步法带捻度收卷机及其工作方法 |
| CN108190620A (zh) * | 2017-12-20 | 2018-06-22 | 重庆市中塑新材料有限公司 | 编织袋扁丝收卷机 |
| CN108190620B (zh) * | 2017-12-20 | 2019-06-21 | 重庆市中塑新材料有限公司 | 编织袋扁丝收卷机 |
Similar Documents
| Publication | Publication Date | Title |
|---|---|---|
| CN202936024U (zh) | 带有步进、力矩电机同步的扁丝收卷机 | |
| CN203974205U (zh) | 铝箔胶带贴附机 | |
| CN204652165U (zh) | 绕线机推线沉模机构 | |
| CN208829008U (zh) | 一种电力工程用自动收线装置 | |
| CN203855111U (zh) | 一种竹签香自动计数机械 | |
| CN202906596U (zh) | 电机用不规则磁极 | |
| CN204365779U (zh) | 一种高精度易拉罐修边机推头 | |
| CN204760241U (zh) | 双卷针装置 | |
| CN202906591U (zh) | 电机用扇形磁极 | |
| CN203887112U (zh) | 一种多工位绕线机的工位旋转装置 | |
| CN202298068U (zh) | 一种针织机械的机头及纱嘴传动装置 | |
| CN202906589U (zh) | 电机用磁极 | |
| CN202542523U (zh) | 一种用于铝塑板的放卷装置 | |
| CN202754627U (zh) | 一种杜美丝绕丝机上的摆丝器的驱动装置 | |
| CN204018417U (zh) | 一种用于非晶带生产的卷带机 | |
| CN203611336U (zh) | 用于异形陶瓷制品滚压机上的传动装置 | |
| CN204222289U (zh) | 纸袋连续压痕装置 | |
| CN202717075U (zh) | 一种用于包装贴标设备的同步传动机构 | |
| CN205735988U (zh) | 管材胶带缠绕装置 | |
| CN202670726U (zh) | 具有杯口宽度调节功能的进杯机构 | |
| WO2015023398A3 (en) | Injection molded blank for lead screw, rotor-blank assembly and method for producing same | |
| CN204523874U (zh) | 新型卷筒机 | |
| CN204474013U (zh) | 一种组合式凸轮收丝机的过渡滚筒机构 | |
| CN203922181U (zh) | 一种感应启动的卷毛巾机 | |
| CN204673672U (zh) | 一种用于包装袋生产线的切刀机构 |
Legal Events
| Date | Code | Title | Description |
|---|---|---|---|
| C14 | Grant of patent or utility model | ||
| GR01 | Patent grant | ||
| C17 | Cessation of patent right | ||
| CF01 | Termination of patent right due to non-payment of annual fee |
Granted publication date: 20130515 Termination date: 20131204 |