CN202928001U - 一种吊顶式节能冷风机 - Google Patents

一种吊顶式节能冷风机 Download PDF

Info

Publication number
CN202928001U
CN202928001U CN 201220631526 CN201220631526U CN202928001U CN 202928001 U CN202928001 U CN 202928001U CN 201220631526 CN201220631526 CN 201220631526 CN 201220631526 U CN201220631526 U CN 201220631526U CN 202928001 U CN202928001 U CN 202928001U
Authority
CN
China
Prior art keywords
air
mentioned
wet curtain
type energy
conditioner
Prior art date
Legal status (The legal status is an assumption and is not a legal conclusion. Google has not performed a legal analysis and makes no representation as to the accuracy of the status listed.)
Expired - Fee Related
Application number
CN 201220631526
Other languages
English (en)
Inventor
李植伟
Current Assignee (The listed assignees may be inaccurate. Google has not performed a legal analysis and makes no representation or warranty as to the accuracy of the list.)
Individual
Original Assignee
Individual
Priority date (The priority date is an assumption and is not a legal conclusion. Google has not performed a legal analysis and makes no representation as to the accuracy of the date listed.)
Filing date
Publication date
Application filed by Individual filed Critical Individual
Priority to CN 201220631526 priority Critical patent/CN202928001U/zh
Application granted granted Critical
Publication of CN202928001U publication Critical patent/CN202928001U/zh
Anticipated expiration legal-status Critical
Expired - Fee Related legal-status Critical Current

Links

Images

Landscapes

  • Other Air-Conditioning Systems (AREA)

Abstract

本实用新型公开了一种吊顶式节能冷风机,其特征在于:包括机壳、湿帘冷风降温装置和装吊筋;上述机壳的一端设有进风口,上述机壳的另一端设有出风口;上述湿帘冷风降温装置设在机壳内,上述湿帘冷风降温装置位于进风口和出风口之间;上述装吊筋设在机壳上。本吊顶式节能冷风机整机利用装吊筋能够安装在天花板上;所以,本吊顶式节能冷风机能够采用简单吊顶式进行安装,从而取替了传统的复杂、危险、费用高的室外安装方式,因此,本吊顶式节能冷风机无需占用地面空间、不影响室内外美观;并且,本吊顶式节能冷风机的安装方式能够实现吊顶明装或暗装,其安装方便快捷。

Description

一种吊顶式节能冷风机
技术领域
本实用新型涉及一种降温设备,更具体地说,本实用新型涉及一种吊顶式节能冷风机。
背景技术
目前,人们一般采用风扇、空调或者节能冷风机等降温设备来降温纳凉,风扇、空调和节能冷风机的工作原理和优缺点各不相同。
风扇的作用是加快空气的流动,使空气形成持续流动的空气流,当空气流吹到人的身上时,就会给人阵阵凉风扑面而来的感觉;但是,风扇只是起到吹风的作用,风扇并没有对空气进行降温处理,所以,风扇的降温效果比较差。
空调是采用制冷剂和压缩机结合的方式对空气进行降温处理,因此,空调降温效果好,但是,空调存在生产成本高、能耗高、对环境污染大、空气流动性差、冷气干燥等缺点。
节能冷风机,也叫蒸发式冷风机或环保空调,它是利用水的蒸发具有降温的原理,将室外空气进行降温、加湿处理,从而形成潮湿低温的气体,再输送到室内,所以,节能冷风机能够源源不断地向室内输送新鲜湿化的冷气,使室内空气迅速降温和湿化,从而达到冷风加湿降温的效果,并且,节能冷风机在对室内进行降温湿化的同时,也能够保持室内空气的清新,同时,节能冷风机在运行时不会对外界环境造成污染,从而满足环保的要求。
综上所述,节能冷风机与风扇、空调相比,其优势越来越凸现:
与风扇相比,节能冷风机具有降温效果好的优点;
与空调相比,节能冷风机具有结构简单、大小适宜、制造成本低、功率低、耗能少、环保、空气流动性好、冷气加湿效果好等优点;
因此,节能冷风机越来越受到人们的喜爱,节能冷风机的应用好越来越广泛,目前,节能冷风机已经被广泛应用于空气流通量大的高温车间、商店、餐厅、办公室等场所的降温。
但是,现有的节能冷风机一般安装在室外墙体上,从而影响到室外的美观,因此,设计出一种吊顶式节能冷风机,已经成为目前急需解决的技术问题。
实用新型内容
本实用新型所要解决的技术问题是提供一种吊顶式节能冷风机,本吊顶式节能冷风机无需占用地面空间、不影响室内外美观。
为了解决上述技术问题,本实用新型采用的技术方案如下:
一种吊顶式节能冷风机,其特征在于:包括机壳、湿帘冷风降温装置和装吊筋;上述机壳的一端设有进风口,上述机壳的另一端设有出风口;上述湿帘冷风降温装置设在机壳内,上述湿帘冷风降温装置位于进风口和出风口之间;上述装吊筋设在机壳上。
由于本吊顶式节能冷风机的机壳上设有装吊筋,整机利用装吊筋能够安装在天花板上,所以,本吊顶式节能冷风机的安装方式能够实现吊顶明装或暗装,因此,本吊顶式节能冷风机无需占用地面空间、不影响室内外美观;
同时,由于本吊顶式节能冷风机的湿帘冷风降温装置能够对空气进行湿化降温处理,所以,本吊顶式节能冷风机利用湿度和新鲜空气产生新鲜冷空气,因此,本吊顶式节能冷风机具有节能的优点。
作为本实用新型中湿帘冷风降温装置的优选技术方案:所述湿帘冷风降温装置包括湿帘、喷淋管、集水盘和引风机;上述湿帘、喷淋管、集水盘和引风机分别设在机壳内;上述湿帘位于进风口和出风口之间;上述喷淋管位于湿帘的上方,上述喷淋管上设有多个喷水孔;上述集水盘位于湿帘的下方,上述集水盘的下部设有一个排水口,上述排水口上设有一个排水阀;上述引风机位于湿帘的一侧。
作为本实用新型中湿帘冷风降温装置的更加优选技术方案:所述湿帘接近于机壳的进风口,上述引风机位于湿帘和机壳的出风口之间,上述引风机的进风口与湿帘相对应,上述引风机的出风口与机壳的出风口相对应。
当自来水进入喷淋管后,从喷淋管上的喷水孔喷出,并均匀地淋在湿帘上,湿帘上的水再滴入集水盘内,经过排水阀,最后从排水口排出;
当引风机启动时,引风机将机壳内的空气从机壳的出风口抽送到机壳外,从而使机壳内形成负压,这样,机壳外的空气便从机壳的进风口进入到机壳内,并透过多孔湿润的湿帘,当空气透过多孔湿润的湿帘时,由于湿帘上具有大量的水分,并且,湿帘上的水分蒸发时会将透过湿帘的空气其热量带走,所以,透过湿帘的空气其温度会大大降低;又由于湿帘能够增大水和空气的接触面积,所以,透过湿帘的空气其温度降低速度快;
同时,湿帘上的水分能够对透过湿帘的空气进行加湿处理,使透过湿帘的空气含有水分,从而形成潮湿低温的气体,上述潮湿低温的气体再由引风机从机壳的出风口抽送到机壳外,形成冷湿的气流,并源源不断地从机壳的出风口排出,从而达到冷风加湿降温的效果。
作为本实用新型中湿帘冷风降温装置的改进技术方案:所述湿帘冷风降温装置还包括一个控制装置,上述控制装置包括进水阀和控制器,上述进水阀设在喷淋管的进水端上;上述控制器设在机壳上,上述控制器的一个信号输出端与进水阀电连接,上述控制器的另一个信号输出端与引风机电连接,上述控制器的第三个信号输出端与排水阀电连接。
当需要调整冷风的湿度时,通过控制器控制进水阀的进水速度,从而控制透过湿帘的空气中的水分含量,达到调整冷风湿度的效果;同时,通过控制器控制引风机的转速,也可以达到调整冷风湿度的效果;另外,通过控制器控制排水阀的排水速度。
作为本实用新型中湿帘冷风降温装置的进一步改进技术方案:所述控制装置还包括流量检测器和水位检测器,上述流量检测器设在喷淋管的进水端上,上述水位检测器设在集水盘内;上述流量检测器的信号输出端与控制器的一个信号输入端电连接,上述水位检测器的信号输出端与控制器的另一个信号输入端电连接。
上述控制器能够根据流量检测器发出的流量信号和水位检测器发出的水位信号,控制进水阀的进水速度,从而达到自动控制的目的。
本实用新型对照现有技术的有益效果是:
由于本吊顶式节能冷风机包括机壳、湿帘冷风降温装置和装吊筋;上述机壳的一端设有进风口,上述机壳的另一端设有出风口;上述湿帘冷风降温装置设在机壳内,上述湿帘冷风降温装置位于进风口和出风口之间;上述装吊筋设在机壳上;本吊顶式节能冷风机整机利用装吊筋能够安装在天花板上;所以,本吊顶式节能冷风机能够采用简单吊顶式进行安装,从而取替了传统的复杂、危险、费用高的室外安装方式,因此,本吊顶式节能冷风机无需占用地面空间、不影响室内外美观;并且,本吊顶式节能冷风机的安装方式能够实现吊顶明装或暗装,其安装方便快捷;
同时,本吊顶式节能冷风机的湿帘冷风降温装置能够对空气进行湿化降温处理,所以,本吊顶式节能冷风机利用湿度和新鲜空气产生新鲜冷空气,因此,本吊顶式节能冷风机具有节能的优点,本吊顶式节能冷风机的耗电量比空调机的耗电量节省90%;并且,本吊顶式节能冷风机的降温效果比传统安装在室外暴晒方式更好;
另外,本吊顶式节能冷风机还具有结构紧凑、体积小、安装方便、噪声低、适用于长期运行、使用寿命长等优点。
本吊顶式节能冷风机具有以下功能:
(1)节能降温:既可节能降低室内温度又改善室内空气质量,夏天送风口温度低于室外3-8℃,如室温以舒适温度26℃计,每年沿海潮湿地区可节省30-40%,内陆干燥地区可节省50-60%使用空调时间;
(2)正压除味:由于室内空气已形式正压,迅速全面挤排杂味,使室内空气质量可以接近室外;
(3)新风加湿,卫生健康:适当增加室内空气湿度(可控制)和新鲜空气,使人体不会因长期在空调干燥、空气混浊缺氧环境下易患呼吸道、心血管和皮肤疾病,俗称“空调病”。
本吊顶式节能冷风机特别适用于家庭、商业场所、酒店、餐厅、办公室、厂房的节能降温、新风过滤、加湿、排气除味。
下面结合附图和具体实施方式对本实用新型做进一步的详细说明,以使本领域的技术人员能够理解本实用新型所要求保护的技术方案。
附图说明
图1是本实用新型优选实施例内部结构的侧面视图;
图2是本实用新型优选实施例出风口面的视图;
图3是本实用新型优选实施例内部结构的俯视图;
图4是本实用新型优选实施例的工作原理图;
图5是本实用新型优选实施例采用室内吊顶暗装且与中央空调连接并形成室内空气循环时的结构示意图;
图6是本实用新型优选实施例采用室内吊顶暗装且与中央空调连接并吸收室外空气时的结构示意图;
图7是本实用新型优选实施例采用室内吊顶明装且吸收室外空气时的结构示意图;
图8是本实用新型优选实施例采用室内吊顶明装且下送风时的结构示意图;
图9是本实用新型优选实施例采用室内吊顶明装且侧送风时的结构示意图;
图10是本实用新型优选实施例安装在室外走廊时的结构示意图;
图11是本实用新型优选实施例采用室内吊顶安装并形成室内空气循环时的结构示意图。
具体实施方式
如图1、图2、图3和图4所示,本优选实施例中的吊顶式节能冷风机1,包括机壳10、湿帘冷风降温装置和装吊筋2;上述机壳10的一端设有进风口11,上述机壳10的另一端设有出风口12;上述湿帘冷风降温装置设在机壳10内,上述湿帘冷风降温装置位于进风口11和出风口12之间;上述装吊筋2设在机壳10上;
上述湿帘冷风降温装置包括湿帘31、喷淋管32、集水盘33、引风机34和一个控制装置;上述湿帘31、喷淋管32、集水盘33和引风机34分别设在机壳10内;上述湿帘31位于进风口11和出风口12之间,并且,上述湿帘31接近于机壳10的进风口11;上述喷淋管32位于湿帘31的上方,上述喷淋管32上设有多个喷水孔320;上述集水盘33位于湿帘31的下方,上述集水盘33的下部设有一个排水口330,上述排水口330上设有一个排水阀331;上述引风机34位于湿帘31和机壳10的出风口12之间,上述引风机34的进风口与湿帘31相对应,上述引风机34的出风口与机壳10的出风口12相对应;
上述控制装置包括进水阀41、控制器42、流量检测器43和水位检测器44,上述进水阀41设在喷淋管32的进水端上;上述控制器42设在机壳10上,上述控制器42的一个信号输出端与进水阀41电连接,上述控制器42的另一个信号输出端与引风机34电连接;上述流量检测器43设在喷淋管32的进水端上,上述水位检测器44设在集水盘33内;上述流量检测器43的信号输出端与控制器42的一个信号输入端电连接,上述水位检测器44的信号输出端与控制器42的另一个信号输入端电连接,上述控制器42的第三个信号输出端与排水阀331电连接。
当自来水5经进水阀41和流量检测器43进入喷淋管32后,从喷淋管32上的喷水孔320喷出,并均匀地淋在湿帘31上,湿帘31上的水再滴入集水盘33内,经过排水阀331,最后从排水口330排出;
当引风机34启动时,引风机34将机壳10内的空气从机壳10的出风口12抽送到机壳10外,从而使机壳10内形成负压,这样,机壳10外的空气6便从机壳10的进风口11进入到机壳10内,并透过多孔湿润的湿帘31;当空气透过多孔湿润的湿帘31时,由于湿帘31上具有大量的水分,并且,湿帘31上的水分蒸发时会将透过湿帘31的空气其热量带走,所以,透过湿帘31的空气其温度会大大降低;又由于湿帘31能够增大水和空气的接触面积,所以,透过湿帘31的空气其温度降低速度快;同时,湿帘31上的水分能够对透过湿帘31的空气进行加湿处理,使透过湿帘31的空气含有水分,形成潮湿低温的气体,上述潮湿低温的气体再由引风机34从机壳10的出风口12抽送到机壳10外,形成冷湿的气流即湿化冷风56,并源源不断地从机壳10的出风口12排出,从而达到冷风加湿降温的效果;
同时,通过控制器42控制进水阀41的进水速度,从而控制透过湿帘31的空气中的水分含量,达到调整冷风湿度的效果;通过控制器42控制引风机34的转速,也可以达到调整冷风湿度的效果;通过控制器42控制排水阀331的排水速度;并且,控制器42能够根据流量检测器43发出的流量信号和水位检测器44发出的水位信号,控制进水阀41的进水速度,从而达到自动控制的目的。
本吊顶式节能冷风机1整机利用装吊筋2能够安装在天花板上,因此,本吊顶式节能冷风机1无需占用地面空间、不影响室内外美观;下面对本吊顶式节能冷风机1的安装方式进行简单的介绍:
如图5所示,本吊顶式节能冷风机1通过减震器71隐藏式地吊装在天花板72上,同时,本吊顶式节能冷风机1的进风口11通过软接头73与中央空调74的出风口连通,并且,本吊顶式节能冷风机1的出风口12通过软接头75与出风管76的进风口连通,这样,本吊顶式节能冷风机1便实现了室内吊顶安装,并且与中央空调74连接并形成室内77的空气循环;
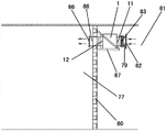
如图6所示,本吊顶式节能冷风机1通过减震器71隐藏式地吊装在天花板72上,同时,本吊顶式节能冷风机1的进风口11通过软接头78与进风管79的出风口连通,上述进风管79安装在墙体80上,上述进风管79与室外81连通,上述进风管79的进风口上设有防水百叶罩82,上述进风管79上设有活动式空气过滤网83,并且,本吊顶式节能冷风机1的出风口12通过软接头84与中央空调74其回风箱85的进风口连通,这样,本吊顶式节能冷风机1便实现了室内吊顶安装,并且,室外81的新鲜空气经过活动式空气过滤网83的过滤后,由本吊顶式节能冷风机1进行湿化降温后输送给中央空调74,中央空调74再将湿化降温后的新鲜空气进行降温处理并输送到室内77;
如图7所示,本吊顶式节能冷风机1通过减震器71进行室内吊顶明装,同时,本吊顶式节能冷风机1的进风口11通过软接头78与进风管79的出风口连通,上述进风管79安装在墙体80上,上述进风管79与室外81连通,上述进风管79的进风口上设有防水百叶罩82,上述进风管79上设有活动式空气过滤网83,并且,本吊顶式节能冷风机1的出风口12通过软接头75与出风管76的进风口连通,这样,本吊顶式节能冷风机1便实现了室内吊顶明装,并且,室外81的新鲜空气经过活动式空气过滤网83的过滤后,由本吊顶式节能冷风机1进行湿化降温后输送到室内77;
如图8所示,本吊顶式节能冷风机1通过减震器71进行室内吊顶明装,同时,本吊顶式节能冷风机1的进风口11与进风管79的出风口连通,上述进风管79安装在墙体80上,上述进风管79与室外81连通,上述进风管79的进风口上设有防水百叶罩82,上述进风管79上设有活动式空气过滤网83,并且,本吊顶式节能冷风机1的出风口12向下设置,同时,本吊顶式节能冷风机1的出风口12上设有送风电动百叶风口86,这样,本吊顶式节能冷风机1便实现了室内吊顶明装且下送风,同时,室外81的新鲜空气经过活动式空气过滤网83的过滤后,由本吊顶式节能冷风机1进行湿化降温后输送到室内77;
如图9所示,本吊顶式节能冷风机1通过减震器71进行室内吊顶明装,同时,本吊顶式节能冷风机1的进风口11与进风管79的出风口连通,上述进风管79安装在墙体80上,上述进风管79与室外81连通,上述进风管79的进风口上设有防水百叶罩82,上述进风管79上设有活动式空气过滤网83,并且,本吊顶式节能冷风机1的出风口12侧向设置,同时,本吊顶式节能冷风机1的出风口12上设有送风电动百叶风口86,这样,本吊顶式节能冷风机1便实现了室内吊顶明装且侧送风,同时,室外81的新鲜空气经过活动式空气过滤网83的过滤后,由本吊顶式节能冷风机1进行湿化降温后输送到室内77;
如图10所示,本吊顶式节能冷风机1通过安装架87安装在室外走廊的墙体80上,同时,本吊顶式节能冷风机1的进风口11与进风管79的出风口连通,进风管79与室外81连通,进风管79的进风口上设有防水百叶罩82,进风管79上设有活动式空气过滤网83,并且,本吊顶式节能冷风机1的出风口12通过出风管88与室内77连通,上述出风管88安装在墙体80上,出风管88的出风口上设有送风电动百叶风口86,这样,室外81的新鲜空气经过活动式空气过滤网83的过滤后,由本吊顶式节能冷风机1进行湿化降温后输送到室内77;
如图11所示,本吊顶式节能冷风机1通过减震器71隐藏式地吊装在天花板72上,同时,本吊顶式节能冷风机1的进风口11通过软接头78与进风管79的出风口连通,本吊顶式节能冷风机1的出风口12通过软接头75与出风管76的进风口连通,这样,本吊顶式节能冷风机1便通过进风管79吸收室内77的空气,并对吸收的空气进行湿化降温,然后通过出风管76输送到室内77,从而实现室内空气循环的冷风加湿降温。
本吊顶式节能冷风机1还有其它的安装方式,在此就不再一一介绍了。
上述湿帘31、控制器42、流量检测器43和水位检测器44均为现有技术,在此也不再作进一步的介绍。
图1、图5、图6、图7、图8、图9、图10和图11中箭头方向表示气体流动的方向。
以上具体实施方式的内容仅为本实用新型的优选实施例,上述优选实施例并非用来限定本实用新型的实施范围;凡是依照本实用新型其权利要求的保护范围所做出的各种等同变换,均被本实用新型其权利要求的保护范围所覆盖。

Claims (5)

1.一种吊顶式节能冷风机,其特征在于:包括机壳、湿帘冷风降温装置和装吊筋;上述机壳的一端设有进风口,上述机壳的另一端设有出风口;上述湿帘冷风降温装置设在机壳内,上述湿帘冷风降温装置位于进风口和出风口之间;上述装吊筋设在机壳上。
2.按照权利要求1所述的吊顶式节能冷风机,其特征在于:所述湿帘冷风降温装置包括湿帘、喷淋管、集水盘和引风机;上述湿帘、喷淋管、集水盘和引风机分别设在机壳内;上述湿帘位于进风口和出风口之间;上述喷淋管位于湿帘的上方,上述喷淋管上设有多个喷水孔;上述集水盘位于湿帘的下方,上述集水盘的下部设有一个排水口,上述排水口上设有一个排水阀;上述引风机位于湿帘的一侧。
3.按照权利要求2所述的吊顶式节能冷风机,其特征在于:所述湿帘接近于机壳的进风口,上述引风机位于湿帘和机壳的出风口之间,上述引风机的进风口与湿帘相对应,上述引风机的出风口与机壳的出风口相对应。
4.按照权利要求2所述的吊顶式节能冷风机,其特征在于:所述湿帘冷风降温装置还包括一个控制装置,上述控制装置包括进水阀和控制器,上述进水阀设在喷淋管的进水端上;上述控制器设在机壳上,上述控制器的一个信号输出端与进水阀电连接,上述控制器的另一个信号输出端与引风机电连接,上述控制器的第三个信号输出端与排水阀电连接。
5.按照权利要求4所述的吊顶式节能冷风机,其特征在于:所述控制装置还包括流量检测器和水位检测器,上述流量检测器设在喷淋管的进水端上,上述水位检测器设在集水盘内;上述流量检测器的信号输出端与控制器的一个信号输入端电连接,上述水位检测器的信号输出端与控制器的另一个信号输入端电连接。
CN 201220631526 2012-11-21 2012-11-21 一种吊顶式节能冷风机 Expired - Fee Related CN202928001U (zh)

Priority Applications (1)

Application Number Priority Date Filing Date Title
CN 201220631526 CN202928001U (zh) 2012-11-21 2012-11-21 一种吊顶式节能冷风机

Applications Claiming Priority (1)

Application Number Priority Date Filing Date Title
CN 201220631526 CN202928001U (zh) 2012-11-21 2012-11-21 一种吊顶式节能冷风机

Publications (1)

Publication Number Publication Date
CN202928001U true CN202928001U (zh) 2013-05-08

Family

ID=48217954

Family Applications (1)

Application Number Title Priority Date Filing Date
CN 201220631526 Expired - Fee Related CN202928001U (zh) 2012-11-21 2012-11-21 一种吊顶式节能冷风机

Country Status (1)

Country Link
CN (1) CN202928001U (zh)

Cited By (2)

* Cited by examiner, † Cited by third party
Publication number Priority date Publication date Assignee Title
CN104214841A (zh) * 2013-05-29 2014-12-17 无锡飘睿健康科技有限公司 一种吸顶式空气净化装置
CN104456800A (zh) * 2014-10-13 2015-03-25 苏州艾斯特工业设备有限公司 一种净化送风箱

Cited By (2)

* Cited by examiner, † Cited by third party
Publication number Priority date Publication date Assignee Title
CN104214841A (zh) * 2013-05-29 2014-12-17 无锡飘睿健康科技有限公司 一种吸顶式空气净化装置
CN104456800A (zh) * 2014-10-13 2015-03-25 苏州艾斯特工业设备有限公司 一种净化送风箱

Similar Documents

Publication Publication Date Title
CN202902513U (zh) 层流通风式蒸发冷却空调系统
CN204648564U (zh) 一种水媒介舒适空调
WO2021143132A1 (zh) 一种吊顶式新风空调室内机
CN102155761B (zh) 一种集成有冷暖空调器的吊顶装置
CN201421141Y (zh) 具有加湿功能的家用电器
CN2226723Y (zh) 窗式加湿过滤冷风机
CN202928001U (zh) 一种吊顶式节能冷风机
CN209726361U (zh) 一种单风机共风道式通风设备
CN109990413B (zh) 一种重力热管与露点间接蒸发冷却器结合的空调机组
CN212746762U (zh) 多能源除湿加湿一体化高效净化全热交换新风设备
CN208253835U (zh) 一种结合层式送风的蒸发冷却通风空调系统
CN208222729U (zh) 新型空气净化设备
CN204421246U (zh) 干燥地区用蒸发冷却与机械制冷联合的洁净空调机组
CN209431580U (zh) 基于工位送风的宿舍用蒸发冷却通风降温系统
CN108644951B (zh) 加湿装置
CN202166132U (zh) 节能环保雾化空调
CN201973826U (zh) 空气降温净化装置
CN202734127U (zh) 一种高效节能蒸发式加湿制冷家用空调
CN204678572U (zh) 基于蒸发冷却与热管、热泵联合的空调机组
CN210118917U (zh) 电冰箱配套专用的外置抽风供冷系统
CN115899848A (zh) 空调、预制舱及控制方法
CN202915488U (zh) 机房、基站专用水帘新风冷却系统
CN202470275U (zh) 利用空调冷凝水的环保节能加湿机
CN205403021U (zh) 冷气机
CN201081340Y (zh) 一种通讯基站空调机组

Legal Events

Date Code Title Description
C14 Grant of patent or utility model
GR01 Patent grant
CF01 Termination of patent right due to non-payment of annual fee

Granted publication date: 20130508

Termination date: 20151121

EXPY Termination of patent right or utility model