CN202909384U - Physical exercise device used for exercising strength of upper limbs and legs - Google Patents
Physical exercise device used for exercising strength of upper limbs and legs Download PDFInfo
- Publication number
- CN202909384U CN202909384U CN 201220656422 CN201220656422U CN202909384U CN 202909384 U CN202909384 U CN 202909384U CN 201220656422 CN201220656422 CN 201220656422 CN 201220656422 U CN201220656422 U CN 201220656422U CN 202909384 U CN202909384 U CN 202909384U
- Authority
- CN
- China
- Prior art keywords
- physical
- liftable support
- training
- upper limbs
- strength
- Prior art date
- Legal status (The legal status is an assumption and is not a legal conclusion. Google has not performed a legal analysis and makes no representation as to the accuracy of the status listed.)
- Expired - Fee Related
Links
Images
Landscapes
- Rehabilitation Tools (AREA)
Abstract
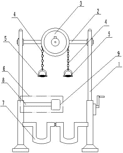
一种用于训练上肢和腿部力量的体育锻炼器,它涉及一种体育锻炼器。本实用新型为了解决现有的体育锻炼器都存在训练功能单一的问题,给体育训练者带来了不便。本实用新型的横梁设置在可升降支架的上端,转盘固装在横梁的中部,且转盘的外直径为40cm-50cm,两个调节链条分别设置在转盘的两端,每个调节链条的下端均设有一个手柄,腰部限位组件固装在可升降支架的中下部,脚部限位杆设置在腰部限位组件的下方并可转动设置在可升降支架上。本实用新型能够同时训练上肢力量和腿部力量,给体育训练者带来方便。本实用新型用于上肢和腿部力量的训练。
A physical exerciser for training the strength of upper limbs and legs, which relates to a physical exerciser. The utility model solves the problem that existing physical training devices have a single training function, which brings inconvenience to physical trainers. The crossbeam of the utility model is arranged on the upper end of the liftable support, and the turntable is fixed in the middle of the crossbeam, and the outer diameter of the turntable is 40cm-50cm. A handle is provided, the waist limiting assembly is fixedly mounted on the middle and lower part of the liftable support, and the foot limiting rod is arranged below the waist limiting assembly and is rotatably arranged on the liftable support. The utility model can simultaneously train upper limb strength and leg strength, and brings convenience to physical trainers. The utility model is used for training the strength of upper limbs and legs.
Description
技术领域 technical field
本实用新型涉及一种体育锻炼器,具体涉及一种用于训练上肢和腿部力量的体育锻炼器,属于体育器械领域。 The utility model relates to a physical exercise device, in particular to a physical exercise device for training the strength of upper limbs and legs, and belongs to the field of sports equipment.
背景技术 Background technique
体育器材与体育运动相互依存,相互促进。体育运动的普及和运动项目的多样化使体育器材的种类、规格等都得到发展,力量素质是人体进行体育运动的基本素质之一,是获得运动技能和取得优异运动成绩的基础,同时也是其他素质发展的重要因素,为此,人们发明了很多锻炼力量素质的体育锻炼器,但现有的诸多体育锻炼器都存在训练功能单一的问题,给体育训练者带来了不便。 Sports equipment and sports are interdependent and promote each other. The popularity of sports and the diversification of sports have led to the development of the types and specifications of sports equipment. Strength quality is one of the basic qualities of the human body for sports. It is the basis for acquiring sports skills and excellent sports performance. The important factor of quality development, for this reason, people have invented a lot of physical training devices of exercising strength quality, but existing many physical training devices all have the single problem of training function, have brought inconvenience to the physical trainer.
实用新型内容 Utility model content
本实用新型的目的是为了解决现有的体育锻炼器都存在训练功能单一的问题,给体育训练者带来了不便,进而提供一种用于训练上肢和腿部力量的体育锻炼器。 The purpose of the utility model is to solve the problem that existing physical training devices have single training function, which brings inconvenience to physical trainers, and further provide a physical training device for training upper limbs and leg strength.
本实用新型的技术方案是:一种用于训练上肢和腿部力量的体育锻炼器包括可升降支架,所述体育锻炼器还包括横梁、转盘、两个调节链条、两个手柄、腰部限位组件和脚部限位杆,横梁设置在可升降支架的上端,转盘固装在横梁的中部,且转盘的外直径为40cm-50cm,两个调节链条分别设置在转盘的两端,每个调节链条的下端均设有一个手柄,腰部限位组件固装在可升降支架的中下部,脚部限位杆设置在腰部限位组件的下方并可转动设置在可升降支架上。 The technical scheme of the utility model is: a physical exercise device for training the strength of upper limbs and legs includes a lifting bracket, and the physical exercise device also includes a beam, a turntable, two adjustment chains, two handles, and a waist limiter. Components and foot limit rods, the crossbeam is set on the upper end of the liftable bracket, the turntable is fixed in the middle of the crossbeam, and the outer diameter of the turntable is 40cm-50cm, and two adjustment chains are respectively set at both ends of the turntable. The lower end of the chain is provided with a handle, the waist limiting assembly is fixed on the middle and lower part of the liftable support, and the foot limiting lever is arranged below the waist limiting assembly and is rotatably arranged on the liftable support.
所述可升降支架为手动可升降支架。 The liftable support is a manual liftable support.
所述腰部限位组件包括限位杆和限位板,限位杆的一端固装在可升降支架上,限位杆的另一端设有限位板。 The waist limiting assembly includes a limiting rod and a limiting plate, one end of the limiting rod is fixed on the liftable support, and the other end of the limiting rod is provided with a limiting plate.
所述腰部限位组件的下沿距离地面1m-1.3m。 The lower edge of the waist limiting component is 1m-1.3m away from the ground.
所述脚部限位杆的下沿距离地面8cm-15cm。 The lower edge of the foot limiting rod is 8cm-15cm away from the ground.
本实用新型与现有技术相比具有以下效果: Compared with the prior art, the utility model has the following effects:
1.本实用新型的可升降支架便于根据不同体育训练者的身高和上肢力量状态,选择合适高度的支架,使得体育锻炼器更加人性化。 1. The liftable support of the present utility model is convenient for selecting a support with a suitable height according to the height and upper limb strength state of different physical trainers, making the physical exercise device more humanized.
2.本实用新型的腰部限位组件和可转动的脚部限位杆能够为体育训练者锻炼腿部力量时,提供一个支点,腿部力量训练效果好。 2. The waist limiting assembly and the rotatable foot limiting rod of the present utility model can provide a fulcrum for physical trainers when exercising leg strength, and the effect of leg strength training is good.
3.本实用新型能够同时训练上肢力量和腿部力量,给体育训练者带来方便。 3. The utility model can simultaneously train upper limb strength and leg strength, which brings convenience to sports trainers.
4.本实用新型结构简单,易于实现,成本低廉。 4. The utility model has the advantages of simple structure, easy realization and low cost.
附图说明 Description of drawings
图1是本实用新型的结构示意图。 Fig. 1 is a structural representation of the utility model.
具体实施方式 Detailed ways
具体实施方式一:结合图1说明本实施方式,本实施方式包括可升降支架1,所述体育锻炼器还包括横梁2、转盘3、两个调节链条4、两个手柄5、腰部限位组件6和脚部限位杆7,横梁2设置在可升降支架1的上端,转盘3固装在横梁2的中部,且转盘3的外直径为40cm-50cm,两个调节链条4分别设置在转盘3的两端,每个调节链条4的下端均设有一个手柄5,腰部限位组件6固装在可升降支架1的中下部,脚部限位杆7设置在腰部限位组件6的下方并可转动设置在可升降支架1上。
Specific Embodiment 1: This embodiment is described in conjunction with FIG. 1. This embodiment includes a liftable support 1, and the physical exercise device also includes a
作为一种优选方式,本实施方式的可升降支架1为手动可升降支架。如此设置,便于根据不同体育训练者的身高和上肢力量状态,选择合适高度的支架,使得体育锻炼器更加人性化。 As a preferred manner, the liftable stand 1 of this embodiment is a manually liftable stand. Such setting makes it easy to select a bracket with a suitable height according to the height and upper limb strength state of different physical trainers, making the physical exercise device more humanized.
作为一种优选方式,本实施方式的腰部限位组件6包括限位杆8和限位板9,限位杆8的一端固装在可升降支架1上,限位杆8的另一端设有限位板9。如此设置,为体育训练者的腰部提供更加舒适的训练环境。
As a preferred mode, the waist limiting assembly 6 of this embodiment includes a
作为一种优选方式,本实施方式的腰部限位组件6的下沿距离地面1m-1.3m。如此设置,便于与体育训练者的腰部位置相匹配。 As a preferred manner, the lower edge of the waist limiting assembly 6 in this embodiment is 1m-1.3m away from the ground. Such setting is convenient to match with the waist position of the sports trainer.
作为一种优选方式,本实施方式的脚部限位杆7的下沿距离地面8cm-15cm。如此设置,便于与体育训练者的脚部位置相匹配。 As a preferred manner, the lower edge of the foot limiting rod 7 in this embodiment is 8cm-15cm away from the ground. So set, it is convenient to match with the foot position of the sports trainer.
本实用新型的工作过程是: The working process of the present utility model is:
当训练上肢力量时,只需将可升降支架1调整到合适的高度,双手握住两个手柄5做往复向上的运动即可。
When training the strength of the upper limbs, it is only necessary to adjust the liftable support 1 to a suitable height, and hold the two
当训练腿部力量时,只需将可升降支架1调整到合适的高度,双手握住两个手柄5做往复向上运动的同时,双腿并拢,腰部向上用力,此时,腰部抵靠在腰部限位组件6上,双脚搭接在脚部限位杆7上,进行往复的腿部力量的训练。
When training leg strength, you only need to adjust the liftable support 1 to a suitable height, and while holding the two
Claims (5)
Priority Applications (1)
| Application Number | Priority Date | Filing Date | Title |
|---|---|---|---|
| CN 201220656422 CN202909384U (en) | 2012-12-04 | 2012-12-04 | Physical exercise device used for exercising strength of upper limbs and legs |
Applications Claiming Priority (1)
| Application Number | Priority Date | Filing Date | Title |
|---|---|---|---|
| CN 201220656422 CN202909384U (en) | 2012-12-04 | 2012-12-04 | Physical exercise device used for exercising strength of upper limbs and legs |
Publications (1)
| Publication Number | Publication Date |
|---|---|
| CN202909384U true CN202909384U (en) | 2013-05-01 |
Family
ID=48157736
Family Applications (1)
| Application Number | Title | Priority Date | Filing Date |
|---|---|---|---|
| CN 201220656422 Expired - Fee Related CN202909384U (en) | 2012-12-04 | 2012-12-04 | Physical exercise device used for exercising strength of upper limbs and legs |
Country Status (1)
| Country | Link |
|---|---|
| CN (1) | CN202909384U (en) |
Cited By (1)
| Publication number | Priority date | Publication date | Assignee | Title |
|---|---|---|---|---|
| CN107320909A (en) * | 2017-06-27 | 2017-11-07 | 许昌学院 | Strengthen the telecontrol equipment of infant's arm strength |
-
2012
- 2012-12-04 CN CN 201220656422 patent/CN202909384U/en not_active Expired - Fee Related
Cited By (2)
| Publication number | Priority date | Publication date | Assignee | Title |
|---|---|---|---|---|
| CN107320909A (en) * | 2017-06-27 | 2017-11-07 | 许昌学院 | Strengthen the telecontrol equipment of infant's arm strength |
| CN107320909B (en) * | 2017-06-27 | 2019-04-09 | 许昌学院 | Exercise device to enhance arm strength of infants |
Similar Documents
| Publication | Publication Date | Title |
|---|---|---|
| CN204050832U (en) | Adjustable chest expander | |
| CN202777697U (en) | Swimming high-pulling training device | |
| CN202909384U (en) | Physical exercise device used for exercising strength of upper limbs and legs | |
| CN203954577U (en) | upper and lower limbs rehabilitation training device | |
| CN203483813U (en) | Golf booster action training device | |
| CN202777696U (en) | Swimming horizontal-pulling training device | |
| CN204073290U (en) | A kind of indoor body-building device | |
| CN203724713U (en) | Frame type brawn trainer used with weights | |
| CN204319616U (en) | A kind of limb rehabilitating device | |
| CN202654615U (en) | Combined apoplexy rehabilitation training device | |
| CN203803040U (en) | Arm exercise equipment | |
| CN202822635U (en) | Adjusting and limiting mechanism of calf training machine | |
| CN107485820A (en) | A kind of chest expander of convenient regulation | |
| CN208319845U (en) | A kind of high position shoulder drawing health and fitness facilities | |
| CN206315407U (en) | A kind of wearable Portable type multifunctional exercise equipment | |
| CN205699184U (en) | A kind of thorax press | |
| CN204017254U (en) | Indoor body-building equipment | |
| CN103933704A (en) | Hand-foot synchronous swinging stooping device | |
| CN204017283U (en) | multifunctional fitness equipment | |
| CN202020850U (en) | Body-building instrument for body twisting | |
| CN203954572U (en) | Trick synchronous swing bending down aid | |
| CN202961703U (en) | Hamstring muscle and lower limb training fitness device | |
| CN205042042U (en) | Novel multi -functional physical stamina training system | |
| CN204601467U (en) | A kind of hand leg back fitness equipment | |
| CN204352447U (en) | Physical education muscle training apparatus |
Legal Events
| Date | Code | Title | Description |
|---|---|---|---|
| C14 | Grant of patent or utility model | ||
| GR01 | Patent grant | ||
| C17 | Cessation of patent right | ||
| CF01 | Termination of patent right due to non-payment of annual fee |
Granted publication date: 20130501 Termination date: 20131204 |
