CN202891549U - Novel dual-purpose peeler - Google Patents
Novel dual-purpose peeler Download PDFInfo
- Publication number
- CN202891549U CN202891549U CN 201220584358 CN201220584358U CN202891549U CN 202891549 U CN202891549 U CN 202891549U CN 201220584358 CN201220584358 CN 201220584358 CN 201220584358 U CN201220584358 U CN 201220584358U CN 202891549 U CN202891549 U CN 202891549U
- Authority
- CN
- China
- Prior art keywords
- handle
- guide groove
- digging knife
- planer
- utility
- Prior art date
- Legal status (The legal status is an assumption and is not a legal conclusion. Google has not performed a legal analysis and makes no representation as to the accuracy of the status listed.)
- Expired - Fee Related
Links
Images
Landscapes
- Knives (AREA)
- Food-Manufacturing Devices (AREA)
Abstract
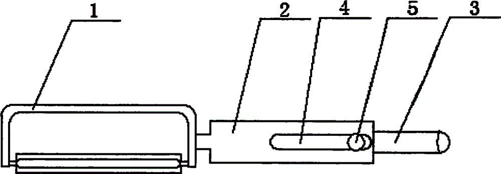
本实用新型公开了一种新型两用刨刀,它包含刨刀本体、手柄、挖刀、导槽和推钮;刨刀本体的后端与中空结构的手柄固定连接,该手柄的另一端设有开口,所述挖刀的柄端与手柄抽拉配合,所述手柄的表面开设有导槽,所述推钮的底部设有螺丝杆,该螺丝杆穿过导槽与挖刀的柄端固定成一体。本实用新型结构简单,构思巧妙,当需要使用时只需将挖刀推出即可,两个工具之间切换也非常的方便,且改造费用也较为低廉,有较高的市场前景。
The utility model discloses a novel dual-purpose planer, which comprises a planer body, a handle, a digging knife, a guide groove and a push button; the rear end of the planer body is fixedly connected with a hollow handle, and the other end of the handle is provided with an opening. The handle end of the digging knife is pulled and matched with the handle, the surface of the handle is provided with a guide groove, the bottom of the push button is provided with a screw rod, and the screw rod passes through the guide groove and is fixed into one body with the handle end of the digging knife . The utility model has a simple structure and an ingenious concept. When it needs to be used, it only needs to push out the digging knife, and it is very convenient to switch between the two tools, and the transformation cost is relatively low, so it has a relatively high market prospect.
Description
技术领域technical field
本实用新型涉及食品加工用具制造领域,具体涉及一种新型两用刨刀。The utility model relates to the field of manufacturing food processing utensils, in particular to a novel dual-purpose planer.
背景技术Background technique
在对瓜果加工的过程中需要将瓜果的果皮部分刨去,然后再交由下一道工序加工,但是在刨皮的过程中难免会遇到一些因运输或者采摘过程中因磕碰产生的局部质变的部分,这个时候就需要工人再拿出专用挖刀予以剔除,往往两个用具之间的转换就会在一定程度上降低工作效率。In the process of processing melons and fruits, it is necessary to peel off the skin of the melons and fruits, and then hand them over to the next process for processing. At this time, workers need to take out special digging knives to remove the parts that have changed qualitatively. Often, the conversion between the two tools will reduce work efficiency to a certain extent.
实用新型内容Utility model content
本实用新型目的是提供,它能有效地解决背景技术中所存在的问题。The purpose of the utility model is to provide that it can effectively solve the problems existing in the background technology.
为了解决背景技术中所存在的问题,它包含刨刀本体、手柄、挖刀、导槽和推钮;刨刀本体的后端与中空结构的手柄固定连接,该手柄的另一端设有开口,所述挖刀的柄端与手柄抽拉配合,所述手柄的表面开设有导槽,所述推钮的底部设有螺丝杆,该螺丝杆穿过导槽与挖刀的柄端固定成一体。In order to solve the existing problems in the background technology, it includes a planer body, a handle, a digging knife, a guide groove and a push button; the rear end of the planer body is fixedly connected with a handle of a hollow structure, and the other end of the handle is provided with an opening. The handle end of the digging knife is matched with the handle for pulling and pulling, the surface of the handle is provided with a guide groove, the bottom of the push button is provided with a screw rod, and the screw rod passes through the guide groove and is fixed into one body with the handle end of the digging knife.
由于采用了以上技术方案,本实用新型具有以下有益效果:结构简单,构思巧妙,当需要使用时只需将挖刀推出即可,两个工具之间切换也非常的方便,且改造费用也较为低廉,有较高的市场前景。Due to the adoption of the above technical scheme, the utility model has the following beneficial effects: the structure is simple, the concept is ingenious, when it needs to be used, it is only necessary to push out the digging knife, the switching between the two tools is also very convenient, and the transformation cost is also relatively low. Low price, high market prospect.
附图说明Description of drawings
为了更清楚地说明本实用新型,下面将结合附图对实施例作简单的介绍。In order to illustrate the utility model more clearly, the embodiments will be briefly introduced below in conjunction with the accompanying drawings.
图1是本实用新型的结构示意图。Fig. 1 is a structural representation of the utility model.
具体实施方式Detailed ways
为了使本实用新型实现的技术手段、创作特征、达成目的与功效易于明白了解,下面将结合本实用新型实施例中的附图,对本实用新型实施例中的技术方案进行清楚、完整地描述。In order to make the technical means, creative features, goals and effects achieved by the utility model easy to understand, the technical solutions in the utility model embodiment will be clearly and completely described below in conjunction with the accompanying drawings in the utility model embodiment.
参看图1,本具体实施方式是采用以下技术方案予以实现,它包含刨刀本体1、手柄2、挖刀3、导槽4和推钮5;刨刀本体1的后端与中空结构的手柄2固定连接,该手柄2的另一端设有开口,所述挖刀3的柄端与手柄2抽拉配合,所述手柄2的表面开设有导槽4,所述推钮5的底部设有螺丝杆,该螺丝杆穿过导槽4与挖刀3的柄端固定成一体。Referring to Fig. 1, this specific embodiment is realized by adopting the following technical scheme, which includes a
由于采用了以上技术方案,本具体实施方式具有以下有益效果:结构简单,构思巧妙,当需要使用时只需将挖刀推出即可,两个工具之间切换也非常的方便,且改造费用也较为低廉,有较高的市场前景。Due to the adoption of the above technical solutions, this specific embodiment has the following beneficial effects: simple structure, ingenious conception, only need to push out the digging knife when it needs to be used, it is also very convenient to switch between the two tools, and the transformation cost is also low. It is relatively cheap and has a high market prospect.
Claims (1)
Priority Applications (1)
| Application Number | Priority Date | Filing Date | Title |
|---|---|---|---|
| CN 201220584358 CN202891549U (en) | 2012-11-08 | 2012-11-08 | Novel dual-purpose peeler |
Applications Claiming Priority (1)
| Application Number | Priority Date | Filing Date | Title |
|---|---|---|---|
| CN 201220584358 CN202891549U (en) | 2012-11-08 | 2012-11-08 | Novel dual-purpose peeler |
Publications (1)
| Publication Number | Publication Date |
|---|---|
| CN202891549U true CN202891549U (en) | 2013-04-24 |
Family
ID=48112283
Family Applications (1)
| Application Number | Title | Priority Date | Filing Date |
|---|---|---|---|
| CN 201220584358 Expired - Fee Related CN202891549U (en) | 2012-11-08 | 2012-11-08 | Novel dual-purpose peeler |
Country Status (1)
| Country | Link |
|---|---|
| CN (1) | CN202891549U (en) |
-
2012
- 2012-11-08 CN CN 201220584358 patent/CN202891549U/en not_active Expired - Fee Related
Similar Documents
| Publication | Publication Date | Title |
|---|---|---|
| CN202891549U (en) | Novel dual-purpose peeler | |
| CN202891551U (en) | Novel dual-purpose fruit knife | |
| CN202376035U (en) | Mop with blade | |
| CN202264237U (en) | Dual-purpose kitchen knife | |
| CN202365583U (en) | Orange peeler | |
| CN202891552U (en) | Novel plane cutter with storage function | |
| CN202636568U (en) | Novel squeezer | |
| CN202742390U (en) | Multifunctional scissors | |
| CN203220232U (en) | Anti-skidding peel removing device | |
| CN201929290U (en) | Sticky buckle innovating brush | |
| CN201855069U (en) | Orange peeler | |
| CN203016761U (en) | Frame-free multifunctional radish strip planing tool | |
| CN202367767U (en) | Fruit knife with scale scraper | |
| CN202960035U (en) | Convenient garlic smashing hammer | |
| CN202278589U (en) | Multifunctional kitchen knife capable of being weighted | |
| CN202211551U (en) | Peeling device | |
| CN202515503U (en) | Push-pull shovel-spoon | |
| CN204466769U (en) | A kind of simple and easy Scaler | |
| CN202753173U (en) | Novel multi-purpose kitchen knife and spoon structure | |
| CN204379052U (en) | A kind of home-use pill preparation device | |
| CN202801145U (en) | Improved fruit peeler | |
| CN203407863U (en) | Pulling type pineapple cutter | |
| CN202556417U (en) | A kitchen knife | |
| CN202020353U (en) | Device allowing tooth paste to be squeezed conveniently | |
| CN202096161U (en) | Broom |
Legal Events
| Date | Code | Title | Description |
|---|---|---|---|
| C14 | Grant of patent or utility model | ||
| GR01 | Patent grant | ||
| CF01 | Termination of patent right due to non-payment of annual fee |
Granted publication date: 20130424 Termination date: 20151108 |
|
| EXPY | Termination of patent right or utility model |
