CN202887566U - Maintenance training device for mobile power disconnecting switch operating mechanism - Google Patents

Maintenance training device for mobile power disconnecting switch operating mechanism Download PDF

Info

Publication number
CN202887566U
CN202887566U CN 201220596018 CN201220596018U CN202887566U CN 202887566 U CN202887566 U CN 202887566U CN 201220596018 CN201220596018 CN 201220596018 CN 201220596018 U CN201220596018 U CN 201220596018U CN 202887566 U CN202887566 U CN 202887566U
Authority
CN
China
Prior art keywords
operating mechanism
switch operating
isolating switch
support
training device
Prior art date
Legal status (The legal status is an assumption and is not a legal conclusion. Google has not performed a legal analysis and makes no representation as to the accuracy of the status listed.)
Expired - Lifetime
Application number
CN 201220596018
Other languages
Chinese (zh)
Inventor
任小川
谢维兵
刘敏
陈慧春
谢伟
兰玉彬
Current Assignee (The listed assignees may be inaccurate. Google has not performed a legal analysis and makes no representation or warranty as to the accuracy of the list.)
Chongqing Power Education & Training Center
State Grid Corp of China SGCC
Original Assignee
Chongqing Power Education & Training Center
State Grid Corp of China SGCC
Priority date (The priority date is an assumption and is not a legal conclusion. Google has not performed a legal analysis and makes no representation as to the accuracy of the date listed.)
Filing date
Publication date
Application filed by Chongqing Power Education & Training Center, State Grid Corp of China SGCC filed Critical Chongqing Power Education & Training Center
Priority to CN 201220596018 priority Critical patent/CN202887566U/en
Application granted granted Critical
Publication of CN202887566U publication Critical patent/CN202887566U/en
Anticipated expiration legal-status Critical
Expired - Lifetime legal-status Critical Current

Links

Images

Landscapes

  • Casings For Electric Apparatus (AREA)

Abstract

本实用新型公开了一种移动式电力隔离开关操作机构检修培训装置,包括电力隔离开关操作机构,电力隔离开关操作机构安装在一箱体内,箱体上设有一扇门,门和箱体之间装配有锁,箱体安放在一支架上,该支架由立柱、横梁和纵梁构成立体矩形框架,支架下方安装有滚轮。在支架的一侧固定有支撑板,在箱体的背面固定有连接板,支撑板和连接板之间用螺栓连接,支撑板和连接板上的螺栓过孔为条形孔。采用本实用新型的技术方案,使电力隔离开关操作机构的搬运和安装更加方便,实训操作更加省力、方便和快速。

Figure 201220596018

The utility model discloses a mobile power isolating switch operating mechanism inspection and training device, which comprises a power isolating switch operating mechanism. The power isolating switch operating mechanism is installed in a box body. A door is arranged on the box body. Equipped with a lock, the box is placed on a support, which is composed of columns, beams and longitudinal beams to form a three-dimensional rectangular frame, and rollers are installed under the support. A supporting plate is fixed on one side of the bracket, and a connecting plate is fixed on the back of the box body. The supporting plate and the connecting plate are connected by bolts, and the bolt holes on the supporting plate and the connecting plate are strip holes. The adoption of the technical solution of the utility model makes the handling and installation of the operating mechanism of the electric isolating switch more convenient, and the practical training operation is more labor-saving, convenient and fast.

Figure 201220596018

Description

Portable power isolator operating mechanism maintenance training set
Technical field
The utility model belongs to electrical overhaul skills training technical field, specifically, relates to a kind of device for isolator operating mechanism maintenance training.
Background technology
Electrical overhaul is an important process that guarantees the electrical equipment safe and reliable operation.Because the requirement of the singularity of electrical equipment and maintenance technique need to be overhauled skills training to the electrical overhaul personnel.The maintenance skills training of electrical equipment has two kinds of situations usually, and the one, on-site training namely gives training in the equipment installation place; The 2nd, carry out electrical overhaul skill training and the training of maintenance technique at training base.In the maintenance skills training of training base, the equipment of maintenance training need to be fixed on a rational position, and need to according to different maintenance training contentss, change the equipment of different model.
In existing isolator operating mechanism maintenance training, isolator operating mechanism normally adopts hang to be fixed on the important actor side, since heavier, bring the deuce to pay for dismounting, carrying and installation, be unfavorable for effectively carrying out fast of real training work.
The utility model content
The purpose of this utility model provides a kind of convenience at the portable power isolator operating mechanism maintenance training set of the carrying of real training place and use.
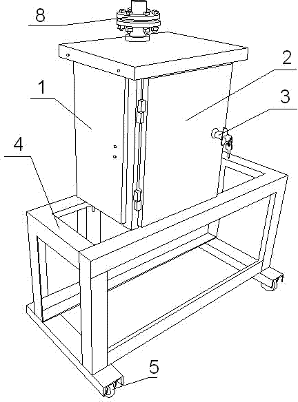
The technical scheme that the utility model is taked is: a kind of portable power isolator operating mechanism maintenance training set, comprise power isolator operating mechanism, power isolator operating mechanism is installed in the casing, casing is provided with Yishanmen, be equipped with lock between door and the casing, casing is placed on the support, and this support consists of the solid rectangle framework by column, crossbeam and longeron, and the support below is equipped with roller.
During real training, shift the utility model onto the examining and repairing power disconnecting switch station, casing is opened and the power isolator operating mechanism in the casing is linked to each other with disconnector, just can carry out corresponding real training operation.Not the time spent, the disconnection power isolator operating mechanism is connected with disconnector, the utility model is shifted onto other local back up in real training place.Since adopted the structure of go-cart, more laborsaving when carrying and installation, use also convenient, rapid.
Side at support is fixed with back up pad, the back side at casing is fixed with web joint, connects with bolt between back up pad and the web joint, and the bolt through-hole on back up pad and the web joint is bar hole, the such height of adjustable case body, with adapt to real training on-the-spot with being linked and packed of disconnector.
End face at casing is equipped with ring flange, utilizes this ring flange, after the utility model being carried out corresponding real training station, casing can be hung up usefulness together with the power isolator operating mechanism in the casing, to adapt to the needs of some station special space structure.
Adopt the technical solution of the utility model, make the carrying of power isolator operating mechanism and easier for installation, the real training operation is more laborsaving, convenient and fast.
Description of drawings
Fig. 1 is structural representation of the present utility model.
Fig. 2 is side direction synoptic diagram of the present utility model.
Embodiment
Below in conjunction with the drawings and specific embodiments the utility model is further described.
As shown in Figure 1 and Figure 2, a kind of portable power isolator operating mechanism maintenance training set, contain power isolator operating mechanism, power isolator operating mechanism is installed in the casing 1, casing 1 is provided with Yishanmen 2, is equipped with lock 3 between door 2 and the casing 1, and casing 1 is placed on the support 4, this support 4 consists of the solid rectangle framework by column, crossbeam and longeron, and support 4 belows are equipped with roller 5.Power isolator operating mechanism still adopts traditional structure, and is not shown in FIG..
During real training, shift the utility model onto the examining and repairing power disconnecting switch station, casing 1 is opened and the power isolator operating mechanism in the casing 1 is linked to each other with disconnector, just can carry out corresponding real training and operate.Not the time spent, the disconnection power isolator operating mechanism is connected with disconnector, the utility model is shifted onto other local back up in real training place.Since adopted the structure of go-cart, more laborsaving when carrying and installation, use also convenient, rapid.
Referring to Fig. 2, side at support 4 is fixed with back up pad 6, be fixed with web joint 7 at the back side of casing 1, connect with bolt between back up pad 6 and the web joint 7, bolt through-hole on back up pad 6 and the web joint 7 is bar hole, the such height of adjustable case body, with adapt to real training on-the-spot with being linked and packed of disconnector.
Referring to Fig. 1, Fig. 2, end face at casing 1 is equipped with ring flange 8, utilizes this ring flange 8, after the utility model being carried out corresponding real training station, casing 1 can be hung up usefulness together with the power isolator operating mechanism in the casing 1, to adapt to the needs of some station special space structure.

Claims (3)

1.一种移动式电力隔离开关操作机构检修培训装置,包括电力隔离开关操作机构,电力隔离开关操作机构安装在一箱体内,箱体上设有一扇门,门和箱体之间装配有锁,其特征在于:箱体安放在一支架上,该支架由立柱、横梁和纵梁构成立体矩形框架,支架下方安装有滚轮。 1. A mobile power isolating switch operating mechanism maintenance training device, including the power isolating switch operating mechanism, the power isolating switch operating mechanism is installed in a box, the box is provided with a door, and a lock is installed between the door and the box , it is characterized in that: the box body is placed on a support, and the support consists of columns, beams and longitudinal beams to form a three-dimensional rectangular frame, and rollers are installed under the support. 2.根据权利要求1所述的移动式电力隔离开关操作机构检修培训装置,其特征在于:在支架的一侧固定有支撑板,在箱体的背面固定有连接板,支撑板和连接板之间用螺栓连接,支撑板和连接板上的螺栓过孔为条形孔。 2. The mobile power isolating switch operating mechanism maintenance training device according to claim 1, characterized in that: a support plate is fixed on one side of the bracket, and a connecting plate is fixed on the back of the box body, between the supporting plate and the connecting plate The spaces are connected by bolts, and the bolt holes on the support plate and the connection plate are strip holes. 3.根据权利要求1所述的移动式电力隔离开关操作机构检修培训装置,其特征在于:在箱体的顶面安装有法兰盘。 3. The mobile power isolating switch operating mechanism maintenance training device according to claim 1, characterized in that: a flange is installed on the top surface of the box.
CN 201220596018 2012-11-13 2012-11-13 Maintenance training device for mobile power disconnecting switch operating mechanism Expired - Lifetime CN202887566U (en)

Priority Applications (1)

Application Number Priority Date Filing Date Title
CN 201220596018 CN202887566U (en) 2012-11-13 2012-11-13 Maintenance training device for mobile power disconnecting switch operating mechanism

Applications Claiming Priority (1)

Application Number Priority Date Filing Date Title
CN 201220596018 CN202887566U (en) 2012-11-13 2012-11-13 Maintenance training device for mobile power disconnecting switch operating mechanism

Publications (1)

Publication Number Publication Date
CN202887566U true CN202887566U (en) 2013-04-17

Family

ID=48078970

Family Applications (1)

Application Number Title Priority Date Filing Date
CN 201220596018 Expired - Lifetime CN202887566U (en) 2012-11-13 2012-11-13 Maintenance training device for mobile power disconnecting switch operating mechanism

Country Status (1)

Country Link
CN (1) CN202887566U (en)

Cited By (1)

* Cited by examiner, † Cited by third party
Publication number Priority date Publication date Assignee Title
CN111667738A (en) * 2020-05-22 2020-09-15 国网河北省电力有限公司石家庄市藁城区供电分公司 A mobile power isolation switch operating mechanism maintenance training device

Cited By (1)

* Cited by examiner, † Cited by third party
Publication number Priority date Publication date Assignee Title
CN111667738A (en) * 2020-05-22 2020-09-15 国网河北省电力有限公司石家庄市藁城区供电分公司 A mobile power isolation switch operating mechanism maintenance training device

Similar Documents

Publication Publication Date Title
CN102996062B (en) Maintenance lifting platform and application method thereof
CN203850679U (en) Elevating disassembly and assembly platform with limiting support for current transformer in high-voltage switchgear
CN204131002U (en) For changing the supporting tool of the two insulator string of strain tower
CN201303220Y (en) Mobile installation cart of electric disc cabinet
CN202887566U (en) Maintenance training device for mobile power disconnecting switch operating mechanism
CN201893495U (en) Positioning fixing device for transformers in preassembled transformer substation
CN203392734U (en) Lifting appliance for maintaining crane
CN201541071U (en) Isolation switch maintenance platform
CN204917711U (en) Device of driving current collection gas ware dual supply
CN207352804U (en) A kind of movable type power isolator operating mechanism maintenance training device
CN103281886A (en) Auxiliary assembling and disassembling structure for heavy components in equipment cabinet and application method of auxiliary assembling and disassembling structure
CN202718379U (en) Mobile wall-mounted cart for construction of storage tanks
CN202395354U (en) European box-type substation with removable transformer
CN203696382U (en) Disassembling device for reaction kettle bearing
CN201937204U (en) Portable power maintenance bracket
CN204689588U (en) Vehicle-carrying lifting job platform
CN201238159Y (en) GW4-110 type isolation switch examination stand
CN206820326U (en) A kind of self-contained whole dismounting platform torn open of breaker
CN203813273U (en) 500kV GW16/17 Type Isolating Switch Comprehensive Maintenance Platform
CN203932758U (en) A kind of isolating switch upkeep operation platform
CN204967079U (en) A frock frame for assembly of KYN cubical switchboard device
CN203705258U (en) Fixing tool for testing strength of wind power blade
CN201994002U (en) Safety warning device for handcart-type switch cabinet of transformer substation
CN104064961B (en) Two guide rail transformer stations secondary door framework assists place system
CN202282575U (en) Insulation platform for expansion type live-line work

Legal Events

Date Code Title Description
C14 Grant of patent or utility model
GR01 Patent grant
CX01 Expiry of patent term

Granted publication date: 20130417

CX01 Expiry of patent term