CN202875817U - 一种中药材蒸煮装置 - Google Patents

一种中药材蒸煮装置 Download PDF

Info

Publication number
CN202875817U
CN202875817U CN 201220625705 CN201220625705U CN202875817U CN 202875817 U CN202875817 U CN 202875817U CN 201220625705 CN201220625705 CN 201220625705 CN 201220625705 U CN201220625705 U CN 201220625705U CN 202875817 U CN202875817 U CN 202875817U
Authority
CN
China
Prior art keywords
steaming
heating
medicinal material
heat conduction
conduction oil
Prior art date
Legal status (The legal status is an assumption and is not a legal conclusion. Google has not performed a legal analysis and makes no representation as to the accuracy of the status listed.)
Expired - Fee Related
Application number
CN 201220625705
Other languages
English (en)
Inventor
马松利
袁振辉
Current Assignee (The listed assignees may be inaccurate. Google has not performed a legal analysis and makes no representation or warranty as to the accuracy of the list.)
Luoyang Herbal Biological Pharmaceutical Co., Ltd.
Original Assignee
LUANCHUAN MATERIA MEDICA BIOLOGICAL DEVELOPMENT Co Ltd
Priority date (The priority date is an assumption and is not a legal conclusion. Google has not performed a legal analysis and makes no representation as to the accuracy of the date listed.)
Filing date
Publication date
Application filed by LUANCHUAN MATERIA MEDICA BIOLOGICAL DEVELOPMENT Co Ltd filed Critical LUANCHUAN MATERIA MEDICA BIOLOGICAL DEVELOPMENT Co Ltd
Priority to CN 201220625705 priority Critical patent/CN202875817U/zh
Application granted granted Critical
Publication of CN202875817U publication Critical patent/CN202875817U/zh
Anticipated expiration legal-status Critical
Expired - Fee Related legal-status Critical Current

Links

Images

Landscapes

  • Medicines Containing Plant Substances (AREA)

Abstract

一种中药材蒸煮装置,主要由上端设有密封盖的加热箱体和设置在加热箱体内的蒸煮药筒组成,其中,加热箱体和蒸煮药筒之间填充有导热油,导热油中设有发热体;所述的加热箱体的中部通过转轴固定,加热箱体上部设有导热油口,导热油口与转轴或其延长线垂直设置;所述蒸煮药筒的底部设有与外界相通的带阀门的排液口。本实用新型通过导热油加热进行蒸煮药材,加热温度易控制和调整,防止加热温度过高造成有效成分破坏,同时,药材在密闭的环境中蒸煮,有效防止有效成分的挥发和环境中的杂质引入,进而提高了加工后药液的品质。

Description

一种中药材蒸煮装置
技术领域
本实用新型涉及到中药材加工领域,具体的说是一种中药材蒸煮装置。
背景技术
中药材中的有效成分需要蒸煮操作将其从药材中提取出来,现有技术中往往采用明火加热进行蒸煮,这样,加热温度不易控制,会造成有效成分的破坏;同时,在加热时,药材的有效成分会随着蒸煮时散发的水蒸气流失,影响药材的品质。
实用新型内容
为解决现有技术中药材蒸煮时存在的加热温度不稳定造成有效成分流失、破坏等问题,本实用新型提供了一种中药材蒸煮装置。
本实用新型为解决上述技术问题采用的技术方案为:一种中药材蒸煮装置,主要由上端设有密封盖的加热箱体和设置在加热箱体内的蒸煮药筒组成,其中,加热箱体和蒸煮药筒之间填充有导热油,导热油中设有发热体;所述的加热箱体的中部通过转轴固定,加热箱体上部设有导热油口,导热油口与转轴或其延长线垂直设置;所述蒸煮药筒的底部设有与外界相通的带阀门的排液口。
本实用新型中,蒸煮药筒的优选结构为:蒸煮药筒的底部为圆弧状或圆锥状,排液口设置在蒸煮药筒底部的最低位置,便于其中药液的排出。
本实用新型中所述的发热体为电加热丝或电加热棒。
本实用新型中,导热油口用于导热油的注入和导出,转轴可以保证加热箱体倾斜一定角度便于导热油的注入和导出,同时也可以在蒸煮过程中起到振荡药液的作用。
有益效果:本实用新型通过导热油加热进行蒸煮药材,加热温度易控制和调整,防止加热温度过高造成有效成分破坏,同时,药材在密闭的环境中蒸煮,有效防止有效成分的挥发和环境中的杂质引入,进而提高了加工后药液的品质。
附图说明
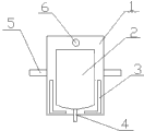
图1为本实用新型的结构示意图;
附图标记:1、加热箱体,2、蒸煮药筒,3、发热体,4、排液口,5、转轴,6、导热油口。
具体实施方式
如图所示,一种中药材蒸煮装置,主要由上端设有密封盖的加热箱体1和设置在加热箱体1内的蒸煮药筒2组成,其中,加热箱体1和蒸煮药筒2之间填充有导热油,导热油中设有发热体3,发热体3为电加热丝或电加热棒;所述的加热箱体1的中部通过转轴5固定,加热箱体1上部设有导热油口6,导热油口6与转轴5或其延长线垂直设置;所述蒸煮药筒2的底部设有与外界相通的带阀门的排液口4。
所述蒸煮药筒2的优选结构为:其底部为圆弧状或圆锥状,排液口4设置在蒸煮药筒2底部的最低位置。
本实用新型在使用时,先打开加热箱体1上的密封盖,然后向蒸煮药筒2内加入药材,然后密封好密封盖,并通过导热油口6向加热箱体1和蒸煮药筒2之间的间隙内注入导热油,注入导热油完成后打开发热体3加热导热油,从而蒸煮药材。在蒸煮过程中,可以驱动加热箱体1绕转轴5摆动,从而振荡药液,使其受热均匀。蒸煮完成后,转动加热箱体1,从而使导热油通过导热油口6排出。 

Claims (3)

1.一种中药材蒸煮装置,其特征在于:主要由上端设有密封盖的加热箱体(1)和设置在加热箱体(1)内的蒸煮药筒(2)组成,其中,加热箱体(1)和蒸煮药筒(2)之间填充有导热油,导热油中设有发热体(3);所述的加热箱体(1)的中部通过转轴(5)固定,加热箱体(1)上部设有导热油口(6),导热油口(6)与转轴(5)或其延长线垂直设置;所述蒸煮药筒(2)的底部设有与外界相通的带阀门的排液口(4)。
2.如权利要求1所述一种中药材蒸煮装置,其特征在于:所述蒸煮药筒(2)的底部为圆弧状或圆锥状,排液口(4)设置在蒸煮药筒(2)底部的最低位置。
3.如权利要求1所述一种中药材蒸煮装置,其特征在于:所述发热体(3)为电加热丝或电加热棒。
CN 201220625705 2012-11-23 2012-11-23 一种中药材蒸煮装置 Expired - Fee Related CN202875817U (zh)

Priority Applications (1)

Application Number Priority Date Filing Date Title
CN 201220625705 CN202875817U (zh) 2012-11-23 2012-11-23 一种中药材蒸煮装置

Applications Claiming Priority (1)

Application Number Priority Date Filing Date Title
CN 201220625705 CN202875817U (zh) 2012-11-23 2012-11-23 一种中药材蒸煮装置

Publications (1)

Publication Number Publication Date
CN202875817U true CN202875817U (zh) 2013-04-17

Family

ID=48067288

Family Applications (1)

Application Number Title Priority Date Filing Date
CN 201220625705 Expired - Fee Related CN202875817U (zh) 2012-11-23 2012-11-23 一种中药材蒸煮装置

Country Status (1)

Country Link
CN (1) CN202875817U (zh)

Cited By (4)

* Cited by examiner, † Cited by third party
Publication number Priority date Publication date Assignee Title
CN105012145A (zh) * 2015-06-10 2015-11-04 成都格瑞思文化传播有限公司 中药加工装置
CN109938615A (zh) * 2019-04-28 2019-06-28 贵州大学 一种任意倾斜角度加热杯子装置
CN110507539A (zh) * 2019-08-30 2019-11-29 禹州市厚生堂中药有限公司 一种智能化中药无汁蒸制机及蒸制方法
CN111281801A (zh) * 2020-03-06 2020-06-16 房杰 一种中医内科用煎药装置

Cited By (4)

* Cited by examiner, † Cited by third party
Publication number Priority date Publication date Assignee Title
CN105012145A (zh) * 2015-06-10 2015-11-04 成都格瑞思文化传播有限公司 中药加工装置
CN109938615A (zh) * 2019-04-28 2019-06-28 贵州大学 一种任意倾斜角度加热杯子装置
CN110507539A (zh) * 2019-08-30 2019-11-29 禹州市厚生堂中药有限公司 一种智能化中药无汁蒸制机及蒸制方法
CN111281801A (zh) * 2020-03-06 2020-06-16 房杰 一种中医内科用煎药装置

Similar Documents

Publication Publication Date Title
CN202875817U (zh) 一种中药材蒸煮装置
CN205339565U (zh) 一种中药材用润药机
CN103271825B (zh) 煮药锅
CN204484785U (zh) 一种高效煎药浓缩制膏机
CN207253806U (zh) 一种新型中药药剂提取罐
CN205163652U (zh) 一种中药材用炒药机
CN107529435A (zh) 一种微压速冷中药熬煮装置
CN202146439U (zh) 一种带有自动搅拌、循环、甩干功能的密闭煎药锅
CN210991856U (zh) 一种用于中药的蒸制装置
CN105363239A (zh) 一种实时检测提取率的中药提取装置
CN104666087B (zh) 一种高效煎药浓缩制膏机
CN204170102U (zh) 一种能防止药液沸腾的中药煎锅
CN203852863U (zh) 一种中药材成分提取装置
CN204319287U (zh) 一种简易中药提取装置
KR200274008Y1 (ko) 전기약탕기
CN203710379U (zh) 中药材用搅拌型煎蒸提取装置
CN203735384U (zh) 一种普洱茶膏常温真空浓缩设备
CN204092588U (zh) 一种药材加热搅拌装置
CN203132136U (zh) 中药制剂加热器
CN207950180U (zh) 一种熬药锅
CN208910968U (zh) 一种制药用熬制炉
CN204261047U (zh) 药贴生产用药锅装置
CN208047925U (zh) 一种红糖姜茶的蒸煮装置
CN208287245U (zh) 一种中药材分离式粉碎蒸煮设备
CN205626512U (zh) 一种新型中药药剂提取罐

Legal Events

Date Code Title Description
C14 Grant of patent or utility model
GR01 Patent grant
C56 Change in the name or address of the patentee

Owner name: LUOYANG HERBAL BIOPHARMACEUTICAL CO., LTD.

Free format text: FORMER NAME: LUANCHUAN HERBAL BIOLOGICAL DEVELOPMENT CO., LTD.

CP01 Change in the name or title of a patent holder

Address after: 471000 Henan city of Luoyang province Luanchuan Jincheng County Tantou Town Road

Patentee after: Luoyang Herbal Biological Pharmaceutical Co., Ltd.

Address before: 471000 Henan city of Luoyang province Luanchuan Jincheng County Tantou Town Road

Patentee before: Luanchuan Materia Medica Biological Development Co., Ltd.

CF01 Termination of patent right due to non-payment of annual fee

Granted publication date: 20130417

Termination date: 20151123