CN202872955U - Television capable of preventing generation of vibration noise - Google Patents
Television capable of preventing generation of vibration noise Download PDFInfo
- Publication number
- CN202872955U CN202872955U CN 201220522153 CN201220522153U CN202872955U CN 202872955 U CN202872955 U CN 202872955U CN 201220522153 CN201220522153 CN 201220522153 CN 201220522153 U CN201220522153 U CN 201220522153U CN 202872955 U CN202872955 U CN 202872955U
- Authority
- CN
- China
- Prior art keywords
- loudspeaker
- wall hanging
- horn bracket
- vibrating noise
- prevents vibrating
- Prior art date
- Legal status (The legal status is an assumption and is not a legal conclusion. Google has not performed a legal analysis and makes no representation as to the accuracy of the status listed.)
- Expired - Fee Related
Links
- 229920001971 elastomer Polymers 0.000 claims description 16
- 239000000806 elastomer Substances 0.000 claims description 13
- 108090000565 Capsid Proteins Proteins 0.000 claims description 8
- 239000004033 plastic Substances 0.000 claims description 3
- 229920003023 plastic Polymers 0.000 claims description 3
- 230000000694 effects Effects 0.000 abstract description 2
- 230000009286 beneficial effect Effects 0.000 description 1
- 238000000354 decomposition reaction Methods 0.000 description 1
- 238000010586 diagram Methods 0.000 description 1
- 238000009434 installation Methods 0.000 description 1
Images
Landscapes
- Details Of Audible-Bandwidth Transducers (AREA)
Abstract
The utility model relates to a television, and especially relates to a television capable of preventing the generation of vibration noise. The television capable of preventing the generation of the vibration noise provided by the utility model comprises a front housing and a back housing, and the front housing and the back housing are enclosed to form a built-in cavity. The built-in cavity is provided with a display screen. The front housing or the back housing is connected with a loudspeaker bracket. The loudspeaker bracket is connected with a loudspeaker. An elastic body for separating the loudspeaker bracket from the loudspeaker is arranged between the loudspeaker bracket and the loudspeaker. The television capable of preventing the generation of the vibration noise has the advantages that the loudspeaker bracket and the loudspeaker are separated through the elastic body, the vibration of the loudspeaker is prevented from being transmitted to the loudspeaker bracket, and the generation of the vibration noise is avoided, thereby being in favor of improving the playing effect of the television.
Description
Technical field
The utility model relates to TV, relates in particular to a kind of TV that prevents vibrating noise.
Background technology
In existing TV, usually can built-in installation loudspeaker, the sound that loudspeaker send causes television housing to produce vibration easily, thereby produces vibrating noise, the impact effect of televising.
Summary of the invention
In order to solve the problems of the prior art, the utility model provides a kind of TV that prevents vibrating noise.
The utility model provides a kind of TV that prevents vibrating noise, comprise that the phase obvolvent forms procapsid and the back casing of a built-in cavity, described built-in cavity is provided with display screen, described procapsid or back casing are connected with horn bracket, described horn bracket is connected with loudspeaker, is provided with the elastomer of separating described horn bracket and described loudspeaker between described horn bracket, the loudspeaker.
As further improvement of the utility model, described elastomer is rubber blanket.
As further improvement of the utility model, described horn bracket is the plastics horn bracket.
As further improvement of the utility model, the both sides of described loudspeaker are provided with the mounting lug seat, and described mounting lug seat is connected by securing member with described horn bracket, and described elastomer is folded between described mounting lug seat, the horn bracket.
As further improvement of the utility model, described back casing is provided with wall hanging rack.
As further improvement of the utility model, described wall hanging rack comprises the mounting panel that is connected with described back casing and the wall hanging board that is connected with described mounting panel, and described wall hanging board is provided with wall hanging post screw hole.
As further improvement of the utility model, described mounting panel is connected by connecting plate with described wall hanging board.
As further improvement of the utility model, described mounting panel parallels with described wall hanging board.
As further improvement of the utility model, described connecting plate and described mounting panel are perpendicular.
As further improvement of the utility model, described wall hanging rack has four.
The beneficial effects of the utility model are: by such scheme, by elastomer horn bracket and loudspeaker are separated, avoided the vibration of loudspeaker to be delivered to horn bracket, can avoid producing vibrating noise, be conducive to improve the result of broadcast of TV.
Description of drawings
Fig. 1 is a kind of decomposition texture schematic diagram that prevents the TV of vibrating noise of the utility model;
Fig. 2 is the partial enlarged drawing A of Fig. 1;
Fig. 3 is the partial enlarged drawing B of Fig. 1.
Embodiment
Below in conjunction with description of drawings and embodiment the utility model is further specified.
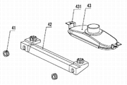
Drawing reference numeral among Fig. 1 to Fig. 3 is: procapsid 1; Display screen 2; Back casing 3; Elastomer 41; Horn bracket 42; Loudspeaker 43; Mounting lug seat 431; Wall hanging rack 51; Mounting panel 511; Connecting plate 512; Wall hanging board 513.
As shown in Figure 1 to Figure 3, a kind of TV that prevents vibrating noise, comprise that the phase obvolvent forms procapsid 1 and the back casing 3 of a built-in cavity, described built-in cavity is provided with display screen 2, described procapsid 1 or back casing 3 are connected with horn bracket 42, namely can be that procapsid 1 is connected with horn bracket 42, also can be that back casing 3 is connected with horn bracket 42, described horn bracket 42 is connected with loudspeaker 43, described horn bracket 42, be provided with the elastomer 41 of separating described horn bracket 42 and described loudspeaker 43 between the loudspeaker 43, described elastomer 41 is used for intercepting the vibration of described loudspeaker 43.
As shown in Figure 2, described elastomer 41 is preferably rubber blanket.
As shown in Figure 2, described horn bracket 42 is preferably the plastics horn bracket.
As shown in Figure 2, the both sides of described loudspeaker 43 are provided with mounting lug seat 431, and described mounting lug seat 431 and described horn bracket 42 are connected by securing member, and described elastomer 41 is folded between described mounting lug seat 431, the horn bracket 42.
As shown in Figure 1, described back casing 3 is provided with wall hanging rack 51, and described wall hanging rack 51 is used for TV is mounted on wall.
As shown in Figure 3, described wall hanging rack 51 comprises the mounting panel 511 that is connected with described back casing 3 and the wall hanging board 513 that is connected with described mounting panel 511, and described wall hanging board 513 is provided with wall hanging post screw hole.
As shown in Figure 3, described mounting panel 511 is connected by connecting plate 512 with described wall hanging board 513.
As shown in Figure 3, described mounting panel 511 parallels with described wall hanging board 513.
As shown in Figure 3, described connecting plate 512 and described mounting panel 511 are perpendicular.
As shown in Figure 1, described wall hanging rack 51 preferably is provided with four.
A kind of TV that prevents vibrating noise that the utility model provides, by elastomer 41 horn bracket 42 and loudspeaker 43 are separated, avoid the vibration of loudspeaker 43 to be delivered to horn bracket 42, can avoid producing vibrating noise, be conducive to improve the result of broadcast of TV.
Above content is in conjunction with concrete preferred implementation further detailed description of the utility model, can not assert that implementation of the present utility model is confined to these explanations.For the utility model person of an ordinary skill in the technical field, without departing from the concept of the premise utility, can also make some simple deduction or replace, all should be considered as belonging to protection range of the present utility model.
Claims (10)
1. TV that prevents vibrating noise, it is characterized in that: comprise that the phase obvolvent forms procapsid and the back casing of a built-in cavity, described built-in cavity is provided with display screen, described procapsid or back casing are connected with horn bracket, described horn bracket is connected with loudspeaker, is provided with the elastomer of separating described horn bracket and described loudspeaker between described horn bracket, the loudspeaker.
2. the described TV that prevents vibrating noise according to claim 1, it is characterized in that: described elastomer is rubber blanket.
3. the described TV that prevents vibrating noise according to claim 1, it is characterized in that: described horn bracket is the plastics horn bracket.
4. each described TV that prevents vibrating noise in 3 according to claim 1, it is characterized in that: the both sides of described loudspeaker are provided with the mounting lug seat, described mounting lug seat is connected by securing member with described horn bracket, and described elastomer is folded between described mounting lug seat, the horn bracket.
5. the described TV that prevents vibrating noise according to claim 1, it is characterized in that: described back casing is provided with wall hanging rack.
6. the described TV that prevents vibrating noise according to claim 5, it is characterized in that: described wall hanging rack comprises the mounting panel that is connected with described back casing and the wall hanging board that is connected with described mounting panel, and described wall hanging board is provided with wall hanging post screw hole.
7. the described TV that prevents vibrating noise according to claim 6, it is characterized in that: described mounting panel is connected by connecting plate with described wall hanging board.
8. the described TV that prevents vibrating noise according to claim 7, it is characterized in that: described mounting panel parallels with described wall hanging board.
9. the described TV that prevents vibrating noise according to claim 8, it is characterized in that: described connecting plate and described mounting panel are perpendicular.
10. the described TV that prevents vibrating noise according to claim 9, it is characterized in that: described wall hanging rack has four.
Priority Applications (1)
| Application Number | Priority Date | Filing Date | Title |
|---|---|---|---|
| CN 201220522153 CN202872955U (en) | 2012-10-12 | 2012-10-12 | Television capable of preventing generation of vibration noise |
Applications Claiming Priority (1)
| Application Number | Priority Date | Filing Date | Title |
|---|---|---|---|
| CN 201220522153 CN202872955U (en) | 2012-10-12 | 2012-10-12 | Television capable of preventing generation of vibration noise |
Publications (1)
| Publication Number | Publication Date |
|---|---|
| CN202872955U true CN202872955U (en) | 2013-04-10 |
Family
ID=48039637
Family Applications (1)
| Application Number | Title | Priority Date | Filing Date |
|---|---|---|---|
| CN 201220522153 Expired - Fee Related CN202872955U (en) | 2012-10-12 | 2012-10-12 | Television capable of preventing generation of vibration noise |
Country Status (1)
| Country | Link |
|---|---|
| CN (1) | CN202872955U (en) |
Cited By (1)
| Publication number | Priority date | Publication date | Assignee | Title |
|---|---|---|---|---|
| CN106870907A (en) * | 2017-02-28 | 2017-06-20 | 合肥惠科金扬科技有限公司 | Mounting bracket and display |
-
2012
- 2012-10-12 CN CN 201220522153 patent/CN202872955U/en not_active Expired - Fee Related
Cited By (1)
| Publication number | Priority date | Publication date | Assignee | Title |
|---|---|---|---|---|
| CN106870907A (en) * | 2017-02-28 | 2017-06-20 | 合肥惠科金扬科技有限公司 | Mounting bracket and display |
Similar Documents
| Publication | Publication Date | Title |
|---|---|---|
| CN202872955U (en) | Television capable of preventing generation of vibration noise | |
| TW200704174A (en) | Electronic equipment | |
| CN203134354U (en) | A pickup of an electronic bass | |
| CN202872957U (en) | Television capable of being hanged on wall | |
| CN203734797U (en) | Electronic apparatus built-in sound box shockproof structure | |
| CN107580281A (en) | A kind of bone-conduction speaker | |
| CN202077122U (en) | Television | |
| CN205961400U (en) | Bass enhanced sound box | |
| CN208522913U (en) | Microphone mounting structure and interactive intelligent panel | |
| CN201467418U (en) | Loudspeaker box | |
| CN203027479U (en) | Piezoelectric speaker | |
| CN206164813U (en) | Many boxes bass enhancement audio amplifier | |
| CN202306983U (en) | Warning board mounting fitting for power transmission iron tower | |
| CN203645822U (en) | Minisize mega bass sound device | |
| CN206024040U (en) | Mike shock-damping structure and mike | |
| CN205105397U (en) | Electrodynamic loudspeaker | |
| CN204334871U (en) | A kind of sound box device and flat-panel television for being installed on flat-panel television | |
| CN202841448U (en) | Speaker module | |
| CN202889602U (en) | Bass boosting system of liquid crystal television | |
| CN203722797U (en) | a combination speaker | |
| CN203167232U (en) | Harmonic resonance type sound box | |
| CN201657302U (en) | Moving coil type acoustic generator | |
| CN201805497U (en) | Television with sounder | |
| CN202652460U (en) | Loudspeaker support | |
| CN208369808U (en) | A kind of ultralow frequency vibrationproof speaker |
Legal Events
| Date | Code | Title | Description |
|---|---|---|---|
| C14 | Grant of patent or utility model | ||
| GR01 | Patent grant | ||
| CF01 | Termination of patent right due to non-payment of annual fee | ||
| CF01 | Termination of patent right due to non-payment of annual fee |
Granted publication date: 20130410 Termination date: 20181012 |