CN202845965U - Threading machine with two-speed gear transmission device - Google Patents
Threading machine with two-speed gear transmission device Download PDFInfo
- Publication number
- CN202845965U CN202845965U CN 201220449383 CN201220449383U CN202845965U CN 202845965 U CN202845965 U CN 202845965U CN 201220449383 CN201220449383 CN 201220449383 CN 201220449383 U CN201220449383 U CN 201220449383U CN 202845965 U CN202845965 U CN 202845965U
- Authority
- CN
- China
- Prior art keywords
- gear
- speed
- output
- duplex
- shaft
- Prior art date
- Legal status (The legal status is an assumption and is not a legal conclusion. Google has not performed a legal analysis and makes no representation as to the accuracy of the status listed.)
- Expired - Fee Related
Links
- 230000005540 biological transmission Effects 0.000 title abstract description 11
- 238000007789 sealing Methods 0.000 claims description 5
- 238000003754 machining Methods 0.000 abstract 1
- 239000000835 fiber Substances 0.000 description 5
- 229910000831 Steel Inorganic materials 0.000 description 4
- 239000010959 steel Substances 0.000 description 4
- 229910001018 Cast iron Inorganic materials 0.000 description 1
- 230000007812 deficiency Effects 0.000 description 1
- 238000005265 energy consumption Methods 0.000 description 1
- 238000005516 engineering process Methods 0.000 description 1
Images
Landscapes
- Gear Transmission (AREA)
Abstract
A threading machine with a two-speed gear transmission device comprises a two-speed gear transmission device. The two-speed gear transmission device comprises a gear case body, a motor gear, a high-speed gear group, a low-speed gear group and an output gear are respectively arranged inside the case body, wherein the motor gear, the high-speed gear group, the low-speed gear group and the output gear are all connected with a motor shaft, and a duplicate gear group is arranged between the low-speed gear group and the output gear. The motor gear is meshed with a high-speed big gear of the high-speed gear group, a high-speed small gear which is coaxial with the high-speed big gear is meshed with a low-speed big gear, a low-speed small gear which is coaxial with the low-speed big gear is meshed with a duplicate big gear of the duplicate gear group, and a duplicate small gear is coaxially connected with the duplicate big gear through a duplicate shaft fixed in the gear case body. The threading machine with the two-speed gear transmission device has the advantages of being simple in structure, convenient and reliable to install and use, capable of improving using function of equipment, improving work efficiency, improving machining quality of threading of pipes, and the like.
Description
Technical field
The utility model relates to a kind of power gear transmission device that is exclusively used in the round steel die head threading machine, belong to actuating unit.
Background technology
Present round steel die head threading machine, especially multi-functional mantle fiber machine need to dispose actuating unit and power drive mechanism, by motor through the gear transmission transmission mechanism with transmission of power to the rotary clamp at head place, utilization is fixed on the mantle fiber cutter on the head, and the round steel of slow rotation is processed into needed screw thread.Although existing die head threading machine mechanism is quite ripe, but for different processing objects, the die head threading machine that requirement is comprised of different institutions, as the die head threading machine of processing the die head threading machine of round steel and processing plastic pipe or cast iron pipe should be distinguished on mechanism forms to some extent, otherwise will reduce effect, cause increase or the power of energy consumption inadequate, crudy is affected etc., one of key mechanism wherein, be exactly by rational power configuration, comprise that the configuration of power drive mechanism improves the effect of whole die head threading machine, make it to bring into play best power matching, increase work efficiency, improve the quality of pipe fitting mantle fiber processing.
Summary of the invention
The purpose of this utility model is to overcome the deficiency that prior art exists, and provide a kind of simple in structure, and easy to install, reliable, can improve the use effect of equipment, increase work efficiency, improve the die head threading machine with two-speed gear of pipe fitting mantle fiber crudy.
The purpose of this utility model is finished by following technical solution, it comprises two-speed gear, it comprises a gear housing described two-speed gear, be mounted with respectively the motor gear, high gear group, low-speed gear group and the output gear that connect motor shaft in the casing, also be provided with a duplex gear train between described low-speed gear group and the output gear; The high speed gear wheel engagement of described motor gear and high gear group, the high speed pinion that described high speed gear wheel is coaxial and the engagement of low speed gear wheel, the low speed pinion that described low speed gear wheel is coaxial and the engagement of the duplex gear wheel of duplex-gear wheels, a duplex pinion links to each other with the duplex gear wheel is coaxial by the duplex axle that is fixed in the gear housing; Two output gears are arranged, and kink is on output shaft respectively, and its medium and small output gear and duplex gear wheel mesh, large output gear and duplex pinion; Output shaft between described little output gear and large output gear is provided with dial type clutch tooth cover and is connected with described little output gear and large output gear respectively.
The gear shaft of described motor gear is placed in the casing by an input bearing, and axis hole and the motor shaft of gear shaft are connected, and are equipped with sealing ring at the casing avris of described gear shaft; The end that described output shaft stretches out outside gear housing is provided with the output gear axle, is equipped with the output shaft-cup that is fixed on the gear housing outer wall at described output shaft.
Described motor gear, high speed gear wheel, high speed pinion, low speed gear wheel, low speed pinion, duplex gear wheel, duplex pinion, large output gear and little output gear all adopt helical teeth and separately intermeshing connection.
The utlity model has simple in structurely, easy to install, reliable, can improve the use effect of equipment, increase work efficiency, improve the characteristics such as pipe fitting mantle fiber crudy.
Description of drawings
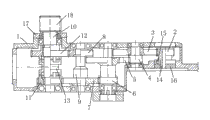
Fig. 1 is structural representation of the present utility model.
The specific embodiment
Below in conjunction with accompanying drawing the utility model is described in detail: shown in Figure 1, the utility model comprises a gear housing 1, casing 1 interior motor gear 2, high gear group, low-speed gear group and the output gear that connects motor shaft that be mounted with respectively also is provided with a duplex gear train between described low-speed gear group and the output gear; Described motor gear 2 meshes with the high speed gear wheel 3 of high gear group, described high speed gear wheel 3 coaxial high speed pinions 4 mesh with low speed gear wheel 5, duplex gear wheel 7 engagements of the coaxial low speed pinion 6 of described low speed gear wheel 5 and duplex-gear wheels, a duplex pinion 8 is by being fixed on the duplex axle 9 and 7 coaxial linking to each other of duplex gear wheel in the gear housing 1; Two output gears are arranged, and kink is on output shaft 10 respectively, and its medium and small output gear 11 meshes with duplex gear wheel 7, large output gear 12 and 8 engagements of duplex pinion; Output shaft 10 between described little output gear 11 and large output gear 12 is provided with dial type clutch tooth cover 13 and is connected with described little output gear 11 and large output gear 12 respectively, namely by dial type clutch tooth cover 13 moving axially on output shaft 10, can link to each other with little output gear 11 or 12 engagements of large output gear of both sides respectively, realize that easily the hand moving tooth closes connection, and double speed output.
The gear shaft 14 of the motor gear 2 shown in the figure is placed in the casing 1 by an input bearing 15, axis hole and the motor shaft of gear shaft 14 are connected, and casing 1 avris at described gear shaft 14 is equipped with sealing ring 16, because motor links to each other with gear shaft 14 by motor shaft, with transmission of power to motor gear 2, and gear shaft 14 is fixedly mounted in the gear housing by input bearing 15, can reduce the service wear of motor gear 2, and by the sealing ring in input bearing 15 outsides, reduce the shaking force of electric machine rotation, increase the sealing of gear housing.
The end that described output shaft 10 stretches out outside gear housing 1 is provided with output gear axle 18, is equipped with the output shaft-cup 17 that is fixed on gear housing 1 outer wall at described output shaft 10.
Described motor gear, high speed gear wheel, high speed pinion, low speed gear wheel, low speed pinion, duplex gear wheel, duplex pinion, large output gear and little output gear all adopt helical teeth and separately intermeshing connection, it can reduce the noise of transmission, increases driving torque.
Claims (3)
1. die head threading machine with two-speed gear, it comprises two-speed gear, it is characterized in that described two-speed gear comprises a gear housing, be mounted with respectively the motor gear, high gear group, low-speed gear group and the output gear that connect motor shaft in the casing, it is characterized in that also being provided with between described low-speed gear group and the output gear duplex gear train; The high speed gear wheel engagement of described motor gear and high gear group, the high speed pinion that described high speed gear wheel is coaxial and the engagement of low speed gear wheel, the low speed pinion that described low speed gear wheel is coaxial and the engagement of the duplex gear wheel of duplex-gear wheels, a duplex pinion links to each other with the duplex gear wheel is coaxial by the duplex axle that is fixed in the gear housing; Two output gears are arranged, and kink is on output shaft respectively, and its medium and small output gear and duplex gear wheel mesh, large output gear and duplex pinion; Output shaft between described little output gear and large output gear is provided with dial type clutch tooth cover and is connected with described little output gear and large output gear respectively.
2. the die head threading machine with two-speed gear according to claim 1 is put, the gear shaft that it is characterized in that described motor gear is placed in the casing by an input bearing, axis hole and the motor shaft of gear shaft are connected, and are equipped with sealing ring at the casing avris of described gear shaft; The end that described output shaft stretches out outside gear housing is provided with the output gear axle, is equipped with the output shaft-cup that is fixed on the gear housing outer wall at described output shaft.
3. the die head threading machine with two-speed gear according to claim 1 is characterized in that described motor gear, high speed gear wheel, high speed pinion, low speed gear wheel, low speed pinion, duplex gear wheel, duplex pinion, large output gear and little output gear all adopt helical teeth and separately intermeshing connection.
Priority Applications (1)
| Application Number | Priority Date | Filing Date | Title |
|---|---|---|---|
| CN 201220449383 CN202845965U (en) | 2012-09-05 | 2012-09-05 | Threading machine with two-speed gear transmission device |
Applications Claiming Priority (1)
| Application Number | Priority Date | Filing Date | Title |
|---|---|---|---|
| CN 201220449383 CN202845965U (en) | 2012-09-05 | 2012-09-05 | Threading machine with two-speed gear transmission device |
Publications (1)
| Publication Number | Publication Date |
|---|---|
| CN202845965U true CN202845965U (en) | 2013-04-03 |
Family
ID=47977201
Family Applications (1)
| Application Number | Title | Priority Date | Filing Date |
|---|---|---|---|
| CN 201220449383 Expired - Fee Related CN202845965U (en) | 2012-09-05 | 2012-09-05 | Threading machine with two-speed gear transmission device |
Country Status (1)
| Country | Link |
|---|---|
| CN (1) | CN202845965U (en) |
Cited By (3)
| Publication number | Priority date | Publication date | Assignee | Title |
|---|---|---|---|---|
| CN103615503A (en) * | 2013-11-26 | 2014-03-05 | 绍兴前进齿轮箱有限公司 | Gear case for pasture bundling machine |
| CN105782411A (en) * | 2016-05-27 | 2016-07-20 | 张建 | Assembling process for double-speed multipurpose winch speed-changing gearbox |
| US11077509B2 (en) | 2018-03-16 | 2021-08-03 | Milwaukee Electric Tool Corporation | Pipe threader |
-
2012
- 2012-09-05 CN CN 201220449383 patent/CN202845965U/en not_active Expired - Fee Related
Cited By (5)
| Publication number | Priority date | Publication date | Assignee | Title |
|---|---|---|---|---|
| CN103615503A (en) * | 2013-11-26 | 2014-03-05 | 绍兴前进齿轮箱有限公司 | Gear case for pasture bundling machine |
| CN105782411A (en) * | 2016-05-27 | 2016-07-20 | 张建 | Assembling process for double-speed multipurpose winch speed-changing gearbox |
| CN105782411B (en) * | 2016-05-27 | 2017-12-08 | 张建 | A kind of assembly technology of Dual-speed multi-purpose lift winch speed-changing gear box |
| US11077509B2 (en) | 2018-03-16 | 2021-08-03 | Milwaukee Electric Tool Corporation | Pipe threader |
| US12220756B2 (en) | 2018-03-16 | 2025-02-11 | Milwaukee Electric Tool Corporation | Pipe threader |
Similar Documents
| Publication | Publication Date | Title |
|---|---|---|
| CN202845965U (en) | Threading machine with two-speed gear transmission device | |
| CN201309100Y (en) | Double-motor driving device | |
| CN203272634U (en) | Combined type gear speed reducer for copper pipe coiling and drawing machine | |
| CN200999828Y (en) | Vertical double-shunting speed reducer | |
| CN201884567U (en) | Helical bevel gear speed reducer | |
| CN204878546U (en) | Speed reducer | |
| CN202845964U (en) | Round steel threading machine with power gear transmission device | |
| CN204186886U (en) | Involute one planetary gear speed reducer of maneuvering milling machine | |
| CN201171618Y (en) | Twisting milling machine | |
| CN208471417U (en) | A kind of built-in promotion winding plant | |
| CN202846233U (en) | Threading machine with gear transmission device | |
| CN204602357U (en) | A kind of meat grinder driving mechanism | |
| CN202251855U (en) | Reducing mechanism | |
| CN202520874U (en) | Series-adjustable gear speed reduction box | |
| CN201801904U (en) | Excavator slew reducer | |
| CN201526650U (en) | Multi-gear speed reducer | |
| CN203035848U (en) | Full-automatic numerical control universal bending machine transmission mechanism | |
| CN201944208U (en) | Reduction gear capable of changing transmission ratio | |
| CN203827116U (en) | Integrated double-contact electric machine for machine tool | |
| CN204784471U (en) | Edge -runner mill | |
| CN204900691U (en) | Improved structure of reducer | |
| CN203162005U (en) | Novel double-speed reducer | |
| CN205207545U (en) | Speed reducer for stereo garage | |
| CN205190644U (en) | Take damper gear's speed reducer for stereo garage | |
| CN202158143U (en) | Two-way multi-speed reducer assembly |
Legal Events
| Date | Code | Title | Description |
|---|---|---|---|
| C14 | Grant of patent or utility model | ||
| GR01 | Patent grant | ||
| C17 | Cessation of patent right | ||
| CF01 | Termination of patent right due to non-payment of annual fee |
Granted publication date: 20130403 Termination date: 20130905 |