CN202840373U - Blocked net fixing clamp - Google Patents
Blocked net fixing clamp Download PDFInfo
- Publication number
- CN202840373U CN202840373U CN201220574704.6U CN201220574704U CN202840373U CN 202840373 U CN202840373 U CN 202840373U CN 201220574704 U CN201220574704 U CN 201220574704U CN 202840373 U CN202840373 U CN 202840373U
- Authority
- CN
- China
- Prior art keywords
- sealing
- fastening bolts
- pull ring
- fastening
- net
- Prior art date
- Legal status (The legal status is an assumption and is not a legal conclusion. Google has not performed a legal analysis and makes no representation as to the accuracy of the status listed.)
- Expired - Fee Related
Links
Images
Classifications
-
- Y—GENERAL TAGGING OF NEW TECHNOLOGICAL DEVELOPMENTS; GENERAL TAGGING OF CROSS-SECTIONAL TECHNOLOGIES SPANNING OVER SEVERAL SECTIONS OF THE IPC; TECHNICAL SUBJECTS COVERED BY FORMER USPC CROSS-REFERENCE ART COLLECTIONS [XRACs] AND DIGESTS
- Y02—TECHNOLOGIES OR APPLICATIONS FOR MITIGATION OR ADAPTATION AGAINST CLIMATE CHANGE
- Y02A—TECHNOLOGIES FOR ADAPTATION TO CLIMATE CHANGE
- Y02A40/00—Adaptation technologies in agriculture, forestry, livestock or agroalimentary production
- Y02A40/10—Adaptation technologies in agriculture, forestry, livestock or agroalimentary production in agriculture
- Y02A40/25—Greenhouse technology, e.g. cooling systems therefor
Landscapes
- Clamps And Clips (AREA)
Abstract
本实用新型属于电力封网配件技术领域,公开了一种封网固定卡具。其主要技术特征为:包括两端通过带有紧固螺栓的两个夹板,在所述该两个夹板的相邻一侧带有外凹的凹槽,两个凹槽之间形成导线卡槽,在所述夹板一端的紧固螺栓上连接有“U”字型的拉环。施工时,将位于拉环一侧的紧固螺栓打开,把封网绳端部挂环套入拉环中,将导线卡槽卡入两侧的导线上,并将紧固螺栓旋紧,施工完成后,松开紧固螺栓,拆下该紧固卡具后取下封网即可,拆装方便,工作效率高、工人的劳动强度低,而且封网不容易脱落和滑动,安全系数高。
The utility model belongs to the technical field of electric power network sealing accessories, and discloses a fixing clamp for network sealing. Its main technical features are as follows: two splints with fastening bolts pass through at both ends, and a concave groove is provided on the adjacent side of the two splints, and a wire clamping groove is formed between the two grooves , A "U"-shaped pull ring is connected to the fastening bolt at one end of the splint. During construction, open the fastening bolts on one side of the pull ring, put the hanging ring at the end of the sealing net rope into the pull ring, insert the wire slot into the wires on both sides, and tighten the fastening bolts. After the completion, loosen the fastening bolts, remove the fastening fixture and remove the sealing net. It is easy to disassemble, high work efficiency, low labor intensity of workers, and the sealing net is not easy to fall off and slide, with high safety factor .
Description
技术领域 technical field
本实用新型属于电力跨越封网配件技术领域,具体的讲涉及封网固定卡具。 The utility model belongs to the technical field of power spanning network sealing accessories, and in particular relates to a fixing jig for sealing a network.
背景技术 Background technique
在更换架空地线、展放OPGW光缆过程中,需要对于位于线下的带电线路、公路、铁路、居民区等区域进行保护,经常采用封网作业加以保护防止架空地线、光缆坠落影响线下跨越物的正常运行。目前封网两端采用尼龙绳与两侧导线绑扎固定。该绑扎方法存在以下缺陷:其一,由于导线面光滑,封网绳受力时容易滑动移位,如果绑扎不牢固或受力过大时易造成开结或磨损断绳对于线下跨越保护存在极大地安全隐患;其二,在施工完成后,绑扎的封网绳不容易解下,往往采用破坏性剪除,施工成本大大提高;其三,由于尼龙绳绑扎过程中人员在高空操作时间长容易造成高空作业疲劳,对高空操作人员存在极大地安全隐患。 In the process of replacing overhead ground wires and deploying OPGW optical cables, it is necessary to protect the live lines, roads, railways, residential areas and other areas under the line, and often use sealing operations to protect them from falling overhead ground wires and optical cables. Normal operation of the straddle. At present, the two ends of the sealing net are bound and fixed with nylon rope and the wires on both sides. This binding method has the following defects: First, due to the smooth surface of the wire, the sealing rope is easy to slide and shift when it is stressed. If the binding is not firm or the force is too large, it is easy to cause knots or wear and break the rope, which is difficult for offline crossing protection. Great potential safety hazard; second, after the construction is completed, the binding sealing rope is not easy to untie, and destructive cutting is often used, which greatly increases the construction cost; third, due to the long time of personnel operating at high altitude during the nylon rope binding process, it is easy to Cause high-altitude work fatigue, there is a great potential safety hazard for high-altitude operators.
实用新型内容 Utility model content
本实用新型解决的技术问题就是提供一种可降低劳动强度、使用安全方便、工作效率高、封网可多次循环使用且封网不易脱落和滑动的封网固定卡具。 The technical problem solved by the utility model is to provide a fixing jig for sealing the net that can reduce labor intensity, is safe and convenient to use, has high work efficiency, can be recycled for many times, and is not easy to fall off and slide.
为解决上述技术问题,本实用新型提出的技术方案为:包括两端通过带有紧固螺栓的两个夹板,在所述该两个夹板的相邻一侧带有外凹的凹槽,两个凹槽之间形成导线卡槽,在所述夹板一端的紧固螺栓上连接有“U”字型的拉环。 In order to solve the above-mentioned technical problems, the technical solution proposed by the utility model is as follows: two splints with fastening bolts pass through at both ends, and a concave groove is provided on the adjacent side of the two splints. A wire clamp groove is formed between the two grooves, and a "U"-shaped pull ring is connected to the fastening bolt at one end of the splint.
其附加技术特征为: Its additional technical features are:
所述拉环开口一端两侧带有通孔,位于该端的紧固螺栓穿入所述通孔中; There are through holes on both sides of the opening of the pull ring, and the fastening bolts at this end penetrate into the through holes;
所述凹槽为半圆形。 The groove is semicircular.
本实用新型提供的封网固定卡具,同现有技术相比较具有以下优点:其一,由于包括两端通过带有紧固螺栓的两个夹板,在所述该两个夹板的相邻一侧带有外凹的凹槽,两个凹槽之间形成导线卡槽,在所述夹板一端的紧固螺栓上连接有“U”字型的拉环,施工时,将位于拉环一侧的紧固螺栓打开,把封网绳端部挂环套入拉环中,将导线卡槽卡入两侧的导线上,并将紧固螺栓旋紧,施工完成后,松开紧固螺栓,拆下该紧固卡具后取下封网即可,拆装方便,工作效率高、工人的劳动强度低,而且封网不容易脱落和滑动,安全系数高;其二,由于所述拉环开口一端两侧带有通孔,位于该端的紧固螺栓穿入所述通孔中,这样,不但施工方便,而且在施工过程中,随着封网受力的不同,卡具受力方向随之改变;其三,由于所述凹槽为半圆形,棱角磨圆后减少了对导线造成的损伤。 Compared with the prior art, the net-sealing fixture provided by the utility model has the following advantages: First, because two splints with fastening bolts pass through at both ends, the adjacent one of the two splints There are concave grooves on the side, and a wire clamping groove is formed between the two grooves. A "U"-shaped pull ring is connected to the fastening bolt at one end of the splint. During construction, it will be located on the side of the pull ring. Open the fastening bolts, put the hanging ring at the end of the sealing net rope into the pull ring, insert the wire slot into the wires on both sides, and tighten the fastening bolts. After the construction is completed, loosen the fastening bolts. After removing the fastening fixture, the sealing net can be removed, which is convenient for disassembly and assembly, high work efficiency, low labor intensity of workers, and the sealing net is not easy to fall off and slide, and has a high safety factor; There are through holes on both sides of one end of the opening, and the fastening bolts at this end penetrate into the through holes. In this way, not only the construction is convenient, but also during the construction process, with the different force of the sealing net, the force direction of the fixture varies with the force direction. Thirdly, since the groove is semicircular, the damage to the wire is reduced after the edges and corners are rounded.
附图说明 Description of drawings
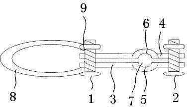
图1为封网固定卡具的结构示意图。 Fig. 1 is a schematic structural diagram of the fixing jig for sealing the net.
具体实施方式 Detailed ways
下面结合附图对本实用新型所提出的封网固定卡具的结构做进一步说明。 Below in conjunction with accompanying drawing, the structure of the net sealing fixing jig proposed by the utility model will be further described.
如图1所示,为封网固定卡具的结构示意图。其结构包括两端通过带有紧固螺栓1、2的两个夹板3、4,在两个夹板3、4的相邻一侧带有外凹的凹槽5、6,两个凹槽5、6之间形成导线卡槽7,在夹板3、4一端的紧固螺栓1上连接有“U”字型的拉环8。施工时,将位于拉环8一侧的紧固螺栓1打开,把封网绳端部挂环套入拉环8中,将导线卡槽7卡入两侧的导线上,并将紧固螺栓1、2旋紧,施工完成后,松开紧固螺栓1、2,拆下该紧固卡具后取下封网即可,拆装方便,工作效率高、工人的劳动强度低,而且封网不容易脱落和滑动,安全系数高。
As shown in FIG. 1 , it is a schematic structural diagram of a fixing jig for sealing a network. Its structure includes two
拉环8开口一端两侧带有通孔9,位于该端的紧固螺栓1穿入所述通孔9中。这样,不但施工方便,而且在施工过程中,随着封网受力的不同,卡具受力方向随之改变。
There are through
凹槽5、6为半圆形,这样,导线卡槽7为圆柱型,棱角磨圆后减少了对导线造成的损伤。
The
本实用新型的保护范围不仅仅局限于上述实施例,只要结构与本实用新型封网固定卡具结构相同,就落在本实用新型保护的范围。 The scope of protection of the utility model is not limited to the above-mentioned embodiments, as long as the structure is the same as that of the clamp for fixing the net of the utility model, it falls within the scope of protection of the utility model.
Claims (3)
Priority Applications (1)
| Application Number | Priority Date | Filing Date | Title |
|---|---|---|---|
| CN201220574704.6U CN202840373U (en) | 2012-11-05 | 2012-11-05 | Blocked net fixing clamp |
Applications Claiming Priority (1)
| Application Number | Priority Date | Filing Date | Title |
|---|---|---|---|
| CN201220574704.6U CN202840373U (en) | 2012-11-05 | 2012-11-05 | Blocked net fixing clamp |
Publications (1)
| Publication Number | Publication Date |
|---|---|
| CN202840373U true CN202840373U (en) | 2013-03-27 |
Family
ID=47951991
Family Applications (1)
| Application Number | Title | Priority Date | Filing Date |
|---|---|---|---|
| CN201220574704.6U Expired - Fee Related CN202840373U (en) | 2012-11-05 | 2012-11-05 | Blocked net fixing clamp |
Country Status (1)
| Country | Link |
|---|---|
| CN (1) | CN202840373U (en) |
Cited By (1)
| Publication number | Priority date | Publication date | Assignee | Title |
|---|---|---|---|---|
| CN115764695A (en) * | 2022-11-28 | 2023-03-07 | 中国南方电网有限责任公司超高压输电公司南宁局 | Net sealing rope hanging and dismantling device and using method thereof |
-
2012
- 2012-11-05 CN CN201220574704.6U patent/CN202840373U/en not_active Expired - Fee Related
Cited By (1)
| Publication number | Priority date | Publication date | Assignee | Title |
|---|---|---|---|---|
| CN115764695A (en) * | 2022-11-28 | 2023-03-07 | 中国南方电网有限责任公司超高压输电公司南宁局 | Net sealing rope hanging and dismantling device and using method thereof |
Similar Documents
| Publication | Publication Date | Title |
|---|---|---|
| CN102661057B (en) | Power angle tower pull leg main material changing method and special main material clamp | |
| CN204012503U (en) | A kind of power circuit steel reinforced aluminium conductor patcher | |
| CN101908739B (en) | Trolley used for maintenance of electricity overhead power transmission line | |
| CN104242149A (en) | Strain-resistant tower drainage plate bolt tightener | |
| CN202840373U (en) | Blocked net fixing clamp | |
| CN102201650A (en) | Electrification on and off lead wire crimping working method and shunting clamp | |
| CN204569267U (en) | Equipment unit dismounting is with hanging pull tool | |
| CN205159908U (en) | Backup protection fixing -line device | |
| CN203193189U (en) | Portable overhead ground wire lifting device | |
| CN207472670U (en) | A kind of anchor chain puller system universal fixture fixture | |
| CN204333769U (en) | A kind of transmission line connecting tool | |
| CN203839879U (en) | Multifunction lead clamping device with die | |
| CN209805246U (en) | A Lifting System Based on Insulator Strings | |
| CN203911342U (en) | Adjustable temporary stay wire system for line repair | |
| CN103373664B (en) | Self-tightening lifting appliance | |
| CN204205418U (en) | A kind of bracing wire Rapid manufacturing device of high | |
| CN204144800U (en) | The special cross-arm card of a kind of ZML type tower | |
| CN203941330U (en) | A kind of optical cable installation special tool | |
| CN202076732U (en) | Liming plate of insulator | |
| CN104810747A (en) | Multi-purpose electric power overhaul tool | |
| CN203208568U (en) | Safety belt hanger | |
| CN203553758U (en) | Apparatus for dismounting and extending power transmission line overhead ground wire | |
| CN203774472U (en) | Grounding wire protection device for overhaul of transformer | |
| CN206865013U (en) | The drainage thread locking disengaging gear of rapid arc extinction | |
| CN205846580U (en) | A kind of replacing insulator auxiliary clamp |
Legal Events
| Date | Code | Title | Description |
|---|---|---|---|
| C14 | Grant of patent or utility model | ||
| GR01 | Patent grant | ||
| ASS | Succession or assignment of patent right |
Owner name: STATE GRID CORPORATION OF CHINA Free format text: FORMER OWNER: HENGSHUI POWER SUPPLY BRANCH COMPANY, STATE GRID HEBEI ELECTRIC POWER COMPANY Effective date: 20140127 Owner name: HENGSHUI POWER SUPPLY BRANCH COMPANY, STATE GRID H Free format text: FORMER OWNER: STATE GRID CORPORATION OF CHINA STATE GRID HEBEI ELECTRIC POWER COMPANY Effective date: 20140127 |
|
| C41 | Transfer of patent application or patent right or utility model | ||
| C56 | Change in the name or address of the patentee |
Owner name: HENGSHUI POWER SUPPLY BRANCH COMPANY, STATE GRID H Free format text: FORMER NAME: HENGSHUI POWER SUPPLY COMPANY |
|
| COR | Change of bibliographic data |
Free format text: CORRECT: ADDRESS; FROM: 053000 HENGSHUI, HEBEI PROVINCE TO: 100031 XICHENG, BEIJING |
|
| CP03 | Change of name, title or address |
Address after: 053000 Hengshui province Hebei City Taocheng District People's Road No. 185 Patentee after: STATE GRID HEBEI ELECTRIC POWER COMPANY HENGSHUI POWER SUPPLY BRANCH Patentee after: State Grid Corporation of China Patentee after: STATE GRID HEBEI ELECTRIC POWER Co. Address before: 053000 Hengshui East Road, Hebei, No. 185 Patentee before: HENGSHUI POWER SUPPLY Co. Patentee before: State Grid Corporation of China Patentee before: Hebei Electric Power Corp. |
|
| TR01 | Transfer of patent right |
Effective date of registration: 20140127 Address after: 100031 Xicheng District West Chang'an Avenue, No. 86, Beijing Patentee after: State Grid Corporation of China Patentee after: STATE GRID HEBEI ELECTRIC POWER COMPANY HENGSHUI POWER SUPPLY BRANCH Patentee after: STATE GRID HEBEI ELECTRIC POWER Co. Address before: 053000 Hengshui province Hebei City Taocheng District People's Road No. 185 Patentee before: STATE GRID HEBEI ELECTRIC POWER COMPANY HENGSHUI POWER SUPPLY BRANCH Patentee before: State Grid Corporation of China Patentee before: STATE GRID HEBEI ELECTRIC POWER Co. |
|
| CF01 | Termination of patent right due to non-payment of annual fee |
Granted publication date: 20130327 Termination date: 20171105 |
|
| CF01 | Termination of patent right due to non-payment of annual fee |
