CN202835383U - 模套式生活垃圾脱水处理机 - Google Patents
模套式生活垃圾脱水处理机 Download PDFInfo
- Publication number
- CN202835383U CN202835383U CN201220445809.1U CN201220445809U CN202835383U CN 202835383 U CN202835383 U CN 202835383U CN 201220445809 U CN201220445809 U CN 201220445809U CN 202835383 U CN202835383 U CN 202835383U
- Authority
- CN
- China
- Prior art keywords
- oil cylinder
- discharging
- material pushing
- household garbage
- feedstock
- Prior art date
- Legal status (The legal status is an assumption and is not a legal conclusion. Google has not performed a legal analysis and makes no representation as to the accuracy of the status listed.)
- Expired - Lifetime
Links
- 239000010813 municipal solid waste Substances 0.000 title claims abstract description 17
- 230000018044 dehydration Effects 0.000 title abstract description 7
- 238000006297 dehydration reaction Methods 0.000 title abstract description 7
- 238000007599 discharging Methods 0.000 claims abstract description 33
- 239000000463 material Substances 0.000 claims description 26
- 239000007788 liquid Substances 0.000 claims description 17
- 238000001125 extrusion Methods 0.000 claims description 15
- 238000000926 separation method Methods 0.000 description 3
- XLYOFNOQVPJJNP-UHFFFAOYSA-N water Substances O XLYOFNOQVPJJNP-UHFFFAOYSA-N 0.000 description 3
- 239000002699 waste material Substances 0.000 description 2
- 230000009286 beneficial effect Effects 0.000 description 1
- 230000007812 deficiency Effects 0.000 description 1
- 238000005516 engineering process Methods 0.000 description 1
- 239000000446 fuel Substances 0.000 description 1
- 239000002689 soil Substances 0.000 description 1
- 238000009270 solid waste treatment Methods 0.000 description 1
Images
Landscapes
- Processing Of Solid Wastes (AREA)
Abstract
本实用新型涉及一种模套式生活垃圾脱水处理机,其特征在于它包括底座(1),所述底座(1)上设置有机体,所述机体包括横向的进料体(2)与推料体(4)以及纵向的挤压体(3)与出料体(5)。本实用新型通过进料油缸、挤压油缸、推料油缸以及出料油缸的动作,实现生活垃圾脱水,该模套式生活垃圾脱水处理机具有结构简单,脱水能力强的优点。
Description
技术领域
本实用新型涉及一种模套式生活垃圾脱水处理机,属于生活垃圾处理技术领域。
背景技术
随着填埋式的生活垃圾处理方式的长年使用,大量土地的使用,造成对土地资源越来越大的压力,而生活垃圾无害化焚烧处理越来越受到重视,而怎样去除生活垃圾中的水份,提升生活垃圾的燃烧值,是生活垃圾无害化焚烧前必须进行的工作,所以需要配置一种结构简单,脱水能力强的生活垃圾脱水处理机。
发明内容
本实用新型的目的在于克服上述不足,提供一种结构简单,脱水能力强的模套式生活垃圾脱水处理机。
本实用新型的目的是这样实现的:
一种模套式生活垃圾脱水处理机,它包括底座,所述底座上设置有机体,所述机体包括横向的进料体与推料体以及纵向的挤压体与出料体,所述进料体的后端与挤压体的中部连接,所述挤压体的后端与推料体的中部连接,所述推料体的后端与出料体的中部连接,所述进料体的前端设置有向内的进料油缸,所述进料油缸的活塞杆端连接有进料头,所述挤压体的前端设置有向内的挤压油缸,所述挤压油缸的活塞杆端连接有挤压头,所述推料体的前端设置有向内的推料油缸,所述推料油缸的活塞杆端连接有推料模套,所述出料体的前端设置有向内的出料油缸,所述出料油缸的活塞杆端连接有出料头,所述推料模套的底面设置有液流孔,所述推料体的底面设置有液流槽。
作为一种优选,所述进料体的上方设置有进料斗,所述出料体的后端设置有出料接管,所述出料接管的下方设置有盛料箱,所述推料体的中部下方设置有引液斗,所述引液斗的下方设置有盛液箱。
与现有技术相比,本实用新型的有益效果是:
本实用新型通过进料油缸、挤压油缸、推料油缸以及出料油缸的动作,实现生活垃圾脱水,该模套式生活垃圾脱水处理机具有结构简单,脱水能力强的优点。
附图说明
图1为本实用新型模套式生活垃圾脱水处理机的结构示意图。
图2为图1的A-A剖视图。
图3为图2的B-B剖视图。
其中:
底座1
进料体2、进料油缸21、进料头22
挤压体3、挤压油缸31、挤压头32
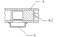
推料体4、推料油缸41、推料模套42
出料体5、出料油缸51、出料头52
进料斗6
出料接管7
盛料箱8
引液斗9
盛液箱10。
具体实施方式
参见图1~图3,本实用新型涉及的一种模套式生活垃圾脱水处理机,它包括底座1,所述底座1上设置有机体,所述机体包括横向的进料体2与推料体4以及纵向的挤压体3与出料体5,所述进料体2的后端与挤压体3的中部连接,所述挤压体3的后端与推料体4的中部连接,所述推料体4的后端与出料体5的中部连接,所述进料体2的前端设置有向内的进料油缸21,所述进料油缸21的活塞杆端连接有进料头22,所述挤压体3的前端设置有向内的挤压油缸31,所述挤压油缸31的活塞杆端连接有挤压头32,所述推料体4的前端设置有向内的推料油缸41,所述推料油缸41的活塞杆端连接有推料模套42,所述出料体5的前端设置有向内的出料油缸51,所述出料油缸51的活塞杆端连接有出料头52,所述进料体2的上方设置有进料斗6,所述出料体5的后端设置有出料接管7,所述出料接管7的下方设置有盛料箱8,所述推料模套42的底面设置有液流孔,所述推料体4的底面设置有液流槽,所述推料体4的中部下方设置有引液斗9,所述引液斗9的下方设置有盛液箱10。
工作原理:
生活垃圾从进料斗6进入进料体2内;进料油缸21带动进料头22将生活垃圾从进料体2中推进挤压体3,到位停止;挤压油缸31带动挤压头32对生活垃圾进行挤压,使生活垃圾进入推料模套42中,此时推料模套42位于推料体4与挤压体3的交接处,水份经液流孔、液流槽、引液斗9进入盛液箱10内,挤压到位,停止工作,推料油缸41带动推料模套42和已脱水的生活垃圾从推料体4进入出料体5,到位停止,出料油缸51带动出料头52将推料模套42中已脱水的生活垃圾推出,经过出料接管7进入盛料箱8,这样就实现了脱水的目的。
Claims (2)
1.一种模套式生活垃圾脱水处理机,其特征在于它包括底座(1),所述底座(1)上设置有机体,所述机体包括横向的进料体(2)与推料体(4)以及纵向的挤压体(3)与出料体(5),所述进料体(2)的后端与挤压体(3)的中部连接,所述挤压体(3)的后端与推料体(4)的中部连接,所述推料体(4)的后端与出料体(5)的中部连接,所述进料体(2)的前端设置有向内的进料油缸(21),所述进料油缸(21)的活塞杆端连接有进料头(22),所述挤压体(3)的前端设置有向内的挤压油缸(31),所述挤压油缸(31)的活塞杆端连接有挤压头(32),所述推料体(4)的前端设置有向内的推料油缸(41),所述推料油缸(41)的活塞杆端连接有推料模套(42),所述出料体(5)的前端设置有向内的出料油缸(51),所述出料油缸(51)的活塞杆端连接有出料头(52),所述推料模套(42)的底面设置有液流孔,所述推料体(4)的底面设置有液流槽。
2.根据权利要求1所述的一种模套式生活垃圾脱水处理机,其特征在于所述进料体(2)的上方设置有进料斗(6),所述出料体(5)的后端设置有出料接管(7),所述出料接管(7)的下方设置有盛料箱(8),所述推料体(4)的中部下方设置有引液斗(9),所述引液斗(9)的下方设置有盛液箱(10)。
Priority Applications (1)
| Application Number | Priority Date | Filing Date | Title |
|---|---|---|---|
| CN201220445809.1U CN202835383U (zh) | 2012-09-04 | 2012-09-04 | 模套式生活垃圾脱水处理机 |
Applications Claiming Priority (1)
| Application Number | Priority Date | Filing Date | Title |
|---|---|---|---|
| CN201220445809.1U CN202835383U (zh) | 2012-09-04 | 2012-09-04 | 模套式生活垃圾脱水处理机 |
Publications (1)
| Publication Number | Publication Date |
|---|---|
| CN202835383U true CN202835383U (zh) | 2013-03-27 |
Family
ID=47947077
Family Applications (1)
| Application Number | Title | Priority Date | Filing Date |
|---|---|---|---|
| CN201220445809.1U Expired - Lifetime CN202835383U (zh) | 2012-09-04 | 2012-09-04 | 模套式生活垃圾脱水处理机 |
Country Status (1)
| Country | Link |
|---|---|
| CN (1) | CN202835383U (zh) |
Cited By (2)
| Publication number | Priority date | Publication date | Assignee | Title |
|---|---|---|---|---|
| CN102865580A (zh) * | 2012-09-04 | 2013-01-09 | 江苏华宏科技股份有限公司 | 模套式生活垃圾脱水处理机 |
| CN104964287A (zh) * | 2015-06-27 | 2015-10-07 | 陈伟强 | 垃圾压干焚烧装置 |
-
2012
- 2012-09-04 CN CN201220445809.1U patent/CN202835383U/zh not_active Expired - Lifetime
Cited By (2)
| Publication number | Priority date | Publication date | Assignee | Title |
|---|---|---|---|---|
| CN102865580A (zh) * | 2012-09-04 | 2013-01-09 | 江苏华宏科技股份有限公司 | 模套式生活垃圾脱水处理机 |
| CN104964287A (zh) * | 2015-06-27 | 2015-10-07 | 陈伟强 | 垃圾压干焚烧装置 |
Similar Documents
| Publication | Publication Date | Title |
|---|---|---|
| CN108745556A (zh) | 一种农业废弃物压缩处理装置 | |
| CN103144343B (zh) | 垂直定量预压式大型垃圾压缩机 | |
| CN202835383U (zh) | 模套式生活垃圾脱水处理机 | |
| CN206088023U (zh) | 城市生活垃圾压缩设备 | |
| CN201634152U (zh) | 垃圾桶 | |
| CN204018361U (zh) | 垃圾分离利用装置 | |
| CN203229117U (zh) | 一种全密封垃圾压缩机 | |
| CN203127565U (zh) | 环保垃圾桶 | |
| CN202835384U (zh) | 垫块式生活垃圾脱水处理机 | |
| CN102865580A (zh) | 模套式生活垃圾脱水处理机 | |
| CN204263572U (zh) | 一种垃圾压缩机 | |
| CN103991659A (zh) | 一种分液式垃圾箱 | |
| CN209521303U (zh) | 一种用于垃圾预处理的垃圾挤压装置 | |
| CN202540782U (zh) | 一种餐厨垃圾压榨机 | |
| CN202973765U (zh) | 液压式生活垃圾挤水机 | |
| CN102878565A (zh) | 垫块式生活垃圾脱水处理机 | |
| CN202414587U (zh) | 一种新型垃圾桶 | |
| CN103964084B (zh) | 一种干化垃圾的推动系统及工艺 | |
| CN204507895U (zh) | 垃圾下料斗 | |
| CN207137450U (zh) | 液压挤压固液分离机 | |
| CN211843312U (zh) | 一种餐余垃圾的压滤装置 | |
| CN203555154U (zh) | 一种接装机加装水松纸片专用收集装置 | |
| CN206416556U (zh) | 一种生活垃圾挤压脱水机 | |
| CN201520063U (zh) | 垃圾压缩装置 | |
| CN205897797U (zh) | 中药废渣快速干燥处理装置 |
Legal Events
| Date | Code | Title | Description |
|---|---|---|---|
| C14 | Grant of patent or utility model | ||
| GR01 | Patent grant | ||
| CX01 | Expiry of patent term |
Granted publication date: 20130327 |
|
| CX01 | Expiry of patent term |