CN202825607U - Tool clamp - Google Patents
Tool clamp Download PDFInfo
- Publication number
- CN202825607U CN202825607U CN 201220497149 CN201220497149U CN202825607U CN 202825607 U CN202825607 U CN 202825607U CN 201220497149 CN201220497149 CN 201220497149 CN 201220497149 U CN201220497149 U CN 201220497149U CN 202825607 U CN202825607 U CN 202825607U
- Authority
- CN
- China
- Prior art keywords
- sleeve
- arm
- pliers
- tool pliers
- tool
- Prior art date
- Legal status (The legal status is an assumption and is not a legal conclusion. Google has not performed a legal analysis and makes no representation as to the accuracy of the status listed.)
- Expired - Fee Related
Links
- 210000000080 chela (arthropods) Anatomy 0.000 claims description 6
- 238000010586 diagram Methods 0.000 description 2
- 238000000034 method Methods 0.000 description 1
- 238000012986 modification Methods 0.000 description 1
- 230000004048 modification Effects 0.000 description 1
Images
Landscapes
- Food-Manufacturing Devices (AREA)
Abstract
本实用新型公开了一种工具钳。该工具钳是在常规工具钳的基础上增加了可夹持螺帽的套筒,其左钳臂底部设有中空的内螺纹,左侧套筒固定连接带有外螺纹的螺杆,所述左钳臂和左侧套筒通过螺纹拧合连接;其右钳臂底部设有中空的内螺纹,右侧套筒固定连接带有外螺纹的螺杆,所述右钳臂和右侧套筒通过螺纹拧合连接。本实用新型提供的一种工具钳在常规工具钳的功能上额外增加了扳拧螺帽的功能,可以给使用者带来方便。
The utility model discloses a tool pliers. The tool pliers is based on the conventional tool pliers with a sleeve that can clamp the nut. The bottom of the left arm of the tool is provided with a hollow internal thread, and the left sleeve is fixedly connected to the screw rod with external threads. The left The clamp arm and the left sleeve are screwed together; the bottom of the right clamp arm is provided with a hollow internal thread, and the right sleeve is fixedly connected to a screw with external threads, and the right clamp arm and the right sleeve are threaded. Screw connection. The tool pliers provided by the utility model has an additional function of screwing nuts in addition to the functions of conventional tool pliers, which can bring convenience to users.
Description
技术领域 technical field
本实用新型涉及五金工具领域,特别涉及一种工具钳。The utility model relates to the field of hardware tools, in particular to a tool pliers.
背景技术 Background technique
在日常的生活和工作中,经常会用到工具钳和扳手,这两种工具都是单一的功能,使用时需要同时携带这两种不同的工具,携带工具多了不但增加重量,在更换或找寻工具时也十分不便。因此,本实用新型提供了一种工具钳将常规工具钳和扳手组合在一起,结合了两者的功能,给使用者带来了方便。In daily life and work, tool pliers and wrenches are often used. These two tools have a single function. When using them, you need to carry these two different tools at the same time. Carrying more tools will not only increase the weight, but also increase the weight when replacing or It is also very inconvenient when looking for tools. Therefore, the utility model provides a tool pliers which combines the conventional tool pliers and the wrench, combines the functions of the two, and brings convenience to users.
实用新型内容 Utility model content
本实用新型的目的在于,提供一种工具钳在常规工具钳的功能上额外增加了扳拧螺帽的功能,可以给使用者带来方便。The purpose of the utility model is to provide a tool pliers with an additional function of screwing nuts in addition to the functions of conventional tool pliers, which can bring convenience to users.
本实用新型的目的可以通过以下技术方案实现:The purpose of this utility model can be realized through the following technical solutions:
一种工具钳,其特征在于,包括左钳臂、右钳臂、左侧套筒和右侧套筒,所述左钳臂底部设有中空的内螺纹,左侧套筒固定连接带有外螺纹的螺杆,所述左钳臂和左侧套筒通过螺纹拧合连接。所述右钳臂底部设有中空的内螺纹,右侧套筒固定连接带有外螺纹的螺杆,所述右钳臂和右侧套筒通过螺纹拧合连接。A tool pliers, characterized in that it comprises a left pliers arm, a right pliers arm, a left sleeve and a right sleeve, the bottom of the left pliers arm is provided with a hollow internal thread, and the left sleeve is fixedly connected with an external A threaded screw rod, the left clamp arm and the left sleeve are connected by threaded screwing. The bottom of the right pliers arm is provided with a hollow internal thread, and the right sleeve is fixedly connected with a screw rod with external threads, and the right pliers arm and the right sleeve are connected by threading.
进一步的,所述左侧套筒和右侧套筒中间开设有不同规格大小的夹持孔。也可以配套有不同规格夹持孔的套筒,用于替换。Further, clamping holes of different specifications and sizes are opened in the middle of the left sleeve and the right sleeve. It can also be equipped with sleeves with different specifications of clamping holes for replacement.
本实用新型提供的一种工具钳可以是在常规的老虎钳、尖嘴钳等工具钳上作出的改进。The tool pliers provided by the utility model can be improved on conventional tool pliers such as vise and needle-nose pliers.
附图说明 Description of drawings
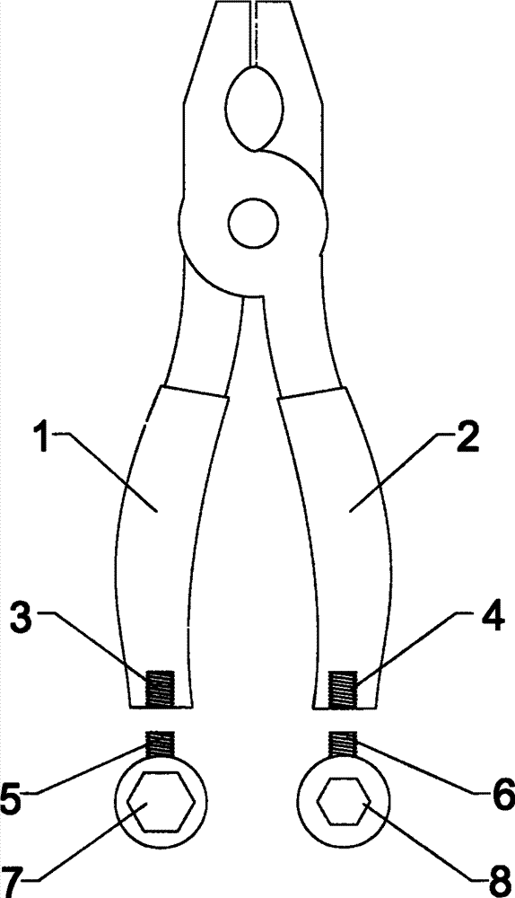
图1为本实用新型一实施方式的一种工具钳拆分的结构示意图。Fig. 1 is a schematic diagram of the disassembled structure of a tool pliers according to an embodiment of the present invention.
图2为本实用新型一实施方式的一种工具钳组合的结构示意图。Fig. 2 is a schematic structural diagram of a tool pliers assembly according to an embodiment of the present invention.
具体实施方式 Detailed ways
下面结合附图对本实用新型作进一步详细的说明。Below in conjunction with accompanying drawing, the utility model is described in further detail.
如图1所示,一种工具钳,包括左钳臂1、右钳臂2、左侧套筒7和右侧套筒8,左钳臂1底部设有中空的内螺纹3,左侧套筒7固定连接带有外螺纹的螺杆5,所述左钳臂1和左侧套筒7通过螺纹拧合连接。所述右钳臂2底部设有中空的内螺纹4,右侧套筒8固定连接带有外螺纹的螺杆6,所述右钳臂2和右侧套筒8通过螺纹拧合连接。此外,左侧套筒7和右侧套筒8中间开设有不同规格大小的夹持孔,这两种夹持孔用于拧开对应规格大小的螺母,也可以增加配套不同规格夹持孔的套筒,用于替换。As shown in Figure 1, a kind of tool pliers comprises
综上,本实用新型提供的一种工具钳在常规工具钳的功能上额外增加了扳拧螺帽的功能,可以给使用者带来方便。To sum up, the tool pliers provided by the utility model has an additional function of screwing nuts in addition to the functions of conventional tool pliers, which can bring convenience to users.
以上所述的仅是本实用新型的实施方式。对于本领域的普通技术人员来说,在不脱离本实用新型创造构思的前提下,还可以做出若干变形和改进,这些都属于本实用新型的保护范围。What have been described above are only embodiments of the present utility model. For those skilled in the art, without departing from the inventive concept of the present utility model, some modifications and improvements can be made, and these all belong to the protection scope of the present utility model.
Claims (2)
Priority Applications (1)
| Application Number | Priority Date | Filing Date | Title |
|---|---|---|---|
| CN 201220497149 CN202825607U (en) | 2012-09-27 | 2012-09-27 | Tool clamp |
Applications Claiming Priority (1)
| Application Number | Priority Date | Filing Date | Title |
|---|---|---|---|
| CN 201220497149 CN202825607U (en) | 2012-09-27 | 2012-09-27 | Tool clamp |
Publications (1)
| Publication Number | Publication Date |
|---|---|
| CN202825607U true CN202825607U (en) | 2013-03-27 |
Family
ID=47937399
Family Applications (1)
| Application Number | Title | Priority Date | Filing Date |
|---|---|---|---|
| CN 201220497149 Expired - Fee Related CN202825607U (en) | 2012-09-27 | 2012-09-27 | Tool clamp |
Country Status (1)
| Country | Link |
|---|---|
| CN (1) | CN202825607U (en) |
Cited By (1)
| Publication number | Priority date | Publication date | Assignee | Title |
|---|---|---|---|---|
| CN104084904A (en) * | 2014-07-14 | 2014-10-08 | 徐新权 | Multifunctional pincer pliers |
-
2012
- 2012-09-27 CN CN 201220497149 patent/CN202825607U/en not_active Expired - Fee Related
Cited By (1)
| Publication number | Priority date | Publication date | Assignee | Title |
|---|---|---|---|---|
| CN104084904A (en) * | 2014-07-14 | 2014-10-08 | 徐新权 | Multifunctional pincer pliers |
Similar Documents
| Publication | Publication Date | Title |
|---|---|---|
| CN206154192U (en) | Multifunctional wrench | |
| CN205928408U (en) | Socket head for socket wrench | |
| CN202825607U (en) | Tool clamp | |
| CN205465909U (en) | Screwdriver with structure of being locked | |
| CN204308835U (en) | A kind of telescopic spanner | |
| CN202640222U (en) | Hexagon bolt spanner set | |
| CN102152266A (en) | Combined wrench capable of quickly tightening nut on bolt | |
| CN106181840A (en) | Combination wrench | |
| CN203665391U (en) | Spanner | |
| CN205271853U (en) | Edges and corners can be twisted and spanner of flat screw is ground | |
| CN105328608A (en) | Movable wrench | |
| CN203171567U (en) | Multi-functional spanner | |
| CN205148164U (en) | Movable spanner | |
| CN204281254U (en) | A kind of Multifunction open bucket instrument | |
| CN206825254U (en) | electrician combination tool | |
| CN203752050U (en) | Boosting screwdriver | |
| CN204800529U (en) | Short wushu multi -use spanner of portable combination | |
| CN202805064U (en) | Wench easy to detach and adjustable in length | |
| CN203956876U (en) | A kind of Multifunctional hand-hammer | |
| CN204505121U (en) | A kind of multifunctional wrench | |
| CN203371440U (en) | Multifunctional monkey wrench | |
| CN103350407A (en) | Multifunctional adjustable wrench | |
| CN202726790U (en) | Double-caliber electrode cap disassembling wrench | |
| CN203141367U (en) | Tongs type double-clamping wrench | |
| CN207223785U (en) | A kind of multi-funciton hand-vice instrument |
Legal Events
| Date | Code | Title | Description |
|---|---|---|---|
| C14 | Grant of patent or utility model | ||
| GR01 | Patent grant | ||
| C17 | Cessation of patent right | ||
| CF01 | Termination of patent right due to non-payment of annual fee |
Granted publication date: 20130327 Termination date: 20130927 |
