CN202819037U - 一种切剁式秸秆还田机 - Google Patents
一种切剁式秸秆还田机 Download PDFInfo
- Publication number
- CN202819037U CN202819037U CN 201220455013 CN201220455013U CN202819037U CN 202819037 U CN202819037 U CN 202819037U CN 201220455013 CN201220455013 CN 201220455013 CN 201220455013 U CN201220455013 U CN 201220455013U CN 202819037 U CN202819037 U CN 202819037U
- Authority
- CN
- China
- Prior art keywords
- frame
- cutting
- main shaft
- cut
- straw returning
- Prior art date
- Legal status (The legal status is an assumption and is not a legal conclusion. Google has not performed a legal analysis and makes no representation as to the accuracy of the status listed.)
- Expired - Fee Related
Links
- 239000010902 straw Substances 0.000 title claims abstract description 36
- 230000005540 biological transmission Effects 0.000 claims abstract description 7
- 241000826860 Trapezium Species 0.000 claims description 3
- 230000003028 elevating effect Effects 0.000 claims description 3
- 239000002689 soil Substances 0.000 abstract description 8
- 240000008042 Zea mays Species 0.000 abstract description 5
- 235000002017 Zea mays subsp mays Nutrition 0.000 abstract description 5
- 235000005824 Zea mays ssp. parviglumis Nutrition 0.000 abstract 1
- 238000007605 air drying Methods 0.000 abstract 1
- 235000005822 corn Nutrition 0.000 abstract 1
- 235000015097 nutrients Nutrition 0.000 abstract 1
- 235000016383 Zea mays subsp huehuetenangensis Nutrition 0.000 description 4
- 235000009973 maize Nutrition 0.000 description 4
- 210000002445 nipple Anatomy 0.000 description 4
- 235000016709 nutrition Nutrition 0.000 description 3
- 230000035764 nutrition Effects 0.000 description 3
- 230000009286 beneficial effect Effects 0.000 description 2
- 238000012423 maintenance Methods 0.000 description 2
- 238000010298 pulverizing process Methods 0.000 description 2
- 238000010521 absorption reaction Methods 0.000 description 1
- 230000002950 deficient Effects 0.000 description 1
- 238000005516 engineering process Methods 0.000 description 1
- 238000003912 environmental pollution Methods 0.000 description 1
- 238000003306 harvesting Methods 0.000 description 1
- 238000010899 nucleation Methods 0.000 description 1
Images
Landscapes
- Threshing Machine Elements (AREA)
Abstract
一种切剁式秸秆还田机,涉及秸秆还田机,包括动力传输机构、机架和设置于机架上的主轴,主轴通过轴承固定于机架上,主轴上设置两个反相的曲轴,两个反相的曲轴均通过轴套连接切刀杆及其下部的切刀,切刀背部设置拉杆,拉杆前端铰接于切刀或切刀杆上,拉杆的后端铰接于机架上。进一步:所述机架的前下部还设置有辊架,辊架上设置有横向的压辊。本实用新型的有益效果是:1、玉米秸秆成短节,有利于营养的保留;2、剁过的地块土壤比较疏松,干地保墒效果好,湿地利于地表风干,便于农作物的耕种;3、秸秆成短节,方便采用犁进行耕地掩埋。4、相对于传统粉碎型的秸秆还田机,动力消耗少,成本低,作业效率高;经测试,还田1亩地仅需3-15元。
Description
技术领域
本实用新型涉及农业机械,进一步是秸秆还田机,特别是用切碎原理制作的秸秆还田机。
背景技术
目前在农作物收获后,尤其是玉米秸秆还田非常必要,这样既使能源再利用又保证了土壤的肥沃,同时也避免了因燃烧秸秆所造成的环境污染。因此,人们发明了很多种秸秆还田机,这些设备大都采用秸秆粉碎装置,这种装置制造复杂,与其配合的动力要求高,动力消耗大,工作效率不理想;部件磨损快,维修成本高;秸秆韧性大,表面被粉碎后的秸秆多呈藕断丝连状,粉碎质量差,地面就像铺了地毯,不利于土壤吸收阳光;土壤较湿时,粉碎后极易造成地块板结,土地耕整和播种作业困难;其粉碎性质使秸秆风干加快,营养丢失,大大降低秸秆营养利用率;且作业成本高,经测试,还田1亩地需30-60元。
发明内容
本实用新型的目的在于克服上述现有技术的缺陷,提供一种切剁式秸秆还田机,它可将玉米秸秆等剁成长短适当的短节,实现秸秆还田。
本实用新型的目的是通过以下方案实现的:
一种切剁式秸秆还田机,包括动力传输机构、机架和设置于机架上的主轴,其特征在于:主轴通过轴承固定于机架上,主轴上设置两个反相的曲轴,两个反相的曲轴均通过轴套连接切刀杆及其下部的切刀,切刀背部设置拉杆,拉杆前端铰接于切刀或切刀杆上,拉杆的后端铰接于机架上。
本实用新型还可进一步通过以下方案实现:
所述机架的前下部还设置有辊架,辊架上设置有横向的压辊。所述的压辊在辊架上可上升或下降固定。
所述的主轴横向设置于机架上,切刀为横向。
所述的主轴纵向设置于机架上,切刀为纵向。
所述切刀为平板,呈上小下大的梯形结构,底部平且较薄或有刃。
所述的切刀背部设置有轴板,轴板通过轴连接拉杆,拉杆的后端通过轴连接机架。
所述动力传输机构的结构是:拖拉机动力轮通过皮带或链条带动离合轮,离合轮与传动轮同轴,该轴通过轴承固定于机架上,传动轮通过皮带或链条连接轴轮,轴轮设置于主轴的一端。
所述动力轮设置于拖拉机后轮上。
所述的机架设置于拖拉机前部或后部。设置于拖拉机后部时,机架上设置有连接杆或连接板,连接杆或连接板连接拖拉机的悬挂轴与升降杆。
本实用新型采用两个切刀反相设置于曲轴上,交替切剁秸秆,从而可方便将玉米秸秆剁成长短适当短节。其产生的有益效果是:1、玉米秸秆成短节,有利于营养的保留;2、剁过的地块土壤比较疏松,干地保墒效果好,湿地利于地表风干,便于农作物的耕种;3、秸秆成短节,方便采用犁进行耕地掩埋。4、相对于传统粉碎型的秸秆还田机,动力消耗少,成本低,作业效率高;经测试,还田1亩地仅需3-15元。5、部件磨损小,维修成本低。本实用新型结构简单,易于制造,可前置或后置,可大可小,可以配合各种动力拖拉机。
附图说明
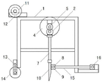
图1为本实用新型后视示意图,图2为本实用新型侧视示意图。
图中:1为机架,2为轴套,3为轴轮,4为轴承,5为主轴,6为曲轴,7为切刀杆,8为轴,9为轴板,10为切刀,11为传动轮,12为离合轮,13为辊架,14为辊,15为拉杆,16为轴。
具体实施方式
为了使本技术领域的人员更好地理解本实用新型方案,并使本实用新型的上述目的、特征和优点能够更加明显易懂,下面结合实施例对本实用新型作进一步详细的说明。
实施例:
如图1、2所示,一种切剁式秸秆还田机,包括:主轴5的两端与中部通过轴承4固定于机架1上(可以是机架1杆的上面或下面),主轴5上设置两个反相的曲轴6,曲轴6上通过轴套2连接切刀杆7及其下部的切刀10,切刀10为平板,呈上小下大的梯形结构,底部较薄或有刃;切刀10后部设置有轴板9,轴板9通过轴8连接拉杆15,拉杆15的后端通过轴16连接机架1的下部。
机架1前部通过连接杆连接拖拉机的悬挂轴与升降杆,在机架1的前下部还设置有两个辊架13,辊架13上设置有横向的辊14,用于将秸秆相对压实。同时,其在辊架13上可上升或下降固定,这样,可调整切刀10对秸秆的切力。
动力传输机构是:拖拉机动力轮通过皮带或链条带动离合轮12,离合轮12与传动轮11(虚线圆)同轴,该轴通过轴承固定于机架上,传动轮11通过皮带或链条连接轴轮3,轴轮3设置于主轴5的一端。本实施例采用带轮及皮带传动。
使用时,拖拉机动力轮通过皮带,带动离合轮12及同轴的传动轮11,传动轮11通过皮带带动轴轮3及主轴5,主轴5的转动,使得曲轴6带动两个切刀杆7及切刀10交替下行,从而实现切断秸秆。
本实用新型的实施例为设置于拖拉机后部时的情形,本实用新型还可设置于拖拉机前部。
以上所述,仅为本实用新型的具体实施方式,但本实用新型的保护范围并不局限于此,任何熟悉本技术领域的技术人员在本实用新型揭露的技术范围内,可轻易想到的变化或替换,都应涵盖在本实用新型的保护范围之内。
Claims (10)
1.一种切剁式秸秆还田机,包括动力传输机构、机架和设置于机架上的主轴,其特征在于:主轴通过轴承固定于机架上,主轴上设置两个反相的曲轴,两个反相的曲轴均通过轴套连接切刀杆及其下部的切刀,切刀背部设置拉杆,拉杆前端铰接于切刀或切刀杆上,拉杆的后端铰接于机架上。
2.根据权利要求1所述的切剁式秸秆还田机,其特征在于:所述机架的前下部还设置有辊架,辊架上设置有横向的压辊。
3.根据权利要求1所述的切剁式秸秆还田机,其特征在于:所述的主轴横向设置于机架上,切刀为横向。
4.根据权利要求1所述的切剁式秸秆还田机,其特征在于:所述的主轴纵向设置于机架上,切刀为纵向。
5.根据权利要求1或3或4所述的切剁式秸秆还田机,其特征在于:所述切刀为平板,呈上小下大的梯形结构,底部平且较薄或有刃。
6.根据权利要求5所述的切剁式秸秆还田机,其特征在于:所述的切刀背部设置有轴板,轴板通过轴连接拉杆,拉杆的后端通过轴连接机架。
7.根据权利要求2所述的切剁式秸秆还田机,其特征在于:所述的压辊在辊架上可上升或下降固定。
8.根据权利要求1所述的切剁式秸秆还田机,其特征在于:所述动力传输机构的结构是:拖拉机动力轮通过皮带或链条带动离合轮,离合轮与传动轮同轴,该轴通过轴承固定于机架上,传动轮通过皮带或链条连接轴轮,轴轮设置于主轴的一端。
9.根据权利要求8所述的切剁式秸秆还田机,其特征在于:所述动力轮设置于拖拉机后轮上。
10.根据权利要求1所述的切剁式秸秆还田机,其特征在于:所述的机架设置于拖拉机前部或后部;机架设置于拖拉机后部时,机架上设置有连接杆或连接板,连接杆或连接板连接拖拉机的悬挂轴与升降杆。
Priority Applications (1)
| Application Number | Priority Date | Filing Date | Title |
|---|---|---|---|
| CN 201220455013 CN202819037U (zh) | 2012-09-08 | 2012-09-08 | 一种切剁式秸秆还田机 |
Applications Claiming Priority (1)
| Application Number | Priority Date | Filing Date | Title |
|---|---|---|---|
| CN 201220455013 CN202819037U (zh) | 2012-09-08 | 2012-09-08 | 一种切剁式秸秆还田机 |
Publications (1)
| Publication Number | Publication Date |
|---|---|
| CN202819037U true CN202819037U (zh) | 2013-03-27 |
Family
ID=47930881
Family Applications (1)
| Application Number | Title | Priority Date | Filing Date |
|---|---|---|---|
| CN 201220455013 Expired - Fee Related CN202819037U (zh) | 2012-09-08 | 2012-09-08 | 一种切剁式秸秆还田机 |
Country Status (1)
| Country | Link |
|---|---|
| CN (1) | CN202819037U (zh) |
Cited By (9)
| Publication number | Priority date | Publication date | Assignee | Title |
|---|---|---|---|---|
| CN104012262A (zh) * | 2014-06-11 | 2014-09-03 | 嘉兴职业技术学院 | 秸秆切割机中的切刀组件 |
| CN104012261A (zh) * | 2014-06-11 | 2014-09-03 | 嘉兴职业技术学院 | 秸秆切割机的切割机构 |
| CN108406872A (zh) * | 2018-05-03 | 2018-08-17 | 武汉思异汇创科技有限公司 | 一种往复式牧草切割装置 |
| CN108668611A (zh) * | 2018-05-23 | 2018-10-19 | 福建省复新农业科技发展有限公司 | 一种具有粉碎功能的农用收割装置 |
| CN108702955A (zh) * | 2018-05-03 | 2018-10-26 | 武汉思异汇创科技有限公司 | 一种仿手工式牧草切割装置 |
| CN109079874A (zh) * | 2018-07-25 | 2018-12-25 | 长沙市凤英机械科技有限公司 | 一种中药加工用连续切片机 |
| CN109435340A (zh) * | 2018-10-23 | 2019-03-08 | 温雄权 | 一种瓦楞纸板生产加工用压实烘干装置 |
| CN112454515A (zh) * | 2020-11-06 | 2021-03-09 | 常德市同创包装有限公司 | 一种食品加工用自动分块分离设备 |
| CN112548645A (zh) * | 2020-12-25 | 2021-03-26 | 宁夏银得利科技发展有限公司 | 一种防火门加工用切割装置的自动换刀刀架 |
-
2012
- 2012-09-08 CN CN 201220455013 patent/CN202819037U/zh not_active Expired - Fee Related
Cited By (11)
| Publication number | Priority date | Publication date | Assignee | Title |
|---|---|---|---|---|
| CN104012262A (zh) * | 2014-06-11 | 2014-09-03 | 嘉兴职业技术学院 | 秸秆切割机中的切刀组件 |
| CN104012261A (zh) * | 2014-06-11 | 2014-09-03 | 嘉兴职业技术学院 | 秸秆切割机的切割机构 |
| CN104012262B (zh) * | 2014-06-11 | 2016-01-13 | 嘉兴职业技术学院 | 秸秆切割机中的切刀组件 |
| CN104012261B (zh) * | 2014-06-11 | 2016-02-10 | 嘉兴职业技术学院 | 秸秆切割机的切割机构 |
| CN108406872A (zh) * | 2018-05-03 | 2018-08-17 | 武汉思异汇创科技有限公司 | 一种往复式牧草切割装置 |
| CN108702955A (zh) * | 2018-05-03 | 2018-10-26 | 武汉思异汇创科技有限公司 | 一种仿手工式牧草切割装置 |
| CN108668611A (zh) * | 2018-05-23 | 2018-10-19 | 福建省复新农业科技发展有限公司 | 一种具有粉碎功能的农用收割装置 |
| CN109079874A (zh) * | 2018-07-25 | 2018-12-25 | 长沙市凤英机械科技有限公司 | 一种中药加工用连续切片机 |
| CN109435340A (zh) * | 2018-10-23 | 2019-03-08 | 温雄权 | 一种瓦楞纸板生产加工用压实烘干装置 |
| CN112454515A (zh) * | 2020-11-06 | 2021-03-09 | 常德市同创包装有限公司 | 一种食品加工用自动分块分离设备 |
| CN112548645A (zh) * | 2020-12-25 | 2021-03-26 | 宁夏银得利科技发展有限公司 | 一种防火门加工用切割装置的自动换刀刀架 |
Similar Documents
| Publication | Publication Date | Title |
|---|---|---|
| CN202819037U (zh) | 一种切剁式秸秆还田机 | |
| CN102823395A (zh) | 一种切剁式秸秆还田机 | |
| CN202773450U (zh) | 一种切段式秸秆还田机 | |
| CN203851431U (zh) | 一种农用高效秸秆深埋机 | |
| CN203814144U (zh) | 一种甘薯多垄旋耕起垄机 | |
| CN113366966A (zh) | 变轴径仿垄形木薯杆粉碎还田机 | |
| CN205408446U (zh) | 一种秸秆粉碎灭茬旋耕机 | |
| CN205993120U (zh) | 悬浮杀秧机 | |
| CN205694297U (zh) | 搅拌式根茬粉碎还田装置 | |
| CN208675779U (zh) | 多辊式仿垄形木薯杆粉碎还田机 | |
| CN201094178Y (zh) | 一种秸秆切碎灭茬还田旋耕机 | |
| CN201797712U (zh) | 农用犁旋机 | |
| CN201718178U (zh) | 自推式双轴深耕机 | |
| CN203353212U (zh) | 一种大型秸秆粉碎还田机 | |
| CN214757928U (zh) | 水稻田秸秆粗粉碎深埋与细粉碎浅埋组合分层还田机 | |
| CN215269511U (zh) | 变轴径仿垄形木薯杆粉碎还田机 | |
| CN202310498U (zh) | 联合整地机 | |
| CN205005503U (zh) | 一种高效饲草捡拾机 | |
| CN204305574U (zh) | 一种秸秆切碎匀铺旋耕还田机 | |
| CN108566821A (zh) | 多辊式仿垄形木薯杆粉碎还田机 | |
| CN203708852U (zh) | 多功能秸秆粉碎还田灭茬机 | |
| CN211322068U (zh) | 链剪式棉花秸秆粉碎机 | |
| CN210275041U (zh) | 秸秆还田多功能一体机 | |
| CN201414280Y (zh) | 一种田园管理机 | |
| CN107493851A (zh) | 一种还田玉米秸秆仿形粉碎机 |
Legal Events
| Date | Code | Title | Description |
|---|---|---|---|
| C14 | Grant of patent or utility model | ||
| GR01 | Patent grant | ||
| CF01 | Termination of patent right due to non-payment of annual fee |
Granted publication date: 20130327 Termination date: 20140908 |
|
| EXPY | Termination of patent right or utility model |