CN202814365U - Integrated testing fixture for intermediate shaft assembly - Google Patents
Integrated testing fixture for intermediate shaft assembly Download PDFInfo
- Publication number
- CN202814365U CN202814365U CN 201220435492 CN201220435492U CN202814365U CN 202814365 U CN202814365 U CN 202814365U CN 201220435492 CN201220435492 CN 201220435492 CN 201220435492 U CN201220435492 U CN 201220435492U CN 202814365 U CN202814365 U CN 202814365U
- Authority
- CN
- China
- Prior art keywords
- intermediate shaft
- shaft assembly
- measuring head
- clamping device
- inspection tool
- Prior art date
- Legal status (The legal status is an assumption and is not a legal conclusion. Google has not performed a legal analysis and makes no representation as to the accuracy of the status listed.)
- Expired - Fee Related
Links
- 238000012360 testing method Methods 0.000 title claims description 4
- 238000007689 inspection Methods 0.000 claims abstract description 20
- 238000001514 detection method Methods 0.000 claims abstract description 12
- 238000005259 measurement Methods 0.000 abstract description 4
- 239000000523 sample Substances 0.000 abstract description 4
- 238000000034 method Methods 0.000 description 6
- 230000000712 assembly Effects 0.000 description 1
- 238000000429 assembly Methods 0.000 description 1
- 238000010586 diagram Methods 0.000 description 1
- 238000005516 engineering process Methods 0.000 description 1
- 238000009434 installation Methods 0.000 description 1
- 238000004519 manufacturing process Methods 0.000 description 1
Images
Landscapes
- A Measuring Device Byusing Mechanical Method (AREA)
Abstract
本实用新型涉及一种中间轴综合检具,主要由夹紧装置、测头、测量标尺、底座和中间轴外圆直径检测机构组成。夹紧装置固定在底座上,测头固定连接到测量标尺上,测头与测量标尺分别通过各自导轨安装在底座上,导轨方向与测量时中间轴总成的轴向一致。测头设有与所述中间轴未被夹紧一端相配合的通孔,以及中间轴外圆直径检测机构。滑动测头可压到油封衬套。本实用新型模拟中间轴总成实际装车状态,可同时测量油封衬套与支撑架间相对位置和中间轴磨外圆直径,减小了测量误差,提高了工作效率。
The utility model relates to a comprehensive inspection tool for an intermediate shaft, which is mainly composed of a clamping device, a measuring head, a measuring scale, a base and a detection mechanism for the outer circle diameter of the intermediate shaft. The clamping device is fixed on the base, and the measuring head is fixedly connected to the measuring scale. The measuring head and the measuring scale are installed on the base through their respective guide rails, and the direction of the guide rails is consistent with the axial direction of the intermediate shaft assembly during measurement. The measuring head is provided with a through hole matching with the unclamped end of the intermediate shaft, and a detection mechanism for the outer circle diameter of the intermediate shaft. The sliding probe can be pressed to the oil seal bushing. The utility model simulates the actual loading state of the intermediate shaft assembly, and can simultaneously measure the relative position between the oil seal bushing and the support frame and the diameter of the outer circle of the intermediate shaft grinding, thereby reducing measurement errors and improving work efficiency.
Description
技术领域 technical field
本实用新型涉及一种综合检具,特别是一种中间轴总成的综合检具。The utility model relates to a comprehensive inspection tool, in particular to a comprehensive inspection tool for an intermediate shaft assembly.
背景技术 Background technique
中间轴总成是汽车驱动轴总成的一部分,包括中间轴、中间轴支撑架和油封衬套。现有的检测技术需要对中间轴磨外圆直径、油封衬套与支撑架间相对位置分别进行检测,效率低,检测时间长。此外,现有的检具未考虑到压装后油封衬套与支撑架间相对位置会发生变化,检测结果与中间轴总成压装后的实际相对位置相比有较大误差。特别在大批量生产中,现有检测技术不能保证效率和质量水平。The intermediate shaft assembly is a part of the automobile drive shaft assembly, including the intermediate shaft, the intermediate shaft support frame and the oil seal bushing. The existing detection technology needs to separately detect the outer circle diameter of the intermediate shaft grinding and the relative position between the oil seal bush and the support frame, which has low efficiency and long detection time. In addition, the existing inspection tool does not take into account that the relative position between the oil seal bush and the support frame will change after press-fitting, and the test result has a large error compared with the actual relative position of the intermediate shaft assembly after press-fitting. Especially in mass production, existing inspection techniques cannot guarantee efficiency and quality levels.
实用新型内容 Utility model content
针对上述现有技术,本实用新型要解决的技术问题是提供了一种中间轴总成的综合检具,这种综合检具可以同时检测油封衬套与支撑架间相对位置和中间轴磨外圆直径,并可减少误差。Aiming at the above-mentioned prior art, the technical problem to be solved by this utility model is to provide a comprehensive inspection tool for the intermediate shaft assembly, which can simultaneously detect the relative position between the oil seal bushing and the support frame and the grinding surface of the intermediate shaft. circle diameter, and can reduce errors.
为了实现上述目的,本实用新型采取的技术方案为:In order to achieve the above object, the technical scheme that the utility model takes is:
本实用新型所提供的中间轴总成的综合检具包括底座、测头和测量标尺,底座上固定有与所述中间轴支撑架相配合的夹紧装置;测量标尺与测头固定连接在一起,二者均通过各自对应的导轨安装在底座上,并可在各自的导轨上共同滑动,导轨的方向与被所述夹紧装置夹紧后的中间轴总成的轴向一致;所述测头设有与中间轴套有油封衬套一端相配合的通孔,在检测状态下通孔套在中间轴套有油封衬套一端,并压到油封衬套;该测头还设有中间轴外圆直径检测机构。The comprehensive inspection tool of the intermediate shaft assembly provided by the utility model includes a base, a measuring head and a measuring scale, and a clamping device matched with the supporting frame of the intermediate shaft is fixed on the base; the measuring scale and the measuring head are fixedly connected together , both are installed on the base through their corresponding guide rails, and can slide together on their respective guide rails, the direction of the guide rails is consistent with the axial direction of the intermediate shaft assembly clamped by the clamping device; the measuring The head is provided with a through hole that matches the end of the intermediate shaft sleeve with the oil seal bush. In the detection state, the through hole is placed on the end of the intermediate shaft sleeve with the oil seal bush and pressed to the oil seal bush; the probe also has an intermediate shaft. Outer diameter detection mechanism.
该中间轴总成的综合检具还包括专用校零板。The comprehensive inspection tool of the intermediate shaft assembly also includes a special zero calibration plate.
该中间轴总成的综合检具上的测头与上述夹紧装置可以更换,以适应不同规格的中间轴总成。The measuring head on the comprehensive inspection tool of the intermediate shaft assembly and the above-mentioned clamping device can be replaced to adapt to intermediate shaft assemblies of different specifications.
上述夹紧装置通过定位销在该检具底座上定位;中间轴总成通过定位销在夹紧装置上定位,手动夹紧。The above-mentioned clamping device is positioned on the base of the inspection tool through the positioning pin; the intermediate shaft assembly is positioned on the clamping device through the positioning pin and manually clamped.
本实用新型采用上述技术方案,实现了同时检测油封衬套与支撑架间相对位置和中间轴磨外圆直径的功能,提升了效率;并且模拟中间轴总成实际装车状态,减少了测量误差。The utility model adopts the above-mentioned technical scheme, realizes the function of simultaneously detecting the relative position between the oil seal bushing and the support frame and the outer diameter of the intermediate shaft grinding, and improves the efficiency; and simulates the actual loading state of the intermediate shaft assembly, reducing the measurement error .
附图说明 Description of drawings
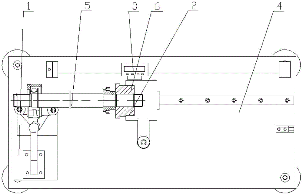
图1是本实用新型中间轴总成的综合检具的结构示意图;Fig. 1 is the structural schematic diagram of the comprehensive inspection tool of intermediate shaft assembly of the present utility model;
图2是图1所示本实用新型中间轴总成的综合检具在检测状态下的俯视图。Fig. 2 is a top view of the comprehensive inspection tool of the intermediate shaft assembly of the utility model shown in Fig. 1 under the detection state.
图1、图2中标记为:1、夹紧装置;2、测头;3、测量标尺;4、底座;5中间轴总成;6、中间轴外圆直径检测机构。Figures 1 and 2 are marked as: 1. Clamping device; 2. Measuring head; 3. Measuring scale; 4. Base; 5. Intermediate shaft assembly;
具体实施方式 Detailed ways
下面对照附图,通过对实施例的具体描述,对本实用新型的具体实施方式进行进一步说明,以帮助本领域技术人员对本实用新型的发明构思、技术方案有更完整、准确和深入的理解。The specific implementation of the present utility model is further described by referring to the accompanying drawings and the specific description of the embodiments, so as to help those skilled in the art have a more complete, accurate and in-depth understanding of the inventive concepts and technical solutions of the present utility model.
参照附图所示,本实用新型提供了一种中间轴综合检具。该检具主要由夹紧装置1、测头2、测量标尺3、底座4和校零板组成。夹紧装置1采用定位销在底座4上定位并用螺栓紧固,并与所述中间轴支撑架相配合,测头2和测量标尺3均通过对应的导轨安装在底座上,测头和导轨是通过螺栓紧固,高度可进行微调。测头2和测量标尺3固定连接在一起,导轨方向与检测状态下被夹紧的中间轴总成5的轴向一致。测头2上设有测头2设有与中间轴套有油封衬套一端相配合的通孔,以及中间轴外圆直径检测机构6,可同时对中间轴外圆直径进行检测。测头2和夹紧装置1都可以更换,如有其他规格的产品需要检测时,只需要将二者更换为与待测产品相适应的即可。Referring to the accompanying drawings, the utility model provides a comprehensive inspection tool for intermediate shafts. The inspection tool is mainly composed of a clamping device 1, a measuring head 2, a measuring scale 3, a
检测时中间轴包括只需要将中间轴总成5放置在夹紧装置1上,以三个定位销对中间轴支撑架进行定位,再手动夹紧,可以保证每次安装的一致性。检测首件及改换工件种类时,使用专用校零板进行校零,装夹工件只需要将中间轴支撑架安装在定位销上,就可以实现准确定位。如图2所示,沿导轨滑动测头2可套上所述中间轴套有油封衬套一端,并压到油封衬套,此时与测头2连接的测量标尺3显示的数据即为中间轴总成油封衬套和支撑架的相对位置,同时中间轴外圆直径检测机构6可测出中间轴外圆直径。直接与工艺或者图纸对比即可判断产品是否合格,手动更换工件即可进入下个测量循环。使用该检具,检测速度快,方法简单,同时减小了误差,大大提高了效率。During detection, the intermediate shaft only needs to place the
上面结合附图对本发明进行了示例性描述,显然本发明具体实现并不受上述方式的限制,只要采用了本发明的方法构思和技术方案进行的各种非实质性的改进,或未经改进将本发明的构思和技术方案直接应用于其它场合的,均在本发明的保护范围之内。The present invention has been exemplarily described above in conjunction with the accompanying drawings. Obviously, the specific implementation of the present invention is not limited by the above methods, as long as various insubstantial improvements are adopted in the method concept and technical solutions of the present invention, or there is no improvement Directly applying the conception and technical solutions of the present invention to other occasions falls within the protection scope of the present invention.
Claims (4)
Priority Applications (1)
| Application Number | Priority Date | Filing Date | Title |
|---|---|---|---|
| CN 201220435492 CN202814365U (en) | 2012-08-29 | 2012-08-29 | Integrated testing fixture for intermediate shaft assembly |
Applications Claiming Priority (1)
| Application Number | Priority Date | Filing Date | Title |
|---|---|---|---|
| CN 201220435492 CN202814365U (en) | 2012-08-29 | 2012-08-29 | Integrated testing fixture for intermediate shaft assembly |
Publications (1)
| Publication Number | Publication Date |
|---|---|
| CN202814365U true CN202814365U (en) | 2013-03-20 |
Family
ID=47873226
Family Applications (1)
| Application Number | Title | Priority Date | Filing Date |
|---|---|---|---|
| CN 201220435492 Expired - Fee Related CN202814365U (en) | 2012-08-29 | 2012-08-29 | Integrated testing fixture for intermediate shaft assembly |
Country Status (1)
| Country | Link |
|---|---|
| CN (1) | CN202814365U (en) |
Cited By (2)
| Publication number | Priority date | Publication date | Assignee | Title |
|---|---|---|---|---|
| CN103727914A (en) * | 2013-11-27 | 2014-04-16 | 耐世特凌云驱动系统(芜湖)有限公司 | Torsion gap detection device |
| CN106289131A (en) * | 2016-10-17 | 2017-01-04 | 无锡飞而康精铸工程有限公司 | A kind of detection device of inner circle spherical tool sphere center position error |
-
2012
- 2012-08-29 CN CN 201220435492 patent/CN202814365U/en not_active Expired - Fee Related
Cited By (2)
| Publication number | Priority date | Publication date | Assignee | Title |
|---|---|---|---|---|
| CN103727914A (en) * | 2013-11-27 | 2014-04-16 | 耐世特凌云驱动系统(芜湖)有限公司 | Torsion gap detection device |
| CN106289131A (en) * | 2016-10-17 | 2017-01-04 | 无锡飞而康精铸工程有限公司 | A kind of detection device of inner circle spherical tool sphere center position error |
Similar Documents
| Publication | Publication Date | Title |
|---|---|---|
| CN202661028U (en) | Detection device for detecting concentricity and flatness of products | |
| CN102175204A (en) | Device for detecting axial clearance and radial clearance of joint bearing | |
| CN204388760U (en) | Detect the comprehensive check tool of thrust surface Distance geometry verticality | |
| CN105387786A (en) | New-energy electric automobile front bumper detection tool | |
| CN105277432A (en) | Measurement method of small hardness sample and clamping fixture | |
| CN116124197A (en) | Press-fit detection device and press-fit detection method | |
| CN202814365U (en) | Integrated testing fixture for intermediate shaft assembly | |
| CN204255254U (en) | Torque arm suspension bracket mounting hole comprehensive check tool after preposition front drive engine | |
| CN202501810U (en) | Movable dial gauge stand | |
| CN203011893U (en) | Large automatic ultrasonic defectoscope with small-height vertical rolling turntable | |
| CN203385373U (en) | Testing fixture used for detecting automobile rear-end-panel welding assembly | |
| CN103831668B (en) | A kind of automobile hub unit outer ring automatically measure cubing | |
| CN202692882U (en) | Engine exhaust pipe inspection device | |
| CN207570710U (en) | An on-line detection device for automobile brake dragging force | |
| CN206002013U (en) | A kind of round jitter detection apparatus of axial workpiece | |
| CN201302438Y (en) | Special gauge capable of simultaneously measuring mounting distance and offset distance of spiral bevel gear pair | |
| CN203254091U (en) | Tool structure shared by clamp and inspection tool of stamping part | |
| CN201707022U (en) | Automobile exhaust system online detection fixture | |
| CN203837615U (en) | Centering special detecting fixture for belt pulley | |
| CN205228817U (en) | Improved generation electron torsion testing machine | |
| CN107957253A (en) | A kind of axis class automatic measurement machine | |
| CN207528417U (en) | A kind of spindle vibration tester | |
| CN204438979U (en) | For the appliance special for detecting of engine water tank lower carriage mounting hole | |
| CN202066451U (en) | Structure size detection tool of inner and outer guide rails of seat | |
| CN101451828A (en) | Valve sleeve hole measuring frock of electrohydraulic servo valve |
Legal Events
| Date | Code | Title | Description |
|---|---|---|---|
| C14 | Grant of patent or utility model | ||
| GR01 | Patent grant | ||
| CF01 | Termination of patent right due to non-payment of annual fee |
Granted publication date: 20130320 Termination date: 20140829 |
|
| EXPY | Termination of patent right or utility model |
