CN202813395U - Transparent conducting oxide (TCO) glass film-coating tail gas treating device - Google Patents
Transparent conducting oxide (TCO) glass film-coating tail gas treating device Download PDFInfo
- Publication number
- CN202813395U CN202813395U CN 201220393143 CN201220393143U CN202813395U CN 202813395 U CN202813395 U CN 202813395U CN 201220393143 CN201220393143 CN 201220393143 CN 201220393143 U CN201220393143 U CN 201220393143U CN 202813395 U CN202813395 U CN 202813395U
- Authority
- CN
- China
- Prior art keywords
- pipeline
- incinerator
- tail gas
- spray column
- tco
- Prior art date
- Legal status (The legal status is an assumption and is not a legal conclusion. Google has not performed a legal analysis and makes no representation as to the accuracy of the status listed.)
- Expired - Lifetime
Links
- 239000011521 glass Substances 0.000 title claims abstract description 26
- 239000007888 film coating Substances 0.000 title abstract 5
- 238000009501 film coating Methods 0.000 title abstract 5
- 239000007921 spray Substances 0.000 claims abstract description 41
- 239000002351 wastewater Substances 0.000 claims abstract description 26
- 239000011248 coating agent Substances 0.000 claims description 18
- 238000000576 coating method Methods 0.000 claims description 18
- 239000000463 material Substances 0.000 claims description 12
- 239000004744 fabric Substances 0.000 claims description 7
- 239000012530 fluid Substances 0.000 claims description 6
- 229910000831 Steel Inorganic materials 0.000 claims description 3
- 229910001220 stainless steel Inorganic materials 0.000 claims description 3
- 239000010935 stainless steel Substances 0.000 claims description 3
- 239000010959 steel Substances 0.000 claims description 3
- 238000004519 manufacturing process Methods 0.000 abstract description 3
- 239000007789 gas Substances 0.000 description 50
- 238000000034 method Methods 0.000 description 8
- 238000005516 engineering process Methods 0.000 description 7
- 239000003513 alkali Substances 0.000 description 6
- 239000002253 acid Substances 0.000 description 4
- 239000007788 liquid Substances 0.000 description 4
- 238000007599 discharging Methods 0.000 description 3
- 239000000428 dust Substances 0.000 description 3
- 238000001914 filtration Methods 0.000 description 3
- 238000001556 precipitation Methods 0.000 description 3
- 239000007787 solid Substances 0.000 description 3
- RWSOTUBLDIXVET-UHFFFAOYSA-N Dihydrogen sulfide Chemical compound S RWSOTUBLDIXVET-UHFFFAOYSA-N 0.000 description 2
- 238000010521 absorption reaction Methods 0.000 description 2
- 239000002360 explosive Substances 0.000 description 2
- 239000004615 ingredient Substances 0.000 description 2
- 238000009434 installation Methods 0.000 description 2
- 238000004064 recycling Methods 0.000 description 2
- 239000002912 waste gas Substances 0.000 description 2
- GGAUUQHSCNMCAU-ZXZARUISSA-N (2s,3r)-butane-1,2,3,4-tetracarboxylic acid Chemical compound OC(=O)C[C@H](C(O)=O)[C@H](C(O)=O)CC(O)=O GGAUUQHSCNMCAU-ZXZARUISSA-N 0.000 description 1
- OKTJSMMVPCPJKN-UHFFFAOYSA-N Carbon Chemical compound [C] OKTJSMMVPCPJKN-UHFFFAOYSA-N 0.000 description 1
- 230000009286 beneficial effect Effects 0.000 description 1
- 229910052799 carbon Inorganic materials 0.000 description 1
- 230000001143 conditioned effect Effects 0.000 description 1
- 230000001351 cycling effect Effects 0.000 description 1
- 230000007812 deficiency Effects 0.000 description 1
- 238000004332 deodorization Methods 0.000 description 1
- 230000001877 deodorizing effect Effects 0.000 description 1
- 230000008676 import Effects 0.000 description 1
- 238000009776 industrial production Methods 0.000 description 1
- 239000000203 mixture Substances 0.000 description 1
- 238000006386 neutralization reaction Methods 0.000 description 1
- 238000000247 postprecipitation Methods 0.000 description 1
- 230000001105 regulatory effect Effects 0.000 description 1
- 239000002910 solid waste Substances 0.000 description 1
- 238000004056 waste incineration Methods 0.000 description 1
- 239000002699 waste material Substances 0.000 description 1
- XLYOFNOQVPJJNP-UHFFFAOYSA-N water Substances O XLYOFNOQVPJJNP-UHFFFAOYSA-N 0.000 description 1
Images
Landscapes
- Treating Waste Gases (AREA)
Abstract
The utility model relates to a tail gas treating device, in particular to a transparent conducting oxide (TCO) glass film-coating tail gas treating device. The TCO glass film-coating tail gas treating device comprises an incinerator, a spray tower, and a waste water pool and a circulating pool which are arranged below the spray tower. The TCO glass film-coating tail gas treating device is characterized in that the incinerator is provided with two incinerating cavity chambers, each incinerating cavity chamber is communicated with one gas inlet, a gas outlet is arranged in the incinerator, a pipe is installed on the gas outlet of the incinerator, the other end of the pipe is installed on a gas inlet of the spray tower, and the incinerator and the spray tower are communicated with each other through a pipe. The TCO glass film-coating tail gas treating device not only has the advantages of being compact and reasonable in structure, small in size, low in manufacturing cost, low in treating expanse and the like, but also improves the thoroughness of tail gas treatment and safety of tail gas incineration.
Description
Technical field
The utility model relates to a kind of exhaust gas processing device, relates in particular to a kind of device for TCO coating film on glass tail gas is processed.
Background technology
At present, along with the development of world industry, a large amount of dischargings of tail gas, the vent gas treatment technology that exists on the market also is diversified.For example, vent gas treatment technology after the waste incineration, at first use (cyclone dust collectors or sack cleaner) to carry out dedusting, then the tail gas spray alkali lye after utilizing spray column to dedusting, with in and the acid ingredient that contains in the tail gas, thereby remove the acid ingredient that contains in the tail gas, if also contain foul odour in the gas, utilizing active carbon deodorization device that tail gas is carried out deodorizing, the tail gas of discharging is up to state standards.But existing vent gas treatment technology is for the exhaust gas component corresponding with it and fixed, and to the exhaust gas component of other industrial production outputs and inapplicable, the exhaust gas component that produces in the TCO coating film on glass technique contains Multiple components with regard to more complicated, such as MBTC, and TFA, Sncl
2, Sncl
4Etc., if first the TCO coating film on glass tail gas of complicated component separated, and then to but the tail gas of planting composition process, will make the vent gas treatment technology very complex that becomes, and equipment needed thereby is many, big energy-consuming, cost high, also may cause secondary pollution simultaneously.So, up to the present, also do not have a good TCO coating film on glass vent gas treatment technology.
The utility model content
The purpose of this utility model is to overcome the deficiency that existing vent gas treatment technology can't be processed the tail gas that produces complicated component in the TCO coating film on glass technique, and provide a kind of TCO coating film on glass exhaust gas processing device, adopt two Room incinerators, the tail gas that two plated film chambers produce in two of incinerator burn in the chambers simultaneously to TCO coating film on glass technique burns, and has improved the security of burning; Dedusting and absorption of acid gases comprehensively are integrated, have that compact conformation is reasonable, volume is little, low cost of manufacture, disposal cost be low, the characteristics such as thorough tail gas treatment.
The technical scheme that the utility model adopts:
A kind of TCO coating film on glass exhaust gas processing device, comprise incinerator, spray column, be arranged on wastewater disposal basin and the circulatory pool of spray column below, incinerator has two to burn chamber, two air inlets and a gas outlet, each burns chamber and is connected with an air inlet, gas outlet at incinerator is equipped with pipeline, the other end of pipeline is installed on the air inlet of spray column, and incinerator and spray column are interconnected by pipeline.
Described pipeline is stainless steel pipes, has on it to be with valvular wind-supplying mouth; Air inlet system is installed in the pipeline, and air inlet system is comprised of thermocouple, temperature controller, frequency converter, battery valve, PLC; End at pipeline also is equipped with blower fan, and blower fan is in the inside of pipeline.
The tower body of described spray column is glass steel material, its top is equipped with the tail gas discharger, top is provided with the multilayer filter material layer, the bottom is provided with filter cloth, bottom design is taper, and the bottom of taper has wastewater outlet, is equipped with one with " U " type bend pipe of valve at wastewater outlet, the exit position of " U " type bend pipe will be higher than wastewater outlet, and " U " type bend pipe is installed in the outside of spray column.
Pump is installed in circulatory pool, and pump is connected with the top of spray column by fluid pipeline, and the outlet of fluid pipeline squeezes into the alkali lye in the circulatory pool in the spray column by pump above filter material layer, realizes recycling to alkali lye.
Filter press is installed in wastewater disposal basin, utilizes filter press that the precipitation press filtration in the wastewater disposal basin is become solid.
The beneficial effects of the utility model:
1, the utility model adopts two Room incinerators, inflammable and explosive tail gas two of incinerator two kinds of heterogeneities that produce in burning in the chambers respectively to TCO coating film on glass technique advances to burn, the blast that has caused when having avoided exhaust gas component to mix, guarantee the completeness that tail gas burns, improved security.
2, the utility model adopts to burn and combines with spray, has realized that dedusting and absorption of acid gases comprehensively are integrated, and with reasonable compact the combining of equipment, the volume of having laughed at equipment has reduced the manufacturing cost of equipment.
3, the utility model installation pump in circulatory pool is realized cycling and reutilization to alkali lye, has reduced the waste of resource, has reduced disposal cost.
Description of drawings
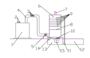
Fig. 1 is the utility model structural representation.
The specific embodiment
A kind of TCO coating film on glass exhaust gas processing device as shown in Figure 1, comprise incinerator 1, spray column 6, be arranged on wastewater disposal basin 13 and the circulatory pool 12 of spray column below, incinerator 1 has two to burn chamber, each burns chamber and is connected with an air inlet 2, incinerator 1 has a gas outlet, in the gas outlet of incinerator 1 pipeline 4 is installed, the other end of pipeline 4 is installed on the air inlet of spray column 6, and incinerator 1 and spray column 6 are interconnected by pipeline 4.
Described pipeline 4 is stainless steel pipes, has on it to be with valvular wind-supplying mouth 3; In the pipeline 4 air inlet system is installed, air inlet system is comprised of thermocouple, temperature controller, frequency converter, battery valve, PLC; End at pipeline 4 also is equipped with blower fan 5, and blower fan 5 is in the inside of pipeline 4.
The tower body of described spray column 6 is glass steel material, its top is equipped with tail gas discharger 7, top is provided with multilayer filter material layer 9, the bottom is provided with filter cloth 8, bottom design is taper, and the bottom of taper has wastewater outlet 10, is equipped with one with " U " type bend pipe 15 of valve at wastewater outlet 10, the exit position of " U " type bend pipe 15 will be higher than wastewater outlet 10, and " U " type bend pipe 15 is installed in the outside of spray column 6.
During work, because TCO coating film on glass technique is divided into two plated film chambers, two plated film chamber exhaust gas components are different and all have a flammable explosive gas, so the tail gas that two chambers of TCO coating film on glass technique are produced imports respectively two Burning Rooms by two air inlets 2 of incinerator 1, two kinds of tail gas are burned respectively, gas after the burning is under the suction of blower fan 5, and the gas outlet by incinerator 1 enters in the pipeline 4; In the pipeline 4 air inlet system is installed, air inlet system is comprised of thermocouple, temperature controller, frequency converter, magnetic valve, PLC, can the exhaust temperature that enter pipeline be detected, then regulate the size of the valve of the wind-supplying mouth 3 of setting on the pipeline 4 and the rotating speed of blower fan 5 by air inlet system, adjust the intake of air inlet 3, the final adjusting that realizes exhaust temperature; Tail gas enters spray column 6 through piping 4, and when passing through the filter cloth 8 of spray column 6 interior installations, the dust in the tail gas is filtered out by filter cloth 8, and then tail gas upwards flows, to first filter material layer 9, with the neutralizer haptoreaction of first order nozzle ejection; Reacted waste gas continues to travel up to second filter material layer 9, contact with the neutralizer of second level nozzle ejection, neutralization reaction occurs again, so by reacting with multilayer filter material layer 9, until sour gas is neutralized fully, the gas that finally reaches discharge standard is discharged to the atmosphere by exhaust apparatus 7.
The neutralizer of the spray in the spray column 6 can thoroughly do away with the amount of tail gas and the content of sour gas is adjusted, when the spray of alkalescence spray liquid can be removed gas acidity filter cloth 8 following dusts are brought in the waste water, also can prevent simultaneously dust fouling on filter cloth 8, for the ease of contained solid waste discharging in waste water in the spray column and the waste water, the slightly slow taper of the gradient will be can be designed as at the bottom of the spray column, wastewater outlet 10 is opened in the centre, wastewater outlet 10 places connect " U " type bend pipe 15, the opening part of " U " type bend pipe 15 arranges valve, according to water spray the opening of " U " type bend pipe 15 is regulated, guarantee that certain liquid level is arranged at spray column 6 bottoms, prevents that waste gas from entering atmosphere by wastewater outlet 10.The precipitation postprecipitation thing that waste water enters wastewater disposal basin 13 process certain hours is become solid by filter press 14 press filtrations; Liquid enters in the circulatory pool 12 after through circulation, after liquid is conditioned in circulatory pool 12 and is alkalescence, is installed in pumps 11 in the circulatory pool 12 and squeezes in the spray column 6 and again utilize.
Claims (5)
1. TCO coating film on glass exhaust gas processing device, comprise incinerator (1), spray column (6), be arranged on wastewater disposal basin (13) and the circulatory pool (12) of spray column below, it is characterized in that: incinerator (1) has two to burn chamber, each burns chamber and is connected with an air inlet (2), incinerator (1) has a gas outlet, in the gas outlet of incinerator (1) pipeline (4) is installed, the other end of pipeline (4) is installed on the air inlet of spray column (6), and incinerator (1) and spray column (6) are interconnected by pipeline (4).
2. a kind of TCO coating film on glass exhaust gas processing device according to claim 1, it is characterized in that: pipeline (4) is stainless steel pipes, has on it and is with valvular wind-supplying mouth (3); Pipeline is equipped with air inlet system in (4), and air inlet system is comprised of thermocouple, temperature controller, frequency converter, battery valve, PLC; End at pipeline (4) also is equipped with blower fan (5), and blower fan (5) is in the inside of pipeline (4).
3. a kind of TCO coating film on glass exhaust gas processing device according to claim 1, it is characterized in that: the tower body of spray column (6) is glass steel material, its top is equipped with tail gas discharger (7), top is provided with multilayer filter material layer (9), the bottom is provided with filter cloth (8), bottom design is taper, the bottom of taper has wastewater outlet (10), be equipped with one with " U " type bend pipe (15) of valve at wastewater outlet (10), the exit position of " U " type bend pipe (15) will be higher than wastewater outlet (10), and " U " type bend pipe (15) is installed in the outside of spray column (6).
4. a kind of TCO coating film on glass exhaust gas processing device according to claim 1, it is characterized in that: pump (11) is installed in circulatory pool (12), pump (11) is connected by the top of fluid pipeline with spray column (6), and the outlet of fluid pipeline is in the top of filter material layer (9).
5. a kind of TCO coating film on glass exhaust gas processing device according to claim 1 is characterized in that: filter press (14) is installed in wastewater disposal basin (13).
Priority Applications (1)
| Application Number | Priority Date | Filing Date | Title |
|---|---|---|---|
| CN 201220393143 CN202813395U (en) | 2012-08-09 | 2012-08-09 | Transparent conducting oxide (TCO) glass film-coating tail gas treating device |
Applications Claiming Priority (1)
| Application Number | Priority Date | Filing Date | Title |
|---|---|---|---|
| CN 201220393143 CN202813395U (en) | 2012-08-09 | 2012-08-09 | Transparent conducting oxide (TCO) glass film-coating tail gas treating device |
Publications (1)
| Publication Number | Publication Date |
|---|---|
| CN202813395U true CN202813395U (en) | 2013-03-20 |
Family
ID=47872260
Family Applications (1)
| Application Number | Title | Priority Date | Filing Date |
|---|---|---|---|
| CN 201220393143 Expired - Lifetime CN202813395U (en) | 2012-08-09 | 2012-08-09 | Transparent conducting oxide (TCO) glass film-coating tail gas treating device |
Country Status (1)
| Country | Link |
|---|---|
| CN (1) | CN202813395U (en) |
Cited By (2)
| Publication number | Priority date | Publication date | Assignee | Title |
|---|---|---|---|---|
| CN109289422A (en) * | 2018-11-14 | 2019-02-01 | 东台中玻特种玻璃有限公司 | Online Low-E glass barrier layer exhaust treatment system and exhaust gas treating method |
| CN116006988A (en) * | 2022-10-24 | 2023-04-25 | 山东金晶节能玻璃有限公司 | Tail gas treatment process and device of TCO coated glass |
-
2012
- 2012-08-09 CN CN 201220393143 patent/CN202813395U/en not_active Expired - Lifetime
Cited By (2)
| Publication number | Priority date | Publication date | Assignee | Title |
|---|---|---|---|---|
| CN109289422A (en) * | 2018-11-14 | 2019-02-01 | 东台中玻特种玻璃有限公司 | Online Low-E glass barrier layer exhaust treatment system and exhaust gas treating method |
| CN116006988A (en) * | 2022-10-24 | 2023-04-25 | 山东金晶节能玻璃有限公司 | Tail gas treatment process and device of TCO coated glass |
Similar Documents
| Publication | Publication Date | Title |
|---|---|---|
| CN114452799A (en) | Efficient purification washing tower system based on acid-base waste gas treatment and working method thereof | |
| CN103657306A (en) | Waste gas treatment device | |
| CN103727548B (en) | A kind of online low-radiation coating waste gas treatment device of APCVD | |
| CN106422727A (en) | Full-automatic purification device for laboratory acid mist exhaust gas | |
| CN204874120U (en) | Waste gas waste water that sprays paint integration processing system | |
| CN204963545U (en) | Rotary kiln exhaust gases filter device | |
| CN202893168U (en) | High-concentration organic waste gas treatment device | |
| CN202813395U (en) | Transparent conducting oxide (TCO) glass film-coating tail gas treating device | |
| CN206184241U (en) | Full automatically cleaned device of laboratory acid mist waste gas | |
| CN203355601U (en) | Device for treating sulfur dioxide flue gas by utilizing saponified wastewater | |
| CN102746904A (en) | Waste gas treatment device and treatment process in waste rubber and plastic pyrolysis | |
| CN208865434U (en) | A kind of flue gas during smelting desulfurization removing heavy metals integrated synthesis governing system | |
| CN201906556U (en) | Waste gas treatment and purification device | |
| CN201906553U (en) | Waste-gas secondary treatment and purification device with fan | |
| CN205598924U (en) | Novel industrial waste gas multi -stage purification device | |
| CN205392132U (en) | A carbon fiber absorber for acid mist purification tower | |
| CN201940173U (en) | Secondary waste gas treatment purifier | |
| CN204213953U (en) | Flue gas of refuse burning dry spraying absorption system | |
| CN204220021U (en) | A kind of ore sintering flue gas purification system | |
| CN210945244U (en) | A kind of ecological treatment advanced oxidation sewage treatment equipment | |
| CN204952652U (en) | Purification fume chamber sprays | |
| CN203099851U (en) | Dry purification device for waste gas of CVD (chemical vapor deposition) online plated function films | |
| CN106918242A (en) | A kind of flue gas processing device of chemical industry smelting equipment | |
| CN201921624U (en) | Exhaust gas purification device | |
| CN206308052U (en) | The equipment that a kind of utilization residual heat from boiler fume processes trade effluent |
Legal Events
| Date | Code | Title | Description |
|---|---|---|---|
| C14 | Grant of patent or utility model | ||
| GR01 | Patent grant | ||
| CX01 | Expiry of patent term | ||
| CX01 | Expiry of patent term |
Granted publication date: 20130320 |