CN202797851U - Substation cable trench ventilation/moisture removal device - Google Patents
Substation cable trench ventilation/moisture removal device Download PDFInfo
- Publication number
- CN202797851U CN202797851U CN 201220358145 CN201220358145U CN202797851U CN 202797851 U CN202797851 U CN 202797851U CN 201220358145 CN201220358145 CN 201220358145 CN 201220358145 U CN201220358145 U CN 201220358145U CN 202797851 U CN202797851 U CN 202797851U
- Authority
- CN
- China
- Prior art keywords
- module
- explosion
- side plates
- axial flow
- isosceles trapezoidal
- Prior art date
- Legal status (The legal status is an assumption and is not a legal conclusion. Google has not performed a legal analysis and makes no representation as to the accuracy of the status listed.)
- Expired - Fee Related
Links
Images
Landscapes
- Drying Of Gases (AREA)
Abstract
本实用新型提供了一种变电站电缆沟通风排潮设备,它包括设置有通风口的电缆沟盖板、设置在所述通风口上的防爆轴流风机和通风管道,其中,所述电缆沟盖板包括顶部设置有通风口的连接板和四个等腰梯形侧板,四个所述等腰梯形侧板分别设置在所述连接板的边沿,所述等腰梯形侧板略向下倾斜设置,所述防爆轴流风机设置有底部开口的密封罩,所述开口对应所述通风口设置,所述密封罩的侧壁设置有排风孔,所述排风孔上设置有所述通风管道。该变电站电缆沟通风排潮设备具有设计科学、实用性强、使用简单和排潮效果好的优点。
The utility model provides a substation cable communication air and moisture removal device, which comprises a cable trench cover plate provided with an air vent, an explosion-proof axial flow fan and a ventilation duct arranged on the air vent, wherein the cable trench cover plate It includes a connecting plate with vents on the top and four isosceles trapezoidal side plates, the four isosceles trapezoidal side plates are respectively arranged on the edges of the connecting plate, and the isosceles trapezoidal side plates are slightly inclined downwards, The explosion-proof axial flow fan is provided with a sealing cover with an opening at the bottom, and the opening is set corresponding to the ventilation opening. The side wall of the sealing cover is provided with an exhaust hole, and the ventilation duct is provided on the exhaust hole. The substation cable communication wind and moisture drainage equipment has the advantages of scientific design, strong practicability, simple use and good moisture drainage effect.
Description
技术领域 technical field
本实用新型涉及一种用于电缆沟的除潮设备,具体的说,涉及了一种变电站电缆沟通风排潮设备。 The utility model relates to a dehumidification device for cable trenches, in particular to a dehumidification device for cable communication wind in a substation.
背景技术 Background technique
目前,对于多数变电站的电缆沟、开关柜下部的电缆夹层等缺少动态的监控,由于潮湿等原因,容易造成电气设备和保护装置的腐蚀,降低设备的绝缘强度,造成变电站的设备发生闪络等事故,严重影响供电安全和设备的健康运行。随着信息科技时代的发展,智能化变电站得到大力的推广,对于高压电气设备的智能监控得到了迅猛发展。为了解决以上存在的问题,人们一直在寻求一种理想的技术解决方案。 At present, there is a lack of dynamic monitoring for cable trenches in most substations and cable interlayers in the lower part of switch cabinets. Due to moisture and other reasons, it is easy to cause corrosion of electrical equipment and protective devices, reduce the insulation strength of equipment, and cause flashover of equipment in substations, etc. Accidents seriously affect the safety of power supply and the healthy operation of equipment. With the development of the information technology era, intelligent substations have been vigorously promoted, and intelligent monitoring of high-voltage electrical equipment has developed rapidly. In order to solve the above existing problems, people have been seeking an ideal technical solution.
为了解决以上存在的问题,人们一直在寻求一种理想的技术解决方案。 In order to solve the above existing problems, people have been seeking an ideal technical solution.
发明内容 Contents of the invention
本实用新型的目的是针对现有技术的不足,从而提供一种设计科学、实用性强、使用简单和排潮效果好的变电站电缆沟通风排潮设备。 The purpose of the utility model is to address the deficiencies of the prior art, thereby providing a substation cable communication wind and moisture drainage device with scientific design, strong practicability, simple use and good moisture drainage effect.
为了实现上述目的,本实用新型所采用的技术方案是:一种变电站电缆沟通风排潮设备,它包括设置有通风口的电缆沟盖板、设置在所述通风口上的防爆轴流风机和通风管道,其中,所述防爆轴流风机设置有底部开口的密封罩,所述开口对应所述通风口设置,所述密封罩的侧壁设置有排风孔,所述排风孔上设置有所述通风管道。 In order to achieve the above purpose, the technical solution adopted by the utility model is: a substation cable communication wind and moisture removal equipment, which includes a cable trench cover plate provided with a vent, an explosion-proof axial flow fan and a ventilator arranged on the vent pipeline, wherein the explosion-proof axial flow fan is provided with a sealing cover with an opening at the bottom, the opening is set corresponding to the vent, the side wall of the sealing cover is provided with an exhaust hole, and the exhaust hole is provided with the ventilation duct.
基于上述,所述电缆沟盖板包括顶部设置有通风口的连接板和四个等腰梯形侧板,四个所述等腰梯形侧板分别设置在所述连接板的边沿,所述等腰梯形侧板略向下倾斜设置。 Based on the above, the cable trench cover plate includes a connecting plate with a vent on the top and four isosceles trapezoidal side plates, the four isosceles trapezoidal side plates are respectively arranged on the edge of the connecting plate, and the isosceles trapezoidal side plates The trapezoidal side panels are set with a slight downward slope.
基于上述,所述通风管道的出口设置有转轴,所述转轴活连接有出口挡板。 Based on the above, the outlet of the ventilation duct is provided with a rotating shaft, and the rotating shaft is operatively connected with an outlet baffle.
基于上述,它还包括控制系统,所述控制系统包括湿度传感器模块、与所述湿度传感器连接的微处理器模块、与所述微处理器模块连接的指示灯和电源装置,所述湿度传感器模块设置在所述电缆沟盖板底部,所述微处理器模块与所述防爆轴流风机连接,所述电源装置分别与所述湿度传感器模块、所述微处理器模块、所述指示灯和所述防爆轴流风机连接。 Based on the above, it also includes a control system, the control system includes a humidity sensor module, a microprocessor module connected to the humidity sensor, an indicator light and a power supply connected to the microprocessor module, the humidity sensor module It is arranged at the bottom of the cable trench cover, the microprocessor module is connected with the explosion-proof axial flow fan, and the power supply device is respectively connected with the humidity sensor module, the microprocessor module, the indicator light and the Explosion-proof axial flow fan connection described above.
基于上述,它还包括无线收发模块和具有无线收发模块的数据处理模块,所述无线收发模块与所述微处理器模块连接,所述无线收发模块与所述数据处理模块通讯。 Based on the above, it also includes a wireless transceiver module and a data processing module having the wireless transceiver module, the wireless transceiver module is connected to the microprocessor module, and the wireless transceiver module communicates with the data processing module.
本实用新型相对现有技术具有实质性特点和进步,具体的说,本实用新型包括设置有通风口的电缆沟盖板、设置在所述通风口上的防爆轴流风机和通风管道,通过防爆轴流风机和通风管道有效地将地下电缆沟内潮湿气体抽出,其具有设计科学、实用性强、使用简单和排潮效果好的优点。 Compared with the prior art, the utility model has substantive characteristics and progress. Specifically, the utility model includes a cable trench cover plate provided with a ventilation opening, an explosion-proof axial flow fan and a ventilation duct arranged on the ventilation opening. The flow fan and ventilation pipe can effectively extract the humid gas in the underground cable trench, which has the advantages of scientific design, strong practicability, simple use and good moisture removal effect.
附图说明 Description of drawings
图1是实施例1本实用新型的结构示意图。
Fig. 1 is the structural representation of the utility model of
图2是实施例2所述控制系统与所述防爆轴流风机的结构示意图。
Fig. 2 is a structural schematic diagram of the control system and the explosion-proof axial flow fan in
具体实施方式 Detailed ways
下面通过具体实施方式,对本实用新型的技术方案做进一步的详细描述。 The technical solutions of the present invention will be further described in detail through specific implementation methods below.
实施例1Example 1
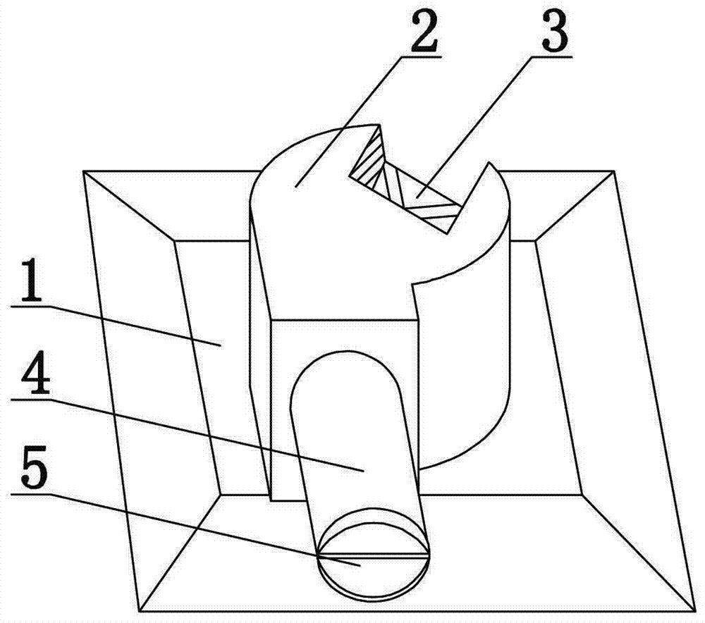
如图1所示,一种变电站电缆沟通风排潮设备,它包括设置有通风口的电缆沟盖板1、设置在所述通风口上的防爆轴流风机3和通风管道4,其中,所述防爆轴流风机3设置有底部开口的密封罩2,所述开口对应所述通风口设置,所述密封罩2的侧壁设置有排风孔,所述排风孔上设置有所述通风管道4。
As shown in Fig. 1, a kind of substation cable communication air and moisture exhaust equipment, it comprises the cable
基于上述,为了防止电缆沟盖板1在雨天过多的积水,所述电缆沟盖板1包括顶部设置有通风口的连接板和四个等腰梯形侧板,四个所述等腰梯形侧板分别设置在所述连接板的边沿,所述等腰梯形侧板略向下倾斜设置;使得雨水能够从由四个等腰梯形侧板组成的斜面及时排出。
Based on the above, in order to prevent the
基于上述,为了防止异物进入所述通风管道4,所述通风管道4的出口设置有转轴,所述转轴活连接有出口挡板5,当防爆轴流风机3工作时,产生的气体推开所述出口挡板5。
Based on the above, in order to prevent foreign matter from entering the
基于上述,所述防爆轴流风机3的工作电源采用市电,由变电站的端子箱提供。
Based on the above, the working power supply of the explosion-proof
实施例2Example 2
如图2所示,本实施例在实施例1的基础上,增加了控制系统,所述控制系统包括湿度传感器模块、与所述湿度传感器连接微处理器模块、与所述微处理器模块连接的指示灯、无线收发模块、具有无线收发模块的数据处理模块和电源装置,所述湿度传感器模块设置在所述电缆沟盖板底部,所述微处理器模块与所述防爆轴风机连接,所述无线收发模块与所述微处理器模块连接,所述无线收发模块与所述数据处理模块通讯,所述电源装置分别与所述湿度传感器模块、所述微处理器模块、所述指示灯和所述防爆轴流风机连接。
As shown in Figure 2, on the basis of
基于上述,所述湿度传感器模块用于采集电缆沟内的湿度信号,将采集到的湿度信号转化为电信号传送给所述微处理器模块。 Based on the above, the humidity sensor module is used to collect the humidity signal in the cable trench, convert the collected humidity signal into an electrical signal and send it to the microprocessor module.
基于上述,所述微处理器模块接收到所述电信号后,进行判断,若电缆沟湿度过高,开启所述防爆轴风机进行除潮,并发出命令控制指示灯闪烁。 Based on the above, after the microprocessor module receives the electrical signal, it judges that if the humidity in the cable trench is too high, it turns on the explosion-proof axial fan to remove moisture, and issues a command to control the blinking of the indicator light.
基于上述,所述微处理器模块在接收到所述电信号后,进行判断后,若电缆沟湿度过高,发出报警信号给所述无线收发模块。 Based on the above, after receiving the electrical signal, the microprocessor module judges that if the humidity of the cable trench is too high, it sends an alarm signal to the wireless transceiver module.
基于上述,所述无线收发模块将接收到的报警信号通讯给所述数据处理模块。 Based on the above, the wireless transceiver module communicates the received alarm signal to the data processing module.
基于上述,所述数据处理模块在接收到报警信号后,分析后,通过其上的无线收发模块发出指令给所述微处理器模块,所述微处理器模块接收到所述指令后,开启所述防爆轴风机进行除潮,并发出命令控制指示灯闪烁。 Based on the above, after the data processing module receives the alarm signal, after analysis, it sends an instruction to the microprocessor module through the wireless transceiver module on it, and after the microprocessor module receives the instruction, it turns on the The above-mentioned explosion-proof axial fan is used for dehumidification, and a command is issued to control the flashing of the indicator light.
所述指示灯连接在所述微处理器模块上正常情况下亮起,在所述排风扇工作的时候闪烁。 The indicator light is connected to the microprocessor module and lights up under normal conditions, and flashes when the exhaust fan is working.
该电缆沟除潮装置既可以通过所述微处理器模块自动完成除潮工作,同时,也可以通过所述数据处理模块完成除潮工作。将多个所述装置连接在同一个数据处理模块上,方便对无人看管的电缆沟进行监测和日常的除潮工作。 The cable trench dehumidification device can not only automatically complete the dehumidification work through the microprocessor module, but also complete the dehumidification work through the data processing module. A plurality of said devices are connected to the same data processing module, which facilitates the monitoring and daily moisture removal of unattended cable trenches.
最后应当说明的是:以上实施例仅用以说明本实用新型的技术方案而非对其限制;尽管参照较佳实施例对本实用新型进行了详细的说明,所属领域的普通技术人员应当理解:依然可以对本实用新型的具体实施方式进行修改或者对部分技术特征进行等同替换;而不脱离本实用新型技术方案的精神,其均应涵盖在本实用新型请求保护的技术方案范围当中。 Finally, it should be noted that: the above embodiments are only used to illustrate the technical solutions of the present utility model and not limit it; although the utility model has been described in detail with reference to the preferred embodiment, those of ordinary skill in the art should understand that: still The specific implementation of the utility model can be modified or some technical features can be equivalently replaced; without departing from the spirit of the technical solution of the utility model, all of them should be included in the scope of the technical solution claimed by the utility model.
Claims (5)
Priority Applications (1)
| Application Number | Priority Date | Filing Date | Title |
|---|---|---|---|
| CN 201220358145 CN202797851U (en) | 2012-07-24 | 2012-07-24 | Substation cable trench ventilation/moisture removal device |
Applications Claiming Priority (1)
| Application Number | Priority Date | Filing Date | Title |
|---|---|---|---|
| CN 201220358145 CN202797851U (en) | 2012-07-24 | 2012-07-24 | Substation cable trench ventilation/moisture removal device |
Publications (1)
| Publication Number | Publication Date |
|---|---|
| CN202797851U true CN202797851U (en) | 2013-03-13 |
Family
ID=47825029
Family Applications (1)
| Application Number | Title | Priority Date | Filing Date |
|---|---|---|---|
| CN 201220358145 Expired - Fee Related CN202797851U (en) | 2012-07-24 | 2012-07-24 | Substation cable trench ventilation/moisture removal device |
Country Status (1)
| Country | Link |
|---|---|
| CN (1) | CN202797851U (en) |
Cited By (1)
| Publication number | Priority date | Publication date | Assignee | Title |
|---|---|---|---|---|
| CN102810836A (en) * | 2012-07-24 | 2012-12-05 | 河南省电力公司信阳供电公司 | Substation Cable Communication Wind and Tide Exhaust Equipment |
-
2012
- 2012-07-24 CN CN 201220358145 patent/CN202797851U/en not_active Expired - Fee Related
Cited By (1)
| Publication number | Priority date | Publication date | Assignee | Title |
|---|---|---|---|---|
| CN102810836A (en) * | 2012-07-24 | 2012-12-05 | 河南省电力公司信阳供电公司 | Substation Cable Communication Wind and Tide Exhaust Equipment |
Similar Documents
| Publication | Publication Date | Title |
|---|---|---|
| CN204030518U (en) | The intelligent vent flap of a kind of cable duct of substation | |
| CN103208743B (en) | Unpowered power transmission and transforming equipment ventilation, noise reduction, cool-down method and device | |
| CN106406400A (en) | Substation cable trench intelligent comprehensive monitoring system | |
| CN209881133U (en) | A cooling type high and low voltage power distribution cabinet | |
| CN205921279U (en) | Intelligent box -type substation | |
| CN102072746A (en) | Monitoring and processing system for operating environment of electrical equipment | |
| CN204538522U (en) | A kind of ring main unit of ventilation rainproof heat radiation | |
| CN204597258U (en) | The anti-water monitoring system of a kind of ring main unit | |
| CN201917358U (en) | An electrical equipment operating environment monitoring and processing system | |
| CN204668776U (en) | A kind of outdoor solar energy power accumulating heat-dissipation switch cabinet | |
| CN210669225U (en) | Monitoring device for ring main unit | |
| CN102412545A (en) | Cable trench dehumidifying device | |
| CN105226505A (en) | Electric substation's dehumidifying prevention waterlogging system | |
| CN205688888U (en) | High-effective dust-removing power distribution room | |
| CN202797851U (en) | Substation cable trench ventilation/moisture removal device | |
| CN102810836A (en) | Substation Cable Communication Wind and Tide Exhaust Equipment | |
| CN205068137U (en) | Transformer substation uses environmental monitoring device | |
| CN202363855U (en) | Cable trench dehumidifying device | |
| CN203632175U (en) | Outdoor cable trench moisture removing device | |
| CN203630939U (en) | Remote monitoring system for wind power station based on GPRS (General Packet Radio Service) network | |
| CN204668744U (en) | A kind of outdoor solar energy power accumulating can lighting switch cabinet | |
| CN205212188U (en) | Dehumidification prevention waterlogging system of electric substation | |
| CN202627070U (en) | Mobile pump station | |
| CN202333990U (en) | Intelligent multimedia monitoring system | |
| CN203050978U (en) | Downcomer flow electricity generating intelligent control system |
Legal Events
| Date | Code | Title | Description |
|---|---|---|---|
| C14 | Grant of patent or utility model | ||
| GR01 | Patent grant | ||
| CF01 | Termination of patent right due to non-payment of annual fee | ||
| CF01 | Termination of patent right due to non-payment of annual fee |
Granted publication date: 20130313 Termination date: 20190724 |
