CN202797033U - Photovoltaic counter current protector - Google Patents

Photovoltaic counter current protector Download PDF

Info

Publication number
CN202797033U
CN202797033U CN201220413313.6U CN201220413313U CN202797033U CN 202797033 U CN202797033 U CN 202797033U CN 201220413313 U CN201220413313 U CN 201220413313U CN 202797033 U CN202797033 U CN 202797033U
Authority
CN
China
Prior art keywords
base
heat
photovoltaic
ceramic seat
upper cover
Prior art date
Legal status (The legal status is an assumption and is not a legal conclusion. Google has not performed a legal analysis and makes no representation as to the accuracy of the status listed.)
Expired - Fee Related
Application number
CN201220413313.6U
Other languages
Chinese (zh)
Inventor
吕纪坤
包成
周政双
吴昊
Current Assignee (The listed assignees may be inaccurate. Google has not performed a legal analysis and makes no representation or warranty as to the accuracy of the list.)
JIANGSU JIUDING SOLAR ENERGY SYSTEM CO Ltd
Original Assignee
JIANGSU JIUDING SOLAR ENERGY SYSTEM CO Ltd
Priority date (The priority date is an assumption and is not a legal conclusion. Google has not performed a legal analysis and makes no representation as to the accuracy of the date listed.)
Filing date
Publication date
Application filed by JIANGSU JIUDING SOLAR ENERGY SYSTEM CO Ltd filed Critical JIANGSU JIUDING SOLAR ENERGY SYSTEM CO Ltd
Priority to CN201220413313.6U priority Critical patent/CN202797033U/en
Application granted granted Critical
Publication of CN202797033U publication Critical patent/CN202797033U/en
Anticipated expiration legal-status Critical
Expired - Fee Related legal-status Critical Current

Links

Images

Classifications

    • HELECTRICITY
    • H01ELECTRIC ELEMENTS
    • H01LSEMICONDUCTOR DEVICES NOT COVERED BY CLASS H10
    • H01L2924/00Indexing scheme for arrangements or methods for connecting or disconnecting semiconductor or solid-state bodies as covered by H01L24/00
    • H01L2924/0001Technical content checked by a classifier
    • H01L2924/0002Not covered by any one of groups H01L24/00, H01L24/00 and H01L2224/00
    • YGENERAL TAGGING OF NEW TECHNOLOGICAL DEVELOPMENTS; GENERAL TAGGING OF CROSS-SECTIONAL TECHNOLOGIES SPANNING OVER SEVERAL SECTIONS OF THE IPC; TECHNICAL SUBJECTS COVERED BY FORMER USPC CROSS-REFERENCE ART COLLECTIONS [XRACs] AND DIGESTS
    • Y02TECHNOLOGIES OR APPLICATIONS FOR MITIGATION OR ADAPTATION AGAINST CLIMATE CHANGE
    • Y02EREDUCTION OF GREENHOUSE GAS [GHG] EMISSIONS, RELATED TO ENERGY GENERATION, TRANSMISSION OR DISTRIBUTION
    • Y02E10/00Energy generation through renewable energy sources
    • Y02E10/50Photovoltaic [PV] energy

Landscapes

  • Photovoltaic Devices (AREA)

Abstract

本实用新型公开了一种光伏逆流保护器,包括铝制的底座、上盖,在上盖盖在底座上后形成的腔体内,设有两个分别与电缆连接器的正极和负极相连的接线端子,两个接线端子通过阻流二极管电性连接,底座内表面卡设有陶瓷座,两个接线端子固定在陶瓷座上,陶瓷座上位于两个接线端子之间具有内凹弧面,阻流二极管的管体外圆面与所述内凹弧面相贴合,上盖内表面位于阻流二极管正上方设有隔热板,底座底面贴附有导热硅胶垫。本实用新型可使阻流二极管工作时产生的热量通过接线端子、陶瓷座、底座及导热硅胶垫,最终通过光伏组件的铝合金框快速散发出去,从而极大地提高了逆流保护器的散热性能,有利于延长光伏逆流保护器的使用寿命。

Figure 201220413313

The utility model discloses a photovoltaic reverse current protector, which comprises an aluminum base and an upper cover. In the cavity formed after the upper cover is covered on the base, two wirings respectively connected with the positive pole and the negative pole of the cable connector are arranged. The two terminals are electrically connected by a blocking diode. The inner surface of the base is clamped with a ceramic seat. The two terminals are fixed on the ceramic seat. The ceramic seat is located between the two terminals and has a concave arc surface. The outer circular surface of the tube of the current-blocking diode fits with the concave arc surface, the inner surface of the upper cover is located directly above the current-blocking diode and is provided with a heat shield, and the bottom surface of the base is attached with a heat-conducting silica gel pad. The utility model can make the heat generated by the current blocking diode pass through the terminal, the ceramic seat, the base and the heat-conducting silica gel pad, and finally dissipate quickly through the aluminum alloy frame of the photovoltaic module, thereby greatly improving the heat dissipation performance of the reverse flow protector. It is beneficial to prolong the service life of the photovoltaic reverse current protector.

Figure 201220413313

Description

Photovoltaic reverse current protection device
Technical field
The utility model relates to the solar module technical field, especially a kind of photovoltaic reverse current protection device.
Background technology
In photovoltaic system, each branch road output voltage of series connection always has the poor of height, produces fault, shade such as a certain branch road and covers etc., and the output voltage of this branch road is reduced, and the electric current of high voltage branch road will flow to the low-voltage branch road.When square formation was not generated electricity, the electric current of storage battery flowed to assembly or square formation conversely for off-grid system, therefore avoided problems, and all series connection has access to the reverse current protection device in each branch road.At present; the case material of the used reverse current protection device of solar power system generally uses engineering plastics to make on the market; the reverse current protection device of this structure; the following defective of ubiquity: at first; the reverse current protection device is under the long-term work state; the diode of enclosure interior can produce a large amount of heat energy; heat is passed to housing by air transmitted in the housing and convection current; housing is again by conducting thermal release; but because the heat conductivility of air and plastics is poor; heat in the housing can not in time discharge; caused the temperature in the housing constantly to raise; so that at high temperature work and reduced useful life in the long-term place of choked flow diode, too high temperature has also been accelerated the distortion of housing and has been worn out simultaneously, has shortened the useful life of product.
The utility model content
The technical problems to be solved in the utility model is: overcome the deficiency in the prior art, the photovoltaic reverse current protection device of a kind of perfect heat-dissipating, reliable and stable work is provided, prolong the useful life of photovoltaic reverse current protection device.
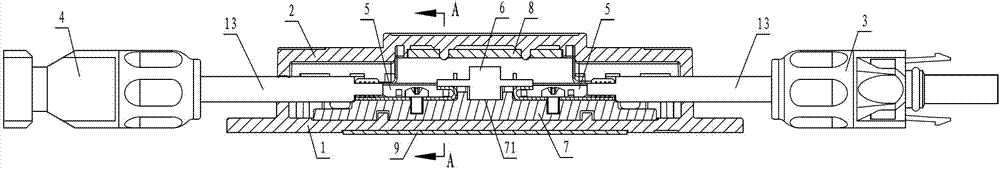
The technical scheme that its technical problem that solves the utility model adopts is: a kind of photovoltaic reverse current protection device; the base that comprises aluminum; loam cake; in the cavity that after loam cake covers on base, forms; be provided with two binding posts that link to each other with the negative pole connector with anodal connector respectively; be electrically connected by choked flow diode between two binding posts; described base inner surface is arranged with ceramics seat; two binding posts are fixed on the ceramics seat; between two binding posts, has inner concave arc surface on the ceramics seat; body periphery and the described inner concave arc surface of choked flow diode fit; upper interior surface is provided with thermal insulation board directly over being positioned at choked flow diode, and base end face is pasted with the thermal conductive silicon rubber cushion.
Further, around ceramics seat, have eight feets of pushing down the ceramics seat edge in the described loam cake.
Be convenient perfusion photovoltaic sealing silica gel, described base back surface offers can inject the steam vent that is used for getting rid of inner air when sealing silica gel seals, strengthens the glue filling opening of heat-conducting effect and encapsulating to described cavity.
The beneficial effects of the utility model are: the utility model is bonded to each other with the inner concave arc surface of the body periphery of choked flow diode and ceramics seat; so that choked flow diode when work the heat maximum area that produces pass to ceramics seat and distribute by base; the thermal insulation board of upper interior surface setting can separate heat and loam cake; be unlikely to cause loam cake overheated and damage; the thermal conductive silicon rubber cushion that base end face attaches fits tightly with the aluminum alloy frame of photovoltaic module when mounted; so that the heat that choked flow diode when work produces is finally gone out by the aluminum alloy frame Quick diffusing; thereby greatly improved the heat dispersion of reverse current protection device, be conducive to prolong the useful life of photovoltaic reverse current protection device.
Description of drawings
Below in conjunction with drawings and embodiments the utility model is further specified.
Fig. 1 is structural representation of the present utility model.
Fig. 2 is the structural representation of looking up of Fig. 1.
Fig. 3 is the sectional structure schematic diagram of A-A among Fig. 1.
1. bases, 2. loam cakes, 3. anodal connector 4. negative pole connectors 5. binding posts 6. choked flow diodes 7. ceramics seats 71. inner concave arc surfaces 8. thermal insulation boards 9. thermal conductive silicon rubber cushions 10. feets 11. glue filling openings 12. air-vents 13. cables among the figure
Embodiment
By reference to the accompanying drawings the utility model is further described now.The schematic diagram that these accompanying drawings are simplification only illustrates basic structure of the present utility model in a schematic way, so it only shows the formation relevant with the utility model.
A kind of photovoltaic reverse current protection device as shown in Figure 1 and Figure 2 comprises that the base 1, the fastening that adopt aluminium alloy to make are placed on the loam cake 2 on the base 1, and loam cake 2 is realized being connected and fixed by four countersunk head self-tapping screws that are positioned at four corners with base 1.
After loam cake 2 covers on base 1 in the formed cavity, base 1 inner surface is provided with a ceramics seat 7, there are two circular ports at ceramics seat 7 back sides, by the location and installation that realizes between ceramics seat 7 and the base 1 that cooperates between two cylinder salient points on two circular ports and the base 1, simultaneously, around ceramics seat 7, have eight feets 10 of pushing down ceramics seat 7 edges in the loam cake 2, to realize fitting tightly of ceramics seat 7 and base 1.Be fixed with two 5, two binding posts 5 of binding post that arrange with respect to base 1 Central Symmetry by cheese head screw on ceramics seat 7, one of them is connected with anodal connector 3 by cable 13, and another is connected with negative pole connector 4 by cable 13.Be provided with choked flow diode 6 between two binding posts 5, two pins of choked flow diode 6 and the bending leg on the binding post 5 are realized being electrically connected in the mode of scolding tin.Between two binding posts 5, has inner concave arc surface 71 on the ceramics seat 7, body periphery and the described inner concave arc surface 71 of choked flow diode 6 fit, when choked flow diode 6 work, the heat overwhelming majority that produces can be passed to by the body of choked flow diode 6 ceramics seat 7, the part heat is delivered to binding post 5 by choked flow diode 6 pins again in addition simultaneously, and then is delivered on the ceramics seat 7 by binding post 5.
Loam cake 2 inner surfaces are provided with thermal insulation board 8 directly over being positioned at choked flow diode 6, two close-fitting posts are arranged on loam cake 2 inner surfaces, two through holes are arranged on the thermal insulation board 8, by the distortion of extruding close-fitting post, realize the tight fit of thermal insulation board 8 and loam cake 2, when choked flow diode 6 work, thermal insulation board 8 can separate heat and loam cake 2 inner surfaces, and it is overheated and be out of shape to be unlikely to loam cake 2.There is a rectangle concave panel base 1 bottom surface, is pasted with thermal conductive silicon rubber cushion 9 in the rectangle concave panel, and when mounted, thermal conductive silicon rubber cushion 9 can fit tightly with the solar components aluminum alloy frame.
A glue filling opening 11 and two steam vents 12 are arranged at base 1 back side, and when filling with photovoltaic sealing silica gel, glue is entered by glue filling opening 11, and inner air is discharged by two steam vents 12, realizes the sealed insulation of photovoltaic reverse current protection device inside cavity by encapsulating.
During installation; photovoltaic reverse current protection device is installed on the solar components aluminum alloy frame by the through hole that four M4 screws pass 1 four edges of base; thermal conductive silicon rubber cushion 9 with high-termal conductivity has guaranteed fitting tightly of base 1 and solar components aluminum alloy frame; when choked flow diode 6 work; the most of heat that produces can pass through binding post 5; ceramics seat 7; base 1; layer by layer transmission between the thermal conductive silicon rubber cushion 9; finally the aluminum alloy frame by solar components distributes; thereby greatly improved the heat dispersion of photovoltaic reverse current protection device; guarantee the normal operation of photovoltaic reverse current protection device, reached the prolongation photovoltaic reverse current protection device purpose in useful life.
Above-mentioned execution mode only is explanation technical conceive of the present utility model and characteristics; its purpose is to allow the personage that is familiar with technique can understand content of the present utility model and is implemented; can not limit protection range of the present utility model with this; all equivalences of doing according to the utility model Spirit Essence change or modify, and all should be encompassed in the protection range of the present utility model.

Claims (3)

1.一种光伏逆流保护器,包括铝制的底座(1)、上盖(2),在上盖(2)盖在底座(1)上后形成的腔体内,设有两个分别与正极连接器(3)和负极连接器(4)相连的接线端子(5),两个接线端子(5)之间通过阻流二极管(6)电性连接,其特征是:所述底座(1)内表面卡设有陶瓷座(7),两个接线端子(5)固定在陶瓷座(7)上,陶瓷座(7)上位于两个接线端子(5)之间具有内凹弧面(71),阻流二极管(6)的管体外圆面与所述内凹弧面(71)相贴合,上盖(2)内表面位于阻流二极管(6)正上方设有隔热板(8),底座(1)底面贴附有导热硅胶垫(9)。1. A photovoltaic reverse current protector, comprising an aluminum base (1) and an upper cover (2), in the cavity formed after the upper cover (2) is covered on the base (1), there are two The connector (3) is connected to the terminal (5) connected to the negative connector (4), and the two terminals (5) are electrically connected through a blocking diode (6), which is characterized in that: the base (1) The inner surface is clamped with a ceramic seat (7), and the two connection terminals (5) are fixed on the ceramic seat (7), and the ceramic seat (7) has a concave arc surface (71) between the two connection terminals (5). ), the outer circular surface of the tube of the blocking diode (6) is attached to the concave arc surface (71), and the inner surface of the upper cover (2) is located directly above the blocking diode (6) and is provided with a heat shield (8 ), and a heat-conducting silicone pad (9) is attached to the bottom surface of the base (1). 2.根据权利要求1所述的光伏逆流保护器,其特征是:所述上盖(2)内绕陶瓷座(7)四周具有八个压住陶瓷座(7)边缘的支撑脚(10)。2. The photovoltaic reverse current protector according to claim 1, characterized in that: the upper cover (2) has eight supporting feet (10) around the ceramic seat (7) that press the edge of the ceramic seat (7) . 3.根据权利要求1所述的光伏逆流保护器,其特征是:所述底座(1)背面开设有可注入密封硅胶对所述腔体进行密封、增强导热效果的灌胶孔(11)和灌胶时用于排除内部空气的排气孔(12)。3. The photovoltaic reverse current protector according to claim 1, characterized in that: there are glue holes (11) on the back of the base (1) that can be injected with sealing silica gel to seal the cavity and enhance the heat conduction effect; Vent hole (12) for removing internal air when pouring glue.
CN201220413313.6U 2012-08-21 2012-08-21 Photovoltaic counter current protector Expired - Fee Related CN202797033U (en)

Priority Applications (1)

Application Number Priority Date Filing Date Title
CN201220413313.6U CN202797033U (en) 2012-08-21 2012-08-21 Photovoltaic counter current protector

Applications Claiming Priority (1)

Application Number Priority Date Filing Date Title
CN201220413313.6U CN202797033U (en) 2012-08-21 2012-08-21 Photovoltaic counter current protector

Publications (1)

Publication Number Publication Date
CN202797033U true CN202797033U (en) 2013-03-13

Family

ID=47824234

Family Applications (1)

Application Number Title Priority Date Filing Date
CN201220413313.6U Expired - Fee Related CN202797033U (en) 2012-08-21 2012-08-21 Photovoltaic counter current protector

Country Status (1)

Country Link
CN (1) CN202797033U (en)

Cited By (2)

* Cited by examiner, † Cited by third party
Publication number Priority date Publication date Assignee Title
US11689153B2 (en) 2014-09-09 2023-06-27 Shoals Technologies Group, Llc Lead assembly for connecting solar panel arrays to inverter
US12519421B2 (en) 2025-03-13 2026-01-06 Shoals Technologies Group, Llc Lead assembly for connecting solar panel arrays to inverter

Cited By (5)

* Cited by examiner, † Cited by third party
Publication number Priority date Publication date Assignee Title
US11689153B2 (en) 2014-09-09 2023-06-27 Shoals Technologies Group, Llc Lead assembly for connecting solar panel arrays to inverter
US12015376B2 (en) 2014-09-09 2024-06-18 Shoals Technologies Group, Llc Lead assembly for connecting solar panel arrays to inverter
US12015375B2 (en) 2014-09-09 2024-06-18 Shoals Technologies Group, Llc Lead assembly for connecting solar panel arrays to inverter
US12407295B2 (en) 2014-09-09 2025-09-02 Shoals Technologies Group, Llc Lead assembly for connecting solar panel arrays to inverter
US12519421B2 (en) 2025-03-13 2026-01-06 Shoals Technologies Group, Llc Lead assembly for connecting solar panel arrays to inverter

Similar Documents

Publication Publication Date Title
CN114599182B (en) GaN power device with thermal management protection and phase change energy storage functions
CN202997007U (en) Cooling structure of lithium ion battery module
CN206865413U (en) A solar photovoltaic junction box
CN202797033U (en) Photovoltaic counter current protector
CN212909433U (en) Photovoltaic junction box
CN204119148U (en) A kind of external photovoltaic counnter attack device and photovoltaic plant convergence system
CN203192820U (en) Efficient heat dissipation solar photovoltaic junction box
CN108377133A (en) A kind of photovoltaic junction box of high heat dispersion
KR20110064240A (en) Heat dissipation device and junction box having same and manufacturing method thereof
CN201689900U (en) Solar cell junction box
JP3186847U (en) Junction box for solar cell module
CN103199135A (en) Heat-dissipation-efficient solar photovoltaic junction box
CN112152112A (en) High-protection heat dissipation case of active unbalance compensation device
CN105991090A (en) All-glue-pouring photovoltaic connecting box with three-side ventilation bottom and inverted and suspended internal diode
CN206564573U (en) A kind of photovoltaic component terminal box
CN208874535U (en) Thermal energy convection heat emission type photovoltaic module
JP3179364U (en) Junction box for solar cell module
CN210443548U (en) Triode convenient to equipment
CN211429264U (en) Photovoltaic junction box
CN205069649U (en) Encapsulating solar junction box
CN204559498U (en) Diode (led) module plug-in type photovoltaic cell junction box
CN220774592U (en) Storage battery box convenient to move
CN220421647U (en) Micro inverter shell assembly and micro inverter
CN220858063U (en) High-efficient radiating photovoltaic terminal box
CN215818042U (en) Waterproof dustproof solar equipment

Legal Events

Date Code Title Description
C14 Grant of patent or utility model
GR01 Patent grant
CF01 Termination of patent right due to non-payment of annual fee
CF01 Termination of patent right due to non-payment of annual fee

Granted publication date: 20130313

Termination date: 20200821