CN202789203U - Connecting pipe and exhaust gas recirculation (EGR) system using the same - Google Patents

Connecting pipe and exhaust gas recirculation (EGR) system using the same Download PDF

Info

Publication number
CN202789203U
CN202789203U CN2012203381232U CN201220338123U CN202789203U CN 202789203 U CN202789203 U CN 202789203U CN 2012203381232 U CN2012203381232 U CN 2012203381232U CN 201220338123 U CN201220338123 U CN 201220338123U CN 202789203 U CN202789203 U CN 202789203U
Authority
CN
China
Prior art keywords
connecting pipe
egr
gas recirculation
pipe
utility
Prior art date
Legal status (The legal status is an assumption and is not a legal conclusion. Google has not performed a legal analysis and makes no representation as to the accuracy of the status listed.)
Expired - Fee Related
Application number
CN2012203381232U
Other languages
Chinese (zh)
Inventor
雷春青
Current Assignee (The listed assignees may be inaccurate. Google has not performed a legal analysis and makes no representation or warranty as to the accuracy of the list.)
Chery Automobile Co Ltd
Original Assignee
SAIC Chery Automobile Co Ltd
Priority date (The priority date is an assumption and is not a legal conclusion. Google has not performed a legal analysis and makes no representation as to the accuracy of the date listed.)
Filing date
Publication date
Application filed by SAIC Chery Automobile Co Ltd filed Critical SAIC Chery Automobile Co Ltd
Priority to CN2012203381232U priority Critical patent/CN202789203U/en
Application granted granted Critical
Publication of CN202789203U publication Critical patent/CN202789203U/en
Anticipated expiration legal-status Critical
Expired - Fee Related legal-status Critical Current

Links

Images

Classifications

    • YGENERAL TAGGING OF NEW TECHNOLOGICAL DEVELOPMENTS; GENERAL TAGGING OF CROSS-SECTIONAL TECHNOLOGIES SPANNING OVER SEVERAL SECTIONS OF THE IPC; TECHNICAL SUBJECTS COVERED BY FORMER USPC CROSS-REFERENCE ART COLLECTIONS [XRACs] AND DIGESTS
    • Y02TECHNOLOGIES OR APPLICATIONS FOR MITIGATION OR ADAPTATION AGAINST CLIMATE CHANGE
    • Y02TCLIMATE CHANGE MITIGATION TECHNOLOGIES RELATED TO TRANSPORTATION
    • Y02T10/00Road transport of goods or passengers
    • Y02T10/10Internal combustion engine [ICE] based vehicles
    • Y02T10/12Improving ICE efficiencies

Landscapes

  • Exhaust-Gas Circulating Devices (AREA)

Abstract

本实用新型的目的是提出一种有助于提高EGR均匀性的连接管及应用该连接管的EGR废气再循环系统。本实用新型的连接管包括一波纹管,所述波纹管的两端均设有法兰,关键在于所述波纹管的一端延伸至法兰外而形成导流结构。本实用新型提出的应用上述连接管的EGR废气再循环系统如下:所述连接管利用其两端的法兰分别与发动机的进气歧管和EGR冷却器或者缸盖相接,所述连接管的导流结构伸入至进气歧管内。本实用新型通过将传统的连接管改造为带有导流结构的连接管,可以对导入进气歧管的EGR废气进行导流,使其能够更好的混入新鲜空气,提高了EGR废气各缸分配的均匀性,燃烧更加稳定,从而提高了发动机的燃油经济性,降低了发动机的排放。

Figure 201220338123

The purpose of the utility model is to propose a connecting pipe which helps to improve the uniformity of EGR and an EGR waste gas recirculation system using the connecting pipe. The connecting pipe of the utility model includes a corrugated pipe, flanges are provided at both ends of the corrugated pipe, and the key point is that one end of the corrugated pipe extends out of the flange to form a flow guide structure. The EGR waste gas recirculation system using the above-mentioned connecting pipe proposed by the utility model is as follows: the flanges at both ends of the connecting pipe are respectively connected to the intake manifold of the engine and the EGR cooler or the cylinder head, and the connecting pipe's The guide structure extends into the intake manifold. The utility model can guide the EGR exhaust gas introduced into the intake manifold by transforming the traditional connecting pipe into a connecting pipe with a diversion structure, so that it can better mix with fresh air and improve the efficiency of each cylinder of the EGR exhaust gas. The distribution is even and the combustion is more stable, thereby improving the fuel economy of the engine and reducing the emission of the engine.

Figure 201220338123

Description

A kind of connecting tube and use the EGR gas recirculation system of this connecting tube
Technical field
The utility model belongs to engines exhaust gas recirculation (EGR) technical field, specially refers to a kind of connecting tube and uses the EGR gas recirculation system of this connecting tube.
Background technique
Increasingly strict along with Abgasgesetz, emission control technique also is faced with more and more challenges.EGR is that a part of exhaust with motor is incorporated into and participates in burning in the gas handling system, the thermal capacitance of mixed gas is increased greatly, maximum combustion temperature descends, thereby reduces discharging and the oil consumption of nitrogen oxide, and EGR (EGR) system was widely used in the last few years.
The structure that existing egr system connects used connecting tube is as follows: the middle part of connecting tube is bellows, and its two ends are provided with flange, to be used for intake manifold and cooler for recycled exhaust gas or the cylinder cap of connecting engine.Although this kind EGR connecting tube manufacturing process is simple, does not have guide functions for sneaking into of EGR waste gas, therefore easily causes each cylinder distributing uniformity of EGR waste gas poor, thereby the combustion stability of motor is affected.
Summary of the invention
The purpose of this utility model is to propose a kind of EGR gas recirculation system that helps to improve the inhomogeneity connecting tube of EGR and use this connecting tube.
Connecting tube of the present utility model comprises a bellows, and the two ends of described bellows are equipped with flange, and key is that an end of described bellows extends to flange and forms flow guide structure outward.
Specifically, described flow guide structure is bell mouth shape or sheet or curved surface.
The EGR gas recirculation system of the above-mentioned connecting tube of application that the utility model proposes is as follows: the flange that described connecting tube utilizes its two ends joins with the intake manifold of motor and cooler for recycled exhaust gas or cylinder cap respectively, and key is that the flow guide structure of described connecting tube stretches in the intake manifold.
Further, the flow guide structure that described each connecting tube stretches in the various inlet manifold is different, the length of for example saying flow guide structure adjusts according to different borders with terminal water conservancy diversion shape, thereby the air-flow in the various inlet manifold is produced Different Effects, improve the uniformity that each cylinder of EGR waste gas distributes.
The utility model is by transforming traditional connecting tube as the connecting tube with flow guide structure, can carry out water conservancy diversion to the EGR waste gas that imports intake manifold, can better sneak into fresh air, improved the uniformity that each cylinder of EGR waste gas distributes, it is more stable to burn, thereby improved the fuel economy of motor, reduced the discharging of motor.
Description of drawings
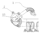
Fig. 1 is the structural representation of EGR gas recirculation system of the present utility model.
Fig. 2 is the phantom of EGR gas recirculation system of the present utility model.
Embodiment
The below contrasts accompanying drawing, by the description to embodiment, the effect of the mutual alignment between the shape of embodiment of the present utility model such as related each member, structure, the each several part and annexation, each several part and working principle etc. are described in further detail.
Embodiment 1:
As shown in Figure 1, 2, the connecting tube 1 of present embodiment comprises a bellows 11, and the two ends of bellows 11 are equipped with flange 12, and an end of bellows 11 extends to flange 12 and forms flow guide structure 13 outward.
The EGR gas recirculation system of the above-mentioned connecting tube of application that present embodiment proposes is as follows: the flange 12 that connecting tube 1 utilizes its two ends joins with intake manifold 2 and the cooler for recycled exhaust gas 3 of motor respectively, the flow guide structure 13 of connecting tube 1 stretches in the intake manifold 2, and each connecting tube 1 stretches to flow guide structure 13 differences in the various inlet manifold 2, the length of for example saying flow guide structure 13 adjusts according to different borders with terminal water conservancy diversion shape, thereby the air-flow in the various inlet manifold 2 is produced Different Effects, improve the uniformity that each cylinder of EGR waste gas distributes.
Above-mentioned EGR gas recirculation system adopts the connecting tube 1 with flow guide structure 13, can carry out water conservancy diversion to the EGR waste gas that imports intake manifold 2, can better sneak into fresh air, improved the uniformity that each cylinder of EGR waste gas distributes, it is more stable to burn, thereby improved the fuel economy of motor, reduced the discharging of motor.

Claims (4)

1.一种连接管,包括一波纹管,所述波纹管的两端均设有法兰,其特征在于所述波纹管的一端延伸至法兰外而形成导流结构。 1. A connecting pipe, comprising a corrugated pipe, flanges are provided at both ends of the corrugated pipe, and it is characterized in that one end of the corrugated pipe extends outside the flange to form a flow guiding structure. 2.根据权利要求1所述的连接管,其特征在于所述导流结构为喇叭口状或片状或曲面。 2. The connecting pipe according to claim 1, characterized in that the flow guide structure is in the shape of a bell mouth or a sheet or a curved surface. 3.一种应用权利要求1所述连接管的EGR废气再循环系统,所述连接管利用其两端的法兰分别与发动机的进气歧管和排气管相接,其特征在于所述连接管的导流结构伸入至进气歧管内。 3. An EGR exhaust gas recirculation system using the connecting pipe according to claim 1, the connecting pipe utilizes the flanges at both ends to connect with the intake manifold and the exhaust pipe of the engine respectively, it is characterized in that the connecting pipe The guide structure of the pipe extends into the intake manifold. 4.根据权利要求3所述的EGR废气再循环系统,其特征在于所述各个连接管伸入至不同进气歧管内的导流结构不同。 4. The EGR exhaust gas recirculation system according to claim 3, characterized in that the diversion structures of the connecting pipes protruding into different intake manifolds are different.
CN2012203381232U 2012-07-13 2012-07-13 Connecting pipe and exhaust gas recirculation (EGR) system using the same Expired - Fee Related CN202789203U (en)

Priority Applications (1)

Application Number Priority Date Filing Date Title
CN2012203381232U CN202789203U (en) 2012-07-13 2012-07-13 Connecting pipe and exhaust gas recirculation (EGR) system using the same

Applications Claiming Priority (1)

Application Number Priority Date Filing Date Title
CN2012203381232U CN202789203U (en) 2012-07-13 2012-07-13 Connecting pipe and exhaust gas recirculation (EGR) system using the same

Publications (1)

Publication Number Publication Date
CN202789203U true CN202789203U (en) 2013-03-13

Family

ID=47816478

Family Applications (1)

Application Number Title Priority Date Filing Date
CN2012203381232U Expired - Fee Related CN202789203U (en) 2012-07-13 2012-07-13 Connecting pipe and exhaust gas recirculation (EGR) system using the same

Country Status (1)

Country Link
CN (1) CN202789203U (en)

Cited By (6)

* Cited by examiner, † Cited by third party
Publication number Priority date Publication date Assignee Title
CN104234876A (en) * 2013-06-17 2014-12-24 卡特彼勒公司 System and method for exhaust gas re-circulation
CN104329195A (en) * 2013-07-22 2015-02-04 通用汽车环球科技运作有限责任公司 Engine Inlet For EGR-Air Flow Distribution
CN111648881A (en) * 2020-07-08 2020-09-11 安徽华菱汽车有限公司 An EGR connecting pipe assembly
CN113107717A (en) * 2021-05-14 2021-07-13 宁波福士汽车部件有限公司 Automobile EGR heat exchange pipeline
CN114215665A (en) * 2021-11-02 2022-03-22 浙江吉利控股集团有限公司 Exhaust gas intake pipe and exhaust gas recirculation system
CN115045780A (en) * 2022-06-10 2022-09-13 哈尔滨东安汽车动力股份有限公司 Arrangement structure for increasing low-pressure EGR (exhaust gas recirculation) coverage working condition

Cited By (7)

* Cited by examiner, † Cited by third party
Publication number Priority date Publication date Assignee Title
CN104234876A (en) * 2013-06-17 2014-12-24 卡特彼勒公司 System and method for exhaust gas re-circulation
CN104329195A (en) * 2013-07-22 2015-02-04 通用汽车环球科技运作有限责任公司 Engine Inlet For EGR-Air Flow Distribution
CN104329195B (en) * 2013-07-22 2017-04-12 通用汽车环球科技运作有限责任公司 Engine Inlet For EGR-Air Flow Distribution
CN111648881A (en) * 2020-07-08 2020-09-11 安徽华菱汽车有限公司 An EGR connecting pipe assembly
CN113107717A (en) * 2021-05-14 2021-07-13 宁波福士汽车部件有限公司 Automobile EGR heat exchange pipeline
CN114215665A (en) * 2021-11-02 2022-03-22 浙江吉利控股集团有限公司 Exhaust gas intake pipe and exhaust gas recirculation system
CN115045780A (en) * 2022-06-10 2022-09-13 哈尔滨东安汽车动力股份有限公司 Arrangement structure for increasing low-pressure EGR (exhaust gas recirculation) coverage working condition

Similar Documents

Publication Publication Date Title
CN202789203U (en) Connecting pipe and exhaust gas recirculation (EGR) system using the same
CN103306858B (en) EGR air mixing device and the fuel engines of band egr system
CN203476553U (en) Air inlet manifold structure
CN202645779U (en) Diesel engine exhaust gas recirculation mixer
CN204060889U (en) Engine exhaust manifold assembly
CN204200406U (en) The gas exhaust manifold of six cylinder engine egr system
CN202970956U (en) EGR (Exhaust Gas Recirculation) system with double waste gas passages
CN219139187U (en) Combustion chamber structure, methanol engine and vehicle
CN201851238U (en) Aluminum induction manifold for 2.0L gasoline engine
CN202596907U (en) High-power gas engine inlet
CN203383943U (en) Light engine intake pipe
CN202500678U (en) EGR air inlet structure
CN201982207U (en) Inlet channel of direct injection gasoline engine in turbocharging cylinder
CN201747482U (en) Air mixing structure in exhaust gas recirculation system
CN202250333U (en) Exhaust manifold
CN203296895U (en) Vortex exhaust system of automobile engine
CN202756106U (en) Diesel engine exhaust gas recirculation rate control system
CN201133314Y (en) dual fuel intake manifold
CN205117463U (en) Polyoxy engine
CN201794688U (en) Diesel engine inlet duct
CN2605395Y (en) Intake manifold structure for multi cylinder internal combustion engine
CN2890381Y (en) A diesel engine exhaust pipe
CN203296966U (en) Separate EGR (exhaust gas recirculation) system of diesel engine
CN203685407U (en) Engine and cylinder cover thereof
CN202300741U (en) An engine dual-fuel plastic intake manifold

Legal Events

Date Code Title Description
C14 Grant of patent or utility model
GR01 Patent grant
CF01 Termination of patent right due to non-payment of annual fee

Granted publication date: 20130313

Termination date: 20150713

EXPY Termination of patent right or utility model