CN202776842U - Nursing air mattress capable of assisting lateral turning - Google Patents
Nursing air mattress capable of assisting lateral turning Download PDFInfo
- Publication number
- CN202776842U CN202776842U CN 201220456459 CN201220456459U CN202776842U CN 202776842 U CN202776842 U CN 202776842U CN 201220456459 CN201220456459 CN 201220456459 CN 201220456459 U CN201220456459 U CN 201220456459U CN 202776842 U CN202776842 U CN 202776842U
- Authority
- CN
- China
- Prior art keywords
- air cushion
- nursing
- auxiliary
- air
- cushion
- Prior art date
- Legal status (The legal status is an assumption and is not a legal conclusion. Google has not performed a legal analysis and makes no representation as to the accuracy of the status listed.)
- Expired - Fee Related
Links
Images
Landscapes
- Invalid Beds And Related Equipment (AREA)
Abstract
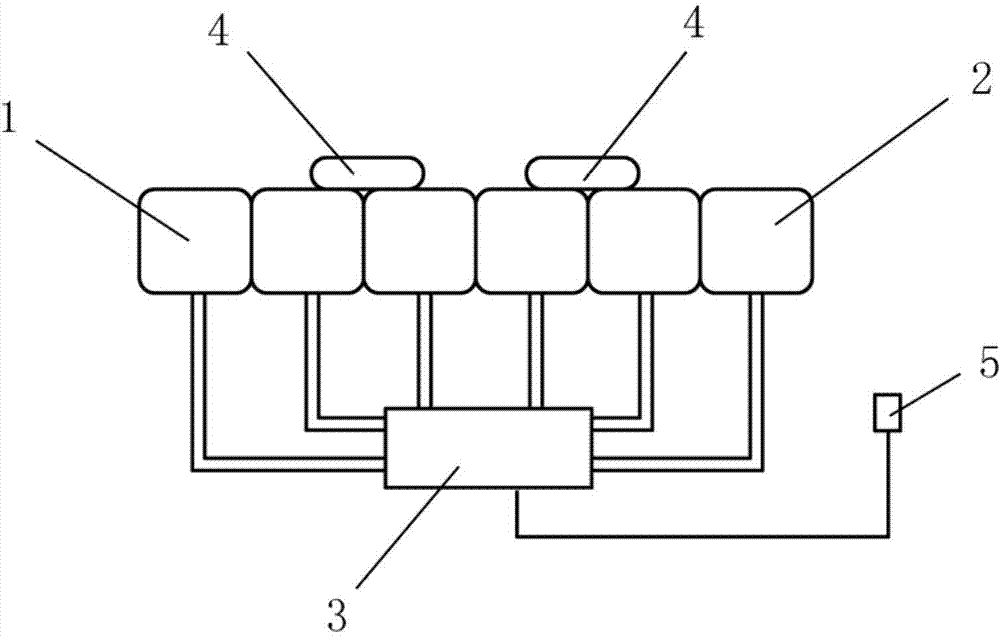
一种可辅助侧翻身的护理气垫,所述护理气垫包括左侧气垫及右侧气垫,所述的各个气垫分别连接到气泵,左侧气垫及右侧气垫上分别设有一辅助气垫,所述的辅助气垫设置在护理气垫中心线的两侧,辅助气垫距离中心线10~25cm。本实用新型的可辅助侧翻身的护理气垫采用双层的气垫结构,上层为辅助气垫,下层为正常使用的气垫层,下层的气垫层包括多个的小气垫组成,在保证的病人正常通风透气的情况下,可配合辅助气垫帮助病人进行侧翻身动作,具有使用方便的优点。
A nursing air cushion that can assist sideways turning, the nursing air cushion includes a left air cushion and a right air cushion, each of the air cushions is respectively connected to an air pump, and an auxiliary air cushion is respectively provided on the left air cushion and the right air cushion, and the described The auxiliary air cushion is arranged on both sides of the centerline of the nursing air cushion, and the distance between the auxiliary air cushion and the centerline is 10-25cm. The nursing air cushion that can assist side turning of the utility model adopts a double-layer air cushion structure, the upper layer is an auxiliary air cushion, and the lower layer is an air cushion layer for normal use. The air cushion layer of the lower layer is composed of a plurality of small air cushions. In some cases, the auxiliary air cushion can be used to help the patient turn over, which has the advantage of being convenient to use.
Description
技术领域:Technical field:
本实用新型属于医疗器械领域中的护理气垫,具体涉及的是一种可辅助侧翻身的护理气垫。 The utility model belongs to the nursing air cushion in the field of medical equipment, in particular to a nursing air cushion that can assist sideways turning.
背景技术:Background technique:
对于自理能力差的或者骨折的病人,可辅助翻身的气垫可极大地方便护理人员的护理工作,市面上有一种病床的床体采用4块活动的床板组成,分别通过3只液压油缸支撑,使卧床患者在无他人帮助的情况下,通过按动操作控制器上的按钮即可达到左倾、右倾或前倾体位的变化,该设计完全采用机电液一体化设计,操作轻松自如,这种翻身床大大提高了患者的自理能力,减轻了护理人员的劳动强度,避免了压疮的发生。但是,由于翻身床的造价较高,在临床上,在住院环境中应用尚可,对于那些骨盆骨折、髋部骨折可回家行保守治疗的普通家庭很难做到,所以这种翻身床真正应用比较少,为此,专利号为201020117454的中国实用新型专利:一种翻身枕垫,做出了改进,其采用气垫机构,包括可纵向并排置于患者平肩部至臀下方的左囊袋和右囊袋,所述左囊袋和右囊袋又分别横向平分成两个囊袋,四个囊袋可各自独立充气和放气。在所述翻身枕垫上位于患者的臀部排便位置设有可独立充气和放气的便盆囊,充气时与左、右囊袋平齐,放气后可形成便盆。该气垫由于采用单层的结构,实际可撑起的高度较低,造成对患者的撑起效果不理想。 For patients with poor self-care ability or fractures, the air cushion that can assist in turning over can greatly facilitate the nursing work of the nurses. There is a hospital bed on the market consisting of 4 movable bed boards, which are supported by 3 hydraulic cylinders respectively. The bedridden patient can achieve the change of leaning left, leaning right or leaning forward by pressing the button on the controller without the help of others. It greatly improves the self-care ability of patients, reduces the labor intensity of nursing staff, and avoids the occurrence of pressure sores. However, due to the high cost of the turning bed, it can be used clinically in the hospital environment. It is difficult for ordinary families who have pelvic fractures and hip fractures to go home for conservative treatment, so this turning bed is really For this reason, the Chinese utility model patent No. 201020117454 is a patent for turning over pillow, which has been improved. It adopts an air cushion mechanism, including a left pouch that can be placed vertically and side by side from the flat shoulder of the patient to the bottom of the hip. and the right pouch, the left pouch and the right pouch are respectively divided into two pouches horizontally, and the four pouches can be independently inflated and deflated. A bedpan bag that can be independently inflated and deflated is arranged on the defecation position of the patient's buttocks on the turning pillow. When inflated, it is flush with the left and right pouches, and can form a bedpan after deflation. Because the air cushion adopts a single-layer structure, the actual height that can be supported is relatively low, resulting in an unsatisfactory support effect for the patient.
发明内容:Invention content:
针对现有技术存在的缺陷,本实用新型的目的是提供一种可以克服上述缺陷的,可以有效撑起病患达到侧翻的可辅助侧翻身的护理气垫。 In view of the defects in the prior art, the purpose of this utility model is to provide a nursing air cushion that can overcome the above-mentioned defects and can effectively support the patient to roll over and can assist in turning over.
本实用新型解决其技术问题所采取的技术方案是:一种可辅助侧翻身的护理气垫,所述护理气垫包括左侧气垫及右侧气垫,所述的各个气垫分别连接到气泵,关键在于左侧气垫及右侧气垫上分别设有一辅助气垫,所述的辅助气垫设置在护理气垫中心线的两侧,辅助气垫距离中心线10~25cm。为了克服单个气垫撑起高度不足的问题,本实用新型采用底层加辅助撑起层的双层结构,辅助气垫距离中心线10~25cm的宽度可让人体在侧翻的时候有一定的缓冲坡度,提高舒适性。 The technical solution adopted by the utility model to solve the technical problem is: a nursing air cushion that can assist in turning over. The nursing air cushion includes a left air cushion and a right air cushion. Each of the air cushions is connected to the air pump respectively. An auxiliary air cushion is respectively arranged on the side air cushion and the right air cushion, and the auxiliary air cushion is arranged on both sides of the center line of the nursing air cushion, and the distance between the auxiliary air cushion and the center line is 10-25cm. In order to overcome the problem of insufficient propping height of a single air cushion, the utility model adopts a double-layer structure of the bottom layer and an auxiliary propping layer. The width of the auxiliary air cushion from the center line is 10-25 cm, so that the human body has a certain buffer slope when it rolls over. Improve comfort.
所述的左侧气垫及右侧气垫分别由多块的气垫组成,多块的气垫的结构可以提高撑起效果,使撑起面更平整。 The left air cushion and the right air cushion are respectively composed of multiple air cushions. The structure of the multiple air cushions can improve the propping effect and make the propping surface smoother.
所述的左侧气垫及右侧气垫分别由三块的气垫组成,所述的辅助气垫设置在靠中间两块气垫的中间上方。三块的气垫的结构处于制造方便和支撑效果好的平衡点。 The left air cushion and the right air cushion are respectively composed of three air cushions, and the auxiliary air cushion is arranged above the middle of the two middle air cushions. The structure of the three-piece air cushion is at the balance point of convenient manufacture and good supporting effect.
所述的辅助气垫的撑起高度为10~20cm。为了保证有效的撑起高度, 10~20cm的撑起高度配合底层的气垫放气高度,正好约为人体半侧身的宽度。 The supporting height of the auxiliary air cushion is 10-20cm. In order to ensure an effective prop-up height, the prop-up height of 10-20cm matches the deflation height of the bottom air cushion, which is just about the width of half of the human body.
所述的可辅助侧翻身的护理气垫还设有一控制器,所述的控制器设置有放气模块和充气模块以及侧翻模块。控制器设置有各种控制模式,采用单片机控制气泵和各个气管,实现侧翻功能和换气功能等。方便病人自己使用控制器进行侧翻动作。 The nursing air cushion that can assist in turning over is also provided with a controller, and the controller is provided with a deflation module, an inflation module and a rollover module. The controller is equipped with various control modes, and the single-chip microcomputer is used to control the air pump and each air pipe to realize the function of rollover and ventilation. It is convenient for the patient to use the controller to perform the rollover action by himself.
本实用新型的可辅助侧翻身的护理气垫采用双层的气垫结构,上层为辅助气垫,下层为正常使用的气垫层,下层的气垫层包括多个的小气垫,在保证的病人正常通风透气的情况下,可配合辅助气垫帮助病人进行侧翻身动作,具有使用方便的优点。 The nursing air cushion that can assist side turning of the utility model adopts a double-layer air cushion structure. The upper layer is an auxiliary air cushion, and the lower layer is an air cushion layer for normal use. Under certain circumstances, it can cooperate with the auxiliary air cushion to help the patient perform sideways movement, which has the advantage of being convenient to use.
附图说明:Description of drawings:
图1为本实用新型结构示意图。 Fig. 1 is the structural representation of the utility model.
图2为本实用新型气垫全部充气结构示意图。 Fig. 2 is a schematic diagram of the entire inflation structure of the air cushion of the present invention.
图3为本实用新型辅助侧翻状态结构示意图。 Fig. 3 is a structural schematic diagram of the utility model in an assisted rollover state.
具体实施方式:Detailed ways:
如图1至图3所示,一种可辅助侧翻身的护理气垫,所述护理气垫包括左侧气垫1及右侧气垫2,所述的各个气垫分别连接气泵3,左侧气垫及右侧气垫上分别设有一辅助气垫4,所述的辅助气垫4设置在护理气垫中心线的两侧,辅助气垫距离中心线10~25cm。所述的护理气垫由体积均等左侧气垫1及右侧气垫2组成,各个气垫分别连接气泵3,气泵3内设置有多个的控制阀门,可实现对各个气垫的单独控制。所述的辅助气垫4设置在底层气垫上,辅助气垫距离中心线10~25cm,对应于人体肩胛骨的位置,该位置的气垫在升高的时候,配合对应一侧底层气垫减低,可有效地辅助病人进行侧翻,大大的方便了骨折或者无法自主翻身的病人。
As shown in Fig. 1 to Fig. 3, a kind of nursing air cushion that can assist sideways turning over, described nursing air cushion comprises left
所述的左侧气垫及右侧气垫分别由多块的气垫组成。 The left air cushion and the right air cushion are respectively composed of multiple air cushions.
所述的左侧气垫及右侧气垫分别由三块的气垫组成,所述的辅助气垫设置在靠中间两块气垫的中间上方。优选的,左侧气垫及右侧气垫分别由三块的气垫组成,一共六块的底层气垫,具有受力分布均匀和支撑较平整的优点。 The left air cushion and the right air cushion are respectively composed of three air cushions, and the auxiliary air cushion is arranged above the middle of the two middle air cushions. Preferably, the left air cushion and the right air cushion are respectively composed of three air cushions, a total of six bottom air cushions, which have the advantages of uniform force distribution and relatively flat support.
所述的辅助气垫的撑起高度为10~20cm。10~20cm的撑起高度,再配合底层对应一侧的气垫的放气低下高度。刚刚好符合人体侧翻身的所需高度。 The supporting height of the auxiliary air cushion is 10-20 cm. 10-20cm prop up height, and then cooperate with the deflated lower height of the air cushion on the corresponding side of the bottom layer. Just in line with the required height of the human body turning sideways.
所述的可辅助侧翻身的护理气垫还设有一控制器5,所述的控制器设置有放气模块和充气模块以及侧翻模块。控制器5内的各个控制模块连接气泵和各个阀门。可实现对病人的辅助翻身,大大减轻了医护人员的工作量,同时还可以对底层的奇数和偶数的气垫进行放气交替充气和放气动作,提高病人背部的通风性。
The nursing air cushion that can assist in turning over is also provided with a
Claims (5)
Priority Applications (1)
| Application Number | Priority Date | Filing Date | Title |
|---|---|---|---|
| CN 201220456459 CN202776842U (en) | 2012-09-10 | 2012-09-10 | Nursing air mattress capable of assisting lateral turning |
Applications Claiming Priority (1)
| Application Number | Priority Date | Filing Date | Title |
|---|---|---|---|
| CN 201220456459 CN202776842U (en) | 2012-09-10 | 2012-09-10 | Nursing air mattress capable of assisting lateral turning |
Publications (1)
| Publication Number | Publication Date |
|---|---|
| CN202776842U true CN202776842U (en) | 2013-03-13 |
Family
ID=47804199
Family Applications (1)
| Application Number | Title | Priority Date | Filing Date |
|---|---|---|---|
| CN 201220456459 Expired - Fee Related CN202776842U (en) | 2012-09-10 | 2012-09-10 | Nursing air mattress capable of assisting lateral turning |
Country Status (1)
| Country | Link |
|---|---|
| CN (1) | CN202776842U (en) |
Cited By (2)
| Publication number | Priority date | Publication date | Assignee | Title |
|---|---|---|---|---|
| CN113940823A (en) * | 2021-11-24 | 2022-01-18 | 韦波 | Severe patient's supplementary turning-over device |
| CN114099170A (en) * | 2021-11-24 | 2022-03-01 | 韦波 | Severe patient's supplementary rehabilitation device |
-
2012
- 2012-09-10 CN CN 201220456459 patent/CN202776842U/en not_active Expired - Fee Related
Cited By (4)
| Publication number | Priority date | Publication date | Assignee | Title |
|---|---|---|---|---|
| CN113940823A (en) * | 2021-11-24 | 2022-01-18 | 韦波 | Severe patient's supplementary turning-over device |
| CN114099170A (en) * | 2021-11-24 | 2022-03-01 | 韦波 | Severe patient's supplementary rehabilitation device |
| CN113940823B (en) * | 2021-11-24 | 2023-02-28 | 韦波 | Severe patient's supplementary turnover device |
| CN114099170B (en) * | 2021-11-24 | 2023-07-18 | 韦波 | Auxiliary rehabilitation device for severe patients |
Similar Documents
| Publication | Publication Date | Title |
|---|---|---|
| CN202105130U (en) | Anti-decubitus air cushion | |
| CN207253435U (en) | A kind of sick bed of adjustable patient body forced position | |
| CN202051935U (en) | Healthcare mattress for long-term bedridden patients | |
| CN202776842U (en) | Nursing air mattress capable of assisting lateral turning | |
| CN204684015U (en) | A kind of gas cushion special for nursing lying patient | |
| CN200994878Y (en) | Nursing aeration mattress | |
| CN207970214U (en) | A kind of air cushion for clinic nursing buffer unit | |
| CN207605091U (en) | A kind of split type air bed of intelligence for Bedsore prevention | |
| CN207220963U (en) | A kind of automatic turn-over body nursing care of airbag mattress | |
| CN213157217U (en) | Accordion-shaped auxiliary turnover bolster | |
| CN201618053U (en) | Multifunctional overturn pillow cushion | |
| CN211156882U (en) | A medical air mattress | |
| CN211300806U (en) | Modular prevents pressing sore air bed | |
| CN113081575A (en) | Multi-position bedsore-proof air cushion device with prone cushion | |
| CN209933221U (en) | Pressure damage prevention mattress used on flat car | |
| CN204274862U (en) | Multifunctional inflating type pressure sore prevention posture nursing mat | |
| CN210785080U (en) | An intelligent turning over air mattress | |
| CN205867003U (en) | Medical nursing air mattress | |
| CN205339371U (en) | Multifunctional air cushion bed | |
| CN206007505U (en) | L-shaped automatic body-side device | |
| CN204337194U (en) | A kind of ward nursing mattress | |
| CN207071121U (en) | A kind of medical air equalizing bed of Bedsore prevention and lower extremity swelling and distension | |
| CN222533578U (en) | Thyroid multifunctional posture auxiliary device | |
| CN216855085U (en) | Multi-body-position functional mattress based on airbag structure | |
| CN203234941U (en) | Inflatable mattress for paralytic patient |
Legal Events
| Date | Code | Title | Description |
|---|---|---|---|
| C14 | Grant of patent or utility model | ||
| GR01 | Patent grant | ||
| C17 | Cessation of patent right | ||
| CF01 | Termination of patent right due to non-payment of annual fee |
Granted publication date: 20130313 Termination date: 20130910 |
