CN202766387U - Mud-membrane symbiotic hybrid membrane bioreactor - Google Patents
Mud-membrane symbiotic hybrid membrane bioreactor Download PDFInfo
- Publication number
- CN202766387U CN202766387U CN201220477226.7U CN201220477226U CN202766387U CN 202766387 U CN202766387 U CN 202766387U CN 201220477226 U CN201220477226 U CN 201220477226U CN 202766387 U CN202766387 U CN 202766387U
- Authority
- CN
- China
- Prior art keywords
- unit
- membrane
- anoxic
- water hole
- mud
- Prior art date
- Legal status (The legal status is an assumption and is not a legal conclusion. Google has not performed a legal analysis and makes no representation as to the accuracy of the status listed.)
- Expired - Lifetime
Links
Images
Classifications
-
- Y—GENERAL TAGGING OF NEW TECHNOLOGICAL DEVELOPMENTS; GENERAL TAGGING OF CROSS-SECTIONAL TECHNOLOGIES SPANNING OVER SEVERAL SECTIONS OF THE IPC; TECHNICAL SUBJECTS COVERED BY FORMER USPC CROSS-REFERENCE ART COLLECTIONS [XRACs] AND DIGESTS
- Y02—TECHNOLOGIES OR APPLICATIONS FOR MITIGATION OR ADAPTATION AGAINST CLIMATE CHANGE
- Y02W—CLIMATE CHANGE MITIGATION TECHNOLOGIES RELATED TO WASTEWATER TREATMENT OR WASTE MANAGEMENT
- Y02W10/00—Technologies for wastewater treatment
- Y02W10/10—Biological treatment of water, waste water, or sewage
Landscapes
- Purification Treatments By Anaerobic Or Anaerobic And Aerobic Bacteria Or Animals (AREA)
- Separation Using Semi-Permeable Membranes (AREA)
Abstract
本实用新型涉及一种泥膜共生复合式膜生物反应器,该反应器包括厌氧折流单元、缺氧单元、接触氧化单元和膜生物反应单元;所述厌氧折流单元通过第Ⅰ过水孔与缺氧单元连通,缺氧单元通过第Ⅱ过水孔与接触氧化单元连通,缺氧单元侧壁靠近第Ⅱ过水孔处设置有混合液回流管,该混合液回流管与厌氧折流单元的进水端连通;接触氧化单元通过第Ⅲ过水孔与膜生物反应单元连通;膜生物反应单元通过穿墙回流泵与缺氧单元连通。该反应器主要用于生活污水、微污染水源水、工业废水以及高氨氮有机工业废水的处理及回用。
The utility model relates to a mud film symbiotic composite membrane bioreactor, which comprises an anaerobic baffle unit, anoxic unit, a contact oxidation unit and a membrane bioreaction unit; The water hole is connected to the anoxic unit, and the anoxic unit is connected to the contact oxidation unit through the second water hole, and the side wall of the anoxic unit is provided with a mixed liquid return pipe near the second water hole, and the mixed liquid return pipe is connected to the anaerobic The water inlet end of the baffle unit is connected; the contact oxidation unit is connected with the membrane bioreaction unit through the third water hole; the membrane bioreaction unit is connected with the anoxic unit through the backflow pump through the wall. The reactor is mainly used for the treatment and reuse of domestic sewage, slightly polluted source water, industrial wastewater and high ammonia nitrogen organic industrial wastewater.
Description
技术领域 technical field
本实用新型涉及污废水处理装置,特别涉及生活污水、微污染水源水、工业废水以及高氨氮有机工业废水的处理和回用。 The utility model relates to a waste water treatment device, in particular to the treatment and reuse of domestic sewage, slightly polluted source water, industrial waste water and high ammonia nitrogen organic industrial waste water.
背景技术 Background technique
我国淡水资源极度短缺,人均淡水资源仅为世界平均值的1/3。中国660多个城市中,缺水城市约400个,严重缺水的城市约108个。中国每年工业、生活污水排放量达600多亿m3,90%的城市水域受到不同程度的污染。如何高效低耗的处理污废水,使其回收再利用或达标排放是污废水处理领域的重要课题。目前,常用的污废水处理有活性污泥法、生物膜法、膜生物反应器等工艺。 my country is extremely short of fresh water resources, and the per capita fresh water resources are only 1/3 of the world average. Among the more than 660 cities in China, about 400 are short of water, and about 108 are seriously short of water. China's annual industrial and domestic sewage discharge amounts to more than 60 billion m 3 , and 90% of urban waters are polluted to varying degrees. How to treat sewage and waste water with high efficiency and low consumption, so that it can be recycled and reused or discharged up to the standard is an important issue in the field of sewage and waste water treatment. At present, commonly used wastewater treatment processes include activated sludge process, biofilm process, membrane bioreactor and other processes.
活性污泥法是微生物悬浮生长系统,生物膜法是微生物附着生长系统,两种工艺各有优缺点。活性污泥法生物除磷要求污泥龄较短,而氨氮的硝化又要求污泥龄较长,二者往往不能兼顾。生物膜法工艺中的填料有利于硝化菌生长,但不利于聚磷菌生长,生物除磷效果较差。复合生物反应器是由悬浮生长微生物和附着生长微生物共同作用的生物反应器。复合生物反应器内附着生长的微生物污泥龄较长,有利于硝化菌生物生长;悬浮生长的微生物可以控制在较短的污泥龄状态,且反复处于厌氧、缺氧、好氧环境,有利于生物除磷。复合生物反应器可以较好地兼顾生物脱氮和生物除磷的要求,但是仍然存在悬浮生长的微生物较难培养及脱落的生物膜较难沉淀等问题。 The activated sludge method is a microbial suspension growth system, and the biofilm method is a microbial attachment growth system. Both processes have their own advantages and disadvantages. Activated sludge biological phosphorus removal requires a shorter sludge age, while the nitrification of ammonia nitrogen requires a longer sludge age, and the two often cannot be balanced. The filler in the biofilm process is conducive to the growth of nitrifying bacteria, but not conducive to the growth of phosphorus accumulating bacteria, and the effect of biological phosphorus removal is poor. The composite bioreactor is a bioreactor in which suspended growth microorganisms and attached growth microorganisms act together. The microbial sludge age attached to and growing in the compound bioreactor is longer, which is beneficial to the biological growth of nitrifying bacteria; the microorganisms growing in suspension can be controlled in a shorter sludge age state, and are repeatedly in anaerobic, anoxic, and aerobic environments. Conducive to biological phosphorus removal. The composite bioreactor can better meet the requirements of biological denitrification and biological phosphorus removal, but there are still problems such as difficult cultivation of suspended microorganisms and difficult precipitation of shedding biofilms.
膜生物反应器(MBR)工艺是污水生物处理技术与膜分离技术的有机结合。污水在反应器中经生物处理完成对有机污染物质的分解与转化后,利用微滤膜(MF)或超滤膜(UF)的高效分离完成污水的固液分离,从而达到净化效果。设置于反应器中的膜组件可完全取代传统工艺中的二沉池和常规过滤、吸附单元,使水力停留时间(HRT)和污泥龄(SRT)完全分离,并获得稳定、优质的出水水质。虽然MBR具有出水水质优良、占地面积小、剩余污泥量少等优点,但仍存在两大方面问题: 膜材料本身的问题,包括易膜污染、膜材料造价高/通量低、膜断丝等问题;膜的工艺优化及应用问题,包括能耗高、工艺流程形式及应用领域需不断研究等问题。 The membrane bioreactor (MBR) process is an organic combination of sewage biological treatment technology and membrane separation technology. After the sewage is decomposed and transformed by the biological treatment in the reactor, the solid-liquid separation of the sewage is completed by the efficient separation of the microfiltration membrane (MF) or ultrafiltration membrane (UF), so as to achieve the purification effect. The membrane module installed in the reactor can completely replace the secondary settling tank and conventional filtration and adsorption units in the traditional process, so that the hydraulic retention time (HRT) and the sludge age (SRT) can be completely separated, and stable and high-quality effluent water quality can be obtained. . Although MBR has the advantages of excellent effluent quality, small footprint, and less residual sludge, there are still two problems: Problems with the membrane material itself, including easy membrane fouling, high cost/low flux of membrane materials, membrane broken wires, etc.; Membrane process optimization and application issues, including high energy consumption, process flow form and application fields need to be continuously studied.
最接近的现有技术是:专利201120242413.2的实用新型公开了一种以微污染水体为水源的再生水处理装置,包括常规水处理单元,在常规水处理单元的前部分增设生物预处理单元,并在常规水处理单元的后部分增设深度处理膜单元;所述生物预处理单元由厌氧池、缺氧水解酸化池、生物接触氧化池依次连接组成;所述深度处理膜单元为膜生物反应器。该装置具有一定的优势,但该装置主要是针对微污染水的处理,未涉及到生活污水、工业废水以及高氨氮有机工业废水的处理和回用;该装置内微生物主要以生物膜形式附着在载体上,未提及泥膜共生系统,该装置容积负荷相对低,且能耗较高。 The closest existing technology is: the utility model of the patent 201120242413.2 discloses a reclaimed water treatment device with slightly polluted water as the water source, including a conventional water treatment unit, and a biological pretreatment unit is added to the front part of the conventional water treatment unit. An advanced treatment membrane unit is added to the rear part of the conventional water treatment unit; the biological pretreatment unit is composed of an anaerobic tank, an anoxic hydrolysis acidification tank, and a biological contact oxidation tank; the advanced treatment membrane unit is a membrane bioreactor. The device has certain advantages, but the device is mainly aimed at the treatment of slightly polluted water, and does not involve the treatment and reuse of domestic sewage, industrial wastewater, and high-ammonia-nitrogen organic industrial wastewater; the microorganisms in the device are mainly attached in the form of biofilm On the carrier, the mud-membrane symbiosis system is not mentioned, and the volume load of the device is relatively low, and the energy consumption is relatively high.
实用新型内容 Utility model content
本实用新型的目的是为了解决膜生物反应器易膜污染、活性污泥法中脱氮与除磷所要求的污泥龄冲突、生物膜法工艺生物除磷效果较差等问题,旨在于提供一种出水水质优良并可回用,同步脱氮除磷效果好,抗膜污染,能耗低,容积负荷高,运行稳定,占地少的泥膜共生复合式膜生物反应器 (简称HBR-MBR反应器)。 The purpose of this utility model is to solve the problems such as easy membrane pollution of membrane bioreactor, conflict of sludge age required for denitrification and phosphorus removal in activated sludge process, poor biological phosphorus removal effect of biofilm process, etc., aiming to provide A mud film symbiosis composite membrane bioreactor (referred to as HBR- MBR reactor).
为解决上述问题,本实用新型技术方案是: For solving the problems referred to above, the technical solution of the utility model is:
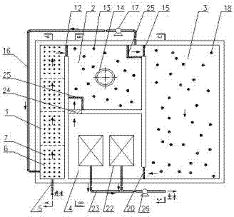
一种泥膜共生复合式膜生物反应器,包括厌氧折流单元、缺氧单元、接触氧化单元和膜生物反应单元; A mud film symbiotic composite membrane bioreactor, including anaerobic baffle unit, anoxic unit, contact oxidation unit and membrane bioreaction unit;
所述厌氧折流单元的一侧壁顶部设有进水管;厌氧折流单元通过第Ⅰ过水孔与缺氧单元连通,其中第Ⅰ过水孔设置在厌氧折流单元与缺氧单元共用的侧壁上; The top of the side wall of the anaerobic baffle unit is provided with a water inlet pipe; the anaerobic baffle unit communicates with the anoxic unit through the first water hole, wherein the first water hole is set between the anaerobic baffle unit and the anoxic unit. On the common side wall of the unit;
所述缺氧单元内有悬浮填料Ⅰ,中部浮动安装有液下曝气搅拌两用机;缺氧单元通过第Ⅱ过水孔与接触氧化单元连通,其中第Ⅱ过水孔设置在缺氧单元与接触氧化单元共用的侧壁上;缺氧单元侧壁靠近第Ⅱ过水孔处设置有混合液回流管和安装在混合液回流管上的混合液回流泵,该混合液回流管与厌氧折流单元的进水端连通; There is suspended filler I in the anoxic unit, and a submerged aeration and stirring machine is installed floating in the middle; the anoxic unit communicates with the contact oxidation unit through the second water hole, and the second water hole is set in the anoxic unit On the side wall shared with the contact oxidation unit; the side wall of the anoxic unit is provided with a mixed liquid return pipe and a mixed liquid return pump installed on the mixed liquid return pipe near the second water hole. The water inlet end of the baffle unit is connected;
所述接触氧化单元内有悬浮填料Ⅱ,底部设有微孔曝气器;接触氧化单元通过第Ⅲ过水孔与膜生物反应单元连通,其中第Ⅲ过水孔设置在接触氧化单元与膜生物反应单元共用的侧壁上; There is suspended filler II in the contact oxidation unit, and a microporous aerator is installed at the bottom; the contact oxidation unit communicates with the membrane bioreaction unit through the third water hole, and the third water hole is set between the contact oxidation unit and the membrane bioreactor. On the common side wall of the reaction unit;
所述膜生物反应单元内部设置有至少一组膜组器,膜组器顶部设有出水管,该出水管上设置有抽吸泵;膜组器底部设有穿孔曝气器,每组或多组膜组器底部的穿孔曝气器连接风管Ⅱ,风管Ⅱ设有脉冲阀;膜生物反应单元池底设有排泥管,该排泥管与排泥泵连接;膜生物反应单元通过穿墙回流泵与缺氧单元连通,其中穿墙回流泵设置在膜生物反应单元与缺氧单元共用的侧壁下部。 The membrane bioreaction unit is provided with at least one set of membrane units, the top of the membrane units is provided with an outlet pipe, and the outlet pipe is provided with a suction pump; the bottom of the membrane units is provided with a perforated aerator, and each group or more The perforated aerator at the bottom of the membrane stack is connected to the air duct II, and the air duct II is equipped with a pulse valve; the bottom of the membrane bioreaction unit is provided with a sludge discharge pipe, which is connected to the sludge discharge pump; the membrane bioreaction unit passes through The through-wall reflux pump communicates with the anoxic unit, wherein the through-wall reflux pump is arranged at the lower part of the side wall shared by the membrane bioreaction unit and the anoxic unit.
所述第Ⅰ过水孔、第Ⅱ过水孔、第Ⅲ过水孔和穿墙回流泵处优选均垂直设置有筛网。 The first water hole, the second water hole, the third water hole and the backflow pump through the wall are preferably provided with screens vertically.
所述膜组器优选为中空纤维膜组件或平板式膜组件。 The membrane assembly is preferably a hollow fiber membrane module or a flat membrane module.
所述厌氧折流单元优选由多格折流室串联组成,每格折流室中部设立体弹性填料,中间设垂直挡板;每格折流室,底部设置有泥斗,每个泥斗底部设置有抽泥管,该抽泥管与抽泥泵连接。 The anaerobic baffle unit is preferably composed of multiple baffle chambers connected in series, and a body elastic filler is set in the middle of each baffle chamber, and a vertical baffle is arranged in the middle; each baffle chamber is provided with a mud bucket at the bottom, and each mud bucket A mud suction pipe is arranged at the bottom, and the mud suction pipe is connected with a mud suction pump.
所述泥斗优选为锥形泥斗。 The mud bucket is preferably a tapered mud bucket.
下面对本实用新型做进一步解释和说明: The utility model is further explained and illustrated below:
所述厌氧折流单元由多格折流室串联而成,每格折流室下部设置锥形泥斗,每个泥斗底部设置抽泥管,抽泥管连接抽泥泵。每格折流室中部设立体弹性填料,中间设垂直挡板,水流先垂直向下然后绕过挡板再垂直向上折流前进,逐个通过每格进行反应,具有良好的水力流态。 The anaerobic baffle unit is composed of multiple baffle chambers connected in series. A conical mud hopper is arranged at the lower part of each baffle chamber, and a mud suction pipe is arranged at the bottom of each mud hopper, and the mud suction pipe is connected to a mud pump. In the middle of each baffle chamber, there is a body elastic filler, and a vertical baffle is set in the middle. The water flow goes down vertically, then bypasses the baffle, and then deflects vertically upwards. It passes through each baffle one by one to react, and has a good hydraulic flow state.
所述缺氧单元内含悬浮填料,缺氧单元液面浮动安装有液下曝气搅拌两用机,液下曝气搅拌两用机主要起混合搅拌作用,必要时也可曝气。缺氧单元与厌氧折流单元、接触氧化单元及膜生物反应单元的隔墙设置过水孔,过水孔处垂直设置筛网,筛网起隔断各单元悬浮填料的作用。缺氧单元设置混合液回流管,混合液回流管连有混合液回流泵。 The anoxic unit contains suspended fillers. The liquid surface of the anoxic unit floats and is equipped with a submerged aeration and agitation machine. The submerged aeration and agitation machine mainly plays the role of mixing and stirring, and can also aerate when necessary. Anoxic unit, anaerobic baffle unit, contact oxidation unit and membrane bioreaction unit are provided with water holes on the partition walls, and screens are vertically installed at the water holes, and the screens play the role of separating the suspended fillers of each unit. The anoxic unit is provided with a mixed liquid return pipe, and the mixed liquid return pipe is connected with a mixed liquid return pump.
所述接触氧化单元内含悬浮填料,底部设有微孔曝气器,曝气系统提供微生物反应所需的氧量以及维持气固液良好的混合状态。 The contact oxidation unit contains suspended fillers, and a microporous aerator is installed at the bottom. The aeration system provides the oxygen required for microbial reactions and maintains a good mixing state of gas, solid and liquid.
所述膜生物反应单元内设置至少一组膜组器,膜组器采用中空超滤膜组件或平板式微滤膜组件。膜组器采用抽吸泵负压抽吸出水。膜生物反应单元底部设置穿孔曝气器,采用脉冲曝气。接触氧化单元与膜生物反应单元共用的侧壁设置过水孔,过水孔处垂直设置筛网,筛网起隔断各单元悬浮填料的作用。膜生物反应单元与缺氧单元隔墙中下部设置一穿墙回流泵,膜生物反应单元的硝化液通过穿墙回流泵回流至缺氧单元。 At least one set of membrane modules is arranged in the membrane bioreaction unit, and the membrane modules adopt hollow ultrafiltration membrane modules or flat microfiltration membrane modules. The membrane unit adopts the negative pressure of the suction pump to suck out the water. A perforated aerator is installed at the bottom of the membrane bioreactor unit, and pulse aeration is adopted. The side wall shared by the contact oxidation unit and the membrane bioreaction unit is provided with a water hole, and a screen is vertically arranged at the water hole, and the screen plays the role of separating the suspended fillers of each unit. A through-wall reflux pump is provided at the middle and lower part of the partition wall between the membrane bioreaction unit and the anoxic unit, and the nitrifying liquid in the membrane bioreaction unit is returned to the anoxic unit through the through-wall reflux pump.
所述的各单元间过水孔设置筛网隔断各单元悬浮填料;筛网采用不锈钢、玻璃钢、聚氨酯等耐腐蚀材质。悬浮填料选自柱状悬浮填料、球形悬浮填料、聚氨酯生物填料或组合悬浮填料中的一种或几种。 The water holes between the units are provided with screens to cut off the suspended fillers of each unit; the screens are made of corrosion-resistant materials such as stainless steel, glass fiber reinforced plastics, and polyurethane. Suspended fillers are selected from one or more of columnar suspended fillers, spherical suspended fillers, polyurethane biological fillers or combined suspended fillers.
回流比是回流水的体积流量与进水体积流量之比。 The reflux ratio is the ratio of the volume flow of return water to the volume flow of feed water.
气水比是曝气体积风量与进水体积流量之比。 The air-to-water ratio is the ratio of the aeration volume air volume to the water volume flow rate.
本实用新型具有以下特点: The utility model has the following characteristics:
1、厌氧折流单元、缺氧单元及接触氧化单元内具有悬浮生长和附着生长微生物,二者发挥各自的优势,共同承担去除污染物的作用,具有悬浮生长法效率高和附着生长法适应性强和稳定性好的优点,处理能力更强。膜生物反应单元只含悬浮生长微生物,可以控制较低的悬浮污泥浓度(MLSS)及胞外聚合物(EPS)浓度,达到减缓膜污染的目的。 1. The anaerobic baffle unit, the anoxic unit and the contact oxidation unit have suspension growth and attachment growth microorganisms. The two play their respective advantages and jointly undertake the role of removing pollutants. They have high efficiency of suspension growth method and adaptability of attachment growth method. Strong and stable advantages, stronger processing capacity. Membrane bioreaction unit contains only suspended growth microorganisms, which can control lower suspended sludge concentration (MLSS) and extracellular polymer (EPS) concentration to achieve the purpose of slowing membrane fouling.
2、HBR-MBR反应器出水氨氮浓度低于活性污泥MBR,同时抗冲击负荷的能力得到增强。因生物载体的介入而形成的生物膜具有多层结构,从外至内因氧传递阻力的增加而形成氧浓度梯度,进而构成外层以好氧为主、而内层以缺氧或厌氧为主的微环境,有利于提高系统的生物脱氮除磷能力。 2. The concentration of ammonia nitrogen in the effluent of HBR-MBR reactor is lower than that of activated sludge MBR, and the ability to resist impact load is enhanced. The biofilm formed due to the intervention of biological carriers has a multi-layer structure. From the outside to the inside, due to the increase of oxygen transfer resistance, an oxygen concentration gradient is formed, and then the outer layer is mainly aerobic, while the inner layer is anoxic or anaerobic. The main microenvironment is conducive to improving the biological nitrogen and phosphorus removal capacity of the system.
3、采用厌氧折流,能强化厌氧处理效果,减少好氧处理单位体积,从而降低能耗。采用脉冲曝气可以降低MBR曝气能耗,同时可以满足微生物需氧量及膜冲刷条件,维持膜丝表面较高的错流速度,减轻膜污染。 3. The use of anaerobic deflection can strengthen the effect of anaerobic treatment and reduce the unit volume of aerobic treatment, thereby reducing energy consumption. The use of pulse aeration can reduce the energy consumption of MBR aeration, and at the same time, it can meet the microbial oxygen demand and membrane scouring conditions, maintain a high cross-flow velocity on the surface of membrane filaments, and reduce membrane fouling.
4、采用MBR膜技术,取代二沉池,具有MBR工艺的先进性,可以解决在单纯生物膜法中由于脱落生物膜难以沉淀导致悬浮物超标的问题。可以截留不易积累微生物,提高出水品质的同时易于形成泥膜共生体系,强化同步脱氮除磷。 4. The MBR membrane technology is used to replace the secondary sedimentation tank, which has the advanced nature of the MBR process and can solve the problem of excessive suspended solids caused by the difficulty of sedimentation of the exfoliated biofilm in the simple biofilm method. It can intercept microorganisms that are not easy to accumulate, improve the quality of effluent and easily form a mud film symbiosis system, and strengthen simultaneous nitrogen and phosphorus removal.
5、采用新型悬浮填料,直接投放,无须固定,具有生物附着力强、比表面积大、剩余污泥量少等特点。缺氧单元与接触氧化单,接触氧化单元与膜生物反应器之间的过水孔都采用不锈钢筛网,可有效分隔悬浮填料,保持各单元填料的数量。 5. It adopts a new type of suspended filler, which can be put in directly without fixing. It has the characteristics of strong bioadhesion, large specific surface area, and less residual sludge. The anoxic unit and the contact oxidation unit, and the water holes between the contact oxidation unit and the membrane bioreactor are all made of stainless steel screens, which can effectively separate the suspended fillers and maintain the number of fillers in each unit.
与现有技术相比,本实用新型主要优势在于: Compared with the prior art, the main advantages of the utility model are:
本实用新型的装置,使得出水水质优良并可回用,同步脱氮除磷效果好,抗膜污染,能耗低,容积负荷高,运行稳定,占地少。 The device of the utility model makes the effluent quality good and reusable, has good effect of synchronous denitrification and dephosphorization, resists membrane pollution, low energy consumption, high volume load, stable operation, and occupies less land.
附图说明 Description of drawings
图1为本实用新型的泥膜共生复合式膜生物反应器的平面结构示意图; Fig. 1 is the planar structure schematic diagram of mud film symbiosis composite membrane bioreactor of the present utility model;
图2为图1的A-A剖面图; Fig. 2 is the A-A sectional view of Fig. 1;
图3为图1的B-B剖面图; Fig. 3 is the B-B sectional view of Fig. 1;
图4为图1的C-C剖面图; Fig. 4 is the C-C sectional view of Fig. 1;
图5为本实用新型污水处理工艺流程图; Fig. 5 is the utility model sewage treatment process flowchart;
在图中,1-厌氧折流单元;2-缺氧单元;3-接触氧化单元;4-膜生物反应单元;5-进水管;6-折流室;7-立体弹性填料;8-垂直挡板;9-泥斗;10-抽泥管;11-抽泥泵;12-第Ⅰ过水孔;13-悬浮填料Ⅰ;14-曝气搅拌两用机;15-第Ⅱ过水孔;16-混合液回流管;17-混合液回流泵;18-悬浮填料Ⅱ;19-微孔曝气器;20-第Ⅲ过水孔;21-穿孔曝气器;22-膜组器;23-出水管;24-穿墙回流泵;25-筛网;26-抽吸泵;27-排泥管;28-排泥泵;29-脉冲阀;30-鼓风机;31-风管Ⅰ;32-风管Ⅱ。 In the figure, 1-anaerobic baffle unit; 2-anoxic unit; 3-contact oxidation unit; 4-membrane bioreaction unit; 5-inlet pipe; 6-baffle chamber; 7-stereoelastic packing; 8- Vertical baffle; 9- mud hopper; 10- mud pump; 11- mud pump; 12- first water hole; 13- suspended filler Ⅰ; 14- aeration and stirring dual-purpose machine; Hole; 16-Mixed liquid return pipe; 17-Mixed liquid return pump; 18-Suspended packing II; 19-Microporous aerator; 20-Third water hole; 21-Perforated aerator; 22-Membrane group ;23-outlet pipe; 24-wall return pump; 25-screen; 26-suction pump; 27-drain pipe; 28-drain pump; 29-pulse valve; 30-blower; ; 32 - Duct II.
具体实施方式 Detailed ways
下结合附图和实施例对本实用新型做进一步说明。 Below in conjunction with accompanying drawing and embodiment the utility model is described further.
实施例1Example 1
由图1~图5可知,一种泥膜共生复合式膜生物反应器,包括厌氧折流单元(1)、缺氧单元(2)、接触氧化单元(3)和膜生物反应单元(4); It can be seen from Figures 1 to 5 that a mud film symbiosis composite membrane bioreactor includes anaerobic baffle unit (1), anoxic unit (2), contact oxidation unit (3) and membrane bioreaction unit (4 );
所述厌氧折流单元(1)的一侧壁顶部设有进水管(5);厌氧折流单元(1)通过第Ⅰ过水孔(12)与缺氧单元(2)连通,其中第Ⅰ过水孔(12)设置在厌氧折流单元(1)与缺氧单元(2)共用的侧壁上; The top of the side wall of the anaerobic baffle unit (1) is provided with a water inlet pipe (5); the anaerobic baffle unit (1) communicates with the anoxic unit (2) through the first water hole (12), wherein The first water hole (12) is set on the side wall shared by the anaerobic baffle unit (1) and the anoxic unit (2);
所述缺氧单元(2)内有悬浮填料Ⅰ(13),中部浮动安装有液下曝气搅拌两用机(14);缺氧单元(2)通过第Ⅱ过水孔(15)与接触氧化单元(3)连通,其中第Ⅱ过水孔(15)设置在缺氧单元(2)与接触氧化单元(3)共用的侧壁上;缺氧单元(2)侧壁靠近第Ⅱ过水孔(15)处设置有混合液回流管(16)和安装在混合液回流管(16)上的混合液回流泵(17),该混合液回流管(16)与厌氧折流单元(1)的进水端连通; The anoxic unit (2) has a suspended filler I (13) inside, and a submerged aeration and stirring machine (14) is installed floating in the middle; the anoxic unit (2) contacts with the The oxidation unit (3) is connected, wherein the second water passage hole (15) is set on the side wall shared by the anoxic unit (2) and the contact oxidation unit (3); the side wall of the anoxic unit (2) is close to the second water passage The hole (15) is provided with a mixed liquid return pipe (16) and a mixed liquid return pump (17) installed on the mixed liquid return pipe (16), and the mixed liquid return pipe (16) is connected with the anaerobic baffle unit (1 ) connected to the water inlet;
所述接触氧化单元(3)内有悬浮填料Ⅱ(18),底部设有微孔曝气器(19);接触氧化单元(3)通过第Ⅲ过水孔(20)与膜生物反应单元(4)连通,其中第Ⅲ过水孔(20)设置在接触氧化单元(3)与膜生物反应单元(4)共用的侧壁上; The contact oxidation unit (3) has a suspended filler II (18) inside and a microporous aerator (19) at the bottom; the contact oxidation unit (3) communicates with the membrane bioreaction unit ( 4) Connected, wherein the third water hole (20) is set on the side wall shared by the contact oxidation unit (3) and the membrane bioreaction unit (4);
所述膜生物反应单元(4)内部设置有至少一组膜组器(22),膜组器(22)顶部设有出水管(23),该出水管(23)上设置有抽吸泵(26);膜组器(22)底部设有穿孔曝气器(21),每组或多组膜组器底部的穿孔曝气器(21)连接风管Ⅱ(32),风管Ⅱ(32)设有脉冲阀(29);膜生物反应单元(4)池底设有排泥管(27),该排泥管(27)与排泥泵(28)连接;膜生物反应单元(4)通过穿墙回流泵(24)与缺氧单元(2)连通,其中穿墙回流泵(24)设置在膜生物反应单元(4)与缺氧单元(2)共用的侧壁下部。 The membrane bioreaction unit (4) is provided with at least one set of membrane units (22), and the top of the membrane unit (22) is provided with an outlet pipe (23), and the outlet pipe (23) is provided with a suction pump ( 26); the bottom of the membrane unit (22) is provided with perforated aerators (21), and the perforated aerators (21) at the bottom of each group or multiple groups of membrane units are connected to the air duct II (32), and the air duct II (32 ) is equipped with a pulse valve (29); the bottom of the membrane bioreaction unit (4) is provided with a sludge discharge pipe (27), and the sludge discharge pipe (27) is connected to the sludge discharge pump (28); the membrane bioreaction unit (4) The through-wall backflow pump (24) communicates with the anoxic unit (2), wherein the through-wall backflow pump (24) is arranged at the lower part of the side wall shared by the membrane bioreaction unit (4) and the anoxic unit (2).
所述膜组器(22)为中空纤维膜组件或平板式膜组件。 The membrane assembly (22) is a hollow fiber membrane module or a flat membrane module.
所述厌氧折流单元(1)由多格折流室(6)串联组成,每格折流室(6)中部设立体弹性填料(7),中间设垂直挡板(8);每格折流室,底部设置有泥斗(9),每个泥斗底部设置有抽泥管(10),该抽泥管(10)与抽泥泵(11)连接。 The anaerobic baffle unit (1) is composed of multiple baffle chambers (6) connected in series, each baffle chamber (6) has a body elastic filler (7) in the middle, and a vertical baffle (8) in the middle; The baffle chamber is provided with mud hoppers (9) at the bottom, and a mud pumping pipe (10) is arranged at the bottom of each mud hopper, and the mud pumping pipe (10) is connected with the mud pumping pump (11).
所述泥斗(9)为锥形泥斗。 The mud bucket (9) is a tapered mud bucket.
所述第Ⅰ过水孔(12)、第Ⅱ过水孔(15)、第Ⅲ过水孔(20)和穿墙回流泵(24)处均垂直设置有筛网(25)。 The first water hole (12), the second water hole (15), the third water hole (20) and the through-wall return pump (24) are all vertically provided with screens (25).
应用application
经过前端预处理后的污废水(如生活污水经过格栅、沉砂等处理)进入厌氧折流单元,水流先垂直向下然后绕过挡板再垂直向上折流前进,逐个通过每格进行反应,具有良好的水力流态。厌氧折流单元主要完成难降解有机物的水解酸化反应,提高污水可生化性,同时,完成厌氧释磷反应。 Sewage and wastewater after front-end pretreatment (such as domestic sewage treated by grille, sand settling, etc.) enters the anaerobic baffle unit, and the water flows vertically downward, then bypasses the baffle plate, and then vertically upwards, passing through each grid one by one. Reactive, with good hydraulic flow. The anaerobic baffle unit mainly completes the hydrolysis and acidification reaction of refractory organic matter, improves the biodegradability of sewage, and at the same time completes the anaerobic phosphorus release reaction.
所述缺氧单元内含悬浮填料I(柱状悬浮填料),缺氧单元液面浮动安装有液下曝气搅拌两用机,液下曝气搅拌两用机主要起混合搅拌作用,必要时也可曝气。缺氧单元与厌氧折流单元、接触氧化单元及膜生物反应单元的隔墙设置过水孔,过水孔处垂直设置筛网,筛网起隔断各单元悬浮填料的作用。膜生物反应单元硝化液回流至缺氧单元进行反硝化反应,硝酸盐氮变成氮气,完成脱氮。厌氧折流单元出水中的有机物可提供反硝化反应所需的碳源。缺氧单元设置混合液回流管,混合液回流管连有混合液回流泵。缺氧单元出水一部分回流至厌氧折流单元,大大降低了硝态氮对厌氧释磷反应的不良影响,另一部分自流入接触氧化单元。 The anoxic unit contains suspended filler I (columnar suspended filler). The liquid surface of the anoxic unit is floating and equipped with a submerged aeration and agitation machine. Can be aerated. Anoxic unit, anaerobic baffle unit, contact oxidation unit and membrane bioreaction unit are provided with water holes on the partition walls, and screens are vertically installed at the water holes, and the screens play the role of separating the suspended fillers of each unit. The nitrifying liquid in the membrane bioreaction unit flows back to the anoxic unit for denitrification reaction, and the nitrate nitrogen becomes nitrogen gas to complete the denitrification. The organic matter in the effluent of the anaerobic baffle unit can provide the carbon source required for the denitrification reaction. The anoxic unit is provided with a mixed liquid return pipe, and the mixed liquid return pipe is connected with a mixed liquid return pump. Part of the effluent from the anoxic unit flows back to the anaerobic baffle unit, which greatly reduces the adverse effects of nitrate nitrogen on the anaerobic phosphorus release reaction, and the other part flows into the contact oxidation unit.
所述接触氧化单元内含悬浮填料II(柱状悬浮填料),底部设有微孔曝气器,曝气系统提供微生物反应所需的氧量以及维持气固液良好的混合状态。污废水中的有机物在此被微生物氧化降解,氨氮被氧化为硝酸盐氮或亚硝酸盐氮。溶解性磷酸盐被微生物过量吸收,通过排泥得到削减。 The contact oxidation unit contains suspended packing II (columnar suspended packing), and a microporous aerator is installed at the bottom. The aeration system provides the oxygen required for microbial reactions and maintains a good mixing state of gas, solid and liquid. The organic matter in the sewage is oxidized and degraded by microorganisms, and the ammonia nitrogen is oxidized to nitrate nitrogen or nitrite nitrogen. Soluble phosphate is overabsorbed by microorganisms and reduced by sludge discharge.
所述膜生物反应单元内设置多组膜组器,膜组器采用中空纤维膜组件或平板式膜组件。膜组器采用抽吸泵负压抽吸出水。膜生物反应单元底部设置穿孔曝气器,采用脉冲曝气。接触氧化单元与膜生物反应单元间的隔墙设置过水孔,过水孔处垂直设置筛网,筛网起隔断各单元悬浮填料的作用。膜生物反应单元与缺氧单元隔墙中下部设置一穿墙回流泵,膜生物反应单元的硝化液通过穿墙回流泵回流至缺氧单元。膜生物反应单元可进一步降解COD、氨氮及过量吸磷。生物反应单元内悬浮污泥浓度(MLSS)一般控制在2000~2500mg/L,以减缓膜生物反应器膜孔的阻塞。 The membrane bioreaction unit is provided with multiple sets of membrane units, and the membrane units adopt hollow fiber membrane modules or flat-plate membrane modules. The membrane unit adopts the negative pressure of the suction pump to suck out the water. A perforated aerator is installed at the bottom of the membrane bioreactor unit, and pulse aeration is adopted. The partition wall between the contact oxidation unit and the membrane bioreaction unit is provided with a water hole, and a screen is vertically arranged at the water hole, and the screen plays the role of separating the suspended fillers of each unit. A through-wall reflux pump is provided at the middle and lower part of the partition wall between the membrane bioreaction unit and the anoxic unit, and the nitrifying liquid in the membrane bioreaction unit is returned to the anoxic unit through the through-wall reflux pump. The membrane bioreaction unit can further degrade COD, ammonia nitrogen and excess phosphorus uptake. The concentration of suspended sludge (MLSS) in the biological reaction unit is generally controlled at 2000-2500mg/L to slow down the blockage of the membrane pores of the membrane bioreactor.
应用application
用实施例1一种泥膜共生复合式膜生物反应器进行污水处理和回用的方法处理生活污水,具体步骤为: A kind of mud film symbiosis composite membrane bioreactor of embodiment 1 is carried out the method for sewage treatment and reuse to process domestic sewage, concrete steps are:
(1)污水通过进水管进入厌氧折流单元完成水解酸化反应,同时完成厌氧释磷反应,控制厌氧折流单元溶解氧≤0.2mg/L; (1) The sewage enters the anaerobic baffle unit through the water inlet pipe to complete the hydrolysis and acidification reaction, and at the same time complete the anaerobic phosphorus release reaction, and control the dissolved oxygen in the anaerobic baffle unit to ≤0.2mg/L;
(2)厌氧折流单元出水进入缺氧单元反应,控制缺氧单元溶解氧≤0.5mg/L;缺氧单元出水一部分(混合液)回流至厌氧折流单元,控制回流比25%-100%,另一部分进入接触氧化单元,控制接触氧化单元溶解氧2mg/L -6mg/L;污废水中的有机物在接触氧化单元被微生物氧化降解,氨氮被氧化为硝酸盐氮或亚硝酸盐氮;溶解性磷酸盐被微生物过量吸收,通过排泥得到削减; (2) The effluent from the anaerobic baffle unit enters the anoxic unit to react, and the dissolved oxygen in the anoxic unit is controlled to be ≤0.5mg/L; part of the effluent (mixed liquid) from the anoxic unit is returned to the anaerobic baffle unit, and the reflux ratio is controlled to 25%- 100%, the other part enters the contact oxidation unit, and the dissolved oxygen in the contact oxidation unit is controlled to 2mg/L-6mg/L; the organic matter in the sewage is oxidized and degraded by microorganisms in the contact oxidation unit, and the ammonia nitrogen is oxidized to nitrate nitrogen or nitrite nitrogen ;Soluble phosphate is excessively absorbed by microorganisms and reduced by sludge discharge;
(3)接触氧化单元出水进入膜生物反应单元处理后通过抽吸泵负压抽吸出水,控制膜生物反应单元溶解氧2mg/L-6mg/L,悬浮污泥浓度2000 mg/L~2500 mg/L,膜生物反应单元采用脉冲阀控制风量,进行脉冲曝气以降低曝气能耗,平均气水比≤15:1;膜生物反应单元出水通过抽吸泵从膜组件顶部抽出;膜生物反应单元的含亚硝酸盐或硝酸盐氮的泥水混合液(硝化液)部分回流至缺氧单元进行反硝化反应,控制回流比50%-200%,其中亚硝酸盐或硝酸盐氮反硝化成氮气,完成脱氮。 (3) After the effluent from the contact oxidation unit enters the membrane bioreaction unit for treatment, the effluent is sucked by the suction pump under negative pressure to control the dissolved oxygen of the membrane bioreaction unit to 2mg/L-6mg/L, and the concentration of suspended sludge to be 2000mg/L~2500mg /L, the membrane bioreaction unit uses a pulse valve to control the air volume, and performs pulse aeration to reduce the energy consumption of aeration. Part of the mud-water mixture (nitrification liquid) containing nitrite or nitrate nitrogen in the reaction unit is returned to the anoxic unit for denitrification reaction, and the reflux ratio is controlled at 50%-200%, in which nitrite or nitrate nitrogen is denitrified into Nitrogen to complete denitrification.
其中,进水水质:COD平均值302.6mg/L,BOD5平均值114.2mg/L,NH3-N平均值19.8mg/L,TP平均值1.56mg/L。 Among them, the influent water quality: the average value of COD is 302.6 mg/L, the average value of BOD 5 is 114.2 mg/L, the average value of NH 3 -N is 19.8 mg/L, and the average value of TP is 1.56 mg/L.
出水水质:COD平均值25.6mg/L,BOD5平均值4.4mg/L,NH3-N平均值1.8mg/L,TP平均值0.34mg/L,出水浊度小于1NTU。出水经消毒后满足《城市城市污水再生利用 城市杂用水水质》(GBT 18920-2002)城市杂用水水质标准,可回用作为该小区绿化用水或冲厕用水。 Outlet water quality: COD average 25.6mg/L, BOD 5 average 4.4mg/L, NH 3 -N average 1.8mg/L, TP average 0.34mg/L, effluent turbidity less than 1NTU. After disinfection, the effluent meets the urban miscellaneous water quality standard of "Urban Sewage Recycling and Utilization Urban Miscellaneous Water Quality" (GBT 18920-2002), and can be reused as water for greening or flushing toilets in the community.
去除率:COD 91.5%,BOD5 96.1%,NH3-N 90.9%,TP 78.2%。 Removal rate: COD 91.5%, BOD 5 96.1%, NH 3 -N 90.9%, TP 78.2%.
运行工艺条件:厌氧折流单元(1)的水力停留时间1h,溶解氧≤0.2mg/L;缺氧单元(2)的水力停留时间1.5h,溶解氧≤0.5mg/L;接触氧化单元(3)的水力停留时间3h,溶解氧2-6mg/L;膜生物反应单元(4)的水力停留时间1.5h,溶解氧2-6mg/L,悬浮污泥浓度2000~2500 mg/L,平均气水比≤15:1。 Operating process conditions: the hydraulic retention time of the anaerobic baffle unit (1) is 1h, and the dissolved oxygen is ≤0.2mg/L; the hydraulic retention time of the anoxic unit (2) is 1.5h, and the dissolved oxygen is ≤0.5mg/L; the contact oxidation unit (3) hydraulic retention time 3h, dissolved oxygen 2-6mg/L; membrane bioreaction unit (4) hydraulic retention time 1.5h, dissolved oxygen 2-6mg/L, suspended sludge concentration 2000-2500 mg/L, The average air-water ratio is ≤15:1.
Claims (5)
Priority Applications (1)
| Application Number | Priority Date | Filing Date | Title |
|---|---|---|---|
| CN201220477226.7U CN202766387U (en) | 2012-09-19 | 2012-09-19 | Mud-membrane symbiotic hybrid membrane bioreactor |
Applications Claiming Priority (1)
| Application Number | Priority Date | Filing Date | Title |
|---|---|---|---|
| CN201220477226.7U CN202766387U (en) | 2012-09-19 | 2012-09-19 | Mud-membrane symbiotic hybrid membrane bioreactor |
Publications (1)
| Publication Number | Publication Date |
|---|---|
| CN202766387U true CN202766387U (en) | 2013-03-06 |
Family
ID=47772975
Family Applications (1)
| Application Number | Title | Priority Date | Filing Date |
|---|---|---|---|
| CN201220477226.7U Expired - Lifetime CN202766387U (en) | 2012-09-19 | 2012-09-19 | Mud-membrane symbiotic hybrid membrane bioreactor |
Country Status (1)
| Country | Link |
|---|---|
| CN (1) | CN202766387U (en) |
Cited By (3)
| Publication number | Priority date | Publication date | Assignee | Title |
|---|---|---|---|---|
| CN102826655A (en) * | 2012-09-19 | 2012-12-19 | 中国水电顾问集团中南勘测设计研究院 | Mud film intergrowth combined type membrane bioreactor and method for treating and recycling sewage thereof |
| CN104944686A (en) * | 2015-05-29 | 2015-09-30 | 江苏建筑职业技术学院 | Complete equipment used for dispersing dirty waste water and deeply processing |
| CN108689549A (en) * | 2017-04-12 | 2018-10-23 | 天津华水水务工程有限公司 | A kind of high-efficient carrier biological membrane type purifier |
-
2012
- 2012-09-19 CN CN201220477226.7U patent/CN202766387U/en not_active Expired - Lifetime
Cited By (4)
| Publication number | Priority date | Publication date | Assignee | Title |
|---|---|---|---|---|
| CN102826655A (en) * | 2012-09-19 | 2012-12-19 | 中国水电顾问集团中南勘测设计研究院 | Mud film intergrowth combined type membrane bioreactor and method for treating and recycling sewage thereof |
| CN102826655B (en) * | 2012-09-19 | 2013-09-04 | 中国水电顾问集团中南勘测设计研究院 | Mud film intergrowth combined type membrane bioreactor and method for treating and recycling sewage thereof |
| CN104944686A (en) * | 2015-05-29 | 2015-09-30 | 江苏建筑职业技术学院 | Complete equipment used for dispersing dirty waste water and deeply processing |
| CN108689549A (en) * | 2017-04-12 | 2018-10-23 | 天津华水水务工程有限公司 | A kind of high-efficient carrier biological membrane type purifier |
Similar Documents
| Publication | Publication Date | Title |
|---|---|---|
| WO2021253637A1 (en) | A/o-mbbr process-based integrated sewage treatment device and sewage treatment method | |
| CN102838205B (en) | External continuous flow aerobic granular sludge membrane bioreactor | |
| CN104909520A (en) | MABR-MBR combined type sewage treatment device and treatment method | |
| CN101318758A (en) | A water treatment process combining air flotation and biological filter | |
| CN103435232B (en) | AABR (Anaerobic Baffled Reactor)-compound type MBR (Membrane Biological Reactor) integrated device and method for treating organic wastewater | |
| CN205258127U (en) | Circulating flow ring type multi-section mud-film symbiotic combined bioreactor | |
| CN108585385B (en) | An MBBR sewage treatment system and treatment process | |
| CN102951731B (en) | Airlift oxidation ditch type membrane bioreactor | |
| CN102515431A (en) | Integrated technology for high efficiency nitrogen and phosphorus removal based on sludge emission reduction and device thereof | |
| CN108689486A (en) | A kind of continuous flow granular sludge reactor and operation method | |
| CN217809105U (en) | Integrated town sewage treatment device | |
| CN210103554U (en) | Chemical industry tail water strengthens denitrification facility | |
| CN102285715B (en) | Composite membrane bioreactor for mustard mustard wastewater treatment | |
| CN212025101U (en) | MBR integration sewage treatment plant | |
| CN202766387U (en) | Mud-membrane symbiotic hybrid membrane bioreactor | |
| CN203112666U (en) | Hybrid dynamic membrane bioreactor | |
| CN102826655B (en) | Mud film intergrowth combined type membrane bioreactor and method for treating and recycling sewage thereof | |
| CN205328793U (en) | Formula sewage treatment plant is used to MABR and MBR antithetical couplet | |
| CN101306877B (en) | A method for treating sewage with a composite membrane bioreactor | |
| CN208345988U (en) | A kind of small-town sewage treatment system based on anaerobism MBR technology | |
| CN215249861U (en) | FMNR nano diatom high-efficiency bioreactor | |
| CN213171940U (en) | High-efficient sewage treatment system of modularization integrated form | |
| CN109534593A (en) | A kind of multi-stage aerobic reinforced phosphor-removing APO-M system and technique | |
| CN112499894A (en) | Integrated MBBR (moving bed biofilm reactor) process for treating high-organic high-ammonia nitrogen industrial wastewater | |
| CN217202420U (en) | TMBR sewage treatment system based on MABR and MBR |
Legal Events
| Date | Code | Title | Description |
|---|---|---|---|
| C14 | Grant of patent or utility model | ||
| GR01 | Patent grant | ||
| AV01 | Patent right actively abandoned |
Granted publication date: 20130306 Effective date of abandoning: 20130904 |
|
| AV01 | Patent right actively abandoned |
Granted publication date: 20130306 Effective date of abandoning: 20130904 |
|
| RGAV | Abandon patent right to avoid regrant |

