CN202764491U - Writing brush - Google Patents

Writing brush Download PDF

Info

Publication number
CN202764491U
CN202764491U CN 201220494600 CN201220494600U CN202764491U CN 202764491 U CN202764491 U CN 202764491U CN 201220494600 CN201220494600 CN 201220494600 CN 201220494600 U CN201220494600 U CN 201220494600U CN 202764491 U CN202764491 U CN 202764491U
Authority
CN
China
Prior art keywords
writing brush
cotton body
penholder
writing
nib
Prior art date
Legal status (The legal status is an assumption and is not a legal conclusion. Google has not performed a legal analysis and makes no representation as to the accuracy of the status listed.)
Expired - Fee Related
Application number
CN 201220494600
Other languages
Chinese (zh)
Inventor
吴万钧
Current Assignee (The listed assignees may be inaccurate. Google has not performed a legal analysis and makes no representation or warranty as to the accuracy of the list.)
Individual
Original Assignee
Individual
Priority date (The priority date is an assumption and is not a legal conclusion. Google has not performed a legal analysis and makes no representation as to the accuracy of the date listed.)
Filing date
Publication date
Application filed by Individual filed Critical Individual
Priority to CN 201220494600 priority Critical patent/CN202764491U/en
Application granted granted Critical
Publication of CN202764491U publication Critical patent/CN202764491U/en
Anticipated expiration legal-status Critical
Expired - Fee Related legal-status Critical Current

Links

Images

Landscapes

  • Pens And Brushes (AREA)

Abstract

The utility model discloses a writing brush which is composed of a writing brush rod, a cotton body and a writing brush head. The writing brush is characterized in that the cotton body is arranged on the lower portion of the writing brush rod, and the writing brush head is arranged below the cotton body. When the writing brush is used, a calligrapher holds the writing brush rod with hand, dips the writing brush head into thick ink, and then the calligrapher can enjoy writing with the writing brush. The writing brush has the advantages of being simple in design, low in cost, capable of improving calligraphy creation efficiency, and high in practicability.

Description

A kind of writing brush
Technical field
The utility model relates to a kind of writing brush, relates in particular to the writing brush that leaves cotton body on a kind of penholder, belongs to the writing brush technical field.
Background technology
At present, increasing calligraphist likes at the wall autograph or creates, dip in thick ink and just coming back when lifting arm and writing when nib is full, prepared Chinese ink flows back to the calligraphist on hand along the shaft of a writing brush, severe jamming the calligraphist write mood and creation passion, before the utility model is not made, without the use of the writing brush that leaves cotton body on the penholder, the patent searching document, open without the technical scheme of this technology.
Summary of the invention
In order to overcome in the prior art deficiency without the writing brush that leaves cotton body on the penholder, the purpose of this utility model is the writing brush that leaves cotton body on a kind of penholder in order to provide, this writing brush is because leaving cotton body at penholder, stoped prepared Chinese ink to flow back to the phenomenon of the shaft of a writing brush from nib, write on a wall better and write thereby be conducive to the calligraphist.
The technical scheme that its technical problem that solves the utility model adopts is: be comprised of penholder, cotton body, nib, it is characterized in that the penholder bottom leaves cotton body, nib is left in cotton body lower end, during use, the calligraphist holds penholder and allows nib satisfy and dips in thick ink, just can write on a wall heartily and write.
The beneficial effects of the utility model are simplicity of design, and are with low cost, can improve calligraphy creation efficient, and practicality is larger.
Description of drawings
The utility model is described in further detail below in conjunction with drawings and Examples.
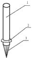
Fig. 1 is schematic diagram of the present utility model.
1. penholders among Fig. 1,2. cotton body, 3. nib.
The specific embodiment
The utility model is comprised of penholder 1, cotton body 2, nib 3, it is characterized in that penholder 1 bottom leaves cotton body 2, and nib 3 is left in cotton body 2 lower ends, and during use, the calligraphist holds penholder 1 and allows nib 3 is full dips in thick ink, just can write on a wall heartily and write.

Claims (1)

1. writing brush is comprised of penholder (1), cotton body (2), nib (3), it is characterized in that penholder (1) bottom leaves cotton body (2), and nib (3) is left in cotton body (2) lower end.
CN 201220494600 2012-09-26 2012-09-26 Writing brush Expired - Fee Related CN202764491U (en)

Priority Applications (1)

Application Number Priority Date Filing Date Title
CN 201220494600 CN202764491U (en) 2012-09-26 2012-09-26 Writing brush

Applications Claiming Priority (1)

Application Number Priority Date Filing Date Title
CN 201220494600 CN202764491U (en) 2012-09-26 2012-09-26 Writing brush

Publications (1)

Publication Number Publication Date
CN202764491U true CN202764491U (en) 2013-03-06

Family

ID=47771088

Family Applications (1)

Application Number Title Priority Date Filing Date
CN 201220494600 Expired - Fee Related CN202764491U (en) 2012-09-26 2012-09-26 Writing brush

Country Status (1)

Country Link
CN (1) CN202764491U (en)

Similar Documents

Publication Publication Date Title
CN202764491U (en) Writing brush
CN202782299U (en) Writing brush
CN202782298U (en) Writing brush
CN202965601U (en) Writing brush
CN202428880U (en) Writing brush with spring
CN202944080U (en) Multifunctional pencil
CN202062858U (en) Square brush pen
CN202088710U (en) Triangle writing brush
CN202413019U (en) Spring brush pen
CN202952710U (en) Pen with USB disk
CN202242509U (en) Convenient sign pen
CN202242515U (en) Multi-head ball pen
CN201913943U (en) Fountain pen convenient for correcting
CN202242482U (en) Brush pen
CN202965613U (en) Writing brush
CN202528643U (en) Writing brush tip
CN202213369U (en) Writing brush with bent head
CN202225616U (en) Gel-ink pen
CN202378572U (en) Rubber eraser
CN202213377U (en) Multifunctional pen
CN202319388U (en) Pen refill
CN201816313U (en) Pen with safety pen cap
CN202062859U (en) Semicircular ink brush
CN201777012U (en) Refill-replaceable pen
CN201685588U (en) Multipurpose pen

Legal Events

Date Code Title Description
C14 Grant of patent or utility model
GR01 Patent grant
C17 Cessation of patent right
CF01 Termination of patent right due to non-payment of annual fee

Granted publication date: 20130306

Termination date: 20130926