CN202761741U - Sputum collecting container - Google Patents
Sputum collecting container Download PDFInfo
- Publication number
- CN202761741U CN202761741U CN 201220506815 CN201220506815U CN202761741U CN 202761741 U CN202761741 U CN 202761741U CN 201220506815 CN201220506815 CN 201220506815 CN 201220506815 U CN201220506815 U CN 201220506815U CN 202761741 U CN202761741 U CN 202761741U
- Authority
- CN
- China
- Prior art keywords
- container
- container body
- sputum
- cavity
- side wall
- Prior art date
- Legal status (The legal status is an assumption and is not a legal conclusion. Google has not performed a legal analysis and makes no representation as to the accuracy of the status listed.)
- Expired - Fee Related
Links
Images
Landscapes
- External Artificial Organs (AREA)
Abstract
一种痰液收集容器,其特征在于包括容器体和容器盖,容器体上端设有容器开口,容器盖安装在容器开口上;容器体的后侧壁上设有与气管插管中的接口部件相配合的连接套筒,连接套筒的后端与容器体的后侧壁连接,连接套筒的腔体与容器体的腔体连通;容器体的左侧壁和右侧壁上分别设有一通孔。本实用新型连接到气管切开手术后所用的气管插管上,使气管插管露在体外的一端连通容器体的腔体,病人产生的痰液自气管插管喷出后,被痰液收集容器遮挡并收集,有效防止气管切开的病人的痰液喷射到周围环境中。本实用新型结构简单,制作成本较低,且使用方便,有利于推广应用。
A sputum collection container is characterized in that it includes a container body and a container cover, the upper end of the container body is provided with a container opening, and the container cover is installed on the container opening; the rear side wall of the container body is provided with an interface part with the endotracheal tube The matching connecting sleeve, the rear end of the connecting sleeve is connected to the rear side wall of the container body, and the cavity of the connecting sleeve communicates with the cavity of the container body; the left side wall and the right side wall of the container body are respectively provided with a through hole. The utility model is connected to the endotracheal intubation used after the tracheotomy operation, so that one end of the endotracheal intubation exposed outside the body is connected to the cavity of the container body, and the sputum produced by the patient is collected by the sputum after being ejected from the endotracheal intubation The container is shielded and collected, effectively preventing the sputum of the tracheotomized patient from spraying into the surrounding environment. The utility model has the advantages of simple structure, low manufacturing cost and convenient use, which is beneficial to popularization and application.
Description
技术领域 technical field
本实用新型涉及医疗器械,具体地说,涉及一种痰液收集容器。 The utility model relates to a medical device, in particular to a sputum collection container.
背景技术 Background technique
在临床急救中,对于呼吸道梗阻病人,常施行气管切开手术,气管切开后插入气管插管,以重建呼吸道。所用的气管插管一般包括导管、气囊、充气管、充气阀和固定板;气囊设于导管一端,充气管设于导管一侧(充气管通常紧贴导管壁),充气阀经充气管与气囊连通,导管另一端通常设有接口部件,通过接口部件可将气管插管与呼吸机连接;导管中段与固定板连接,固定板两端分别设有穿带孔,固定板两端的穿带孔用于安装系带。使用时,导管设有气囊的一端经气管切口插入气管内,直至固定板贴住病人颈部前侧;然后通过充气阀、充气管对气囊充气,使气囊膨胀并贴住气管内壁;通过系带将固定板两端连接后,系带置于病人颈部后侧,从而将气管插管的位置固定。然而,在插管过程中及插管之后,病人气管受刺激时容易引发病人剧烈咳嗽,痰液经气管插管向外喷射,会对周围环境造成污染。 In clinical first aid, for patients with airway obstruction, tracheotomy is often performed, and tracheal intubation is inserted after tracheotomy to reconstruct the airway. The tracheal intubation used generally includes a catheter, a balloon, an inflation tube, an inflation valve and a fixed plate; Connected, the other end of the catheter is usually equipped with an interface part, through which the endotracheal tube can be connected to the ventilator; For installing straps. When in use, the end of the catheter with the air bag is inserted into the trachea through the tracheal incision until the fixed plate sticks to the front of the patient's neck; After the two ends of the fixing plate are connected, the tie is placed on the back of the patient's neck, thereby fixing the position of the endotracheal tube. However, during and after the intubation process, when the patient's trachea is stimulated, it is easy to cause the patient to cough violently, and the sputum is sprayed outward through the tracheal intubation, which will pollute the surrounding environment.
发明内容 Contents of the invention
本实用新型所要解决的技术问题是提供一种痰液收集容器,这种痰液收集容器能够收集自气管插管喷出的痰液,有效防止气管切开的病人的痰液喷射到周围环境中。采用的技术方案如下: The technical problem to be solved by the utility model is to provide a sputum collection container, which can collect the sputum ejected from the tracheal intubation, and effectively prevent the sputum of patients with tracheotomy from being sprayed into the surrounding environment . The technical scheme adopted is as follows:
一种痰液收集容器,其特征在于包括容器体和容器盖,容器体上端设有容器开口,容器盖安装在容器开口上;容器体的后侧壁上设有与气管插管中的接口部件相配合的连接套筒,连接套筒的后端与容器体的后侧壁连接,连接套筒的腔体与容器体的腔体连通;容器体的左侧壁和右侧壁上分别设有一通孔。 A sputum collection container is characterized in that it includes a container body and a container cover, the upper end of the container body is provided with a container opening, and the container cover is installed on the container opening; the rear side wall of the container body is provided with an interface part with the endotracheal tube The matching connecting sleeve, the rear end of the connecting sleeve is connected to the rear side wall of the container body, and the cavity of the connecting sleeve communicates with the cavity of the container body; the left side wall and the right side wall of the container body are respectively provided with a through hole.
使用时,气管插管的接口部件嵌入连接套筒的腔体内;连接套筒的内表面与接口部件的外表面形状及尺寸相匹配,使得依靠接口部件的外表面与连接套筒的内表面之间的摩擦力,即可使接口部件与连接套筒可靠连接。接口部件与连接套筒连接后,气管插管中的导管经接口部件的腔体与容器体的腔体连通,这样,自气管插管射出的痰液被收集在容器体的腔体内,不会向外喷溅。连接套筒的后端与容器体的后侧壁连接,这样,连接套筒处在容器体的腔体内,结构更加紧凑,使用时痰液收集容器更靠近病人颈部。 When in use, the interface part of the endotracheal tube is embedded in the cavity of the connection sleeve; the inner surface of the connection sleeve matches the shape and size of the outer surface of the interface part, so that the gap between the outer surface of the interface part and the inner surface of the connection sleeve The friction force between them can make the interface part and the connecting sleeve reliably connected. After the interface part is connected with the connecting sleeve, the catheter in the endotracheal tube communicates with the cavity of the container body through the cavity of the interface part, so that the sputum ejected from the endotracheal tube is collected in the cavity of the container body without Splash outward. The rear end of the connecting sleeve is connected with the rear side wall of the container body, so that the connecting sleeve is in the cavity of the container body, the structure is more compact, and the sputum collection container is closer to the patient's neck during use.
上述设于容器体左侧壁和右侧壁上的通孔起到下述作用:(1)可供输氧管插入,以增加氧气供应;(2)可供冲洗管插入,冲洗管通入湿化液以湿化呼吸道中的分泌物,便于分泌物的抽吸;(3)透气作用,外界空气可经上述通孔、容器体的腔体、气管插管进入病人体内,病人呼出的气体可经气管插管、容器体的腔体、上述通孔排出。通常,上述通孔处于连接套筒上方。 The above-mentioned through holes on the left side wall and the right side wall of the container body play the following roles: (1) for the insertion of the oxygen supply tube to increase the oxygen supply; (2) for the insertion of the flushing tube, which leads to the wet The liquid is used to humidify the secretions in the respiratory tract, which is convenient for the suction of the secretions; (3) the function of ventilation, the outside air can enter the patient's body through the above-mentioned through holes, the cavity of the container body, and the endotracheal tube, and the gas exhaled by the patient can It is discharged through the endotracheal tube, the cavity of the container body, and the above-mentioned through hole. Usually, the above-mentioned through hole is located above the connecting sleeve.
优选方案中,上述容器体上设有出痰管,出痰管一端与容器体腔体的底部连通,出痰管另一端上设有管端盖。当容器体内收集的痰液较多时,拔下管端盖,并使出痰管与吸痰器连接,通过吸痰器将容器体内的痰液吸出,一方面可防止痰液过多而阻塞气管插管,另一方面可使整个痰液收集容器保持较轻的重量。上述管端盖可通过一连接带与容器体或出痰管连接,以防止管端盖拔下后丢失。 In a preferred solution, the container body is provided with a sputum discharge tube, one end of the sputum discharge tube communicates with the bottom of the cavity of the container body, and the other end of the sputum discharge tube is provided with a tube end cover. When there is a lot of sputum collected in the container, unplug the end cap of the tube, and connect the sputum tube to the sputum suction device, and suck out the sputum in the container through the sputum suction device. On the one hand, it can prevent excessive sputum from blocking the trachea Intubation, on the other hand, allows the entire sputum collection container to remain light in weight. The above-mentioned pipe end cap can be connected with the container body or the sputum discharge pipe through a connecting band, so as to prevent the pipe end cap from being lost after being pulled off.
优选方案中,上述容器盖包括下盖和上盖,上盖处于下盖上方,下盖安装在容器开口上;下盖中心部位设有定位轴,上盖中心部位设有定位孔,定位轴处于定位孔中,定位轴上端具有限位部,上盖处于限位部下方(即上盖处于下盖与限位部之间);上盖包括上封盖部和上透气部,上透气部上设有透气窗口;下盖包括下封盖部和下透气部,下透气部上设有多个透气孔。上盖可绕定位轴相对于下盖转动,从而改变透气窗口的位置。当某个透气孔处在透气窗口范围内时,容器体的腔体通过该透气孔、透气窗口与外界连通,该透气孔起到透气作用;当某个透气孔被上封盖部遮盖住时,该透气孔不能起到透气作用,这样,通过改变透气窗口的位置,使不同数量的透气孔处在透气窗口范围内,可调节容器体的透气能力。 In a preferred solution, the above-mentioned container cover includes a lower cover and an upper cover, the upper cover is located above the lower cover, and the lower cover is installed on the opening of the container; In the positioning hole, the upper end of the positioning shaft has a limiting part, and the upper cover is below the limiting part (that is, the upper cover is between the lower cover and the limiting part); the upper cover includes an upper cover part and an upper ventilating part, and the upper ventilating part Ventilation windows are provided; the lower cover includes a lower sealing part and a lower ventilating part, and a plurality of ventilating holes are arranged on the lower ventilating part. The upper cover can rotate around the positioning shaft relative to the lower cover, thereby changing the position of the ventilation window. When a certain vent hole is within the range of the vent window, the cavity of the container body communicates with the outside world through the vent hole and the vent window, and the vent hole acts as a breather; when a certain vent hole is covered by the upper cover , the ventilation hole can not play a ventilating effect, like this, by changing the position of the ventilation window, different numbers of ventilation holes are in the range of the ventilation window, and the ventilation capacity of the container body can be adjusted.
本实用新型连接到气管切开手术后所用的气管插管上,使气管插管露在体外的一端连通容器体的腔体,病人产生的痰液自气管插管喷出后,被痰液收集容器遮挡并收集,有效防止气管切开的病人的痰液喷射到周围环境中。本实用新型结构简单,制作成本较低,且使用方便,有利于推广应用。 The utility model is connected to the endotracheal intubation used after the tracheotomy operation, so that one end of the endotracheal intubation exposed outside the body is connected to the cavity of the container body, and the sputum produced by the patient is collected by the sputum after being ejected from the endotracheal intubation The container is shielded and collected, effectively preventing the sputum of the tracheotomized patient from spraying into the surrounding environment. The utility model has the advantages of simple structure, low manufacturing cost and convenient use, which is beneficial to popularization and application.
附图说明 Description of drawings
图1是本实用新型优选实施例的结构示意图; Fig. 1 is the structural representation of the preferred embodiment of the utility model;
图2是本实用新型优选实施例的使用状态示意图。 Fig. 2 is a schematic view of the use state of the preferred embodiment of the present invention.
具体实施方式 Detailed ways
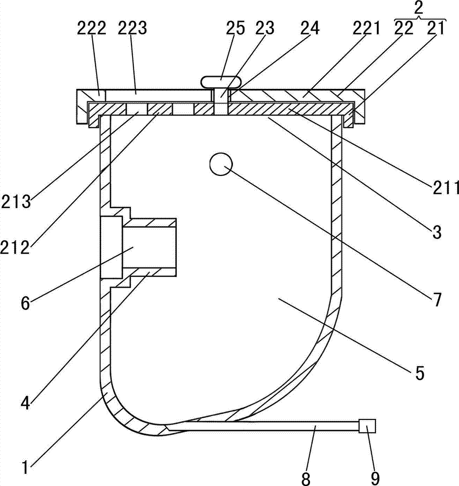
如图1所示,这种痰液收集容器包括容器体1和容器盖2,容器体1上端设有容器开口3,容器盖2安装在容器开口3上;容器体1的后侧壁上设有与气管插管中的接口部件相配合的连接套筒4,连接套筒4的后端与容器体1的后侧壁连接(连接套筒4处在容器体1的腔体5内),连接套筒4的腔体6与容器体1的腔体5连通;容器体1的左侧壁和右侧壁上分别设有一通孔7。容器体1上设有出痰管8,出痰管8一端与容器体1的腔体5的底部连通,出痰管8另一端上设有管端盖9。
As shown in Figure 1, this sputum collection container comprises container body 1 and
本实施例中,容器盖2包括下盖21和上盖22,上盖22处于下盖21上方,下盖21安装在容器开口3上;下盖21中心部位设有定位轴23,上盖22中心部位设有定位孔24,定位轴23处于定位孔24中,定位轴23上端具有限位部25,上盖22处于限位部25下方(即上盖22处于下盖21与限位部25之间);上盖22包括上封盖部221和上透气部222,上透气部222上设有透气窗口223;下盖21包括下封盖部211和下透气部212,下透气部212上设有多个透气孔213。上盖22可绕定位轴23相对于下盖21转动,从而改变透气窗口223的位置。当某个透气孔213处在透气窗口223范围内时,容器体1的腔体5通过该透气孔213、透气窗口223与外界连通,该透气孔213起到透气作用;当某个透气孔213被上封盖部221遮盖住时,该透气孔213不能起到透气作用,这样,通过改变透气窗口223的位置,使不同数量的透气孔213处在透气窗口223范围内,可调节容器体1的透气能力。
In this embodiment, the
参考图2,气管插管包括导管11、气囊12、充气管13、充气阀14和固定板15;气囊12设于导管11一端,充气管13设于导管11一侧(充气管13紧贴导管11的壁),充气阀14经充气管13与气囊12连通,导管11另一端设有接口部件16;导管11中段与固定板15连接,固定板15两端分别设有穿带孔,固定板15两端的穿带孔用于安装系带;连接套筒4的内表面与接口部件16的外表面形状及尺寸相匹配。使用时,可先将气管插管的接口部件16嵌入连接套筒4的腔体6内,使接口部件16与连接套筒4连接;然后导管11设有气囊12的一端经气管切口插入气管内,直至固定板15贴住病人颈部前侧;然后通过充气阀14、充气管13对气囊12充气,使气囊12膨胀并贴住气管内壁;通过系带将固定板15两端连接后,系带置于病人颈部后侧,从而将气管插管的位置固定,接口部件16及痰液收集容器露在体外。另外,也可以先完成气管插管的插入及固定后,再将气管插管的接口部件16嵌入连接套筒4的腔体6内,使接口部件16与连接套筒4连接。
With reference to Fig. 2, endotracheal intubation comprises
接口部件16与连接套筒4连接后,气管插管中的导管11经接口部件16的腔体与容器体1的腔体5连通,这样,自导管11射出的痰液被收集在容器体1的腔体5内。
After the
当容器体1内收集的痰液较多时,拔下管端盖9,并使出痰管8与吸痰器连接,通过吸痰器将容器体1内的痰液吸出。
When the sputum collected in the container body 1 was more, unplug the tube end cover 9, and make the
需要增加氧气供应时,可将输氧管经一通孔7插入容器体的腔体中;需要湿化呼吸道中的分泌物时,可将冲洗管经另一通孔7、容器体1的腔体5、接口部件16插入导管11中,自冲洗管通入湿化液。
When it is necessary to increase the oxygen supply, the oxygen supply tube can be inserted into the cavity of the container body through a through
必要时,可打开容器盖2,经容器开口3将吸痰管伸入导管11中,进行吸痰。
When necessary, the
Claims (2)
Priority Applications (1)
| Application Number | Priority Date | Filing Date | Title |
|---|---|---|---|
| CN 201220506815 CN202761741U (en) | 2012-09-29 | 2012-09-29 | Sputum collecting container |
Applications Claiming Priority (1)
| Application Number | Priority Date | Filing Date | Title |
|---|---|---|---|
| CN 201220506815 CN202761741U (en) | 2012-09-29 | 2012-09-29 | Sputum collecting container |
Publications (1)
| Publication Number | Publication Date |
|---|---|
| CN202761741U true CN202761741U (en) | 2013-03-06 |
Family
ID=47768352
Family Applications (1)
| Application Number | Title | Priority Date | Filing Date |
|---|---|---|---|
| CN 201220506815 Expired - Fee Related CN202761741U (en) | 2012-09-29 | 2012-09-29 | Sputum collecting container |
Country Status (1)
| Country | Link |
|---|---|
| CN (1) | CN202761741U (en) |
Cited By (1)
| Publication number | Priority date | Publication date | Assignee | Title |
|---|---|---|---|---|
| CN107469164A (en) * | 2017-09-05 | 2017-12-15 | 吴伟祥 | A kind of clinical medicine tracheae product phlegm suction instrument |
-
2012
- 2012-09-29 CN CN 201220506815 patent/CN202761741U/en not_active Expired - Fee Related
Cited By (1)
| Publication number | Priority date | Publication date | Assignee | Title |
|---|---|---|---|---|
| CN107469164A (en) * | 2017-09-05 | 2017-12-15 | 吴伟祥 | A kind of clinical medicine tracheae product phlegm suction instrument |
Similar Documents
| Publication | Publication Date | Title |
|---|---|---|
| CN106110457B (en) | A kind of sputum elimination machine and its respirator system | |
| CN201333207Y (en) | Disposable sealed sputum suction tube | |
| CN202961429U (en) | Double saccule trachea cannula | |
| CN112494732B (en) | Sputum aspirator for deep cleaning artificial airway | |
| CN207253558U (en) | A kind of tracheal tube with suction sputum chamber | |
| CN203694321U (en) | Trachea cannula with phlegm suction cavity | |
| CN102727979A (en) | Double-layer cuff trachea cannula | |
| CN202859823U (en) | Multifunctional laryngeal respirator | |
| CN202761741U (en) | Sputum collecting container | |
| CN202777129U (en) | Sputum collecting container | |
| CN106512171A (en) | Tracheostomy catheter | |
| CN202179726U (en) | Closed suction device | |
| CN215386730U (en) | Trachea cannula structure capable of clearing accumulated sputum | |
| CN202478359U (en) | Air bag suction catheter with inner tube | |
| CN203447602U (en) | Trachea cannula | |
| CN202283384U (en) | Multi-functional tracheal tube | |
| CN203989372U (en) | Novel tracheotomy tube | |
| CN201939842U (en) | Multifunctional trachea sheath | |
| CN206138542U (en) | But trachea cannula of trachea surface anesthesia function | |
| CN208785511U (en) | A kind of artificial airway manages anti-bite part and artificial airway's pipe based on the anti-bite part | |
| CN221411919U (en) | An infection-preventing device for off-ventilator exercise | |
| CN220632676U (en) | Integral type sputum aspirator and connecting tube structure | |
| CN207085042U (en) | Novel oxygen breathing tube trachea cannula | |
| CN207886501U (en) | A kind of disposable sputum-suction trachea cannula | |
| CN205515887U (en) | Respiratory tube sputum treater |
Legal Events
| Date | Code | Title | Description |
|---|---|---|---|
| C14 | Grant of patent or utility model | ||
| GR01 | Patent grant | ||
| C17 | Cessation of patent right | ||
| CF01 | Termination of patent right due to non-payment of annual fee |
Granted publication date: 20130306 Termination date: 20130929 |
