CN202756109U - Natural gas engine cylinder cover - Google Patents
Natural gas engine cylinder cover Download PDFInfo
- Publication number
- CN202756109U CN202756109U CN201220405095.1U CN201220405095U CN202756109U CN 202756109 U CN202756109 U CN 202756109U CN 201220405095 U CN201220405095 U CN 201220405095U CN 202756109 U CN202756109 U CN 202756109U
- Authority
- CN
- China
- Prior art keywords
- cylinder head
- spark plug
- natural gas
- gas engine
- engine cylinder
- Prior art date
- Legal status (The legal status is an assumption and is not a legal conclusion. Google has not performed a legal analysis and makes no representation as to the accuracy of the status listed.)
- Expired - Lifetime
Links
- VNWKTOKETHGBQD-UHFFFAOYSA-N methane Chemical compound C VNWKTOKETHGBQD-UHFFFAOYSA-N 0.000 title claims abstract description 26
- 239000003345 natural gas Substances 0.000 title claims abstract description 13
- 238000009434 installation Methods 0.000 claims abstract description 17
- 230000002093 peripheral effect Effects 0.000 claims description 4
- 238000007789 sealing Methods 0.000 abstract description 16
- XLYOFNOQVPJJNP-UHFFFAOYSA-N water Substances O XLYOFNOQVPJJNP-UHFFFAOYSA-N 0.000 description 4
- 230000009286 beneficial effect Effects 0.000 description 1
- 238000000034 method Methods 0.000 description 1
- 238000000844 transformation Methods 0.000 description 1
- 230000009466 transformation Effects 0.000 description 1
Images
Classifications
-
- Y—GENERAL TAGGING OF NEW TECHNOLOGICAL DEVELOPMENTS; GENERAL TAGGING OF CROSS-SECTIONAL TECHNOLOGIES SPANNING OVER SEVERAL SECTIONS OF THE IPC; TECHNICAL SUBJECTS COVERED BY FORMER USPC CROSS-REFERENCE ART COLLECTIONS [XRACs] AND DIGESTS
- Y02—TECHNOLOGIES OR APPLICATIONS FOR MITIGATION OR ADAPTATION AGAINST CLIMATE CHANGE
- Y02T—CLIMATE CHANGE MITIGATION TECHNOLOGIES RELATED TO TRANSPORTATION
- Y02T10/00—Road transport of goods or passengers
- Y02T10/10—Internal combustion engine [ICE] based vehicles
- Y02T10/30—Use of alternative fuels, e.g. biofuels
Landscapes
- Ignition Installations For Internal Combustion Engines (AREA)
Abstract
本实用新型公开了一种天然气发动机用气缸盖,包括气缸盖本体,所述气缸盖本体上设有火花塞衬套安装孔,所述火花塞衬套安装孔的底部设有与火花塞衬套配合且具有密封性能的内螺纹。该天然气发动机用气缸盖密封性好,同时便于加工和装配。
The utility model discloses a cylinder head for a natural gas engine, which comprises a cylinder head body. The cylinder head body is provided with a spark plug bush installation hole. Internal thread for sealing performance. The cylinder head for the natural gas engine has good sealing performance and is convenient for processing and assembling.
Description
技术领域 technical field
本实用新型涉及天然气发动机技术领域,尤其是涉及一种天然气发动机用气缸盖。The utility model relates to the technical field of natural gas engines, in particular to a cylinder head for natural gas engines.
背景技术 Background technique
现有技术中的天然气发动机气缸盖与火花塞衬套间通过过盈配合密封,火花塞衬套压入气缸盖时容易压偏导致气缸盖漏水,如果水沿着火花塞进入气缸,就会造成启动困难和动力不足故障。同时,现有技术中的火花塞衬套安装孔相对于气缸盖底平面为斜孔,不便于加工和装配。In the prior art, the cylinder head of the natural gas engine and the spark plug bushing are sealed by interference fit. When the spark plug bushing is pressed into the cylinder head, it is easy to be biased and cause the cylinder head to leak water. If water enters the cylinder along the spark plug, it will cause difficulty in starting and power loss. Insufficient failure. Simultaneously, the mounting hole of the spark plug bush in the prior art is an oblique hole relative to the bottom plane of the cylinder head, which is not convenient for processing and assembling.
实用新型内容 Utility model content
本实用新型所要解决的技术问题是:提供一种天然气发动机用气缸盖,密封性好,同时便于加工和装配。The technical problem to be solved by the utility model is to provide a cylinder head for a natural gas engine, which has good sealing performance and is convenient for processing and assembling.
为解决上述技术问题,本实用新型的技术方案是:天然气发动机用气缸盖,包括气缸盖本体,所述气缸盖本体上设有火花塞衬套安装孔,所述火花塞衬套安装孔的底部设有与火花塞衬套配合且具有密封性能的内螺纹。In order to solve the above-mentioned technical problems, the technical solution of the utility model is: the cylinder head for natural gas engine includes a cylinder head body, the cylinder head body is provided with a spark plug bushing installation hole, and the bottom of the spark plug bushing installation hole is provided with The internal thread that cooperates with the spark plug bushing and has sealing performance.
优选的,所述火花塞衬套安装孔的顶端的内周面设有至少一个用于安装密封圈的环形凹槽。Preferably, the inner peripheral surface of the top end of the installation hole of the spark plug bush is provided with at least one annular groove for installing a sealing ring.
优选的,所述火花塞衬套安装孔的轴线与气缸盖的安装端面垂直。Preferably, the axis of the installation hole of the spark plug bush is perpendicular to the installation end surface of the cylinder head.
采用了上述技术方案,本实用新型的有益效果为:由于设计了上述的天然气发动机用气缸盖,火花塞衬套安装孔的底部设有与火花塞衬套配合且具有密封性能的内螺纹,气缸盖与火花塞衬套间通过螺纹配合密封,有效避免了发动机因渗水而造成的启动困难和动力不足。Adopting the above-mentioned technical scheme, the beneficial effects of the utility model are: due to the design of the above-mentioned cylinder head for the natural gas engine, the bottom of the spark plug bushing installation hole is provided with an internal thread that cooperates with the spark plug bushing and has sealing performance, and the cylinder head and the The spark plug bushes are sealed through thread fit, which effectively avoids the difficulty of starting the engine and the lack of power caused by water seepage.
由于火花塞衬套安装孔的顶端的内周面设有用于安装密封圈的环形凹槽,进一步增强了气缸盖与火花塞衬套间的密封性。Since the inner peripheral surface of the top end of the spark plug bush installation hole is provided with an annular groove for installing the sealing ring, the sealing between the cylinder head and the spark plug bush is further enhanced.
由于火花塞衬套安装孔的轴线与气缸盖的安装端面垂直,便于火花塞衬套安装孔的加工及火花塞衬套的装配。Since the axis of the installation hole of the spark plug bush is perpendicular to the installation end face of the cylinder head, it is convenient for the processing of the installation hole of the spark plug bush and the assembly of the spark plug bush.
附图说明 Description of drawings
附图是本实用新型实施例的结构示意图;Accompanying drawing is the structural representation of the utility model embodiment;
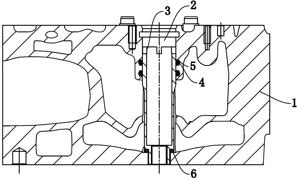
其中:1、气缸盖本体;2、火花塞衬套安装孔;3、火花塞衬套;4、密封圈;5、环形凹槽;6、密封垫圈。Among them: 1. Cylinder head body; 2. Spark plug bushing installation hole; 3. Spark plug bushing; 4. Sealing ring; 5. Annular groove; 6. Sealing washer.
具体实施方式 Detailed ways
下面结合附图和实施例对本实用新型进一步说明。Below in conjunction with accompanying drawing and embodiment the utility model is further described.
如附图所示,天然气发动机用气缸盖,包括气缸盖本体1,气缸盖本体1上设有火花塞衬套安装孔2,火花塞衬套安装孔2的底部设有与火花塞衬套3配合且具有密封性能的内螺纹,气缸盖本体1与火花塞衬套3间通过螺纹配合密封,有效避免了发动机因渗水而造成的启动困难和动力不足,需要说明的是,本实施例中的具有密封性能的螺纹采用为55°角的密封螺纹。火花塞衬套安装孔2的顶端的内周面设有两个用于安装密封圈4的环形凹槽5,进一步增强了气缸盖本体1与火花塞衬套3间的密封性。火花塞衬套安装孔2的轴线与气缸盖本体1的安装端面垂直,便于火花塞衬套安装孔2的加工及火花塞衬套3的装配。As shown in the drawings, the cylinder head for a natural gas engine includes a
当然,环形凹槽5的数量也可以为一个或者多个;另外,在火花塞衬套安装孔2与火花塞衬套3的螺纹连接处设有密封垫圈6。Of course, the number of annular grooves 5 can also be one or more; in addition, a sealing
本实用新型不局限于上述具体的实施方式,本领域的普通技术人员从上述构思出发,不经过创造性的劳动,所作出的种种变换,均落在本实用新型的保护范围之内。The utility model is not limited to the above-mentioned specific implementation manners, and various transformations made by those skilled in the art starting from the above-mentioned ideas without creative work all fall within the protection scope of the utility model.
Claims (3)
Priority Applications (1)
| Application Number | Priority Date | Filing Date | Title |
|---|---|---|---|
| CN201220405095.1U CN202756109U (en) | 2012-08-15 | 2012-08-15 | Natural gas engine cylinder cover |
Applications Claiming Priority (1)
| Application Number | Priority Date | Filing Date | Title |
|---|---|---|---|
| CN201220405095.1U CN202756109U (en) | 2012-08-15 | 2012-08-15 | Natural gas engine cylinder cover |
Publications (1)
| Publication Number | Publication Date |
|---|---|
| CN202756109U true CN202756109U (en) | 2013-02-27 |
Family
ID=47735296
Family Applications (1)
| Application Number | Title | Priority Date | Filing Date |
|---|---|---|---|
| CN201220405095.1U Expired - Lifetime CN202756109U (en) | 2012-08-15 | 2012-08-15 | Natural gas engine cylinder cover |
Country Status (1)
| Country | Link |
|---|---|
| CN (1) | CN202756109U (en) |
Cited By (5)
| Publication number | Priority date | Publication date | Assignee | Title |
|---|---|---|---|---|
| CN103573460A (en) * | 2013-11-06 | 2014-02-12 | 中国第一汽车股份有限公司 | Cylinder cover sparking plug steel sleeve linkage structure |
| CN107061045A (en) * | 2017-01-25 | 2017-08-18 | 无锡开普机械有限公司 | The sealing structure of spark plug |
| CN109026422A (en) * | 2018-08-09 | 2018-12-18 | 襄阳美标朗源动力实业有限公司 | A kind of strong cylinder head of leakproofness for natural gas engine |
| CN109519297A (en) * | 2019-01-03 | 2019-03-26 | 广西玉柴机器股份有限公司 | A kind of novel natural gas engine cylinder cap |
| CN112012867A (en) * | 2020-03-05 | 2020-12-01 | 广西玉柴机器股份有限公司 | An integrated spark plug sheath structure |
-
2012
- 2012-08-15 CN CN201220405095.1U patent/CN202756109U/en not_active Expired - Lifetime
Cited By (5)
| Publication number | Priority date | Publication date | Assignee | Title |
|---|---|---|---|---|
| CN103573460A (en) * | 2013-11-06 | 2014-02-12 | 中国第一汽车股份有限公司 | Cylinder cover sparking plug steel sleeve linkage structure |
| CN107061045A (en) * | 2017-01-25 | 2017-08-18 | 无锡开普机械有限公司 | The sealing structure of spark plug |
| CN109026422A (en) * | 2018-08-09 | 2018-12-18 | 襄阳美标朗源动力实业有限公司 | A kind of strong cylinder head of leakproofness for natural gas engine |
| CN109519297A (en) * | 2019-01-03 | 2019-03-26 | 广西玉柴机器股份有限公司 | A kind of novel natural gas engine cylinder cap |
| CN112012867A (en) * | 2020-03-05 | 2020-12-01 | 广西玉柴机器股份有限公司 | An integrated spark plug sheath structure |
Similar Documents
| Publication | Publication Date | Title |
|---|---|---|
| CN202756109U (en) | Natural gas engine cylinder cover | |
| CN201925304U (en) | Screw plug | |
| CN202468120U (en) | Fuel injector gasket | |
| CN202353993U (en) | Motor drive controller | |
| CN101956623B (en) | Cylinder head assembly | |
| CN202019166U (en) | Explosion-proof junction box | |
| CN204113471U (en) | Double-layer water jacket cylinder cap membrane support sealing configuration | |
| CN204088880U (en) | A kind of mounting structure of spark plug protective sleeve | |
| CN203362334U (en) | Cylinder head cover of diesel engine | |
| CN201925038U (en) | Cylinder head for gas engine | |
| CN203477659U (en) | Engine fuel oil pipeline | |
| CN204243702U (en) | A kind of sealing ring of protecting pipe | |
| CN203670023U (en) | Oil injector, diesel engine and sealing part for oil injector | |
| CN202440897U (en) | Floor drain core | |
| CN202371350U (en) | Oil tube joint seal connection structure | |
| CN203547956U (en) | External side lug type air cylinder cushion structure | |
| CN203822519U (en) | Natural gas engine ignition system | |
| CN205260154U (en) | Automobile engine end cover | |
| CN205136870U (en) | Fire oil pipe connection structure | |
| CN203731356U (en) | Waterproof structure for flashlight lamp cap | |
| CN202424050U (en) | Sealing structure in explosion-proof conjunction box | |
| CN203532261U (en) | Oil separating system of air compressor | |
| CN204257321U (en) | Bobbin seal structure | |
| CN204921163U (en) | Carbocycle device is scraped to diesel engine | |
| CN103410630B (en) | Diesel engine cylinder head cover |
Legal Events
| Date | Code | Title | Description |
|---|---|---|---|
| C14 | Grant of patent or utility model | ||
| GR01 | Patent grant | ||
| C56 | Change in the name or address of the patentee |
Owner name: WEICHAI XIGANG NEW ENERGY POWER CO., LTD. Free format text: FORMER NAME: WEICHAI POWER SIGNATURE NEW ENERGY ENGINE CO., LTD. |
|
| CP01 | Change in the name or title of a patent holder |
Address after: 261061 Shandong city in Weifang province Fu hi tech Industrial Development Zone, East Street No. 197 Patentee after: WEICHAI XIGANG NEW ENERGY POWER Co.,Ltd. Address before: 261061 Shandong city in Weifang province Fu hi tech Industrial Development Zone, East Street No. 197 Patentee before: WEICHAI POWER XIGANG NEW ENERGY ENGINE Co.,Ltd. |
|
| CX01 | Expiry of patent term | ||
| CX01 | Expiry of patent term |
Granted publication date: 20130227 |
