CN202749204U - Shrapnel type extractor device of high-voltage bushing end screen - Google Patents

Shrapnel type extractor device of high-voltage bushing end screen Download PDF

Info

Publication number
CN202749204U
CN202749204U CN 201220416616 CN201220416616U CN202749204U CN 202749204 U CN202749204 U CN 202749204U CN 201220416616 CN201220416616 CN 201220416616 CN 201220416616 U CN201220416616 U CN 201220416616U CN 202749204 U CN202749204 U CN 202749204U
Authority
CN
China
Prior art keywords
end screen
lead
connecting rod
screen
voltage bushing
Prior art date
Legal status (The legal status is an assumption and is not a legal conclusion. Google has not performed a legal analysis and makes no representation as to the accuracy of the status listed.)
Expired - Fee Related
Application number
CN 201220416616
Other languages
Chinese (zh)
Inventor
邹国平
何文林
孙翔
刘浩军
胡文堂
王文浩
Current Assignee (The listed assignees may be inaccurate. Google has not performed a legal analysis and makes no representation or warranty as to the accuracy of the list.)
Electric Power Research Institute of State Grid Zhejiang Electric Power Co Ltd
State Grid Corp of China SGCC
Original Assignee
Electric Power Research Institute of State Grid Zhejiang Electric Power Co Ltd
State Grid Corp of China SGCC
Priority date (The priority date is an assumption and is not a legal conclusion. Google has not performed a legal analysis and makes no representation as to the accuracy of the date listed.)
Filing date
Publication date
Application filed by Electric Power Research Institute of State Grid Zhejiang Electric Power Co Ltd, State Grid Corp of China SGCC filed Critical Electric Power Research Institute of State Grid Zhejiang Electric Power Co Ltd
Priority to CN 201220416616 priority Critical patent/CN202749204U/en
Application granted granted Critical
Publication of CN202749204U publication Critical patent/CN202749204U/en
Anticipated expiration legal-status Critical
Expired - Fee Related legal-status Critical Current

Links

Images

Landscapes

  • Insulators (AREA)

Abstract

本实用新型公开了一种高压套管末屏弹片式引出装置,用于引出外伸于末屏外壳的末屏引出线上的电流,包括:与末屏外壳相连并形成容置末屏引出线的容置腔的保护外壳;一端外伸于保护外壳,另一端置于容置腔内的导电连接杆;设置在导电连接杆上,并在另一端形成与末屏引出线配合的容纳口且导电的弹性连接片。本实用新型中弹性连接片与末屏引出线接触,并通过与弹性连接片相连的导电连接杆延伸到保护外壳的外部,使得测量方便,简单易行。该装置中导电连接杆与末屏引出线之间通过弹性连接片相连,且该弹性连接片的一端形成可以容纳末屏引出线的容纳口,从而有效保证了导电连接杆与末屏引出线连接的可靠性,进而提高了测量结果的稳定性。

Figure 201220416616

The utility model discloses a shrapnel-type lead-out device for the end screen of a high-voltage bushing, which is used to lead out the current on the lead-out line of the end screen extending from the shell of the end screen. The protective casing of the containing cavity; one end protrudes from the protective casing, and the other end is placed in the conductive connecting rod in the containing cavity; the conductive connecting rod is arranged on the conductive connecting rod, and an accommodating opening is formed on the other end to cooperate with the lead-out line of the end screen; Conductive elastic connectors. In the utility model, the elastic connecting piece is in contact with the lead-out line of the last screen, and extends to the outside of the protective shell through the conductive connecting rod connected with the elastic connecting piece, so that the measurement is convenient and simple. In the device, the conductive connecting rod and the lead-out wire of the last screen are connected through an elastic connecting piece, and one end of the elastic connecting piece forms an accommodating opening that can accommodate the lead-out wire of the last screen, thereby effectively ensuring the connection between the conductive connecting rod and the lead-out wire of the last screen reliability, thereby improving the stability of the measurement results.

Figure 201220416616

Description

High-voltage bushing end screen elastic sheet type leading-out device
Technical Field
The utility model relates to a transformer technical field especially relates to a high-tension bushing end screen shell fragment formula draw-out device.
Background
The bushing is an important component of the power transformer and mainly realizes the connection, the insulation to the ground and the supporting function of the outgoing line in the transformer. Since the operating conditions of the casing are very severe, it often gradually deteriorates or is damaged due to environmental influences, leading to grid failures. In order to ensure the normal operation of the power grid, effective preventive tests and online monitoring of the casing pipes are required.
In order to distribute the electric field uniformly, the high-voltage bushing is composed of a plurality of metal screens and an insulating layer between the screens, the last screen is the last screen for connecting with the ground equipotential, the high-voltage bushing must be reliably grounded during operation, and the connection with the ground potential needs to be disconnected during preventive tests so as to detect the capacitance and dielectric loss of the bushing. The bushing insulation on-line monitoring device needs to measure leakage current from a bushing end screen, one end of a current leading-out device is connected with an end screen leading-out wire of the bushing end screen, and the other end of the current leading-out device is connected to the current measuring device and then grounded. However, the field installation procedure of the existing end screen leading-out device is complicated, the contact between the end screen leading-out device and the end screen leading-out device is point contact, the reliability of the contact is poor, and the measurement result is unstable.
In summary, how to ensure reliable contact of the end screen outgoing line to improve the stability of the measurement result has become a technical problem to be solved urgently by those skilled in the art.
SUMMERY OF THE UTILITY MODEL
The utility model aims at providing a high-tension bushing end screen shell fragment formula draw-out device to guarantee the reliable connection of end screen lead-out wire, improve measuring result's stability.
In order to solve the technical problem, the utility model provides a following technical scheme:
a high tension bushing end screen shrapnel type extraction device for extracting current extending out of an end screen extraction line of an end screen shell comprises:
the protective shell is connected with the end screen shell and forms a containing cavity for containing the end screen outgoing line;
one end of the conductive connecting rod extends out of the protective shell, and the other end of the conductive connecting rod is arranged in the accommodating cavity;
and one end of the elastic connecting piece is provided with a containing opening matched with the end screen outgoing line and is conductive, and the elastic connecting piece is connected with the conductive connecting rod.
Preferably, in the above high-voltage bushing end-screen elastic piece type lead-out device, the elastic connecting piece includes:
the fixed section is connected with the conductive connecting rod;
symmetrical arrangement forms hold the mouth and set up respectively the first joint section and the second joint section at the both ends of canned paragraph, first joint section with the upper end contact of end screen lead-out wire, the second joint section with the lower extreme contact of end screen lead-out wire.
Preferably, in the above high-voltage bushing end screen elastic sheet type lead-out device, the first clamping section and the second clamping section are both spring sheets.
Preferably, in the above-mentioned high-voltage bushing end screen elastic sheet type lead-out device, the first clamping section and the second clamping section are both provided with a straight line segment attached to the end screen lead-out wire.
Preferably, in the above-mentioned high-voltage bushing end screen elastic sheet type leading-out device, one side of the fixed section is kept away from in the first clamping stage and one side of the fixed section is kept away from in the second clamping stage all sets up the interface section of outdiffusion.
Preferably, in the above high-voltage bushing end screen elastic sheet type leading-out device, the end screen casing is connected with the protective casing through screw thread fit.
Preferably, in the above high-voltage bushing end screen elastic sheet type lead-out device, an inner insulating sleeve disposed on an inner wall of the accommodating cavity is further included.
Preferably, in the above high-voltage bushing end screen elastic sheet type leading-out device, the conductive connecting rod is fixed on the protective casing through a fixing nut.
Preferably, in the above-mentioned high-voltage bushing end shield elastic sheet type lead-out device, a sealing insulating gasket disposed between the fixing nut and the protective casing and a sealing insulating member disposed between the protective casing and the end shield casing are further included.
In the above technical scheme, the utility model provides a high-tension bushing end screen shell fragment formula extraction element for draw forth the electric current that stretches out on the end screen lead-out wire of end screen shell, include: the protective shell is connected with the end screen shell and forms a containing cavity for containing the end screen outgoing line; one end of the conductive connecting rod extends out of the protective shell, and the other end of the conductive connecting rod is arranged in the accommodating cavity; the conductive elastic connecting piece is arranged on the conductive connecting rod, and a containing opening matched with the end screen outgoing line is formed at the other end of the conductive elastic connecting piece. The utility model discloses an elastic connection piece and end screen lead-out wire contact to extend to protecting sheathing's outside through the electrically conductive connecting rod that links to each other with elastic connection piece, make the measurement convenient, simple and easy has accomplished promptly and has drawn the purpose with sleeve pipe end screen electric current. Meanwhile, the conductive connecting rod and the end screen outgoing line in the device are connected through the elastic connecting sheet, and a containing hole capable of containing the end screen outgoing line is formed at one end of the elastic connecting sheet, so that the reliability of connection of the conductive connecting rod and the end screen outgoing line is effectively guaranteed, and the stability of a measuring result is improved.
Drawings
In order to more clearly illustrate the embodiments of the present invention or the technical solutions in the prior art, the drawings needed to be used in the embodiments of the present invention or the description of the prior art will be briefly described below, it is obvious that the drawings in the following description are only some embodiments of the present invention, and for those skilled in the art, other drawings can be obtained according to these drawings without creative efforts.
Fig. 1 is a schematic structural diagram of a high-voltage bushing end screen elastic sheet type lead-out device according to an embodiment of the present invention;
FIG. 2 is a right side view of FIG. 1;
fig. 3 is an installation diagram of the high-voltage bushing end screen elastic sheet type lead-out device provided by the embodiment of the present invention.
Wherein,
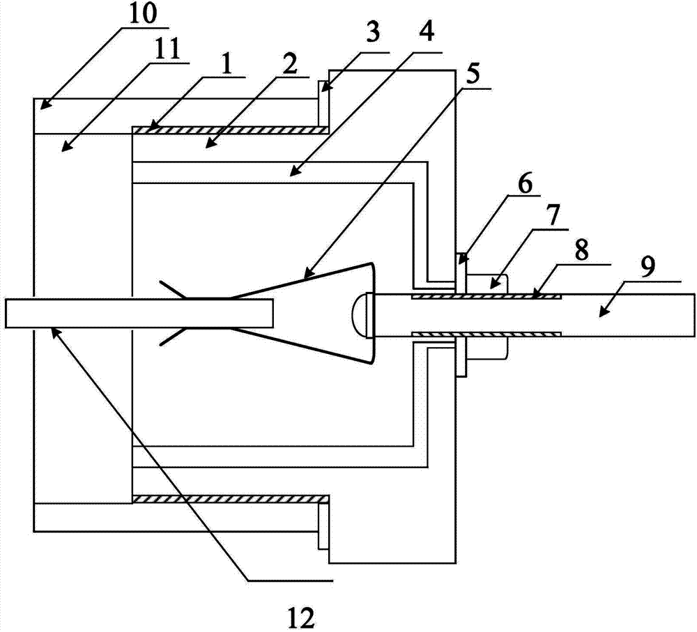
1 is a protective shell thread, 2 is a protective shell, 3 is a sealing insulating piece, 4 is an inner insulating sleeve, 5 is an elastic connecting sheet, 6 is a sealing insulating washer, 7 is a fixing nut, 8 is a conductive connecting rod thread, 9 is a conductive connecting rod, 10 is a end screen shell, 11 is an end screen insulating piece and 12 is an end screen outgoing line.
Detailed Description
The core of the utility model is to provide a high-tension bushing end screen shell fragment formula draw-out device to guarantee the reliable connection of end screen lead-out wire, improve measuring result's stability.
In order to make the technical solution of the present invention better understood by those skilled in the art, the present invention will be further described in detail with reference to the accompanying drawings and specific embodiments.
Referring to fig. 1-3, an embodiment of the present invention discloses a high voltage bushing end shield elastic sheet type leading-out device, for leading out a current extending out of an end shield outgoing line 12 of an end shield shell 10, including: the protective shell 2 is connected with the end screen shell 10 and forms a containing cavity for containing an end screen outgoing line 12; one end of the conductive connecting rod extends out of the protective shell 2, and the other end of the conductive connecting rod is arranged in the accommodating cavity; one end of the elastic connecting sheet 5 is provided with a containing opening matched with the end screen outgoing line 12 and is conductive, and the elastic connecting sheet 5 is connected with the conductive connecting rod 9.
The utility model discloses an elastic connection piece 5 contacts with end screen lead-out wire 12 to extend to protecting sheathing 2's outside through the electrically conductive connecting rod 9 that links to each other with elastic connection piece 5, make the measurement convenient, simple and easy has accomplished the electric current with the sleeve pipe end screen promptly and has drawn the purpose. Meanwhile, in the device, the conductive connecting rod 9 is connected with the end screen outgoing line 12 through the elastic connecting sheet 5, and one end of the elastic connecting sheet 5 forms a containing hole capable of containing the end screen outgoing line 12, so that the reliability of connection between the conductive connecting rod 9 and the end screen outgoing line 12 is effectively guaranteed, and the stability of a measuring result is improved.
The embodiment of the utility model provides an in provide a specific structure of elastic connection piece 5, this elastic connection piece 5 includes: a fixed section connected to the conductive connection rod 9; the first clamping section and the second clamping section are symmetrically arranged to form accommodating openings and are respectively arranged at two ends of the fixing section, the first clamping section is in contact with the upper end of the end screen outgoing line 12, and the second clamping section is in contact with the lower end of the end screen outgoing line 12. Through the setting, the point contact between the conductive connecting rod 9 and the end screen outgoing line 12 is set to be line contact, so that the contact stability between the conductive connecting rod and the end screen outgoing line is improved, and the structure is simple and the production cost is low. In the actual use process, the connection of the end screen outgoing lines 12 with different sizes can be realized by adjusting the size and the distance of the accommodating port, and the use range is effectively enlarged.
It will be appreciated by those skilled in the art that in practice, the elastic connecting piece 5 may also be arranged with one end fixed to the conductive connecting rod 9 and the other end provided with a mounting ring cooperating with the end screen lead-out wire 12. In the using process, the mounting ring is sleeved on the end screen outgoing line 12, the surface contact between the mounting ring and the end screen outgoing line 12 is realized, the purpose of increasing the contact area between the conductive connecting rod 9 and the end screen outgoing line 12 can also be realized by the mode, and the measuring stability is improved.
In a specific embodiment, the first clamping stage and the second clamping stage are both provided as spring pieces, one end of each spring piece is fixed on the fixed section of the elastic connecting sheet 5, and the other end of each spring piece is in contact with the end screen outgoing line 12. Due to the elasticity, the end screen lead-out wire 12 can be in close contact with the end screen lead-out wire 12 during use. Through the arrangement mode, the application range of the device is further improved.
In order to further increase the contact area between the end screen outgoing line 12 and the conductive connecting rod 9, the first clamping section and the second clamping section provided in this embodiment are both provided with straight segments attached to the end screen outgoing line, and the contact area between the elastic connecting sheet 9 and the end screen outgoing line 12 in the axial direction is increased through the above arrangement, so that the contact area between the end screen outgoing line 12 and the conductive connecting rod 9 is further increased.
Further, in order to guarantee that end screen lead-out wire 12 can be fast and stable stretch into the holding opening of elastic connection piece 5, and prevent that both from taking place wearing and tearing in the butt joint of holding opening department, one side of keeping away from the canned paragraph in this implementation at first joint section and one side that the canned paragraph was kept away from to the second joint stage have all set up the interface section of outdiffusion to in order to provide the location to the installation of end screen lead-out wire 12, the safety of the interface of effective protection has in addition avoided wearing and tearing.
In the specific embodiment, the connection between the end screen shell and the protection shell is realized through the threads arranged on the end screen shell 10 and the protection shell threads 1 arranged on the protection shell 2, so that the sealing performance of the device is effectively ensured, and the connection mode has a simple structure and low cost. It will be appreciated by those skilled in the art that the two may also be secured by bolts and sealed by gaskets.
In order to ensure the insulation property of the high-voltage bushing end screen elastic sheet type leading-out device and prevent the device from generating the problem of electric leakage, the inner insulating sleeve 4 is arranged on the inner wall of the accommodating cavity in the embodiment. The inner insulating sleeve 4 prevents the current at the end screen lead-out wire 12 from leaking through the protective shell 2 and influencing the measuring result. This interior insulating cover 4 can be the rubber sleeve, also can be other insulating material, and all in this embodiment protection scope. Specifically, the end screen outgoing line 12 is supported by the end screen insulating member 11, and meanwhile, the end screen insulating member 11 effectively ensures insulation between the end screen outgoing line 12 and the end screen shell 10.
In the preferred embodiment, in order to ensure the connection stability of the conductive connection rod 9, a conductive connection rod thread 8 is provided on the conductive connection rod 9 and fixed on the protective shell 2 by a fixing nut 7 matched with the conductive connection rod thread 8. In the actual use process, the positions of the conductive connecting rods 9 can be adjusted to adapt to end screen outgoing lines 12 with different lengths.
Furthermore, in order to ensure the insulation and tightness of the bushing end shield leading-out device, the embodiment further comprises a sealing insulation gasket 6 arranged between the fixing nut 7 and the protective shell 2 and a sealing insulation member 3 arranged between the protective shell 2 and the end shield shell 10. Through the arrangement, the device is good in overall insulation and sealing performance, simple in structure, low in production cost and wide in application range.
It is right above that the utility model provides a high-tension bushing end screen shell fragment formula eduction gear has carried out detailed introduction. The principles and embodiments of the present invention have been explained herein using specific examples, and the above descriptions of the embodiments are only used to help understand the method and its core ideas of the present invention. It should be noted that, for those skilled in the art, without departing from the principle of the present invention, the present invention can be further modified and modified, and such modifications and modifications also fall within the protection scope of the appended claims.

Claims (9)

1. A high tension bushing end screen shrapnel type extraction device for extracting current which extends out of an end screen extraction line (12) of an end screen shell (10), which is characterized in that the device comprises:
the protective shell (2) is connected with the end screen shell (10) and forms a containing cavity for containing the end screen outgoing line (12);
one end of the conductive connecting rod (9) extends out of the protective shell (2), and the other end of the conductive connecting rod is arranged in the accommodating cavity;
one end of the elastic connecting piece (5) is provided with a containing opening matched with the end screen outgoing line (12) and is conductive, and the elastic connecting piece (5) is connected with the conductive connecting rod (9).
2. The high voltage bushing end screen flip chip extractor device according to claim 1, wherein said elastic connection piece (5) comprises:
a fixed section connected with the conductive connecting rod (9);
symmetrical arrangement forms hold the mouth and set up respectively the first joint section and the second joint section at the both ends of canned paragraph, first joint section with the upper end contact of end screen lead-out wire (12), the second joint section with the lower extreme contact of end screen lead-out wire (12).
3. The high voltage bushing end screen flip chip extraction device of claim 2, wherein the first clamping section and the second clamping section are both spring tabs.
4. The high voltage bushing end screen elastic sheet type lead-out device according to claim 2, wherein the first clamping section and the second clamping section are provided with straight segments attached to the end screen lead-out wire (12).
5. The high voltage bushing end screen elastic piece type leading-out device as claimed in claim 4, wherein one side of the first clamping section far away from the fixed section and one side of the second clamping section far away from the fixed section are both provided with an outward-diffused interface section.
6. The high voltage bushing end shield tabbed lead-out device according to claim 1, characterized in that the end shield housing (10) is connected to the protective housing (2) by means of a screw fit.
7. The high voltage bushing end shield flip chip extractor according to claim 1, further comprising an inner insulating sleeve (4) disposed on the inner wall of the receiving cavity.
8. The high voltage bushing end screen flip chip lead-out device according to claim 1, characterized in that the conductive connection rod (9) is fixed to the protective housing (2) by means of a fixation nut (7).
9. The high voltage bushing end screen flip chip lead-out device according to claim 8, further comprising a seal insulating gasket (6) arranged between the fixing nut (7) and the protective outer shell (2) and a seal insulating member (3) arranged between the protective outer shell (2) and the end screen outer shell (10).
CN 201220416616 2012-08-21 2012-08-21 Shrapnel type extractor device of high-voltage bushing end screen Expired - Fee Related CN202749204U (en)

Priority Applications (1)

Application Number Priority Date Filing Date Title
CN 201220416616 CN202749204U (en) 2012-08-21 2012-08-21 Shrapnel type extractor device of high-voltage bushing end screen

Applications Claiming Priority (1)

Application Number Priority Date Filing Date Title
CN 201220416616 CN202749204U (en) 2012-08-21 2012-08-21 Shrapnel type extractor device of high-voltage bushing end screen

Publications (1)

Publication Number Publication Date
CN202749204U true CN202749204U (en) 2013-02-20

Family

ID=47708566

Family Applications (1)

Application Number Title Priority Date Filing Date
CN 201220416616 Expired - Fee Related CN202749204U (en) 2012-08-21 2012-08-21 Shrapnel type extractor device of high-voltage bushing end screen

Country Status (1)

Country Link
CN (1) CN202749204U (en)

Cited By (2)

* Cited by examiner, † Cited by third party
Publication number Priority date Publication date Assignee Title
CN102779626A (en) * 2012-08-21 2012-11-14 浙江省电力公司电力科学研究院 High-voltage bushing end screen elastic sheet type leading out device
CN103311681A (en) * 2013-06-25 2013-09-18 国家电网公司 Novel high-voltage bushing and end screen adapter connecting device

Cited By (3)

* Cited by examiner, † Cited by third party
Publication number Priority date Publication date Assignee Title
CN102779626A (en) * 2012-08-21 2012-11-14 浙江省电力公司电力科学研究院 High-voltage bushing end screen elastic sheet type leading out device
CN103311681A (en) * 2013-06-25 2013-09-18 国家电网公司 Novel high-voltage bushing and end screen adapter connecting device
CN103311681B (en) * 2013-06-25 2016-07-06 国家电网公司 A kind of end shield of high-voltage bushing adapter attachment devices

Similar Documents

Publication Publication Date Title
CN204205076U (en) A kind of main transformer end shield of high-voltage bushing is used for the earthing device of on-line monitoring
CN101782603B (en) Flat-plate VFTO measuring sensor
CN102779626A (en) High-voltage bushing end screen elastic sheet type leading out device
CN103050240B (en) A kind of Transformer Bushing Tap signal ejector
CN202749204U (en) Shrapnel type extractor device of high-voltage bushing end screen
CN102033154A (en) End shield current sampling device suitable for insulated online monitoring system of high-voltage capacitor bushing
CN107677916B (en) High-voltage bushing end shield grounding shield and high-voltage bushing end shield
CN103050239B (en) A kind of screw-type ejector of Transformer Bushing Tap signal
CN202996530U (en) Transformer bushing end screen signal leading-out apparatus
CN204631204U (en) A kind of GIS cable termination test unit
CN206281873U (en) Gas-insulated locking device for detecting high-voltage capacitor
CN204720940U (en) A kind of elbow cable joint
CN201038709Y (en) cable intermediate connector
CN106054044A (en) Insulation test device for gas filled tank
CN201247657Y (en) High voltage insulating sleeve
CN215932099U (en) End screen grounding and state detection device for high-voltage oilpaper capacitive bushing
CN205069322U (en) Novel transformer high pressure is qualified for next round of competitions device
CN202996529U (en) Threaded type leading-out device of transformer bushing end screen signal
CN104931865B (en) A kind of Voltage Cable Lines Construction pressure test insulating boot and test method
CN112489901B (en) A terminal screen lead-out device for DC wall bushing
CN205039128U (en) Take high -tension drop type fuse of ground connection link
CN204008705U (en) Partial discharge monitoring Cap for tin body
CN209545119U (en) cable terminal
CN102568659B (en) Externally shielded type capacitance insulated outlet bus
CN207268981U (en) A kind of new structure gas-insulated transformer casing

Legal Events

Date Code Title Description
C14 Grant of patent or utility model
GR01 Patent grant
CF01 Termination of patent right due to non-payment of annual fee
CF01 Termination of patent right due to non-payment of annual fee

Granted publication date: 20130220

Termination date: 20200821