CN202746746U - Self-compensating high-temperature fixed ball valve rod seal structure - Google Patents

Self-compensating high-temperature fixed ball valve rod seal structure Download PDF

Info

Publication number
CN202746746U
CN202746746U CN 201220430385 CN201220430385U CN202746746U CN 202746746 U CN202746746 U CN 202746746U CN 201220430385 CN201220430385 CN 201220430385 CN 201220430385 U CN201220430385 U CN 201220430385U CN 202746746 U CN202746746 U CN 202746746U
Authority
CN
China
Prior art keywords
valve rod
filler
mounting hole
hole section
gland
Prior art date
Legal status (The legal status is an assumption and is not a legal conclusion. Google has not performed a legal analysis and makes no representation as to the accuracy of the status listed.)
Expired - Fee Related
Application number
CN 201220430385
Other languages
Chinese (zh)
Inventor
汪至清
李威
贾怀军
罗开成
刘华宇
Current Assignee (The listed assignees may be inaccurate. Google has not performed a legal analysis and makes no representation or warranty as to the accuracy of the list.)
SICHUAN SUC FLOW CONTROL EQUIPMENT CO Ltd
Original Assignee
SICHUAN SUC FLOW CONTROL EQUIPMENT CO Ltd
Priority date (The priority date is an assumption and is not a legal conclusion. Google has not performed a legal analysis and makes no representation as to the accuracy of the date listed.)
Filing date
Publication date
Application filed by SICHUAN SUC FLOW CONTROL EQUIPMENT CO Ltd filed Critical SICHUAN SUC FLOW CONTROL EQUIPMENT CO Ltd
Priority to CN 201220430385 priority Critical patent/CN202746746U/en
Application granted granted Critical
Publication of CN202746746U publication Critical patent/CN202746746U/en
Anticipated expiration legal-status Critical
Expired - Fee Related legal-status Critical Current

Links

Images

Landscapes

  • Sealing Devices (AREA)
  • Details Of Valves (AREA)

Abstract

The utility model discloses a self-compensating high-temperature fixed ball valve rod seal structure. A valve rod mounting hole section and a filler mounting hole section are arranged in a valve body (2) from bottom up in sequence; a valve rod (1) is mounted in the valve rod mounting hole section; filler (3) is sleeved on the valve rod (1) and positioned in the filler mounting hole section; a filler pressing cover (5) is sleeved on the valve rod (1) and positioned above the filler (3); the filler pressing cover (5) is fixed to the valve body (2) through a bolt (13); a filler pressing ring (4) is arranged between the filler pressing cover (5) and the filler (3); and a spring (8) is arranged between the filler pressing cover (5) and the filler pressing ring (4). The self-compensating high-temperature fixed ball valve rod seal structure has the advantages of long service life and capability of achieving the automatic seal compensation function.

Description

Self compensation high-temp. fixed ball valve valve rod leak-proof structure
Technical field
The utility model relates to a kind of seal arrangement, is specifically related to a kind of self compensation high-temp. fixed ball valve valve rod leak-proof structure.
Background technique
Because high temperature media has heat transmitting and fugacity, in the course of conveying of high temperature media, require to forbid medium to leak outside, avoid producing potential safety hazard.Ball valve also is used in the course of conveying of high temperature media as a kind of widely used fluid control device.In order to prevent revealing, be used for the ball valve that high temperature media is carried, the contact position of its valve rod and valve body is provided with seal arrangement.
Existing sealing device structure is as follows: be disposed with from bottom to up valve rod mounting hole section and filler mounting hole section in the valve body, valve rod is installed in the valve rod mounting hole section, filler be socketed on the valve rod and position filler mounting hole section in, Gland is socketed on the valve rod and is positioned at the top of filler, Gland is bolted on the valve body, and packing press ring is arranged between Gland and the filler.
Said structure has following shortcoming:
1. do not have to be used for reducing the device of friction factor between valve rod and the valve body, in the switching process of valve rod, the frictional force between valve rod and the valve body is large, will cause at short notice the wearing and tearing of valve rod and valve body, reduces the sealability of device;
2. in use for some time, filler can produce wearing and tearing to a certain extent, and the filler after the wearing and tearing can't compensation sealing, causes high temperature media to reveal from valve stem seal, damages actuator.
Existing seal arrangement effective sealing time is short, after seal failure, needs the artificial bolt of fixing Gland of regulating so that filler is compensated.Stop continually produce changing the valve seal parts or sealed member adjusted and not only cause greatly inconvenience, also improved cost of production.Adjust as not shutting down, the high temperature media of leakage may damage operator, very easily leads to security incident.
The model utility content
The purpose of this utility model namely is to overcome existing seal arrangement and weares and teares easily, and shortcoming that can't automatic compensation sealing after the wearing and tearing provides a kind of self compensation high-temp. fixed ball valve valve rod leak-proof structure.
The purpose of this utility model is achieved through the following technical solutions:
Self compensation high-temp. fixed ball valve valve rod leak-proof structure, it comprises valve rod, valve body, filler, packing press ring and Gland, be disposed with from bottom to up valve rod mounting hole section and filler mounting hole section in the valve body, valve rod is installed in the valve rod mounting hole section, filler is socketed on the valve rod and is arranged in filler mounting hole section, Gland is socketed on the valve rod and is positioned at the top of filler, Gland is bolted on the valve body, packing press ring is arranged between Gland and the filler, is provided with spring between described Gland and the packing press ring.
Further, also be provided with the bearing mounting hole section between described valve rod mounting hole section and the filler mounting hole section, be provided with bearing in the bearing mounting hole section.
Particularly, described spring is belleville spring.
Further, the upper end portion of described packing press ring offers the breach A of outward opening, and the underpart of described Gland offers the inside breach B of opening, and the upper end portion of spring is fixed among the breach B, and the underpart of spring is fixed among the breach A.
Advantage of the present utility model and beneficial effect are:
1. be provided with bearing, can effectively reduce the friction torque between valve rod and the valve body, increased the working life of valve rod and valve body, strengthened the stability of valve rod in operation process;
2. after the filler wearing and tearing, the power of butterfly spring can be compressed filler, thereby realizes wear compensation, makes all the time sealing between valve rod and filler.
Description of drawings
Fig. 1 is structural representation of the present utility model;
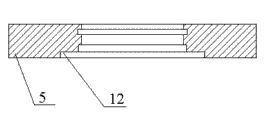
Fig. 2 is the structural representation of Gland;
Fig. 3 is the structural representation of packing press ring;
Fig. 4 is the structural representation of valve body;
Wherein, the component name that reference character is corresponding is called:
The 1-valve rod, 2-valve body, 3-filler, 4-packing press ring, 5-Gland, 6-valve rod mounting hole section, 7-filler mounting hole section, 8-spring, 9-bearing mounting hole section, 10-bearing, 11-breach A, 12-breach B, 13-bolt.
Embodiment
The utility model is described in further detail below in conjunction with drawings and Examples, and protection domain of the present utility model is not limited to the following stated.
Embodiment:
As shown in Figure 1 and Figure 4, self compensation high-temp. fixed ball valve valve rod leak-proof structure, it comprises valve rod 1, valve body 2, filler 3, packing press ring 4 and Gland 5, be disposed with from bottom to up valve rod mounting hole section 6 and filler mounting hole section 7 in the valve body 2, valve rod 1 is installed in the valve rod mounting hole section 6, filler 3 is socketed on the valve rod 1 and is arranged in filler mounting hole section 7, Gland 5 is socketed on the valve rod 1 and is positioned at the top of filler 3, Gland 5 is fixed on the valve body 2 by bolt 13, packing press ring 4 is arranged between Gland 5 and the filler 3, is provided with spring 8 between described Gland 5 and the packing press ring 4.By tighting a bolt 13, Gland 5 is applied a downward power, this power is compressed spring 8, and is passed to filler 3 by packing press ring 4, and filler 3 is pressed in the filler mounting hole section 7, makes filler 3 play the effect of sealing.In use for some time, filler 3 can wearing and tearing, at this moment, at the deformation force of the spring 8 of preload filler 3 are compressed, thereby realize wear compensation, and 3 of valve rod 1 and fillers are sealed all the time.
As shown in Figure 1 and Figure 4, also be provided with bearing mounting hole section 9 between described valve rod mounting hole section 6 and the filler mounting hole section 7, be provided with bearing 10 in the bearing mounting hole section 9.Bearing 10 can effectively reduce the friction torque between valve rod 1 and the valve body 2, has increased the working life of valve rod 1 and valve body 2, has strengthened the stability of valve rod 1 in operation process.
Described spring 8 is belleville spring.The belleville spring stress distribution is evenly successively decreased from inside to outside, can realize the effect of the low high equilibrant force of stroke.Belleville spring adopts high temperature resistant, high-intensity inconel to form.
As shown in Figures 2 and 3, the upper end portion of described packing press ring 4 offers the breach A11 of outward opening, the underpart of described Gland 5 offers the inside breach B12 of opening, and the upper end portion of spring 8 is fixed among the breach B12, and the underpart of spring 8 is fixed among the breach A11.Can well fix spring 8 like this, prevent that spring 8 is in stressed rear generation displacement.
In sum, just can realize well the utility model.

Claims (4)

1. self compensation high-temp. fixed ball valve valve rod leak-proof structure, it comprises valve rod (1), valve body (2), filler (3), packing press ring (4) and Gland (5), be disposed with from bottom to up valve rod mounting hole section (6) and filler mounting hole section (7) in the valve body (2), valve rod (1) is installed in the valve rod mounting hole section (6), filler (3) is socketed in valve rod (1) upward and is arranged in filler mounting hole section (7), Gland (5) is socketed in valve rod (1) upward and is positioned at the top of filler (3), Gland (5) is fixed on the valve body (2) by bolt (13), packing press ring (4) is arranged between Gland (5) and the filler (3), it is characterized in that: be provided with spring (8) between described Gland (5) and the packing press ring (4).
2. self compensation high-temp. fixed ball valve valve rod leak-proof structure according to claim 1, it is characterized in that: also be provided with bearing mounting hole section (9) between described valve rod mounting hole section (6) and the filler mounting hole section (7), be provided with bearing (10) in the bearing mounting hole section (9).
3. self compensation high-temp. fixed ball valve valve rod leak-proof structure according to claim 1 and 2, it is characterized in that: described spring (8) is belleville spring.
4. according to right 3 described self compensation high-temp. fixed ball valve valve rod leak-proof structures, it is characterized in that: the upper end portion of described packing press ring (4) offers the breach A(11 of outward opening), the underpart of described Gland (5) offers the inside breach B(12 of opening), the upper end portion of spring (8) is fixed on breach B(12) in, the underpart of spring (8) is fixed on breach A(11) in.
CN 201220430385 2012-08-28 2012-08-28 Self-compensating high-temperature fixed ball valve rod seal structure Expired - Fee Related CN202746746U (en)

Priority Applications (1)

Application Number Priority Date Filing Date Title
CN 201220430385 CN202746746U (en) 2012-08-28 2012-08-28 Self-compensating high-temperature fixed ball valve rod seal structure

Applications Claiming Priority (1)

Application Number Priority Date Filing Date Title
CN 201220430385 CN202746746U (en) 2012-08-28 2012-08-28 Self-compensating high-temperature fixed ball valve rod seal structure

Publications (1)

Publication Number Publication Date
CN202746746U true CN202746746U (en) 2013-02-20

Family

ID=47706145

Family Applications (1)

Application Number Title Priority Date Filing Date
CN 201220430385 Expired - Fee Related CN202746746U (en) 2012-08-28 2012-08-28 Self-compensating high-temperature fixed ball valve rod seal structure

Country Status (1)

Country Link
CN (1) CN202746746U (en)

Cited By (1)

* Cited by examiner, † Cited by third party
Publication number Priority date Publication date Assignee Title
CN104948766A (en) * 2015-07-07 2015-09-30 王林振 Ceramic ball valve

Cited By (1)

* Cited by examiner, † Cited by third party
Publication number Priority date Publication date Assignee Title
CN104948766A (en) * 2015-07-07 2015-09-30 王林振 Ceramic ball valve

Similar Documents

Publication Publication Date Title
CN202349251U (en) High-temperature high-voltage power station double-ball valve with double-blockage and relieving functions
CN102313074B (en) Automatic filling sealing structure for high-pressure valve
CN201028043Y (en) Wear-resistant metal hard sealing ball valve
CN204213378U (en) Hard-sealing zero reveals cutter valve
CN202937823U (en) Zero leakage regulating valve with double valve seats
CN202746746U (en) Self-compensating high-temperature fixed ball valve rod seal structure
CN204420155U (en) New type high temperature Wedge gate valve
CN202691136U (en) Nuclear grade M type pneumatic directly-through membrane valve
CN205896251U (en) High temperature ball valve that floats sealed firmly
CN204628783U (en) The low leakage stuffing box structure of a kind of sand-proof type dynamic compensation
CN104455489A (en) Disc valve linkage structure
CN201627948U (en) High-temperature high-pressure flat-plate gate valve
CN105318025A (en) Double-disc wedge gate valve adopting composite spring connection
CN206257336U (en) A kind of safety chemical industry pipeline valve
CN202746747U (en) Self-compensating double packing seal structure
CN210218718U (en) Novel straight line over-and-under type stop valve
CN104482240A (en) Nuclear-grade electric ball valve connected with magnetic driver
CN203703342U (en) Dead wedge prevention structure of upper sealing conical surface of valve
CN203857072U (en) Low-torque floating ball spherical valve
CN202629118U (en) Ball screw gate valve
CN202812238U (en) Connecting rod transmission sealing butterfly valve for waste heat power generation
CN203009898U (en) Integrated inclined surface type ball valve
CN202418701U (en) Top-mounted ball valve
CN202531896U (en) Fully welded pipeline ball valve
CN204942691U (en) A kind of ball valve end cover structure

Legal Events

Date Code Title Description
C14 Grant of patent or utility model
GR01 Patent grant
PE01 Entry into force of the registration of the contract for pledge of patent right

Denomination of utility model: Self-compensating high-temperature fixed ball valve rod seal structure

Effective date of registration: 20131010

Granted publication date: 20130220

Pledgee: Bank of Chengdu science and technology branch of Limited by Share Ltd

Pledgor: Sichuan SUC Flow Control Equipment Co., Ltd.

Registration number: 2013510000004

PLDC Enforcement, change and cancellation of contracts on pledge of patent right or utility model
PC01 Cancellation of the registration of the contract for pledge of patent right

Date of cancellation: 20150123

Granted publication date: 20130220

Pledgee: Bank of Chengdu science and technology branch of Limited by Share Ltd

Pledgor: Sichuan SUC Flow Control Equipment Co., Ltd.

Registration number: 2013510000004

PLDC Enforcement, change and cancellation of contracts on pledge of patent right or utility model
CF01 Termination of patent right due to non-payment of annual fee

Granted publication date: 20130220

Termination date: 20150828

EXPY Termination of patent right or utility model