CN202742847U - 一种书签 - Google Patents

一种书签 Download PDF

Info

Publication number
CN202742847U
CN202742847U CN 201220409582 CN201220409582U CN202742847U CN 202742847 U CN202742847 U CN 202742847U CN 201220409582 CN201220409582 CN 201220409582 CN 201220409582 U CN201220409582 U CN 201220409582U CN 202742847 U CN202742847 U CN 202742847U
Authority
CN
China
Prior art keywords
intermediate plate
book
piece
clip piece
front cover
Prior art date
Legal status (The legal status is an assumption and is not a legal conclusion. Google has not performed a legal analysis and makes no representation as to the accuracy of the status listed.)
Expired - Fee Related
Application number
CN 201220409582
Other languages
English (en)
Inventor
谭理
Current Assignee (The listed assignees may be inaccurate. Google has not performed a legal analysis and makes no representation or warranty as to the accuracy of the list.)
Individual
Original Assignee
Individual
Priority date (The priority date is an assumption and is not a legal conclusion. Google has not performed a legal analysis and makes no representation as to the accuracy of the date listed.)
Filing date
Publication date
Application filed by Individual filed Critical Individual
Priority to CN 201220409582 priority Critical patent/CN202742847U/zh
Application granted granted Critical
Publication of CN202742847U publication Critical patent/CN202742847U/zh
Anticipated expiration legal-status Critical
Expired - Fee Related legal-status Critical Current

Links

Images

Landscapes

  • Sheet Holders (AREA)

Abstract

本实用新型公开了一种书签,它由封面夹片、笔夹套体、箍书片、书页夹片组成,其特征在于箍书片上部设有封面夹片,封面夹片上设有笔夹套体,箍书片下部设有书页夹片,使用时将书页夹片插入希望标记的书页中,然后合上书页,将封面夹片压在书本的封面上,最后将笔杆插入笔夹套体内固定在书本与封面夹片之间即可,其有益效果是设计简单,方便可靠,实用性较大。

Description

一种书签
技术领域
本实用新型涉及一种书签,尤其涉及一种带笔夹的书签,属于书签技术领域。
背景技术
目前,公知技术的书签,都是不带有笔夹的,当人们读书过后需要将用于记笔记的笔与书一起存放时,往往选择将笔直接夹在书页中,如此一来,书本可能会被笔杆弄坏,而且由于笔体与书本并不粘黏,很可能在移动书本时将笔掉出,存在容易遗失的不足,在本实用新型未作出之前,无带笔夹的书签使用,检索专利文献,无该技术的技术方案公开。
发明内容
为了克服现有技术中无带笔夹的书签的不足,本实用新型的目的是为了提供一种带笔夹的书签,该书签上设有的笔夹能让使用者将笔插入其中,而且能够当作书签使用,达到将笔与书连为一体,不易遗失的目的。
为了达到本实用新型的目的,本实用新型解决其技术问题所采用的技术方案是:由封面夹片、笔夹套体、箍书片、书页夹片组成,其特征在于箍书片上部设有封面夹片,封面夹片上设有笔夹套体,箍书片下部设有书页夹片,使用时将书页夹片插入希望标记的书页中,然后合上书页,将封面夹片压在书本的封面上,最后将笔杆插入笔夹套体内固定在书本与封面夹片之间即可。
本实用新型的有益效果是设计简单,方便可靠,实用性较大。
附图说明
下面通过附图和实施例对本实用新型作进一步说明。
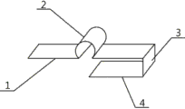
图1是本实用新型示意图。
图中1.封面夹片,2.笔夹套体,3.箍书片,4.书页夹片。
具体实施方式
本实用新型由封面夹片1、笔夹套体2、箍书片3、书页夹片4组成,其特征在于箍书片3上部设有封面夹片1,封面夹片1上设有笔夹套体2,箍书片3下部设有书页夹片4,使用时将书页夹片4插入希望标记的书页中,然后合上书页,将封面夹片1压在书本的封面上,最后将笔杆插入笔夹套体2内固定在书本与封面夹片1之间即可。

Claims (1)

1.一种书签,由封面夹片(1)、笔夹套体(2)、箍书片(3)、书页夹片(4)组成,其特征在于箍书片(3)上部设有封面夹片(1),封面夹片(1)上设有笔夹套体(2),箍书片(3)下部设有书页夹片(4)。
CN 201220409582 2012-08-18 2012-08-18 一种书签 Expired - Fee Related CN202742847U (zh)

Priority Applications (1)

Application Number Priority Date Filing Date Title
CN 201220409582 CN202742847U (zh) 2012-08-18 2012-08-18 一种书签

Applications Claiming Priority (1)

Application Number Priority Date Filing Date Title
CN 201220409582 CN202742847U (zh) 2012-08-18 2012-08-18 一种书签

Publications (1)

Publication Number Publication Date
CN202742847U true CN202742847U (zh) 2013-02-20

Family

ID=47702291

Family Applications (1)

Application Number Title Priority Date Filing Date
CN 201220409582 Expired - Fee Related CN202742847U (zh) 2012-08-18 2012-08-18 一种书签

Country Status (1)

Country Link
CN (1) CN202742847U (zh)

Similar Documents

Publication Publication Date Title
CN202742847U (zh) 一种书签
CN201913910U (zh) 一种法律教学用书夹
CN202919300U (zh) 新型文具盒
CN202407833U (zh) 一种不易倒的书立
CN203046519U (zh) 一种计时书签
CN201833744U (zh) 一种垫书器
CN201777007U (zh) 新型书皮
CN201376398Y (zh) 防丢书签
CN201366847Y (zh) 一种书本
CN201538117U (zh) 一种夹置式书签
CN203063324U (zh) 一种具有指示功能的书签
CN202445508U (zh) 新型书立
CN202552919U (zh) 一种新型书立
CN202293795U (zh) 一种名片夹
CN201456639U (zh) 一种圆形活动装订圈
CN203110565U (zh) 一种多用板夹
CN202653513U (zh) 一种专用书夹
CN201604383U (zh) 一种新型记事本
CN202293820U (zh) 一种铅笔
CN201792575U (zh) 多功能书签
CN202174828U (zh) 一种书签
CN204599776U (zh) 一种小学语文用多功能书架
CN201528830U (zh) 新型课桌
CN202186148U (zh) 一种教学书夹
CN202293774U (zh) 新型资料夹

Legal Events

Date Code Title Description
C14 Grant of patent or utility model
GR01 Patent grant
C17 Cessation of patent right
CF01 Termination of patent right due to non-payment of annual fee

Granted publication date: 20130220

Termination date: 20130818