CN202729145U - A conveyor line - Google Patents
A conveyor line Download PDFInfo
- Publication number
- CN202729145U CN202729145U CN 201120442152 CN201120442152U CN202729145U CN 202729145 U CN202729145 U CN 202729145U CN 201120442152 CN201120442152 CN 201120442152 CN 201120442152 U CN201120442152 U CN 201120442152U CN 202729145 U CN202729145 U CN 202729145U
- Authority
- CN
- China
- Prior art keywords
- chain
- reversal means
- travel line
- line according
- roller
- Prior art date
- Legal status (The legal status is an assumption and is not a legal conclusion. Google has not performed a legal analysis and makes no representation as to the accuracy of the status listed.)
- Expired - Lifetime
Links
- 230000000694 effects Effects 0.000 claims description 9
- 229910000831 Steel Inorganic materials 0.000 claims description 6
- 239000010959 steel Substances 0.000 claims description 6
- 239000000203 mixture Substances 0.000 claims 1
- 238000009434 installation Methods 0.000 abstract description 4
- 238000012423 maintenance Methods 0.000 abstract description 4
- 238000004519 manufacturing process Methods 0.000 abstract description 4
- 230000009194 climbing Effects 0.000 abstract description 2
- 230000009286 beneficial effect Effects 0.000 description 1
- 238000005516 engineering process Methods 0.000 description 1
- 238000003754 machining Methods 0.000 description 1
- 235000013372 meat Nutrition 0.000 description 1
- 238000012856 packing Methods 0.000 description 1
- 230000001737 promoting effect Effects 0.000 description 1
- 238000003307 slaughter Methods 0.000 description 1
Images
Landscapes
- Chain Conveyers (AREA)
Abstract
The utility model provides a split-type conveyor line convenient for installation and maintenance. The conveyor line comprises a guide device and a driving device disposed right above the guide device. The guide device is a guide rail which serves as an advancing track of a hanging hook. The driving device comprises a chain provided with pushing fingers, and a driving chain wheel and a driven chain wheel which drive the chain. The conveyor line is characterized in that: the guide device is separated from the driving device, and the chain and the pushing fingers are modular in design, so that separate production and assembly is realized, and installation and maintenance are easy; the chain provided with the single-direction pushing fingers can realize single-direction conveyance of pig carcasses; and the chain provided with double-direction pushing fingers can realize double-direction conveyance of the pig carcasses and double-direction climbing.
Description
Technical field
The utility model relates to a kind of machining production line equipment, especially a kind of travel line.
Background technology
At present in the meat packing field; slaughter line tends to scale and automation day by day, butchers the operation workshop and need to transport hog on hook with a large amount of travel lines, and the chain that uses on the travel line then adopted hook and chain integral structures more in the past; be not easy to loading and unloading and change the manufacturing cost height.
The utility model content
The utility model provides a kind of travel line split type, easy to installation and maintenance.
Realize the travel line of the utility model purpose, comprise guide piece and be positioned at actuating device directly over the described guide piece that described guide piece is a guide rail, this guide rail is the track of advancing of hook; Described actuating device is drive sprocket and the driven sprocket with the chain of reversal means and this chain of driving.
Described chain is formed by connecting by carrier bar and carrier bar bearing pin.
Be fixed with roller by the roller bearing pin on the described chain, described roller interval is evenly distributed on the chain, and described actuating device also comprises the guiding channel-section steel, and described roller rolls at this wire channel-section steel and advances.
Be fixed with reversal means on the described roller.
Described reversal means comprises fixed block and is journaled into the activity reversal means of described fixed block below that the upper end of this activity reversal means one side is provided with retreat stop block, is used for preventing the mutually afterwards rotation of activity reversal means.
The equidirectional setting of reversal means on the described chain forms the one direction chain.
Reversal means on the described chain arranges in pairs, and the reversal means that namely both direction is opposite is one group, at chain many group reversal meanss is set, and forms two-way chain.
The beneficial effect of travel line of the present utility model is as follows:
1, chain of the present utility model will lead and actuating device separates, and chain and reversal means modular design can realize split production and assembling, and be easy to installation and maintenance.
2, chain of the present utility model uses single reversal means chain can realize the unidirectional conveying of hog on hook; Use two reversal means chains can realize the conveying of hog on hook both direction, and the climbing of both direction.
Description of drawings
Fig. 1 is the structural representation of the utility model travel line.
Fig. 2 is the structural representation of an embodiment of the chain of the utility model travel line.
Fig. 3 is the structural representation of the reversal means of the utility model travel line.
Fig. 4 is the structural representation of another embodiment of the chain of the utility model travel line
The specific embodiment
As shown in Figure 1, travel line of the present utility model comprises guide piece and is positioned at actuating device directly over the described guide piece that described guide piece is a guide rail 2, and this guide rail 2 is the track of advancing of hook 3; Described actuating device is drive sprocket and the driven sprocket with the chain 1 of reversal means 4 and this chain 1 of driving.
As shown in Figure 1, 2, described chain 1 is formed by connecting by carrier bar 8 and carrier bar bearing pin 5.Be fixed with roller 6 by roller bearing pin 7 on the described chain 1, described roller 6 intervals are evenly distributed on the chain 1, and described actuating device also comprises the guiding channel-section steel, and described roller 6 rolls at this wire channel-section steel and advances.Be fixed with reversal means 4 on the described roller 6.
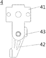
Shown in Fig. 1,3, described reversal means 4 comprises fixed block 41 and is journaled into the activity reversal means 42 of described fixed block 41 belows that the upper end of these activity reversal means 42 1 sides is provided with retreat stop block 43, is used for preventing that activity reversal means 42 from rotating backward.Reversal means 4 equidirectional settings on the described chain 1 form the one direction chain.
As shown in Figure 4, the reversal means 4 on the described chain 1 arranges in pairs, and the reversal means 4 that namely both direction is opposite is one group, at chain 1 many group reversal meanss is set, and forms two-way chain.
The principle of work of travel line of the present utility model is as follows:
During work, hook 3 is suspended on the guide rail 2, guide rail 2 be positioned at conveying line chain under, parallel with chain, chain and reversal means 4 are moved under driven by motor, utilize the one-way pushing action of reversal means 4 to be used for promoting hook 3, thereby realize the conveying purpose of hog on hook.
When hook 3 need to have the conveying requirement at twocouese, when particularly needing both direction that ascents and descents is arranged, can adopt two reversal means chains to realize, two reversal means chain structure forms are with the structural similitude of single reversal means chain, difference only is that reversal means is paired appearance, and one of them is oppositely installed.
Claims (7)
1. travel line is characterized in that: comprise guide piece and be positioned at actuating device directly over the described guide piece, described guide piece is a guide rail, and this guide rail is the track of advancing of hook; Described actuating device is drive sprocket and the driven sprocket with the chain of reversal means and this chain of driving.
2. travel line according to claim 1, it is characterized in that: described chain is formed by connecting by carrier bar and carrier bar bearing pin.
3. travel line according to claim 1, it is characterized in that: be fixed with roller by the roller bearing pin on the described chain, described roller interval is evenly distributed on the chain, and described actuating device also comprises the guiding channel-section steel, and described roller rolls at this wire channel-section steel and advances.
4. travel line according to claim 3 is characterized in that: be fixed with reversal means on the described roller.
5. arbitrary described travel line according to claim 1~4 is characterized in that: described reversal means comprises fixed block and is journaled into the activity reversal means of described fixed block below, and the upper end of this activity reversal means one side is provided with retreat stop block, is used for preventing that the activity reversal means from rotating mutually afterwards.
6. travel line according to claim 5 is characterized in that: the equidirectional setting of the reversal means on the described chain, composition one direction chain.
7. travel line according to claim 5, it is characterized in that: the reversal means on the described chain arranges in pairs, and the reversal means that namely both direction is opposite is one group, at chain many group reversal meanss is set, and forms two-way chain.
Priority Applications (1)
| Application Number | Priority Date | Filing Date | Title |
|---|---|---|---|
| CN 201120442152 CN202729145U (en) | 2011-11-09 | 2011-11-09 | A conveyor line |
Applications Claiming Priority (1)
| Application Number | Priority Date | Filing Date | Title |
|---|---|---|---|
| CN 201120442152 CN202729145U (en) | 2011-11-09 | 2011-11-09 | A conveyor line |
Publications (1)
| Publication Number | Publication Date |
|---|---|
| CN202729145U true CN202729145U (en) | 2013-02-13 |
Family
ID=47654869
Family Applications (1)
| Application Number | Title | Priority Date | Filing Date |
|---|---|---|---|
| CN 201120442152 Expired - Lifetime CN202729145U (en) | 2011-11-09 | 2011-11-09 | A conveyor line |
Country Status (1)
| Country | Link |
|---|---|
| CN (1) | CN202729145U (en) |
Cited By (5)
| Publication number | Priority date | Publication date | Assignee | Title |
|---|---|---|---|---|
| CN108584387A (en) * | 2018-03-16 | 2018-09-28 | 泰州鑫宇精工股份有限公司 | Transmission chain suspends the spin-ended device of formwork in midair |
| CN109051547A (en) * | 2018-08-10 | 2018-12-21 | 上海腾锦智能科技有限公司 | A kind of frictional automatic Orbital Transport Systems |
| WO2019085717A1 (en) * | 2017-11-03 | 2019-05-09 | 浙江衣拿智能科技有限公司 | Goods overhead load carrier driving device for conveyor system |
| CN110282366A (en) * | 2019-07-12 | 2019-09-27 | 天津宏大纺织科技有限公司 | Clutch wheel mechanism for thickness-linkage conveying system |
| CN112027544A (en) * | 2020-08-26 | 2020-12-04 | 苏州名匠阀门设备有限公司 | A valve conveying device and a three-dimensional warehouse having the same |
-
2011
- 2011-11-09 CN CN 201120442152 patent/CN202729145U/en not_active Expired - Lifetime
Cited By (5)
| Publication number | Priority date | Publication date | Assignee | Title |
|---|---|---|---|---|
| WO2019085717A1 (en) * | 2017-11-03 | 2019-05-09 | 浙江衣拿智能科技有限公司 | Goods overhead load carrier driving device for conveyor system |
| CN108584387A (en) * | 2018-03-16 | 2018-09-28 | 泰州鑫宇精工股份有限公司 | Transmission chain suspends the spin-ended device of formwork in midair |
| CN109051547A (en) * | 2018-08-10 | 2018-12-21 | 上海腾锦智能科技有限公司 | A kind of frictional automatic Orbital Transport Systems |
| CN110282366A (en) * | 2019-07-12 | 2019-09-27 | 天津宏大纺织科技有限公司 | Clutch wheel mechanism for thickness-linkage conveying system |
| CN112027544A (en) * | 2020-08-26 | 2020-12-04 | 苏州名匠阀门设备有限公司 | A valve conveying device and a three-dimensional warehouse having the same |
Similar Documents
| Publication | Publication Date | Title |
|---|---|---|
| CN202729145U (en) | A conveyor line | |
| CN204688904U (en) | Planer-type workpiece installation device | |
| CN204642924U (en) | A kind of New Type Aerated Concrete chain converyer | |
| CN201545509U (en) | Automatic hanging-changing system | |
| CN203624369U (en) | Pig carcass conveying line | |
| CN2741929Y (en) | Clothes suspension transport device | |
| CN204341846U (en) | A kind of carriage | |
| CN204150665U (en) | Bench board parallel motion lifter plate chain feedway | |
| CN202765678U (en) | Conveyor | |
| CN203612789U (en) | Automatic cage curtain door free of brake for vertical shaft lifting cage | |
| CN103552822B (en) | Multistation steel plate conveying carrier | |
| CN206068694U (en) | A kind of wheel hub linear conveying device | |
| CN201971002U (en) | Mining ropeway conveyed by roller chain | |
| CN205046902U (en) | Stereo garage chain formula vehicle conveyor | |
| CN204197367U (en) | A kind of bottle charging arranges branch mailbox mechanism | |
| CN203903277U (en) | Dry noodle rest lifting and conveying device used for drying dry noodles | |
| CN202659280U (en) | Cable hanging device for second conveyor belt track section of road header | |
| CN206690242U (en) | A kind of New-type wood conveyor-belt apparatus | |
| CN205687063U (en) | Feeding chassis in transfer line | |
| CN205367608U (en) | Building block transportation ziche | |
| CN207843417U (en) | A kind of collection device by lubricating oil bottle clamping | |
| CN205365808U (en) | Female car of building block transportation | |
| CN206050758U (en) | The double-drive device of fingerstall production line | |
| CN202958606U (en) | Slewing device for noodle transportation in drying room | |
| CN205046900U (en) | Stereo garage chain cable formula vehicle conveyor |
Legal Events
| Date | Code | Title | Description |
|---|---|---|---|
| C14 | Grant of patent or utility model | ||
| GR01 | Patent grant | ||
| CP01 | Change in the name or title of a patent holder |
Address after: No. 8-2, two road, Yang Zhen, Shunyi District, Beijing, Beijing Patentee after: Mario food processing system (Beijing) Co., Ltd. Address before: No. 8-2, two road, Yang Zhen, Shunyi District, Beijing, Beijing Patentee before: MPS meat processing machinery (Beijing) Co., Ltd. |
|
| CP01 | Change in the name or title of a patent holder | ||
| CX01 | Expiry of patent term |
Granted publication date: 20130213 |
|
| CX01 | Expiry of patent term |