CN202722323U - Indoor mosquito-killing machine - Google Patents
Indoor mosquito-killing machine Download PDFInfo
- Publication number
- CN202722323U CN202722323U CN201220243450.XU CN201220243450U CN202722323U CN 202722323 U CN202722323 U CN 202722323U CN 201220243450 U CN201220243450 U CN 201220243450U CN 202722323 U CN202722323 U CN 202722323U
- Authority
- CN
- China
- Prior art keywords
- air
- killing machine
- machine according
- mosquito killing
- indoor
- Prior art date
- Legal status (The legal status is an assumption and is not a legal conclusion. Google has not performed a legal analysis and makes no representation as to the accuracy of the status listed.)
- Expired - Fee Related
Links
- 241000255925 Diptera Species 0.000 claims abstract description 46
- 230000002147 killing effect Effects 0.000 claims abstract description 20
- 238000010276 construction Methods 0.000 claims 1
- 238000007605 air drying Methods 0.000 abstract description 7
- 238000009423 ventilation Methods 0.000 description 8
- 238000000034 method Methods 0.000 description 5
- 230000000694 effects Effects 0.000 description 3
- 230000007547 defect Effects 0.000 description 2
- 230000005611 electricity Effects 0.000 description 2
- 230000009286 beneficial effect Effects 0.000 description 1
- 238000004140 cleaning Methods 0.000 description 1
- 238000012986 modification Methods 0.000 description 1
- 230000004048 modification Effects 0.000 description 1
Images
Classifications
-
- Y—GENERAL TAGGING OF NEW TECHNOLOGICAL DEVELOPMENTS; GENERAL TAGGING OF CROSS-SECTIONAL TECHNOLOGIES SPANNING OVER SEVERAL SECTIONS OF THE IPC; TECHNICAL SUBJECTS COVERED BY FORMER USPC CROSS-REFERENCE ART COLLECTIONS [XRACs] AND DIGESTS
- Y02—TECHNOLOGIES OR APPLICATIONS FOR MITIGATION OR ADAPTATION AGAINST CLIMATE CHANGE
- Y02A—TECHNOLOGIES FOR ADAPTATION TO CLIMATE CHANGE
- Y02A50/00—TECHNOLOGIES FOR ADAPTATION TO CLIMATE CHANGE in human health protection, e.g. against extreme weather
- Y02A50/30—Against vector-borne diseases, e.g. mosquito-borne, fly-borne, tick-borne or waterborne diseases whose impact is exacerbated by climate change
Landscapes
- Catching Or Destruction (AREA)
Abstract
本实用新型公开了一种室内灭蚊机,其特征在于它包括一吸引室,内有吸引蚊虫的黑光灯,其外壁具有使蚊虫进入的入口和一出口;一排气室,具有一进气口和一滤网容器;所述进气口连通所述出口,且二者内部具有使空气单向流动的风扇;所述滤网容器外壁具有孔径小于蚊虫外径的排气孔;其中所述入口和排气孔之间具有完整、单向的空气通路。本方案采用风干黑光灯配合风扇、以及滤网容器的形式,用风干的方法除灭蚊虫,十分安全、卫生,并且其灭蚊的效率也较高。
The utility model discloses an indoor mosquito extermination machine, which is characterized in that it comprises a suction chamber with a black light lamp for attracting mosquitoes, the outer wall of which has an entrance for mosquitoes to enter and an exit; an exhaust chamber with an air intake mouth and a strainer container; the air inlet communicates with the outlet, and there is a fan inside the two to make the air flow in one direction; the outer wall of the strainer container has an exhaust hole with an aperture smaller than the outer diameter of the mosquito; wherein the There is a complete, one-way air path between the inlet and exhaust holes. This solution uses an air-drying black light combined with a fan and a filter container to eliminate mosquitoes by air-drying, which is very safe and hygienic, and its efficiency in killing mosquitoes is also high.
Description
技术领域 technical field
本实用新型涉及一种运用于室内的灭蚊机。The utility model relates to an indoor mosquito killer.
背景技术 Background technique
用于灭蚊的机器,比较常见的一类做法利用到了黑光灯,吸引蚊虫到达既定的装置中,并采用高压电的方式予以杀灭。这种方式杀灭的效果好,技术也比较成熟,但仍具有一些缺陷,比如,高压电始终是室内的隐患,不单单是对人体,对其他装置也具有安全威胁。如此,这类的蚊虫杀灭机应当予以改进或者重新设计,使其在家用的环境中保持高效、可靠特性的同时,更加具有安全性。The machine used to kill mosquitoes, a relatively common method uses a black light to attract mosquitoes to a predetermined device and kill them with high-voltage electricity. This method has a good killing effect and the technology is relatively mature, but it still has some defects. For example, high-voltage electricity is always a hidden danger in the room, not only to the human body, but also to other devices. In this way, this type of mosquito killing machine should be improved or redesigned to make it more safe while maintaining high efficiency and reliability in the household environment.
实用新型内容 Utility model content
针对上述现有黑光灯灭蚊机具有安全隐患的缺陷,本实用新型提出一种室内灭蚊机,其技术方案如下:Aiming at the defect that the above-mentioned existing black light mosquito killing machine has potential safety hazards, the utility model proposes an indoor mosquito killing machine, and its technical scheme is as follows:
一种室内灭蚊机,它包括:A kind of indoor mosquito killing machine, it comprises:
一吸引室,内有吸引蚊虫的黑光灯,其外壁具有使蚊虫进入的入口和一出口;A suction chamber, which has a black light lamp for attracting mosquitoes, and its outer wall has an entrance and an exit for mosquitoes to enter;
一排气室,具有一进气口和气路末端的一滤网容器;所述进气口连通所述出口,且二者内部具有使空气单向流动的风扇;所述滤网容器外壁具有孔径小于蚊虫外径的排气孔;其中An exhaust chamber has an air inlet and a filter container at the end of the air path; the air inlet communicates with the outlet, and there is a fan inside the two to make the air flow in one direction; the outer wall of the filter container has an aperture A vent hole smaller than the outer diameter of the mosquito; where
所述入口和排气孔之间具有完整、单向的空气通路。There is a complete, one-way air passage between the inlet and the exhaust hole.
作为本技术方案的一些优选者,可以在如下方面具有改进:As some preferred ones of this technical solution, improvements can be made in the following aspects:
一较佳实施例中,所述风扇于所述滤网容器的空气通路之间具有一漏斗,该漏斗上具有通气槽,所述通气槽宽度大于蚊虫的外径。在此基础上一较佳实施例中,所述漏斗具有沿着空气流向逐渐收缩的锥形结构;所述通气槽的长度方向与空气流向相当。In a preferred embodiment, the fan has a funnel between the air passages of the filter container, and the funnel has a ventilation slot, and the width of the ventilation slot is larger than the outer diameter of the mosquito. On this basis, in a preferred embodiment, the funnel has a tapered structure that gradually shrinks along the air flow direction; the length direction of the ventilation groove is equivalent to the air flow direction.
一较佳实施例中,所述吸引室内部的中央区域固定所述黑光灯,所述入口具有多个,围绕所述黑光灯分布于所述吸引室外壁。In a preferred embodiment, the black light lamp is fixed in the central area inside the suction chamber, and there are multiple entrances, which are distributed on the wall of the suction chamber around the black light lamp.
一较佳实施例中,所述排气室的进气口位于其顶端,所述滤网容器位于其底端。In a preferred embodiment, the air inlet of the exhaust chamber is located at its top, and the filter container is located at its bottom.
一较佳实施例中,所述排气孔环形分布于所述滤网容器的侧面。In a preferred embodiment, the exhaust holes are annularly distributed on the side of the filter container.
一较佳实施例中,所述出口与所述进气口的连接处其内部空间的横截面为圆形;所述风扇的外径与此处的横截面大小相当。In a preferred embodiment, the cross-section of the internal space at the connection between the outlet and the air inlet is circular; the outer diameter of the fan is equivalent to the size of the cross-section here.
一较佳实施例中,所述吸引室位于所述排气室的上方。In a preferred embodiment, the suction chamber is located above the exhaust chamber.
一较佳实施例中,所述吸引室、排气室为自上而下的柱形结构,并且二者的侧面相融合;所述排气室侧面延伸至整个装置底部,遮蔽其底部内的所述滤网容器,并具有朝外排气的通风口。In a preferred embodiment, the suction chamber and the exhaust chamber are columnar structures from top to bottom, and the sides of the two are merged; the sides of the exhaust chamber extend to the entire bottom of the device, shielding the The filter container has an air vent for exhausting outwards.
本实用新型带来的有益效果是:The beneficial effects brought by the utility model are:
1.本方案采用风干黑光灯配合风扇、以及滤网容器的形式,用风干的方法出灭蚊虫,十分安全、卫生,并且其灭蚊的效率也较高。1. This solution uses an air-dry black light combined with a fan and a filter container to kill mosquitoes by air-drying, which is very safe and hygienic, and its efficiency in killing mosquitoes is also high.
2.漏斗的通气槽使空气通路的有效面积缩减,使其输出风速得到增加,进一步使蚊虫被气流约束于滤网容器的空间内而无法脱逃,进一步改善了风干灭蚊的效果。2. The ventilation groove of the funnel reduces the effective area of the air passage, increases the output wind speed, and further prevents the mosquitoes from escaping due to airflow constraints in the space of the filter container, further improving the effect of air-drying to kill mosquitoes.
3.风扇的外径与进气口处的横截面相当,保证整个空气通路的均匀性,避免了气流死角,进一步保证了灭蚊效果。3. The outer diameter of the fan is equivalent to the cross-section of the air inlet, which ensures the uniformity of the entire air passage, avoids dead angles of air flow, and further ensures the mosquito killing effect.
附图说明 Description of drawings
以下结合附图实施例对本实用新型作进一步说明:The utility model will be further described below in conjunction with accompanying drawing embodiment:
图1是本实用新型一实施例一带剖面的侧视图;Fig. 1 is a side view of a band section of an embodiment of the utility model;
图2是图1所示实施例的爆炸图。Fig. 2 is an exploded view of the embodiment shown in Fig. 1 .
具体实施方式 Detailed ways
如图1所示,本实用新型一实施例一带剖面的侧视图;图2是图1所示实施例的爆炸图。结合此二图对本实用新型进行说明:As shown in FIG. 1 , a side view of an embodiment of the utility model with a section; FIG. 2 is an exploded view of the embodiment shown in FIG. 1 . The utility model is described in conjunction with these two figures:
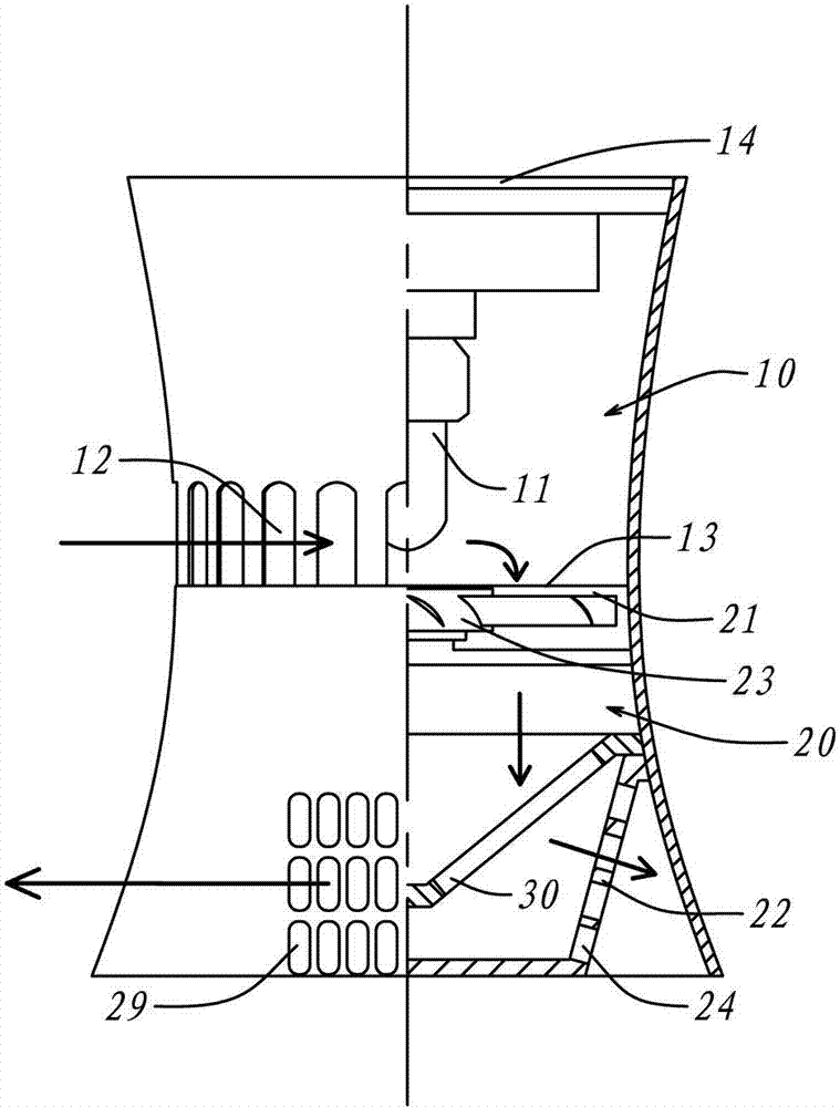
一种室内灭蚊机,它具有一吸引室10,和一排气室20;吸引室10与排气室20构成上下叠放的柱状结构;在吸引室10内有吸引蚊虫的黑光灯11,此黑光灯11悬挂于吸引室10,使其基本位于整个吸引室10的中央区域。An indoor mosquito killer, it has a
在吸引室10的侧面外壁上,具有多个入口12,此入口12环状分布于黑光灯11的外周;吸引室10的底部外壁是一个出口13,此出口13与下方排气室20的进气口21向连结配合,并且二者在此处的形状,其横截面是圆形。On the side outer wall of the
排气室20的上方就是一个进气口21,在进气口21与出口13配合处,一个风扇23被固定于排气室20内,风扇23的外径与此处进气口21的横截面相当;在排气室20的下方是一个滤网容器22,此滤网容器22位于整个排气室20的气路末端,也即,来自于进气口21的空气最终必须从滤网容器22流出,因而滤网容器22上具有排气孔24。在滤网容器22与风扇之间,具有一漏斗30,该漏斗上具有通气槽30,The top of the
从入口12到排气孔24,在本实施例中具有一个完整、单向的空气通路。当风扇23稳定工作时,按着箭头方向促使气流自风扇23始至漏斗30,经锅漏斗30的通气槽30,再经过滤网容器22的排气孔24,最终从排气室20下方的通风口排除;同时,风扇23还从入口12吸入空气,使入口12到排气孔24最终形成一个单向的、完整的空气通路。From the
滤网容器22的排气孔24,其大小比蚊虫要小;同时漏斗30上的通气槽31比蚊虫外径要大,所以,当风扇23工作、黑光灯11点亮时,位于整个装置外界的蚊虫受到黑光灯11吸引,靠近入口12,在上述空气通路中,依次经由入口12、出口13、进气口21、风扇23、通气槽31、最终停留在滤网容器22中,无法脱逃,风干而死。The
同样利用到了黑光灯11,但与传统电击、化学方式的灭蚊相比,本方案采用风干黑光灯11配合风扇23、以及滤网容器22的形式,用风干的方法出灭蚊虫,十分安全、卫生,并且其灭蚊的效率也较高。漏斗30的通气槽31使空气通路的有效面积缩减,使其输出风速得到增加,进一步使蚊虫被气流约束于滤网容器22的空间内而无法脱逃,进一步改善了风干灭蚊的效果。同时,漏斗30具有沿着空气流向逐渐收缩的锥形结构;而通气槽31的长度方向与空气流向相当,使蚊虫可以有效地快速穿过漏斗30,而被吹入滤网容器22。The
风扇23的外径与进气口21处的横截面相当,保证整个空气通路的均匀性,避免了气流死角,进一步保证了灭蚊效果。The outer diameter of the
本实施例还有其他一些特点:吸引室10、排气室20为自上而下的柱形结构,并且二者的侧面相融合;排气室20侧面延伸至整个装置底部,遮蔽其底部内的滤网容器22,并具有朝外排气的通风口29。如此的外观特别适合室内使用,并且,滤网容器22外部被遮蔽起来,使装置在卫生、保洁方面也比较突出。This embodiment also has some other features: the
以上所述,仅为本实用新型较佳实施例而已,故不能依此限定本实用新型实施的范围,即依本实用新型专利范围及说明书内容所作的等效变化与修饰,皆应仍属本实用新型涵盖的范围内。The above is only a preferred embodiment of the utility model, so the scope of implementation of the utility model cannot be limited accordingly, that is, the equivalent changes and modifications made according to the patent scope of the utility model and the contents of the specification should still belong to this utility model. within the scope of utility models.
Claims (9)
Priority Applications (1)
| Application Number | Priority Date | Filing Date | Title |
|---|---|---|---|
| CN201220243450.XU CN202722323U (en) | 2012-05-28 | 2012-05-28 | Indoor mosquito-killing machine |
Applications Claiming Priority (1)
| Application Number | Priority Date | Filing Date | Title |
|---|---|---|---|
| CN201220243450.XU CN202722323U (en) | 2012-05-28 | 2012-05-28 | Indoor mosquito-killing machine |
Publications (1)
| Publication Number | Publication Date |
|---|---|
| CN202722323U true CN202722323U (en) | 2013-02-13 |
Family
ID=47648090
Family Applications (1)
| Application Number | Title | Priority Date | Filing Date |
|---|---|---|---|
| CN201220243450.XU Expired - Fee Related CN202722323U (en) | 2012-05-28 | 2012-05-28 | Indoor mosquito-killing machine |
Country Status (1)
| Country | Link |
|---|---|
| CN (1) | CN202722323U (en) |
Cited By (2)
| Publication number | Priority date | Publication date | Assignee | Title |
|---|---|---|---|---|
| WO2015123873A1 (en) * | 2014-02-21 | 2015-08-27 | 李起武 | Airflow-type mosquito-killing apparatus |
| CN106440139A (en) * | 2016-10-18 | 2017-02-22 | 珠海格力电器股份有限公司 | Mosquito extermination device and method for air conditioner and air conditioner with same |
-
2012
- 2012-05-28 CN CN201220243450.XU patent/CN202722323U/en not_active Expired - Fee Related
Cited By (2)
| Publication number | Priority date | Publication date | Assignee | Title |
|---|---|---|---|---|
| WO2015123873A1 (en) * | 2014-02-21 | 2015-08-27 | 李起武 | Airflow-type mosquito-killing apparatus |
| CN106440139A (en) * | 2016-10-18 | 2017-02-22 | 珠海格力电器股份有限公司 | Mosquito extermination device and method for air conditioner and air conditioner with same |
Similar Documents
| Publication | Publication Date | Title |
|---|---|---|
| CN104430262B (en) | Insect trap | |
| CN204466683U (en) | A kind of illumination of closed pore formula automatically electric insect catching device | |
| WO2024212848A1 (en) | Table lamp capable of capturing flying insects | |
| CN202722323U (en) | Indoor mosquito-killing machine | |
| CN202310962U (en) | Mosquito-killing lamp | |
| CN206275023U (en) | A kind of mosquito trapper | |
| CN205030384U (en) | A circular mosquito killer lamp | |
| CN202566068U (en) | Inhalation insect trap | |
| CN201563519U (en) | Mosquito killer lamp | |
| CN201957637U (en) | Mosquito killing lamp | |
| CN108450435A (en) | Top-side double-suction double-fan mosquito killer with shared mosquito storage chamber for sucking mosquitoes in subareas | |
| CN103975912A (en) | Novel household appliance with mosquito collecting and killing function | |
| CN206533973U (en) | A kind of trap type mosquito killer | |
| CN204232141U (en) | A kind of insect pottery killing device | |
| CN202127736U (en) | Cabinet type fly trap | |
| CN205161659U (en) | Kill mosquito device of mosquito of killing | |
| CN203709103U (en) | Insect trap | |
| CN206260627U (en) | Mosquito trapping apparatus | |
| CN203735316U (en) | Air flow type mosquito killer | |
| CN203735313U (en) | Air flow type mosquito killer | |
| CN210076395U (en) | Mosquito Killer Lamp for Livestock Breeding | |
| CN209121062U (en) | A kind of photo-induction electricity kills wind-suction type composite insecticidal lamp | |
| CN202664061U (en) | A winged insect trap cabinet | |
| CN103461304B (en) | Cyclone negative pressure airflow insect catching machine | |
| TWM482272U (en) | Structure of light trap |
Legal Events
| Date | Code | Title | Description |
|---|---|---|---|
| C14 | Grant of patent or utility model | ||
| GR01 | Patent grant | ||
| CF01 | Termination of patent right due to non-payment of annual fee |
Granted publication date: 20130213 Termination date: 20150528 |
|
| EXPY | Termination of patent right or utility model |
